JP2010018403A - 給紙装置 - Google Patents

給紙装置 Download PDF

Info

Publication number
JP2010018403A
JP2010018403A JP2008181388A JP2008181388A JP2010018403A JP 2010018403 A JP2010018403 A JP 2010018403A JP 2008181388 A JP2008181388 A JP 2008181388A JP 2008181388 A JP2008181388 A JP 2008181388A JP 2010018403 A JP2010018403 A JP 2010018403A
Authority
JP
Japan
Prior art keywords
paper
sheet
stacking base
control unit
unit
Prior art date
Legal status (The legal status is an assumption and is not a legal conclusion. Google has not performed a legal analysis and makes no representation as to the accuracy of the status listed.)
Granted
Application number
JP2008181388A
Other languages
English (en)
Other versions
JP5166147B2 (ja
Inventor
Akira Kawaguchi
章 川口
Current Assignee (The listed assignees may be inaccurate. Google has not performed a legal analysis and makes no representation or warranty as to the accuracy of the list.)
Duplo Seiko Corp
Original Assignee
Duplo Seiko Corp
Priority date (The priority date is an assumption and is not a legal conclusion. Google has not performed a legal analysis and makes no representation as to the accuracy of the date listed.)
Filing date
Publication date
Application filed by Duplo Seiko Corp filed Critical Duplo Seiko Corp
Priority to JP2008181388A priority Critical patent/JP5166147B2/ja
Publication of JP2010018403A publication Critical patent/JP2010018403A/ja
Application granted granted Critical
Publication of JP5166147B2 publication Critical patent/JP5166147B2/ja
Expired - Fee Related legal-status Critical Current
Anticipated expiration legal-status Critical

Links

Images

Landscapes

  • Sheets, Magazines, And Separation Thereof (AREA)

Abstract

【課題】裁断や静電気による用紙同士の固着によって、用紙の重送や連鎖が生じやすい場合においても、用紙を1枚ずつ分離して給紙することができる、給紙装置を提供する。
【解決手段】用紙積載台2の上方に、水平に配置された吸引搬送ユニット3を、備え、用紙積載台2上の積載用紙10を、吸引搬送ユニット3の下側の水平な搬送面35に1枚ずつ吸引して、搬送する、給紙装置1であって、用紙積載台2が、積載用紙10の搬送方向に対する直交方向Yに向けて傾斜可能に、設けられており、用紙積載台2を上記直交方向Yに向けて傾斜させる、傾斜手段6Aが、設けられている。
【選択図】図3

Description

本発明は、用紙を給紙する給紙装置に関するものである。
印刷装置等は、一般に、用紙を給紙する給紙装置を備えている。その給紙装置は、一般に、用紙積載台に積載された用紙を1枚ずつ分離して給紙するようになっている。しかるに、従来の給紙装置においては、用紙の性状等に起因して、用紙の分離が不十分となり、その結果、重送(複数の用紙が各々完全に重なって給紙される)や連鎖(複数の用紙が各々一部重なって給紙される)という不具合が生じていた。このような不具合を解消するために、用紙をエアで吸引して分離するというエア吸引機構、を有する給紙装置が、提案されている(特許文献1、2参照)。
特開昭62−16944号公報 特開平6−199437号公報
しかしながら、例えば、用紙同士が裁断によって固着したり静電気によって固着したりしている場合には、上記エア吸引機構によっても、重送や連鎖を防止することは困難であった。
本発明は、裁断や静電気による用紙同士の固着に起因して、重送や連鎖が生じやすい場合においても、用紙を確実に1枚ずつ分離して給紙することができる、給紙装置を、提供することを目的とする。
本発明は、用紙積載台の上方に、水平に配置された吸引搬送ユニットを、備え、用紙積載台上の積載用紙を、吸引搬送ユニットの下側の水平な搬送面に1枚ずつ吸引して、搬送する、給紙装置であって、用紙積載台が、積載用紙の搬送方向に対する直交方向に向けて傾斜可能に、設けられており、用紙積載台を上記直交方向に向けて傾斜させる、傾斜手段が、設けられている、ことを特徴とする。
本発明は、更に、次のような構成を備えるのが好ましい。
(1)傾斜手段が、1個の上下動機構を備えており、該上下動機構は、用紙積載台の、上記直交方向の一端部のみを、任意の距離だけ上下動させることによって、用紙積載台を傾斜させるように、設けられている。
(2)傾斜手段が、2個の上下動機構を備えており、該上下動機構は、用紙積載台の、上記直交方向の両端部の各々を、任意の距離だけ上下動させることによって、用紙積載台を傾斜させるように、設けられている。
(3)傾斜手段の作動を制御する制御部を、備えており、傾斜手段が、用紙積載台の傾斜角度を検出するための角度検出手段を、備えており、制御部が、角度検出手段の検出結果に基づいて傾斜角度を求めるようになっている。
(4)用紙積載台上の積載用紙の最上位の用紙の高さ位置を検出する、高さ位置検出手段が、更に、設けられている。
(5)傾斜手段の作動を制御する制御部を、備えており、制御部が、積載用紙の仕様に対応した傾斜角度に用紙積載台を傾斜させるように、傾斜手段を制御するようになっている。
(6)傾斜手段の作動を制御する制御部を、備えており、制御部が、入力部を備えており、制御部が、入力部への入力指示によって、用紙積載台を傾斜させるように、傾斜手段を制御するようになっている。
(7)吸引搬送ユニットの下側の水平な搬送面に、吸引した用紙を撓ませるための突起が、設けられている。
本発明によれば、傾斜手段によって用紙積載台を傾斜させることにより、用紙を、搬送方向に対する直交方向に向けて傾斜させることができる。これにより、吸引搬送ユニットは、用紙を、吸引搬送ユニットに対して近接している側(高い側)から離れている側(低い側)に向かって、徐々に吸引することができる。したがって、本発明によれば、用紙を確実に1枚ずつ分離して給紙することができる。
上記構成(1)によれば、上下動機構によって傾斜手段を構成しているので、傾斜手段を簡易に構成することができる。
上記構成(2)によれば、上下動機構によって傾斜手段を構成しているので、傾斜手段を簡易に構成することができる。しかも、上下動機構を用紙積載台の両端部に設けているので、用紙積載台の傾斜角度の設定をより容易に行うことができる。
上記構成(3)によれば、用紙積載台の傾斜状態を把握しながら、用紙積載台を傾斜させることができる。
上記構成(4)によれば、傾斜している積載用紙の上面高さを精度良く管理することができる。
上記構成(5)によれば、積載用紙の仕様に対応して、自動的に、用紙を傾斜させることができる。
上記構成(6)によれば、操作者が、入力指示を与えることによって、用紙積載台の傾斜角度を任意に調整できる。
上記構成(7)によれば、吸引された最上位の用紙が、突起によって撓むことにより、残りの用紙から分離されやすくなる。したがって、この点からも、用紙を確実に1枚ずつ分離して給紙することができる。
[第1実施形態]
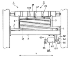
図1は、本発明の実施形態に係る給紙装置1の平面図である。図2は、図1のII矢視図(側面図)、図3は、図1のIII矢視図(正面図)である。なお、図3において、長さ方向ガイド4は図示していない。この給紙装置1は、用紙積載台2上に積載された用紙10を、吸引搬送ユニット3によって1枚ずつ吸引して、X1方向へ搬送するように、構成されている。
具体的には、給紙装置1は、用紙10が積載される用紙積載台2と、用紙10を吸引搬送する吸引搬送ユニット3と、用紙長さ方向Xにおいて用紙10を揃える長さ方向ガイド4と、用紙搬送方向に対する直交方向Yにおいて用紙10を揃える幅方向ガイド5と、用紙積載台2をY方向に向けて傾斜させる傾斜手段と、水平な基準台7と、給紙装置1の作動を制御する制御部(図示せず)と、を備えている。ここでは、上記傾斜手段は、1個の上下動機構6Aによって構成されている。用紙積載台2、長さ方向ガイド4、及び幅方向ガイド5は、基準台7の上に載置されている。
吸引搬送ユニット3は、用紙積載台2の上方に、水平に配置されており、2個の搬送ローラ31、32と、両ローラ31、32間に張り渡された無端の搬送ベルト33と、搬送ベルト33内に設けられた吸引装置34と、を有している。吸引装置34は、Z方向に用紙10を吸引するようになっている。
長さ方向ガイド4は、用紙積載台2上に積載された用紙10をX方向において揃えるために、X方向に任意の距離だけ移動可能となっている。なお、長さ方向ガイド4の位置調整は、制御部によって自動調整され、又は、手動調整される。また、長さ方向ガイド4は、基準台7に対して取り付け及び取り外しが可能となるように、下部に磁石等を備えても良い。
幅方向ガイド5は、2つ設けられており、用紙積載台2上に積載された用紙10をY方向において揃えるために、それぞれ、Y方向に任意の距離だけ移動可能となっている。なお、幅方向ガイド5の位置調整は、制御部によって自動調整され、又は、手動調整される。
更に、本発明の給紙装置1は、以下の構成を備えている。
吸引搬送ユニット3の下側の水平な搬送面35には、積載用紙10の最上位用紙101の高さ位置を検出するセンサ36と、吸引した最上位用紙101を撓ませる突起37と、が設けられている。吸引搬送ユニット3の下面と最上位用紙101との距離は、10mm程度が好ましく、この距離は、センサ36によって検出される。
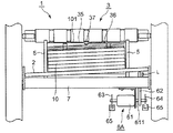
上下動機構6Aは、用紙積載台2のY方向の一端部に設けられており、モータ61と、モータ61の回転軸611に連結された偏心ローラ62と、エンコーダ63と、遮光板64と、フォトインタラプタ65と、を備えている。図4は、用紙積載台2が傾斜した状態の給紙装置1の正面図である。図5は、図3の偏心ローラ62周囲のV矢視図であり、図6は、図4の偏心ローラ62周囲のVI矢視図である。図3〜6に示すように、偏心ローラ62の外周面は、用紙積載台2の上記一端部の裏面と当接している。図3、5に示すように、当初においては、回転軸611からの距離Tが最小となる偏心ローラ62の外周点622が、用紙積載台2と当接しており、このとき、用紙積載台2は水平である。図4、6に示すように、モータ61が回転すると、偏心ローラ62も回転し、用紙積載台2と当接する偏心ローラ62の外周点までの距離Tが増加する。その結果、偏心ローラ62の膨出部621が基準台7から上方に突出して用紙積載台2の上記一端部を持ち上げ、それにより、用紙積載台2がY方向に向けて傾斜する。距離Tが最大となる偏心ローラ62の外周点623が、用紙積載台2と当接したとき、用紙積載台2の傾斜角度は最大となる。
制御部は、特に、傾斜手段の作動を制御するために、角度検出部、大きさ検出部、記憶部、モータ制御部、及び入力部、を備えている。
遮光板64は、偏心ローラ62の始点を検出するようになっている。フォトインタラプタ65は、モータ61の回転軸611の位置を検出するようになっており、その結果から、エンコーダ63は、モータ61の回転数を検出するようになっている。すなわち、エンコーダ63と、偏光板64と、フォトインタラプタ65と、によって、角度検出手段が構成されており、モータ61が回転すると、これらの角度検出手段によりモータ61の回転数が検出され、その結果、図4に示すように、偏心ローラ62の膨出部621が基準台7から上方に突出した距離Lが、制御部の角度検出部によって求められる。そして、用紙積載台2は、Y方向の他端部が基準台7に支持されているので、一端部における基準台7からの突出距離Lに基づいて、角度検出部によって、傾斜角度が求められる。なお、求められた用紙積載台2の傾斜角度は、操作パネルに表示される。
大きさ検出部は、用紙積載台2上に積載された用紙10の大きさを、長さ方向ガイド4及び幅方向ガイド5の位置に基づいて、検出するようになっている。ここで、長さ方向ガイド4及び幅方向ガイド5の位置は、ポテンショメーター等によって検出される。また、大きさ検出部は、操作パネルに入力された用紙サイズデータによって、又は、用紙積載台2上に設置された複数のセンサによって、用紙積載台2上の用紙10の大きさを検出するようにしても良い。
記憶部は、用紙10の大きさに対応して決まる用紙10の最適な傾斜角度に、用紙積載台2を傾斜させるための、モータ61の回転数を、記憶している。モータ制御部は、検出された用紙10の大きさに基づいて、記憶部に記憶されているモータ61の回転数だけ、モータ61を回転させるようになっている。
入力部は、操作者による入力指示を受けて、モータ61の回転を制御するようになっている。
上記構成の給紙装置1は、次のように作動する。
用紙積載台2上に用紙10が積載されると、長さ方向ガイド4をX方向において用紙10の長さに合うように自動又は手動で移動させ、また、2つの幅方向ガイド5をY方向において用紙10の幅に合うように自動又は手動で移動させる。これにより、積載された用紙10が揃えられ、また、制御部の大きさ検出部が、用紙10の大きさを検出する。
そして、制御部のモータ制御部が、モータ61を所定の回転数だけ回転させる。これにより、用紙積載台2は、用紙10の大きさに対応して決まる用紙10の最適な傾斜角度に、傾斜する。
なお、モータ61の回転数は、エンコーダ63によって検出される。モータ61が回転すると、偏心ローラ62の膨出部621が、基準台7から徐々に上方に突出する。偏心ローラ62は用紙積載台2の一端部のみを持ち上げ、用紙積載台2の他端部は基準台7上にあるので、用紙積載台2は傾斜する。用紙積載台2の最適な傾斜角度は、用紙10の大きさに対応するが、通常10度程度以下であり、5度程度が好ましい。例えば、A4用紙の場合、用紙積載台2の傾斜角度は、5度が好ましく、その場合の膨出部621の突出距離Lは略18mmである。
図4に示すように、用紙積載台2が傾斜すると、用紙積載台2上の用紙10も傾斜し、積載されている用紙10の最上位用紙101の高さ位置が、センサ36によって検知される。また、吸引搬送ユニット3の下面と最上位用紙101との距離が10mm程度であることも、センサ36によって同時に検知される。
図7は、吸引搬送ユニット3が最上位用紙101を吸引している途中の給紙装置1の正面図であり、図8は、吸引搬送ユニット3が最上位用紙101を吸引した直後の給紙装置1の正面図である。最上位用紙101の高さ位置がセンサ36によって検知されると、吸引搬送ユニット3が、作動を開始する。図7に示すように、最上位用紙101は、吸引搬送ユニット3の吸引装置34によって、Y方向における高い側(一端部側)から低い側(他端部側)にかけて徐々に吸引される。これにより、最上位用紙101は、残りの下位の用紙10から1枚ずつ確実に分離されていく。なお、このとき、センサ36は、図4、7、8に示すように、最上位用紙101と接触すると、吸引搬送ユニット3内に引っ込む。そして、図8に示すように、吸引搬送ユニット3に吸引された最上位用紙101は、突起37によって、撓む。これにより、最上位用紙101は、直下の用紙10から確実に分離される。そして、最上位用紙101は、吸引搬送ユニット3に吸引された状態で、搬送される。以上のように、用紙積載台2上の用紙10は、吸引搬送ユニット3によって、最上位から1枚ずつ、吸引されて、搬送される。
なお、上記の作動は、制御部による制御によって、自動で行われるが、用紙積載台2を自動で傾斜させた後に、必要に応じて、用紙積載台2の傾斜角度を手動で調整してもよい。手動による調整は、操作者が入力部へ入力指示を与えることによって行われる。すなわち、入力部は、操作者からの入力指示を受けると、その指示に従ってモータ61を回転させる。
上記構成の給紙装置1によれば、次のような効果を発揮できる。
(1)用紙積載台2をY方向に向けて傾斜させることにより、積載されている用紙10もY方向に向けて傾斜させることができる。これにより、最上位用紙101は、吸引搬送ユニット3によって、Y方向における高い側(一端部)から低い側(他端部)にかけて徐々に、吸引される。したがって、最上位用紙101を、残りの下位の用紙10から良好に分離できる。
(2)用紙積載台2の一端部を上下動させる、という簡易な上下動機構6Aによって、傾斜手段を構成しているので、傾斜手段を簡易に構成できる。
(3)角度検出手段による検出結果に基づき、角度検出部によって傾斜角度が求められ、その傾斜角度が操作パネル上に表示されるので、用紙積載台2の傾斜角度を把握しながら、用紙積載台2を傾斜させることができる。
(4)センサ36によって、用意積載台2上の最上位用紙101の高さ位置を検出できるので、傾斜している用紙10の上面高さを精度良く管理することができる。
(5)制御部が、用紙10の大きさに対応して決まる用紙10の最適な傾斜角度に、用紙積載台2を傾斜させるよう、上下動機構6Aを制御するので、用紙積載台2を自動で最適な傾斜角度に傾斜させることができる。
(6)操作者が入力部へ入力指示を与えることによって、用紙積載台2の傾斜角度を操作者が任意に調整できる。
(7)突起37によって、吸引された最上位用紙101が撓むので、最上位用紙101は、残りの下位の用紙10から分離されやすくなる。したがって、最上位用紙101を確実に1枚ずつ分離できる。
[第2実施形態]
図9は、本発明の第2実施形態に係る給紙装置1の正面図である。本実施形態では、傾斜手段は、2個の上下動機構6A、6Bによって構成されている。すなわち、本実施形態では、用紙積載台2のY方向の両端部にそれぞれ上下動機構6A、6Bが設けられている。上下動機構6Bは、第1実施形態の上下動機構6Aと同じ構成を有している。すなわち、上下動機構6Bは、モータ61と、モータ61の回転軸611に連結された偏心ローラ62と、エンコーダ63と、遮光板64と、フォトインタラプタ65と、を備えている。偏心ローラ62の外周面は、用紙積載台2の上記他端部の裏面と当接しており、モータ61が回転すると、偏心ローラ62の膨出部621が基準台7から上方に突出するようになっている。本実施形態のその他の構成は、第1実施形態と同じである。
本実施形態では、上下動機構6A、6Bそれぞれの、偏心ローラ62の膨出部621の基準台7からの突出距離、の差によって、用紙積載台2が傾斜するようになっている。図10は、上下動機構6Aにおいて、偏心ローラ62の膨出部621を基準台7から距離L1だけ上方に突出させ、且つ、上下動機構6Bにおいて、偏心ローラ62の膨出部621を基準台7から距離L2だけ上方に突出させた場合の、用紙積載台2の傾斜状態を示した図である。
上記構成の給紙装置1は、次のように作動する。
用紙積載台2に用紙10が積載されると、長さ方向ガイド4をX方向において用紙10の長さに合うように自動又は手動で移動させ、また、2つの幅方向ガイド5をY方向において用紙10の幅に合うように自動又は手動で移動させる。これにより、積載された用紙10が揃えられ、また、制御部の大きさ検出部が、用紙10の大きさを検出する。
そして、制御部のモータ制御部が、モータ61を所定の回転数だけ回転させる。これにより、用紙積載台2は、用紙10の大きさに対応して決まる用紙10の最適な傾斜角度に、傾斜する。
なお、モータ61の回転数は、エンコーダ63によって検出される。モータ61が回転すると、偏心ローラ62の膨出部621が、基準台7から徐々に上方に突出する。図10に示すように、上下動機構6Aの偏心ローラ62の膨出部621は、基準台7から距離L1だけ突出し、上下動機構6Bの偏心ローラ62の膨出部621は、基準台7から距離L2だけ突出している。図10によれば、距離L2の長さが距離L1の長さより長いので、用紙積載台2は、他端部が一端部より高くなるように傾斜する。
用紙積載台2が傾斜すると、用紙積載台2上の用紙も傾斜し、用紙の最上位用紙の高さ位置が、吸引搬送ユニットのセンサによって検知され、吸引搬送ユニットによって最上位用紙の吸引及び搬送が開始される。最上位用紙の吸引及び搬送は、第1実施形態と同じである。
図10に示すように、用紙積載台2の他端部が一端部より高くなるように、用紙積載台2を傾斜させる場合、用紙積載台2上の用紙の最上位用紙の高さも他端部のほうが一端部より高くなるので、吸引搬送ユニットのセンサは、吸引搬送ユニットの他端部側に設けることが好ましい。
本実施形態によれば、用紙積載台2のY方向の両端部に、上下動機構6A、6Bが設けられているので、以下のような効果を発揮できる。
(a)上下動機構6Aを用紙積載台2の一端部にのみ設ける場合と比べ、2つの上下動機構6A、6Bをそれぞれ上下動させることができ、用紙積載台2の傾斜角度の設定をより容易に行うことができる。
(b)用紙10が元々撓んでおり、用紙積載台2の他端部を一端部より高くすることが望ましい場合において、用紙積載台2の他端部が一端部より高くなるよう、すなわち、第1実施形態と逆の傾斜となるよう、用紙積載台2を傾斜させることができる。
[別の実施形態]
(1)図11、12は、別の傾斜手段によって用紙積載台2を傾斜させる給紙装置1を示している。給紙装置1の両側部の内部には、それぞれ、上下に移動するチェーン81、82が通されており、チェーン81と用紙積載台2の一端部とが連結されており、且つ、チェーン82と用紙積載台2の他端部とが連結されている。したがって、チェーン81、82をそれぞれ上下に動作させることによって、用紙積載台2の一端部及び他端部が上下し、その結果、用紙積載台2を傾斜させるようになっている。その他の構成については、第1実施形態と同じである。
上記構成の給紙装置1の作動については、チェーン81、82の上下動によって、用紙給紙台2の一端部及び他端部が上下動する以外は、第1実施形態と同じである。
用紙積載台2の傾斜手段が、簡易なチェーン81、82を備えているので、簡易な手段で用紙積載台2を傾斜させることができる。
また、用紙積載台2の一端部のみをチェーン81と連結し、他端部は基準台7の上に載置する構成とし、一端部のみをチェーン81で上下に移動させることによっても、用紙積載台2を傾斜させることができる。
(2)給紙装置1は、上下動機構の上下動を、モータ駆動ではなく、手動で行うものであっても良い。図13は、手動の上下動機構6Cで用紙積載台2を傾斜させる給紙装置1を示した図である。上下動機構6Cは、ツマミ66と、ツマミ66と連結しているカム67と、カム67と連結している偏心ローラ62と、を有している。上下動機構6Cでは、ツマミ66を手動で回転(例えば時計回りの方向に回転)させることによって、カム67を介して、偏心ローラ62の膨出部621が基準台7から上方に突出するようになっており、その結果、用紙積載台2が傾斜する。用紙積載台2の傾斜角度を小さくするためには、ツマミ66を手動で、例えば反時計回りに回転させて、偏心ローラ62の膨出部の基準台7からの突出距離を小さくする。上下動機構6C以外の構成については、第1実施形態と同じである。
上記構成の給紙装置1の作動については、上下動機構6Cが手動で上下動する以外は、第1実施形態と同じである。
上記構成の給紙装置1では、ツマミ66を手動で回転させるという、より簡易な傾斜手段によって、用紙積載台2を傾斜させることができる。
(3)第1実施形態及び第2実施形態では、用紙10の大きさに対応して用紙積載台2を傾斜させるようになっているが、用紙10の仕様(大きさのみならず、紙種や紙厚等を含む)に対応して、用紙積載台2を傾斜させても良い。この場合、用紙10の大きさ、紙種及び紙厚等に対応して決まる最適な傾斜角度に用紙積載台2を傾斜させるためのモータ61の回転数が、制御部の記憶部に記憶されている。
(4)第1実施形態及び第2実施形態では、制御部が用紙10の大きさに対応して、用紙積載台2を自動で傾斜させ、その後、必要に応じて、制御部の入力部への入力指示によって、用紙積載台2の傾斜角度を更に調整するようになっている。しかし、制御部が自動で用紙積載台2を傾斜させるのではなく、最初から、入力部への入力指示によって、用紙積載台2を傾斜させても良い。
(5)用紙10が封筒である場合、用紙10を吸引搬送する上で、用紙10の最上位用紙101は、水平となっていることが好ましい。ここで、用紙積載台2が水平となっているにもかかわらず、用紙積載台2上の用紙10の最上位用紙101が傾斜を有し、吸引搬送がうまく行われないことがある。このような場合は、用紙10の最上位用紙101が水平となるように、傾斜手段により、用紙積載台2を傾斜させる。
本発明の給紙装置は、裁断や静電気による用紙同士の固着によって、用紙の重送や連鎖が生じやすい場合においても、用紙を1枚ずつ分離して給紙することができるので、産業上の利用価値が大である。
本発明の第1実施形態の給紙装置1の平面図である。 図1の給紙装置1のII矢視図(側面図)である。 図1の給紙装置1のIII矢視図(正面図)である。 用紙積載台2が傾斜した給紙装置1の正面図である。 図3の偏心ローラ62A周囲のV矢視図である。 図4の偏心ローラ62A周囲のVI矢視図である。 吸引搬送ユニット3が用紙10の最上位用紙101を吸引している途中の給紙装置1の正面図である。 吸引搬送ユニット3が用紙10の最上位用紙101を吸引後の給紙装置1の正面図である。 本発明の第2実施形態に係る給紙装置1の正面図である。 図9の用紙積載台2が傾斜している状態の正面図である。 別の傾斜手段によって用紙積載台2を傾斜させる給紙装置1の正面図である。 図12の給紙装置1の用紙積載台2が傾斜している状態の正面図である。 手動で用紙積載台2を傾斜させる給紙装置1の正面図である。
符号の説明
1 給紙装置
2 用紙積載台
3 吸引搬送ユニット 31 搬送ローラ 32 搬送ローラ 33 搬送ベルト
34 吸引装置 35 搬送面 36 センサ 37 突起
4 長さ方向ガイド
5 幅方向ガイド
6A 上下動機構 6B 上下動機構 6C 上下動機構
61 モータ 62 偏心ローラ 63 エンコーダ 64 遮光板
65 フォトインタラプタ 66 ツマミ 67 カム
7 基準台
81 チェーン 82 チェーン

Claims (8)

  1. 用紙積載台の上方に、水平に配置された吸引搬送ユニットを、備え、用紙積載台上の積載用紙を、吸引搬送ユニットの下側の水平な搬送面に1枚ずつ吸引して、搬送する、給紙装置であって、
    用紙積載台が、積載用紙の搬送方向に対する直交方向に向けて傾斜可能に、設けられており、
    用紙積載台を上記直交方向に向けて傾斜させる、傾斜手段が、設けられている、
    ことを特徴とする給紙装置。
  2. 傾斜手段が、1個の上下動機構を備えており、
    該上下動機構は、用紙積載台の、上記直交方向の一端部のみを、任意の距離だけ上下動させることによって、用紙積載台を傾斜させるように、設けられている、請求項1記載の給紙装置。
  3. 傾斜手段が、2個の上下動機構を備えており、
    該上下動機構は、用紙積載台の、上記直交方向の両端部の各々を、任意の距離だけ上下動させることによって、用紙積載台を傾斜させるように、設けられている、請求項1記載の給紙装置。
  4. 傾斜手段の作動を制御する制御部を、備えており、
    傾斜手段が、用紙積載台の傾斜角度を検出するための角度検出手段を、備えており、
    制御部が、角度検出手段の検出結果に基づいて傾斜角度を求めるようになっている、請求項1記載の給紙装置。
  5. 用紙積載台上の積載用紙の最上位の用紙の高さ位置を検出する、高さ位置検出手段が、更に、設けられている、請求項1記載の給紙装置。
  6. 傾斜手段の作動を制御する制御部を、備えており、
    制御部が、積載用紙の仕様に対応した傾斜角度に用紙積載台を傾斜させるように、傾斜手段を制御するようになっている、請求項1記載の給紙装置。
  7. 傾斜手段の作動を制御する制御部を、備えており、
    制御部が、入力部を備えており、
    制御部が、入力部への入力指示によって、用紙積載台を傾斜させるように、傾斜手段を制御するようになっている、請求項1記載の給紙装置。
  8. 吸引搬送ユニットの下側の水平な搬送面に、吸引した用紙を撓ませるための突起が、設けられている、請求項1記載の給紙装置。
JP2008181388A 2008-07-11 2008-07-11 給紙装置 Expired - Fee Related JP5166147B2 (ja)

Priority Applications (1)

Application Number Priority Date Filing Date Title
JP2008181388A JP5166147B2 (ja) 2008-07-11 2008-07-11 給紙装置

Applications Claiming Priority (1)

Application Number Priority Date Filing Date Title
JP2008181388A JP5166147B2 (ja) 2008-07-11 2008-07-11 給紙装置

Publications (2)

Publication Number Publication Date
JP2010018403A true JP2010018403A (ja) 2010-01-28
JP5166147B2 JP5166147B2 (ja) 2013-03-21

Family

ID=41703698

Family Applications (1)

Application Number Title Priority Date Filing Date
JP2008181388A Expired - Fee Related JP5166147B2 (ja) 2008-07-11 2008-07-11 給紙装置

Country Status (1)

Country Link
JP (1) JP5166147B2 (ja)

Cited By (1)

* Cited by examiner, † Cited by third party
Publication number Priority date Publication date Assignee Title
JP2019142672A (ja) * 2018-02-22 2019-08-29 コニカミノルタ株式会社 給紙装置、画像形成装置、及び画像形成システム

Citations (4)

* Cited by examiner, † Cited by third party
Publication number Priority date Publication date Assignee Title
JPH0629732U (ja) * 1992-09-22 1994-04-19 アイダエンジニアリング株式会社 ダボ付板材のディスタック装置
JP3003843U (ja) * 1994-03-03 1994-11-01 グンゼ株式会社 ワーク一枚どり搬送装置
JPH11157668A (ja) * 1997-11-21 1999-06-15 Hitachi Ltd 紙葉類分離装置
JP2007001744A (ja) * 2005-06-24 2007-01-11 Fuji Xerox Co Ltd シート供給装置

Patent Citations (4)

* Cited by examiner, † Cited by third party
Publication number Priority date Publication date Assignee Title
JPH0629732U (ja) * 1992-09-22 1994-04-19 アイダエンジニアリング株式会社 ダボ付板材のディスタック装置
JP3003843U (ja) * 1994-03-03 1994-11-01 グンゼ株式会社 ワーク一枚どり搬送装置
JPH11157668A (ja) * 1997-11-21 1999-06-15 Hitachi Ltd 紙葉類分離装置
JP2007001744A (ja) * 2005-06-24 2007-01-11 Fuji Xerox Co Ltd シート供給装置

Cited By (2)

* Cited by examiner, † Cited by third party
Publication number Priority date Publication date Assignee Title
JP2019142672A (ja) * 2018-02-22 2019-08-29 コニカミノルタ株式会社 給紙装置、画像形成装置、及び画像形成システム
JP7006362B2 (ja) 2018-02-22 2022-01-24 コニカミノルタ株式会社 給紙装置、画像形成装置、及び画像形成システム

Also Published As

Publication number Publication date
JP5166147B2 (ja) 2013-03-21

Similar Documents

Publication Publication Date Title
US10494207B2 (en) Sheet feeding device and image forming system
JP2008024508A (ja) 給紙装置
CN107234883A (zh) 打印装置
JP2018203536A (ja) 給送装置及び画像形成システム
JP5166147B2 (ja) 給紙装置
JPH07215499A (ja) 給紙装置に係る文書の整列方法と給紙装置及びその給紙装置内で用いられる紙拾い機構
JP5476215B2 (ja) 用紙処理装置
JP2019014596A (ja) 原稿搬送装置及び画像形成装置
JP2021017333A (ja) 制御装置および給送装置
JP3870178B2 (ja) エアー吸引式の給紙搬送装置
JP2007022696A (ja) 給紙装置および丁合装置
JP5150844B2 (ja) 給紙装置
JP2017200848A (ja) 給紙装置および製本システム
JP2008179424A (ja) 給紙装置
JP5294897B2 (ja) 紙受け装置における紙受け処理方法
JP5251593B2 (ja) シート搬送装置とそれを備えた画像形成装置並びにその画像形成装置を備えたデジタルコピー機、プリンタ、ファクシミリ、オフセット印刷機
JP5843881B2 (ja) 書類処理装置及び書類処理方法
JP2007031070A (ja) サクションユニット及び給紙装置
JPH054731A (ja) 給紙装置
JP2014065563A (ja) 紙葉類搬送装置
JP4766684B2 (ja) 用紙搬送装置
JP7204212B2 (ja) 物品集積搬出装置
JP5258605B2 (ja) シート給送装置及び画像形成装置
JP2001019187A (ja) 給紙装置
JPH06247566A (ja) 給紙装置

Legal Events

Date Code Title Description
RD04 Notification of resignation of power of attorney

Free format text: JAPANESE INTERMEDIATE CODE: A7424

Effective date: 20091228

A621 Written request for application examination

Free format text: JAPANESE INTERMEDIATE CODE: A621

Effective date: 20110608

A977 Report on retrieval

Free format text: JAPANESE INTERMEDIATE CODE: A971007

Effective date: 20120829

A131 Notification of reasons for refusal

Free format text: JAPANESE INTERMEDIATE CODE: A131

Effective date: 20120904

A521 Request for written amendment filed

Free format text: JAPANESE INTERMEDIATE CODE: A523

Effective date: 20121030

TRDD Decision of grant or rejection written
A01 Written decision to grant a patent or to grant a registration (utility model)

Free format text: JAPANESE INTERMEDIATE CODE: A01

Effective date: 20121211

A61 First payment of annual fees (during grant procedure)

Free format text: JAPANESE INTERMEDIATE CODE: A61

Effective date: 20121220

FPAY Renewal fee payment (event date is renewal date of database)

Free format text: PAYMENT UNTIL: 20151228

Year of fee payment: 3

R150 Certificate of patent or registration of utility model

Ref document number: 5166147

Country of ref document: JP

Free format text: JAPANESE INTERMEDIATE CODE: R150

Free format text: JAPANESE INTERMEDIATE CODE: R150

R250 Receipt of annual fees

Free format text: JAPANESE INTERMEDIATE CODE: R250

R250 Receipt of annual fees

Free format text: JAPANESE INTERMEDIATE CODE: R250

R250 Receipt of annual fees

Free format text: JAPANESE INTERMEDIATE CODE: R250

R250 Receipt of annual fees

Free format text: JAPANESE INTERMEDIATE CODE: R250

R250 Receipt of annual fees

Free format text: JAPANESE INTERMEDIATE CODE: R250

R250 Receipt of annual fees

Free format text: JAPANESE INTERMEDIATE CODE: R250

R250 Receipt of annual fees

Free format text: JAPANESE INTERMEDIATE CODE: R250

R250 Receipt of annual fees

Free format text: JAPANESE INTERMEDIATE CODE: R250

LAPS Cancellation because of no payment of annual fees