JP2010017892A - 画像形成装置 - Google Patents

画像形成装置 Download PDF

Info

Publication number
JP2010017892A
JP2010017892A JP2008178551A JP2008178551A JP2010017892A JP 2010017892 A JP2010017892 A JP 2010017892A JP 2008178551 A JP2008178551 A JP 2008178551A JP 2008178551 A JP2008178551 A JP 2008178551A JP 2010017892 A JP2010017892 A JP 2010017892A
Authority
JP
Japan
Prior art keywords
cap
image forming
forming apparatus
recording head
elastic member
Prior art date
Legal status (The legal status is an assumption and is not a legal conclusion. Google has not performed a legal analysis and makes no representation as to the accuracy of the status listed.)
Granted
Application number
JP2008178551A
Other languages
English (en)
Other versions
JP5033074B2 (ja
Inventor
Toshiro Tokuno
敏郎 得能
Michiharu Suzuki
道治 鈴木
Current Assignee (The listed assignees may be inaccurate. Google has not performed a legal analysis and makes no representation or warranty as to the accuracy of the list.)
Ricoh Co Ltd
Original Assignee
Ricoh Co Ltd
Priority date (The priority date is an assumption and is not a legal conclusion. Google has not performed a legal analysis and makes no representation as to the accuracy of the date listed.)
Filing date
Publication date
Application filed by Ricoh Co Ltd filed Critical Ricoh Co Ltd
Priority to JP2008178551A priority Critical patent/JP5033074B2/ja
Publication of JP2010017892A publication Critical patent/JP2010017892A/ja
Application granted granted Critical
Publication of JP5033074B2 publication Critical patent/JP5033074B2/ja
Expired - Fee Related legal-status Critical Current
Anticipated expiration legal-status Critical

Links

Images

Classifications

    • YGENERAL TAGGING OF NEW TECHNOLOGICAL DEVELOPMENTS; GENERAL TAGGING OF CROSS-SECTIONAL TECHNOLOGIES SPANNING OVER SEVERAL SECTIONS OF THE IPC; TECHNICAL SUBJECTS COVERED BY FORMER USPC CROSS-REFERENCE ART COLLECTIONS [XRACs] AND DIGESTS
    • Y02TECHNOLOGIES OR APPLICATIONS FOR MITIGATION OR ADAPTATION AGAINST CLIMATE CHANGE
    • Y02PCLIMATE CHANGE MITIGATION TECHNOLOGIES IN THE PRODUCTION OR PROCESSING OF GOODS
    • Y02P10/00Technologies related to metal processing
    • Y02P10/20Recycling

Landscapes

  • Ink Jet (AREA)

Abstract

【課題】吸引キャップのニップ部に堆積するインクを清掃除去するための構成が複雑である。
【解決手段】キャップ82aの外周側には、維持回復機構81のフレーム211にキャップ82aのニップ部(当接部)281aを清掃する清掃手段401が着脱自在に取付けられ、清掃手段401は、キャップ82aの周囲を囲む箱状(筒状)の保持部材402と、この保持部材402の上側開口に張られた状態で保持された薄膜状の弾性部材403とを有し、薄膜状弾性部材403には、キャップ82aが記録ヘッド34のノズル面をキャッピングするキャッピング位置に移動するときに通過可能な開口部404が形成されている。
【選択図】図7

Description

本発明は画像形成装置に関し、特に液滴を吐出する記録ヘッドの維持回復動作で生じる廃液を収容する廃液タンクを備える画像形成装置に関する。
プリンタ、ファクシミリ、複写装置、プロッタ、これらの複合機等の画像形成装置として、例えばインク液滴を吐出する記録ヘッドを用いた液体吐出記録方式の画像形成装置としてインクジェット記録装置などが知られている。この液体吐出記録方式の画像形成装置は、記録ヘッドからインク滴を、搬送される用紙に対して吐出して、画像形成(記録、印字、印写、印刷も同義語で使用する。)を行なうものであり、記録ヘッドが主走査方向に移動しながら液滴を吐出して画像を形成するシリアル型画像形成装置と、記録ヘッドが移動しない状態で液滴を吐出して画像を形成するライン型ヘッドを用いるライン型画像形成装置がある。
なお、本願において、「画像形成装置」は、紙、糸、繊維、布帛、皮革、金属、プラスチック、ガラス、木材、セラミックス等の媒体にインクを着弾させて画像形成を行う装置を意味し、また、「画像形成」とは、文字や図形等の意味を持つ画像を媒体に対して付与することだけでなく、パターン等の意味を持たない画像を媒体に付与すること(単に液滴を媒体に着弾させること)をも意味する。また、「インク」とは、インクと称されるものに限らず、記録液、定着処理液、液体などと称されるものなど、画像形成を行うことができるすべての液体の総称として用いる。また、「用紙」とは、材質を紙に限定するものではなく、上述したOHPシート、布なども含み、インク滴が付着されるものの意味であり、被記録媒体、記録媒体、記録紙、記録用紙などと称されるものを含むものの総称として用いる。
このような画像形成装置(以下、単に「インクジェット記録装置」ともいう。)においては、記録ヘッドは、インクをノズルから用紙に吐出させて記録を行なう関係上、ノズルからの溶媒の蒸発に起因するインク粘度の上昇や、インクの固化、塵埃の付着、さらには気泡の混入などにより吐出不良の状態となり、記録不良を起こすという問題を抱えていることから、記録ヘッドの性能を維持回復する維持回復機構(装置)を備えている。
例えば、通常の維持回復装置は、保湿用キャップ、吸引用キャップ及びワイパーブレードを有する。保湿用キャップは、インクの自然蒸発によって生じるノズル付近のインクの増粘固着を防止するためにノズル面を高い密閉性を保って覆うためのものである。吸引用キャップは、ノズルから増粘したインクを吸引して排出するためのものであり、吸引手段としての吸引ポンプが接続される。吸引用キャップは、保湿用キャップと兼用されることもある。ワイパーブレードは、ノズル面に付着したインクを拭き取って除去する。
ここで、維持回復機構におけるキャップ部材は、一般に、記録ヘッドのノズル面に当接する弾性部材からなる当接部材と、ノズル面のノズルから吸引されるインクを受けるための凹部を形成する凹部形成部材とを有する。
ところで、吸引キャップではインク中の成分等が水分の蒸発により固化し、キャップの吸引動作や記録ヘッドの吐出動作に悪影響を与える場合があることが知られている。そのため、吸引キャップの吸引力回復のために、特許文献1には粘度の低い染料インクを顔料インクの吸引キャップ内に予備吐出するか、もしくは染料インクのヘッドを吸引することで固着した顔料系のインクを溶解することが記載されている。
特開2003−154681号公報
ところが、画像形成装置としてのインクジェット記録装置で使用されるインクの着色料としては、その発色性の良さや信頼性の高さ等の点から、当初は染料を用いた染料インクが主流であったが、近年に至り、記録画像に耐光性や耐水性を持たせるために顔料を用いた顔料インクを全色に使用する傾向にある。また、インク処方の自由度を高くする目的と、普通紙に着弾した後のにじみを防止する目的でインク粘度を高くする傾向がある。
なお、このような高粘度の顔料インクは、温度によってインク粘度が大きく変化し、例えば、22℃環境で粘度8cpのインクは、処方により若干の違いはあるといっても、10℃では15cpを越える粘度、32℃では約5cpの粘度になる。このような流動性の低い高粘度インクをキャップ部材に吸引した場合、キャップ内にインクが残り、乾燥により固着して吸引性能が低下していくことが確認されている。
このように全色が顔料インク、特に高粘度の顔料インクを使用する場合は、上述した特許文献1に記載されているような染料インクを用いて顔料インクを溶解する方法を用いることができないので、吸引キャップ内にインクが乾燥して固着することを防止することができなくなる。
そこで、特許文献2には、着色料を含む第1の液滴を記録媒体へ吐出することにより記録する第1のノズルと、着色料を含まない第2の液滴が流通する第2のノズルと、第1のノズルを密閉して第1の液滴を吸引する吸引キャップを備え、吸引キャップは第2のノズルのみを密閉可能であって、第2の液滴を吸引することにより吸引キャップを洗浄する構成が開示されている。
特開2007−296779号公報
これにより、キャップ内部のインク固着は回避されるが、本発明者らの実験によれば、ノズル面と接触するキャップの周囲(以下、「ニップ部」、「ニップ」又は「当接部」という。)にも僅かながらインクが付着し、これが次第に堆積してニップとノズル面との密着性を阻害するに至り、キャップの密閉性又はノズルからのインクの吸引性に影響を及ぼすことが判明した。
そのため、キャップの内部のみならず、キャップのニップ部におけるインク堆積を防止する必要がある。従来、特許文献3には、キャップのニップ部の清掃について、インク噴射面を清掃するワイパーブレードと、キャップを清掃するキャップクリーナーとを備え、これらワイパーブレードとキャップクリーナーは、ともに、インク噴射面に平行な方向に移動可能なホルダに設けられ、キャップがインク噴射面から離間した状態において、それらの間をホルダが移動したときには、ワイパーブレードによりインク噴射面のインクが拭き取られると同時に、キャップクリーナーによりキャップが清掃されるようにした構成が開示されている。
特開2001−71519号公報
しかしながら、上述した特許文献3に記載の構成にあっては、ノズル面のワイパーブレードとキャップクリーナーを備えたホルダが、ノズル面とキャップの間を移動するだけの空間距離が必要であり、レイアウト上の制限があり、また、ホルダを移動させるための駆動手段が必要であり、機構が複雑になるという課題がある。
本発明は上記の課題に鑑みてなされたものであり、簡単な構成で、特に吸引キャップのニップ部に堆積するインクを清掃除去できるようにして、キャップのノズル面との密閉性を確保し、吸引キャップの吸引性能の低下を防止することを目的とする。
上記の課題を解決するため、本発明に係る画像形成装置は、
インクの液滴を吐出するノズルを有する記録ヘッドと、
前記記録ヘッドのノズル面をキャッピングするキャップと、
前記キャップの前記ノズル面に当接する当接部を清掃する清掃手段と、を備え、
前記清掃手段は、前記キャップがキャッピング位置に移動するときに前記キャップが通過可能な開口部が形成された薄膜状の弾性部材を有し、
前記キャップが前記キャッピング位置に移動するときに前記弾性部材の開口部を通過することにより前記弾性部材で前記キャップの当接部が清掃される
構成とした。
本発明に係る画像形成装置は、
インクの液滴を吐出するノズルを有する記録ヘッドと、
前記記録ヘッドのノズル面をキャッピングするキャップと、
前記キャップの前記ノズル面に当接する当接部を清掃する清掃手段と、を備え、
前記清掃手段は、前記キャップがキャッピング位置に移動するときに前記キャップが通過可能な切り込み部が形成された薄膜状の弾性部材を有し、
前記キャップがキャッピング位置に移動するときに前記清掃手段の前記弾性部材の切り込み部を通過することにより前記弾性部材で前記キャップの当接部が清掃される
構成とした。
この場合、前記弾性部材の切り込み部は、前記キャップの長手方向に沿う第1切り込みと、この第1切り込みの両端から少なくとも2つの方向に広がる第2切り込みを有している構成とできる。
また、前記弾性部材は前記キャップの周囲を囲む筒状の保持部材にて保持されている構成とできる。この場合、前記筒状の保持部材は前記キャップの移動に連動しない部分に脱着可能に装着されている構成とできる。
本発明に係る画像形成装置は、
インクの液滴を吐出するノズルを有する記録ヘッドと、
前記記録ヘッドのノズル面をキャッピングするキャップと、
前記キャップの前記ノズル面に当接する当接部を清掃する清掃手段と、を備え、
前記清掃手段は、前記キャップのキャッピング位置への移動方向前方側に対向配置された開閉可能な2つのクリーナ部材を有し、
前記2つのクリーナ部材は、前記キャップがキャッピング位置に移動する方向と逆方向に付勢され、前記キャップの当接部の上方で一部が互いに接触して配置されるとともに、前記キャップのキャッピング位置への移動で押圧されて開く方向に揺動可能であり、
前記キャップがキャッピング位置に移動するときに前記2つのクリーナ部材に接触することにより前記2つのクリーナ部材で前記キャップの当接部が清掃される
構成とした。
ここで、前記2つのクリーナ部材は、前記キャップの内面底部側に向かって突出し、前記キャップの当接部表面を擦る突起部を有している構成とできる。
また、前記クリーナ部材は平面形状で扇形状である構成とできる。
また、前記クリーナ部材は前記キャップの当接部に接する部分が吸収部材で形成されている構成とできる。
本発明に係る画像形成装置によれば、キャップがキャッピング位置に移動するときにキャップが通過可能な開口部が形成された薄膜状の弾性部材を有する清掃手段を備え、キャップがキャッピング位置に移動するときに弾性部材の開口部を通過することにより弾性部材でキャップの当接部が清掃される構成としたので、簡単な構成で、特に吸引キャップのニップ部に堆積するインクを清掃除去して、キャップのノズル面との密閉性を確保し、吸引キャップの吸引性能の低下を防止することができる。
本発明に係る画像形成装置によれば、キャップがキャッピング位置に移動するときにキャップが通過可能な切り込み部が形成された薄膜状の弾性部材を有する清掃手段を備え、キャップがキャッピング位置に移動するときに弾性部材の切り込み部を通過することにより弾性部材でキャップの当接部が清掃される構成としたので、簡単な構成で、特に吸引キャップのニップ部に堆積するインクを清掃除去して、キャップのノズル面との密閉性を確保し、吸引キャップの吸引性能の低下を防止することができる。
本発明に係る画像形成装置によれば、キャップのキャッピング位置への移動方向前方側に対向配置された開閉可能な2つのクリーナ部材を有する清掃手段を備え、2つのクリーナ部材は、キャップがキャッピング位置に移動する方向と逆方向に付勢され、キャップの当接部の上方で一部が互いに接触して配置されるとともに、キャップのキャッピング位置への移動で押圧されて開く方向に揺動可能であり、キャップがキャッピング位置に移動するときに2つのクリーナ部材に接触することにより2つのクリーナ部材でキャップの当接部が清掃される構成としたので、簡単な構成で、特に吸引キャップのニップ部に堆積するインクを清掃除去して、キャップのノズル面との密閉性を確保し、吸引キャップの吸引性能の低下を防止することができる。
以下、本発明の実施の形態について添付図面を参照して説明する。まず、本発明に係る画像形成装置の一例について図1及び図2を参照して説明する。なお、図1は同画像形成装置の全体構成を説明する側面説明図、図2は同装置の要部平面説明図である。
この画像形成装置はシリアル型インクジェット記録装置であり、装置本体1の左右の側板21A、21Bに横架したガイド部材である主従のガイドロッド31、32でキャリッジ33を主走査方向に摺動自在に保持し、図示しない主走査モータによってタイミングベルトを介して図2で矢示方向(キャリッジ主走査方向)に移動走査する。
このキャリッジ33には、イエロー(Y)、シアン(C)、マゼンタ(M)、ブラック(K)の各色のインク滴を吐出するための液体吐出ヘッドからなる記録ヘッド34a、34b(区別しないときは「記録ヘッド34」という。)を複数のノズルからなるノズル列を主走査方向と直交する副走査方向に配列し、インク滴吐出方向を下方に向けて装着している。
記録ヘッド34は、それぞれ2つのノズル列を有し、記録ヘッド34aの一方のノズル列はブラック(K)の液滴を、他方のノズル列はシアン(C)の液滴を、記録ヘッド34bの一方のノズル列はマゼンタ(M)の液滴を、他方のノズル列はイエロー(Y)の液滴を、それぞれ吐出する。
また、キャリッジ33には、記録ヘッド34のノズル列に対応して各色のインクを供給するためのサブタンク35a、35b(区別しないときは「サブタンク35」という。)を搭載している。このサブタンク35には、カートリッジ装填部4に着脱自在に装着される各色のインクカートリッジ10y、10m、10c、10kから、供給ポンプユニット5によって各色の供給チューブ36を介して、各色のインクが補充供給される。
一方、給紙トレイ2の用紙積載部(圧板)41上に積載した用紙42を給紙するための給紙部として、用紙積載部41から用紙42を1枚ずつ分離給送する半月コロ(給紙コロ)43及び給紙コロ43に対向し、摩擦係数の大きな材質からなる分離パッド44を備え、この分離パッド44は給紙コロ43側に付勢されている。
そして、この給紙部から給紙された用紙42を記録ヘッド34の下方側に送り込むために、用紙42を案内するガイド部材45と、カウンタローラ46と、搬送ガイド部材47と、先端加圧コロ49を有する押さえ部材48とを備えるとともに、給送された用紙42を静電吸着して記録ヘッド34に対向する位置で搬送するための搬送手段である搬送ベルト51を備えている。
この搬送ベルト51は、無端状ベルトであり、搬送ローラ52とテンションローラ53との間に掛け渡されて、ベルト搬送方向(副走査方向)に周回するように構成している。また、この搬送ベルト51の表面を帯電させるための帯電手段である帯電ローラ56を備えている。この帯電ローラ56は、搬送ベルト51の表層に接触し、搬送ベルト51の回動に従動して回転するように配置されている。この搬送ベルト51は、図示しない副走査モータによってタイミングを介して搬送ローラ52が回転駆動されることによって図2のベルト搬送方向に周回移動する。
さらに、記録ヘッド34で記録された用紙42を排紙するための排紙部として、搬送ベルト51から用紙42を分離するための分離爪61と、排紙ローラ62及び排紙コロである拍車63とを備え、排紙ローラ62の下方に排紙トレイ3を備えている。
また、装置本体1の背面部には両面ユニット71が着脱自在に装着されている。この両面ユニット71は搬送ベルト51の逆方向回転で戻される用紙42を取り込んで反転させて再度カウンタローラ46と搬送ベルト51との間に給紙する。また、この両面ユニット71の上面は手差しトレイ72としている。
さらに、図2に示すように、キャリッジ33の走査方向一方側の非印字領域には、記録ヘッド34のノズルの状態を維持し、回復するための維持回復機構81を配置している。この維持回復機構81には、記録ヘッド34の各ノズル面をキャピングするための各キャップ部材(以下「キャップ」という。)82a、82b(区別しないときは「キャップ82」という。)と、ノズル面をワイピングするためのワイパ部材(ワイパブレード)83と、増粘した記録液を排出するために記録に寄与しない液滴を吐出させる空吐出を行うときの液滴を受ける空吐出受け84と、キャリッジ33をロックするキャリッジロック87などとを備えている。また、このヘッドの維持回復機構81の下方側には維持回復動作によって生じる廃液を収容するための交換されない廃液タンク100を、維持回復機構81の側方側には装置本体の前面側から交換可能な廃液タンク101を、それぞれ備えている。
また、図2に示すように、キャリッジ33の走査方向他方側の非印字領域には、記録中などに増粘した記録液を排出するために記録に寄与しない液滴を吐出させる空吐出を行うときの液滴を受ける空吐出受け88を配置し、この空吐出受け88には記録ヘッド34のノズル列方向に沿った開口部89などを備えている。
このように構成したこの画像形成装置においては、給紙トレイ2から用紙42が1枚ずつ分離給紙され、略鉛直上方に給紙された用紙42はガイド45で案内され、搬送ベルト51とカウンタローラ46との間に挟まれて搬送され、更に先端を搬送ガイド37で案内されて先端加圧コロ49で搬送ベルト51に押し付けられ、略90°搬送方向を転換される。
このとき、帯電ローラ56に対してプラス出力とマイナス出力とが交互に繰り返すように、つまり交番する電圧が印加され、搬送ベルト51が交番する帯電電圧パターン、すなわち、周回方向である副走査方向に、プラスとマイナスが所定の幅で帯状に交互に帯電されたものとなる。このプラス、マイナス交互に帯電した搬送ベルト51上に用紙42が給送されると、用紙42が搬送ベルト51に吸着され、搬送ベルト51の周回移動によって用紙42が副走査方向に搬送される。
そこで、キャリッジ33を移動させながら画像信号に応じて記録ヘッド34を駆動することにより、停止している用紙42にインク滴を吐出して1行分を記録し、用紙42を所定量搬送後、次の行の記録を行う。記録終了信号又は用紙42の後端が記録領域に到達した信号を受けることにより、記録動作を終了して、用紙42を排紙トレイ3に排紙する。
そして、記録ヘッド34のノズルの維持回復を行うときには、キャリッジ33をホーム位置である維持回復機構81に対向する位置に移動して、キャップ部材82によるキャッピングを行ってノズルからの吸引を行うノズル吸引、画像形成に寄与しない液滴を吐出する空吐出などの維持回復動作を行うことにより、安定した液滴吐出による画像形成を行うことができる。
次に、この画像形成装置における維持回復機構81について図3ないし図5を参照して説明する。なお、図3は同維持回復機構の斜視説明図、図4は同じく模式的概略構成図、図5は同じく要部平面説明図である。
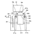
この維持回復機構81は、維持装置フレーム211に、キャップホルダ212に保持されたキャップ82a、82bと、弾性体を含むワイパ部材83と、ワイパクリーナ86とがそれぞれ昇降可能(上下動可能)に保持されている。
キャップ82は、記録ヘッド34のノズル面と対向する側に開口を有する箱型の部材である。このキャップ82はその開口上面部に弾性部分を有しており、前記弾性部分をノズル面に当接し、密着させることでノズルの開口を封止(キャッピング)することができる。また、キャップ82a内には多孔質のスポンジ状部材である図示しない吸収部材が配設されている。これにより、吸収部材の持つ毛管力により、キャップ82a内でインクを均一な状態で保持すると同時に、後述する吸引ポンプ220によりキャップ82a内のインクを排出する際に排出する負圧をキャップ全体に伝播させることができる。
そして、ワイパ部材83と吸引用となるキャップ82aとの間には筒状の空吐出受け84が配置され、この空吐出受け84のワイパ部材83側上端部はワイパ部材83に付着したインクを掻き落して除去するワイパクリーナ部85が形成されている。ワイパ部材83のクリーニングを行うときにはワイパクリーナ86でワイパ部材83をワイパクリーナ部85に押し付けた状態でワイパ部材83を下降させることにより、ワイパ部材83に付着したインクを空吐出受け84側に掻き落す。
また、印字領域に最も近い側のキャップ82aにはチューブ部材である弾性部材からなる可撓性吸引チューブ219を介して吸引手段であるチュービングポンプ(吸引ポンプ)220を接続し、キャップ82aのみを吸引(回復)及び保湿用キャップ(以下単に「吸引用キャップ」という。)とし、キャップ82bは単なる保湿用キャップとしている。したがって、記録ヘッド34の回復動作を行うときには、回復動作を行う記録ヘッド34を吸引用キャップ82aによってキャッピング可能な位置に選択的に移動させる。
吸引ポンプ220は、吸引チューブ219に対して複数の加圧部材による加圧と移動を繰り返すことによってチューブ210に吸引力を発生させる。
一方、キャップ82a、82b、ワイパ部材83などの下方にはフレーム211に回転自在に支持したカム軸221を配置し、このカム軸221には、キャップホルダ212を昇降させるためのキャップカム222と、ワイパ部材83を昇降させるためのワイパカム224、空吐出受け84内で空吐出される液滴がかかる回転体としてのコロ226と、ワイパクリーナ86を揺動させるためのクリーナカム228と、キャリッジロック87を昇降させるためのキャリッジロックカム229をそれぞれ設けている。
そして、吸引ポンプ220及びカム軸221を回転駆動するために、維持回復用モータ231の回転をモータ軸231aに設けたモータギヤ232に、吸引ポンプ220のポンプ軸220aに設けたポンプギヤ233を噛み合わせ、更にこのポンプギヤ233と一体の中間ギヤ234に中間ギヤ235を介して一方向クラッチ237付きの中間ギヤ236を噛み合わせ、この中間ギヤ236と同軸の中間ギヤ238に中間ギヤ239を介してカム軸221に固定したカムギヤ240を噛み合わせている。なお、クラッチ237付きの中間ギヤ236、238の回転軸である中間軸241はフレーム211にて回転可能に保持している。
この維持回復機構81においては、記録ヘッド34のノズルを形成した面(ノズル面)に付着したインクや不純物を取り除くときには、モータ231を駆動して、ワイパカム224を介してワイパ部材83を上昇させる。この状態で、キャリッジ33を主走査方向に移動させることにより、ワイパ部材83によって記録ヘッド34のノズル面をワイピングして、不純物などを払拭する。
また、記録ヘッド34のノズルを外気に露呈した状態のまま放置すると、内部のインクが乾燥して増粘、固着し、インク吐出性能が低下してしまうことから、これを防ぐために、記録ヘッド34のノズル面をキャップ82で覆うときには、モータ231を回転させ、キャップカム213を介してキャップ82を上昇させ、記録ヘッド34のノズル面をキャッピングする。
また、記録ヘッド34のノズルの維持回復を行うときには、キャリッジ33をホーム位置である維持回復機構81に対向する位置に移動して、モータ231を回転させ、キャップカム213を介してキャップa82を上昇させ、記録ヘッド34のノズル面をキャッピングし、吸引ポンプ220を駆動して記録ヘッド34のノズルからのインクを吸引してキャップ82a内に吸引排出させる。その他、記録動作の前後やその最中において、キャップ82aに対して記録動作に寄与しないインク滴の吐出(予備吐出)を行うこともある。
次に、吸引用キャップ82a及びその昇降機構について図6の側面説明図を参照して説明する。
キャップ82aは、記録ヘッド34のノズル面に当接する当接部(ニップ部)381aを有する弾性部材からなる当接部材381と、ノズル面のノズルから吸引されるインクを受けるための凹部382aを形成する凹部形成部材382とを有する。
このキャップ82aは、キャップ保持部材であるキャップホルダ212に昇降可能(上下動可能)に保持され、キャップ82とキャップホルダ212との間には、キャップホルダ212に対してキャップ82を上方に付勢するスプリング301が介装されている。
キャップホルダ212は、スライダ302に前後方向(記録ヘッド34のノズルの並び方向)に移動可能に保持され、このスライダ302が前後端に設けたガイドピン304、305をフレーム211に形成したガイド溝306に摺動可能に嵌め合わせることで、スライダ302に連結されるキャップカム222によって、スライダ302、キャップホルダ212及びキャップ82全体が上下動できる構成としている。
キャップ82の長手方向両端部にはガイドピン310、311が設けられ、キャップホルダ212にはガイドピン310、311が係合する係合穴312、313(凹部;溝を含む、であってもよい。)が設けられている。
また、キャップ82の底面にはガイド軸315が設けられ、キャップホルダ212のフランジ部212aに上下動可能に挿通され、キャップ82はキャップホルダ212に対して上下動可能に装着保持されている。キャップ82とキャップホルダ212との間に介装したスプリング301はキャップ82を上方向(キャッピング時にノズル面側に押圧する方向)に付勢している。
さらに、吸引用キャップ82aにはスライダ302及びキャップホルダ212を挿通して、キャップ82aの短手方向に対してキャップ中央位置、長手方向で中央位置からずれた位置に下方からチューブ119を這い回して接続している。
また、キャップ82を昇降させるために、キャップホルダ212を保持するスライダ302にキャップカム222に係合するカムピン321が設けられ、キャップカム222が回転することによってスライダ202が昇降されてキャップ82が昇降される。
次に、本発明の第1実施形態について図7ないし図11を参照して説明する。なお、図7は同実施形態における清掃手段を装着した状態の維持回復機構の平面説明図、図8は同じく維持回復機構の側面説明図、図9は同清掃手段の斜視説明図、図10は同じく清掃手段の平面説明図、図11は同じく清掃手段の側面説明図である。
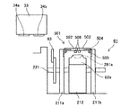
ここでは、キャップ82aの外周側には、維持回復機構81のフレーム211にキャップ82aのニップ部(当接部)281aを清掃する清掃手段401が着脱自在に取付けられている。
この清掃手段401は、図9ないし図11にも示すように、キャップ82aの周囲を囲む箱状(筒状)の保持部材402と、この保持部材402の上側開口に張られた状態で保持された薄膜状の弾性部材403とを有している。薄膜状弾性部材403には、キャップ82aが記録ヘッド34のノズル面をキャッピングするキャッピング位置に移動するときに通過可能な開口部404が形成されている。この弾性部材403の開口部404はキャップ82のニップ部281aよりも小さく形成されている。また、薄膜状の弾性部材403としては、ラテックスゴムの薄膜やPET等の高分子フィルムが好ましく用いられる。
このように構成した清掃手段401の作用について図12及び図13をも参照して説明する。
まず、キャップ82aは記録ヘッド34からのインク吸引を繰り返すことになり、特にインク付着量は多い。また、印刷中及びノズルメンテナンス中には、ノズル面でカバーされることなく開放状態であり、付着したインクの乾燥が進む。キャップ82aの内部に付着したインクは、次回の記録ヘッド34からのインク吸引により、乾燥していないインクによってある程度は洗い流されるが、ニップ部281aに付着したインクは洗い流されることなく堆積が進行する場合がある。
そこで、上述したように清掃手段401を配置することで、キャップ82aが記録ヘッド34のノズル面を被覆するキャッピング位置に移動するとき(上昇するとき)、キャップ82aは、図12及び図13に示すように、清掃手段401の薄膜状弾性部材403の開口部404を拡げながら開口部404を突き抜けて上昇することになる。
このとき、キャップ82aのニップ部281aが薄膜状弾性部材403に接触して摺擦されることにより、ニップ部281aに付着したインクは、この弾性部材403によって強制的除去される。
このような動作は、キャップ82aの上昇時に毎回実施されるため、ニップ部281aに付着したインクが増粘し、堆積が進行することが低減される。これにより、キャップ82aのニップ部281aと記録ヘッド24のノズル面との密着不良が生じることを防止できる。
なお、薄膜状弾性部材403に転写した増粘インクは、キャップ82aの通過に伴って薄膜状弾性部材403が振動することにより落下除去されて蓄積されることはない。薄膜状弾性部材403から剥離した増粘インクは、筒状の保持部402の下方開口から下方向に向けて排出されて維持回復機構81の下部に設置した廃液タンク100へ落下し、清掃手段401によって維持回復機構81が汚れることが防止される。
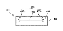
次に、本発明の第2実施形態について図14及び図15を参照して説明する。なお、図14は同実施形態における清掃手段の斜視説明図、図15は同じく平面説明図である。
この清掃手段401は、薄膜状の弾性部材403にキャップ82aが通過可能な切り込み部(スリット)405を形成している。この切り込み部405は、キャップ長手方向に沿う第1切り込み405aと、第1切り込み405aの両端から2方向に広がる2つの第2切り込み405bとで形成されている。
このような切り込み部を有する弾性部材は、薄膜状弾性部材として伸縮性のない高分子フィルムを用いる場合に適している。
なお、上記各実施形態では清掃手段の保持部材を平面形状が矩形状の筒状部材としているが、例えば図16に示すように、清掃手段401の筒状の保持部材402を平面形状が楕円形状とすることもでき、適用するキャップ形状などに応じて適宜選択すればよい。また、上記各実施形態では、吸引用キャップ82aのみに清掃手段を備えているが、全てのキャップに清掃手段を備えることもできる。
このように、キャップがキャッピング位置に移動するときにキャップが通過可能な開口部又は切り込み部が形成された薄膜状の弾性部材を有する清掃手段を備え、キャップがキャッピング位置に移動するときに弾性部材の開口部又は切り込み部を通過することにより弾性部材でキャップの当接部が清掃される構成とすることで、簡単な構成で、特に吸引キャップのニップ部に堆積するインクを清掃除去して、キャップのノズル面との密閉性を確保し、吸引キャップの吸引性能の低下を防止することができる。
次に、本発明の第3実施形態について図17ないし図20を参照して説明する。なお、図17は同実施形態における清掃手段を含む維持回復機構の要部模式的説明図、図18及び図19は同じくその動作説明に供する要部模式的説明図、図20は同じく清掃手段のクリーナ部材の平面説明図である。
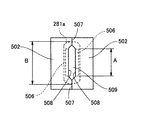
ここでは、キャップ82aのキャッピング位置への移動方向前方側にキャップ82aのニップ部281aを清掃する清掃手段501を配置している。
この清掃手段501は、キャップ82aのキャッピング位置への移動方向(これを「キャッピング方向」という。)前方側で対向配置された開閉可能な2つのクリーナ部材502を有している。
2つのクリーナ部材502は、キャップ82aのニップ部281aの上方で一部が互いに接触して配置されるとともに、維持回復機構81のフレーム211a、211bの上端部に支軸504にて揺動可能に支持され、支軸504に装着したねじりコイルばね505によって支軸504を中心にキャッピング方向と逆方向に付勢され、キャップ82aのキャッピング方向への移動で押圧されてキャッピング方向へ開く方向に揺動可能とされている。
また、2つのクリーナ部材502の先端部にはキャップ82aの内部底部に向かう方向に突出し、キャップ82aのニップ部281aの表面を擦る突起部506が設けられている。これらの突起部506のキャップ長手方向の長さAは、ニップ部281aのキャップ長手方向の長さBより短くして、ニップ部281aの内部に入り込むことができるようにしている。このような突起部506を設けることにより、ニップ部281aだけでなく、キャップ82aの内部まで清掃することができる。
また、2つのクリーナ部材502は、図20に示すように、先端部側(対向側)にニップ部281aの上方で接触する接触部207と、接触部207よりも後端側に凹んだ凹部508とが形成されて、2つのクリーナ部材502が接触した状態では中央部に開口部509が形成される形状としている。このように、2つのクリーナ部材502の接触箇所を少なくすることで開き易くなる。
このように構成したので、キャリッジ33の記録ヘッド34が印字領域にいる間は、図17に示すように、キャップ82aは2つのクリーナ部材502の下方で待機している。そして、記録ヘッド34がメンテナンス動作の実行や待機するためにキャップ82a上へ移動してきたとき、図18に示すように、キャップホルダ212がカム軸221の図示しないカムによって上昇されることで、キャップ82aが上方向へ移動して、図19に示すように、記録ヘッド34のノズル面をキャッピングする。
このキャップ82aが待機位置からキャッピング位置まで移動する間に、図18に示すように、2つのクリーナ部材502はキャップ82aで押し上げられてキャッピング方向に離間しながら開いていく。このとき、2つのクリーナ部材502の突起部506がキャップ82aのニップ部281aの表面を擦りながら押し上げられることになるので、キャップ82aの内部及びニップ部281aの周面に付着したインクが清掃除去される。
この場合、2つのクリーナ部材502にはバネ504によってキャップ82a側に押し付けられる力が作用するため、キャップ82aのニップ部281aの表面に確実に接触して清掃する。
また、キャップ82aが図19に示すキャッピング状態から待機状態に下降する場合も、押し上げられた2つのクリーナ部材502がバネ504の付勢力によってキャップ82aの外側からニップ部281a、ニップ部281aの内部へとキャップ82aを摺擦して清掃しながら、記録ヘッド34から離れる方向へ回転移動する。
なお、清掃手段501の各部材の形状等は上記実施形態のものに限られない。例えば、クリーナ部材502を平面形状が略矩形状のものに限らず、図21に示すように、平面形状が扇形状とすることもできる。これにより、二つのクリーナ部材502を小型化することができる。
また、図22(a)に示すように、クリーナ部材502の全体がインクを吸収する吸収部材で形成された構成とすることもできる。あるいは、図22(b)に示すように、クリーナ部材502のキャップ82aに接する部分を吸収部材502Aで形成して補強用の剛性の高い部材502Bに貼り付ける構成とすることもできる。
つまり、クリーナ部材502は、少なくともキャップ82aと摺擦する部分は、インクを吸収できる吸収部材で形成することが、インク除去の確実性を図る上で好ましい。この場合、インクの吸収性を考えると、クリーナ部材全体が吸収部材であることが好ましいが、吸収部材が柔らかいと、キャップ82aに押し上げられるときに、折れたり、曲がったりしてしまう。そこで、このような場合には、プラスチックなどの剛性の高い部材502Bに吸収部材502Aを貼り付けて補強することが好ましい。
また、クリーナ部材502を揺動可能に支持する構造としては、図23(a)に示すように、支軸504でクリーナ部材502を揺動可能に支持し、バネはねじりコイルばね505で付勢する構成とすることも、図23(b)に示すように、圧縮コイルばね515で付勢する構成とすることもできる。省スペース性からねじりコイルばねが好ましい。
また、クリーナ部材502に形成する突起部506の形状としては、図24に示すようにキャップ82aの内壁面に倣う形状とすることが清掃性を向上する上で好ましい。図24(a)は突起部26aがキャップ短手方向の断面形状が矩形状である例、図24(b)は突起部26bが同短手方向の断面形状でキャップ82aの内壁面側を傾斜させた形状である例、図24(c)は突起部26cが同短手方向の断面形状で略L字形状の例である。
このように、キャップのキャッピング位置への移動方向前方側に対向配置された開閉可能な2つのクリーナ部材を有する清掃手段を備え、2つのクリーナ部材は、キャップがキャッピング位置に移動する方向と逆方向に付勢され、キャップの当接部の上方で一部が互いに接触して配置されるとともに、キャップのキャッピング位置への移動で押圧されて開く方向に揺動可能であり、キャップがキャッピング位置に移動するときに2つのクリーナ部材に接触することにより2つのクリーナ部材でキャップの当接部が清掃される構成とすることで、簡単な構成で、特に吸引キャップのニップ部に堆積するインクを清掃除去して、キャップのノズル面との密閉性を確保し、吸引キャップの吸引性能の低下を防止することができる。
なお、本発明に係る画像形成装置は、インクジェットプリンタ以外にも、ファクシミリ装置、複写装置、プリンタ/ファックス/コピア複合機などにも適用することができる。さらに、インク以外の液体(記録液)、例えばレジスト、医療分野におけるDNA試料などを吐出させる画像形成装置などにも適用することができる。
本発明に係る画像形成装置の一例の全体構成を説明する側面説明図である。 同装置の要部平面説明図である。 同画像形成装置における維持回復機構の斜視説明図である。 同じく模式的概略構成図である。 同じく要部平面説明図である。 同じく吸引用キャップ及びその昇降機構の一例を示す側面説明図である。 本発明の第1実施形態における清掃手段を装着した状態の維持回復機構の平面説明図である。 同じく維持回復機構の側面説明図である。 同清掃手段の斜視説明図である。 同じく清掃手段の平面説明図である。 同じく清掃手段の側面説明図である。 同じく清掃手段の作用説明に供する図7と同様な維持回復機構の平面説明図である。 同じく図8と同様な維持回復機構の側面説明図である。 本発明の第2実施形態における清掃手段の斜視説明図である。 同じく平面説明図である。 清掃手段の他の例を示す斜視説明図である。 本発明の第3実施形態における清掃手段を含む維持回復機構の要部模式的説明図である。 同じくその動作説明に供する要部模式的説明図である。 同じくその動作説明に供する要部模式的説明図である。 同じく清掃手段のクリーナ部材の平面説明図である。 清掃手段のクリーナ部材の他の例を示す平面説明図である。 清掃手段のクリーナ部材の他の例を示す側面説明図である。 清掃手段のクリーナ部材の支持構造の異なる例を示す説明図である。 清掃手段のクリーナ部材の突起部の異なる例を示す側面説明図である。
符号の説明
33…キャリッジ
34、34a、34b…記録ヘッド(液体吐出ヘッド)
35…サブタンク
81…維持回復機構
82a…吸引及び保湿用キャップ
83…ワイパ部材
84…空吐出受け
401…清掃手段
402…保持部材
403…薄膜状弾性部材
404…開口部
405…切り込み部
501…清掃手段
502…クリーナ部材

Claims (9)

  1. インクの液滴を吐出するノズルを有する記録ヘッドと、
    前記記録ヘッドのノズル面をキャッピングするキャップと、
    前記キャップの前記ノズル面に当接する当接部を清掃する清掃手段と、を備え、
    前記清掃手段は、前記キャップがキャッピング位置に移動するときに前記キャップが通過可能な開口部が形成された薄膜状の弾性部材を有し、
    前記キャップが前記キャッピング位置に移動するときに前記弾性部材の開口部を通過することにより前記弾性部材で前記キャップの当接部が清掃される
    ことを特徴とする画像形成装置。
  2. インクの液滴を吐出するノズルを有する記録ヘッドと、
    前記記録ヘッドのノズル面をキャッピングするキャップと、
    前記キャップの前記ノズル面に当接する当接部を清掃する清掃手段と、を備え、
    前記清掃手段は、前記キャップがキャッピング位置に移動するときに前記キャップが通過可能な切り込み部が形成された薄膜状の弾性部材を有し、
    前記キャップがキャッピング位置に移動するときに前記清掃手段の前記弾性部材の切り込み部を通過することにより前記弾性部材で前記キャップの当接部が清掃される
    ことを特徴とする画像形成装置。
  3. 請求項2に記載の画像形成装置において、前記弾性部材の切り込み部は、前記キャップの長手方向に沿う第1切り込みと、この第1切り込みの両端から少なくとも2つの方向に広がる第2切り込みを有していることを特徴とする画像形成装置。
  4. 請求項1ないし3のいずれかに記載の画像形成装置において、前記弾性部材は前記キャップの周囲を囲む筒状の保持部材にて保持されていることを特徴とする画像形成装置。
  5. 請求項4に記載の画像形成装置において、前記筒状の保持部材は前記キャップの移動に連動しない部分に脱着可能に装着されていることを特徴とする画像形成装置。
  6. インクの液滴を吐出するノズルを有する記録ヘッドと、
    前記記録ヘッドのノズル面をキャッピングするキャップと、
    前記キャップの前記ノズル面に当接する当接部を清掃する清掃手段と、を備え、
    前記清掃手段は、前記キャップのキャッピング位置への移動方向前方側に対向配置された開閉可能な2つのクリーナ部材を有し、
    前記2つのクリーナ部材は、前記キャップがキャッピング位置に移動する方向と逆方向に付勢され、前記キャップの当接部の上方で一部が互いに接触して配置されるとともに、前記キャップのキャッピング位置への移動で押圧されて開く方向に揺動可能であり、
    前記キャップがキャッピング位置に移動するときに前記2つのクリーナ部材に接触することにより前記2つのクリーナ部材で前記キャップの当接部が清掃される
    ことを特徴とする画像形成装置。
  7. 請求項6に記載の画像形成装置において、前記2つのクリーナ部材は、前記キャップの内面底部側に向かって突出し、前記キャップの当接部表面を擦る突起部を有していることを特徴とする画像形成装置。
  8. 請求項6又は7に記載の画像形成装置において、前記クリーナ部材は平面形状で扇形状であることを特徴とする画像形成装置。
  9. 請求項6ないし8のいずれかに記載の画像形成装置において、前記クリーナ部材は前記キャップの当接部に接する部分が吸収部材で形成されていることを特徴とする画像形成装置。
JP2008178551A 2008-07-09 2008-07-09 画像形成装置 Expired - Fee Related JP5033074B2 (ja)

Priority Applications (1)

Application Number Priority Date Filing Date Title
JP2008178551A JP5033074B2 (ja) 2008-07-09 2008-07-09 画像形成装置

Applications Claiming Priority (1)

Application Number Priority Date Filing Date Title
JP2008178551A JP5033074B2 (ja) 2008-07-09 2008-07-09 画像形成装置

Publications (2)

Publication Number Publication Date
JP2010017892A true JP2010017892A (ja) 2010-01-28
JP5033074B2 JP5033074B2 (ja) 2012-09-26

Family

ID=41703258

Family Applications (1)

Application Number Title Priority Date Filing Date
JP2008178551A Expired - Fee Related JP5033074B2 (ja) 2008-07-09 2008-07-09 画像形成装置

Country Status (1)

Country Link
JP (1) JP5033074B2 (ja)

Cited By (2)

* Cited by examiner, † Cited by third party
Publication number Priority date Publication date Assignee Title
JP2019038158A (ja) * 2017-08-24 2019-03-14 セイコーエプソン株式会社 液体噴射装置及びキャップ装置
CN110816047A (zh) * 2018-08-08 2020-02-21 东友科技股份有限公司 墨盒清洁装置

Citations (9)

* Cited by examiner, † Cited by third party
Publication number Priority date Publication date Assignee Title
JPH05124212A (ja) * 1991-11-07 1993-05-21 Canon Inc インクジエツト記録装置
JPH09156115A (ja) * 1995-12-01 1997-06-17 Sharp Corp インクジェットプリンタのヘッドクリーニング装置
JP2001071519A (ja) * 1999-09-07 2001-03-21 Canon Inc インクジェット記録装置
JP2003154681A (ja) * 2000-10-04 2003-05-27 Canon Inc ヘッド回復装置及びヘッド回復方法並びにインクジェット記録装置
JP2005144910A (ja) * 2003-11-18 2005-06-09 Ricoh Co Ltd 液体吐出装置の維持装置及び画像形成装置
JP2005169985A (ja) * 2003-12-15 2005-06-30 Ricoh Co Ltd ヘッドクリーニング装置及び画像形成装置
JP2006218715A (ja) * 2005-02-10 2006-08-24 Ricoh Co Ltd 画像形成装置
JP2007185795A (ja) * 2006-01-11 2007-07-26 Seiko Epson Corp 液体噴射装置
JP2007296779A (ja) * 2006-05-01 2007-11-15 Ricoh Co Ltd 画像形成装置

Patent Citations (9)

* Cited by examiner, † Cited by third party
Publication number Priority date Publication date Assignee Title
JPH05124212A (ja) * 1991-11-07 1993-05-21 Canon Inc インクジエツト記録装置
JPH09156115A (ja) * 1995-12-01 1997-06-17 Sharp Corp インクジェットプリンタのヘッドクリーニング装置
JP2001071519A (ja) * 1999-09-07 2001-03-21 Canon Inc インクジェット記録装置
JP2003154681A (ja) * 2000-10-04 2003-05-27 Canon Inc ヘッド回復装置及びヘッド回復方法並びにインクジェット記録装置
JP2005144910A (ja) * 2003-11-18 2005-06-09 Ricoh Co Ltd 液体吐出装置の維持装置及び画像形成装置
JP2005169985A (ja) * 2003-12-15 2005-06-30 Ricoh Co Ltd ヘッドクリーニング装置及び画像形成装置
JP2006218715A (ja) * 2005-02-10 2006-08-24 Ricoh Co Ltd 画像形成装置
JP2007185795A (ja) * 2006-01-11 2007-07-26 Seiko Epson Corp 液体噴射装置
JP2007296779A (ja) * 2006-05-01 2007-11-15 Ricoh Co Ltd 画像形成装置

Cited By (2)

* Cited by examiner, † Cited by third party
Publication number Priority date Publication date Assignee Title
JP2019038158A (ja) * 2017-08-24 2019-03-14 セイコーエプソン株式会社 液体噴射装置及びキャップ装置
CN110816047A (zh) * 2018-08-08 2020-02-21 东友科技股份有限公司 墨盒清洁装置

Also Published As

Publication number Publication date
JP5033074B2 (ja) 2012-09-26

Similar Documents

Publication Publication Date Title
JP5066017B2 (ja) 画像形成装置
JP5228615B2 (ja) 画像形成装置
JP5322510B2 (ja) 廃液タンク
JP5168138B2 (ja) 画像形成装置
JP2012035440A (ja) 画像形成装置
JP5720979B2 (ja) 回復装置及び画像形成装置
JP5504916B2 (ja) 液滴吐出装置および画像形成装置
JP2009292030A (ja) 維持回復装置及び液滴吐出装置
JP2010194923A (ja) 画像形成装置
JP5353368B2 (ja) 画像形成装置
JP5033074B2 (ja) 画像形成装置
JP2008302669A (ja) 画像形成装置
JP2012139933A (ja) 画像形成装置
JP2008247019A (ja) 画像形成装置
JP2010194829A (ja) 画像形成装置
JP6031964B2 (ja) 画像形成装置
JP4791210B2 (ja) ヘッドの維持回復装置、画像形成装置
US7393080B2 (en) Image forming apparatus
JP2003266717A (ja) インクジェットヘッド及びヘッドクリーニング方法並びに画像形成装置
JP5899661B2 (ja) 画像形成装置及び記録液排出方法
JP6582861B2 (ja) 液体吐出ヘッド用クリーニングユニットと該クリーニングユニットを有する液体吐出装置
JP2007069597A (ja) 液体吐出装置
JP6478033B2 (ja) ヘッド維持回復装置、液体吐出装置、および画像形成装置
JP3922222B2 (ja) 液体吐出装置及びその制御方法
JP5472495B2 (ja) 画像形成装置及び廃液タンク

Legal Events

Date Code Title Description
A621 Written request for application examination

Free format text: JAPANESE INTERMEDIATE CODE: A621

Effective date: 20110324

A977 Report on retrieval

Free format text: JAPANESE INTERMEDIATE CODE: A971007

Effective date: 20120620

TRDD Decision of grant or rejection written
A01 Written decision to grant a patent or to grant a registration (utility model)

Free format text: JAPANESE INTERMEDIATE CODE: A01

Effective date: 20120626

A01 Written decision to grant a patent or to grant a registration (utility model)

Free format text: JAPANESE INTERMEDIATE CODE: A01

A61 First payment of annual fees (during grant procedure)

Free format text: JAPANESE INTERMEDIATE CODE: A61

Effective date: 20120629

R150 Certificate of patent or registration of utility model

Ref document number: 5033074

Country of ref document: JP

Free format text: JAPANESE INTERMEDIATE CODE: R150

FPAY Renewal fee payment (event date is renewal date of database)

Free format text: PAYMENT UNTIL: 20150706

Year of fee payment: 3

LAPS Cancellation because of no payment of annual fees