JP2010017792A - 研削装置及びスクラッチ検出装置 - Google Patents

研削装置及びスクラッチ検出装置 Download PDF

Info

Publication number
JP2010017792A
JP2010017792A JP2008178966A JP2008178966A JP2010017792A JP 2010017792 A JP2010017792 A JP 2010017792A JP 2008178966 A JP2008178966 A JP 2008178966A JP 2008178966 A JP2008178966 A JP 2008178966A JP 2010017792 A JP2010017792 A JP 2010017792A
Authority
JP
Japan
Prior art keywords
grinding
scratch
wafer
light
light receiving
Prior art date
Legal status (The legal status is an assumption and is not a legal conclusion. Google has not performed a legal analysis and makes no representation as to the accuracy of the status listed.)
Granted
Application number
JP2008178966A
Other languages
English (en)
Other versions
JP5274919B2 (ja
Inventor
Keiji Nomaru
圭司 能丸
Current Assignee (The listed assignees may be inaccurate. Google has not performed a legal analysis and makes no representation or warranty as to the accuracy of the list.)
Disco Corp
Original Assignee
Disco Abrasive Systems Ltd
Priority date (The priority date is an assumption and is not a legal conclusion. Google has not performed a legal analysis and makes no representation as to the accuracy of the date listed.)
Filing date
Publication date
Application filed by Disco Abrasive Systems Ltd filed Critical Disco Abrasive Systems Ltd
Priority to JP2008178966A priority Critical patent/JP5274919B2/ja
Publication of JP2010017792A publication Critical patent/JP2010017792A/ja
Application granted granted Critical
Publication of JP5274919B2 publication Critical patent/JP5274919B2/ja
Active legal-status Critical Current
Anticipated expiration legal-status Critical

Links

Images

Landscapes

  • Constituent Portions Of Griding Lathes, Driving, Sensing And Control (AREA)
  • Testing Or Measuring Of Semiconductors Or The Like (AREA)
  • Mechanical Treatment Of Semiconductor (AREA)

Abstract

【課題】 ウエーハのスクラッチ検出装置及びスクラッチ検出装置を備えた研削装置を提供することである。
【解決手段】 ウエーハを保持するチャックテーブルと、該チャックテーブルに保持されたウエーハを研削する研削ホイールを有する研削手段とを備えた研削装置であって、ウエーハの研削面に生じるスクラッチを検出するスクラッチ検出手段を更に具備し、該スクラッチ検出手段は、ウエーハに対して光ビームを照射する光ビーム照射手段と、光ビームが照射される領域からの反射光を集光する集光手段と、該集光手段で集光された反射光を受光する受光手段と、該受光手段で検出される光量が所定の閾値を越えた際スクラッチ有りと判定する判定手段とを含み、該受光手段はスクラッチが形成される方向に倣った形状に構成される。
【選択図】図7

Description

本発明は、ウエーハ研削面のスクラッチを検出可能なスクラッチ検出装置及び該スクラッチ検出装置を具備した研削装置に関する。
IC、LSI等の数多くのデバイスが表面に形成され、且つ個々のデバイスが分割予定ライン(ストリート)によって区画された半導体ウエーハは、研削装置によって裏面が研削されて所定の厚みに加工された後、ダイシング装置によって分割予定ラインを切削して個々のデバイスに分割され、携帯電話、パソコン等の電気機器に利用される。
ウエーハの裏面を研削する研削装置は、ウエーハを保持するチャックテーブルと、該チャックテーブルに保持されたウエーハを研削する研削砥石が配設された研削ホイールを回転可能に支持する研削手段と、研削領域に研削水を供給する研削水供給手段とを具備しており、ウエーハを所定の厚みに加工することができる。
ところで、ウエーハの厚みが100μm以下、更には50μm以下と薄くなると、ウエーハの裏面に生じた研削歪がデバイスの抗折強度を低下させる原因にもなり、抗折強度を向上させるためにエッチング等で歪を除去すると、今度はウエーハの内部で遊動する重金属を裏面側に保持するゲッタリング効果がなくなりデバイスの品質を著しく低下させることになる。
そこで、本出願人は、主に仕上げ研削用砥石として、研削歪を抑制して抗折強度を維持できるとともに、ゲッタリング効果も維持できるビトリファイドボンド砥石を特開2006−1007号公報で提案した。
特開2006−1007号公報
ところが、特許文献1に開示されたビトリファイドボンド砥石を使用して研削したウエーハの研削面を観察すると、40〜50枚に1枚の割合でスクラッチの入ったウエーハが存在することがあり、かかるウエーハにおいてはスクラッチの入った部分での抗折強度が低下するという問題がある。
本発明はこのような点に鑑みてなされたものであり、その目的とするところは、ウエーハの研削面に生じるスクラッチを検出可能なスクラッチ検出装置及び該スクラッチ検出装置を具備した研削装置を提供することである。
請求項1記載の発明によると、ウエーハを保持するチャックテーブルと、該チャックテーブルに保持されたウエーハを研削する研削ホイールを有する研削手段とを備えた研削装置であって、ウエーハの研削面に生じるスクラッチを検出するスクラッチ検出手段を更に具備し、該スクラッチ検出手段は、ウエーハに対して光ビームを照射する光ビーム照射手段と、光ビームが照射される領域からの反射光を集光する集光手段と、該集光手段で集光された反射光を受光する受光手段と、該受光手段で検出される光量が所定の閾値を越えた際スクラッチ有りと判定する判定手段とを含み、該受光手段はスクラッチが形成される方向に倣った形状に構成されていることを特徴とする研削装置が提供される。
好ましくは、研削装置は、前記集光手段と前記受光手段との間に配設されたビームスプリッタと、該ビームスプリッタにより一方に分岐された反射光が入射する撮像手段と、該撮像手段に接続されたモニターとを更に具備し、該ビームスプリッタで分岐した他方の反射光は前記受光手段に導かれ、前記モニター上のスクラッチを観察して前記スクラッチ判定手段の前記閾値を設定する。
好ましくは、受光手段はラインセンサから構成され、ラインセンサはスクラッチが形成される方向に倣った形状で位置付けられている。代替案として、受光手段はスリットが形成されたスリットマスクと、受光素子とから構成され、スリットマスクのスリットはスクラッチが形成される方向に倣った形状で位置付けられている。
好ましくは、チャックテーブルは、ウエーハを着脱する着脱位置とウエーハを研削手段で研削する研削位置との間で移動可能であり、スクラッチ検出手段は着脱位置又は研削位置の何れかに配設されている。
好ましくは、研削装置は集光手段を囲繞しウエーハ側に開放した枠体と、該枠体内に水を供給する水供給手段とを更に具備し、枠体とウエーハとで仕切られる空間が水で満たされている。
請求項8記載の発明によると、チャックテーブルに保持されたウエーハの研削面に生じるスクラッチを検出するスクラッチ検出装置であって、該ウエーハに対して光ビームを照射する光ビーム照射手段と、光ビームが照射される領域からの反射光を集光する集光手段と、該集光手段で集光された反射光を受光する受光手段と、該受光手段で検出される光量が所定の閾値を超えた際スクラッチ有りと判定するスクラッチ判定手段とを具備し、該受光手段は、スクラッチが形成される方向に倣った形状に構成されていることを特徴とするスクラッチ検出装置が提供される。
本発明の研削装置によると、受光手段がスクラッチが形成される方向に倣った形状に構成されているスクラッチ検出装置を具備しているので、ウエーハの研削面からスクラッチを直ちに検出でき、スクラッチが有る場合は研削を続行し、又はスクラッチ除去研削を遂行してスクラッチのないウエーハを次工程に搬送するようにしたので、スクラッチのないウエーハを効率良く生産することができる。
又、本発明のスクラッチ検出装置によると、研削面に形成されたスクラッチを確実に検出することができる。
以下、本発明実施形態のウエーハの研削方法及び研削装置を図面を参照して詳細に説明する。図1は所定の厚さに加工される前の半導体ウエーハの斜視図である。図1に示す半導体ウエーハ11は、例えば厚さが700μmのシリコンウエーハからなっており、表面11aに複数のストリート13が格子状に形成されているとともに、該複数のストリート13によって区画された複数の領域にIC、LSI等のデバイス15が形成されている。
このように構成された半導体ウエーハ11は、デバイス15が形成されているデバイス領域17と、デバイス領域17を囲繞する外周余剰領域19を備えている。また、半導体ウエーハ11の外周には、シリコンウエーハの結晶方位を示すマークとしてのノッチ21が形成されている。
半導体ウエーハ11の表面11aには、保護テープ貼着工程により保護テープ23が貼着される。従って、半導体ウエーハ11の表面11aは保護テープ23によって保護され、図2に示すように裏面11bが露出する形態となる。
以下、このように構成された半導体ウエーハ11の裏面11bを所定厚さに研削する研削装置2を、図3を参照して説明する。研削装置2のハウジング4は、水平ハウジング部分6と、垂直ハウジング部分8から構成される。
垂直ハウジング部分8には上下方向に伸びる1対のガイドレール12,14が固定されている。この一対のガイドレール12,14に沿って研削手段(研削ユニット)16が上下方向に移動可能に装着されている。研削ユニット16は支持部20を介して一対のガイドレール12,14に沿って上下方向に移動する移動基台18に取り付けられている。
研削ユニット16は、支持部20に取り付けられたスピンドルハウジング22と、スピンドルハウジング22中に回転可能に収容されたスピンドル24と、スピンドル24を回転駆動するサーボモータ26を含んでいる。
図6に最も良く示されるように、スピンドル24の先端部にはマウンター28が固定されており、このマウンター28には研削ホイール30がねじ止めされている。例えば、研削ホイール30はホイール基台32の自由端部に粒径0.3〜1.0μmのダイヤモンド砥粒をビトリファイドボンドで固めた複数の研削砥石34が固着されて構成されている。よって、研削面は鏡面となる。
研削手段(研削ユニット)16にはホース36を介して研削水が供給される。好ましくは、研削水としては純水が使用される。図6に示すように、ホース36から供給された研削水が、スピンドル24に形成された研削水供給穴38、マウンター28に形成された空間40及び研削ホイール30のホイール基台32に形成された複数の研削水供給ノズル42を介して研削砥石34及びチャックテーブル54に保持されたウエーハ11に供給される。
図3を再び参照すると、研削装置2は、研削ユニット16を一対の案内レール12,14に沿って上下方向に移動する研削ユニット送り機構44を備えている。研削ユニット送り機構44は、ボールねじ46と、ボールねじ46の一端部に固定されたパルスモータ48から構成される。パルスモータ48をパルス駆動すると、ボールねじ46が回転し、移動基台18の内部に固定されたボールねじ46のナットを介して移動基台18が上下方向に移動される。
水平ハウジング部分6の凹部10には、チャックテーブルユニット50が配設されている。チャックテーブルユニット50は、図4に示すように、支持基台52と、支持基台52に回転自在に配設されたチャックテーブル54を含んでいる。チャックテーブルユニット50は更に、チャックテーブル54を挿通する穴を有したカバー56を備えている。
チャックテーブルユニット50は、チャックテーブル移動機構58により研削装置2の前後方向に移動される。チャックテーブル移動機構58は、ボールねじ60と、ボールねじ60のねじ軸62の一端に連結されたパルスモータ64から構成される。
パルスモータ64をパルス駆動すると、ボールねじ60のねじ軸62が回転し、このねじ軸62に螺合したナットを有する支持基台52が研削装置2の前後方向に移動する。よって、チャックテーブル54もパルスモータ64の回転方向に応じて、前後方向に移動する。
図3に示されているように、図4に示した一対のガイドレール66,68及びチャックテーブル移動機構58は蛇腹70,72により覆われている。すなわち、蛇腹70の前端部は凹部10を画成する前壁に固定され、後端部がカバー56の前端面に固定されている。また、蛇腹72の後端は垂直ハウジング部分8に固定され、その前端はカバー56の後端面に固定されている。
ハウジング4の水平ハウジング部分6には、第1のウエーハカセット74と、第2のウエーハカセット76と、ウエーハ搬送手段78と、ウエーハ仮載置手段80と、ウエーハ搬入手段82と、ウエーハ搬出手段84と、洗浄手段86が配設されている。更に、ハウジング4の前方にはオペレータが研削条件等を入力する操作手段88及びモニター89が設けられている。
また、水平ハウジング部分6の概略中央部には、チャックテーブル54を洗浄する洗浄水噴射ノズル90が設けられている。この洗浄水噴射ノズル90は、チャックテーブルユニット54がウエーハ搬入・搬出領域に位置づけられた状態において、チャックテーブル54に保持された研削加工後のウエーハに向けて洗浄水を噴出する。
チャックテーブルユニット50は、チャックテーブル移動機構58のパルスモータ64をパルス駆動することにより、図3に示した装置奥側の研削領域と、ウエーハ搬入手段82からウエーハを受け取りウエーハ搬出手段84にウエーハを受け渡す手前側のウエーハ搬入・搬出領域との間で移動される。
ウエーハ搬入・搬出領域(ウエーハ着脱領域)の上方にはスクラッチ検出装置94が配設されている。代替案として、スクラッチ検出装置94を研削領域の上方に配設するようにしても良い。
スクラッチ検出装置94は、図7に示すように、ハウジング96と、ハウジング96の先端部に取り付けられたレーザーダイオード(LD)98と、ウエーハ11で散乱された反射光をコリメートビームにする対物レンズ100と、コリメートビームを分岐するビームスプリッタ102とを含んでいる。
スクラッチ検出装置94は更に、ビームスプリッタ102で反射されたコリメートビームを集光する集光レンズ104と、集光レンズ104の焦点位置にスリット105が位置付けられたスリットマスク106と、受光素子108と、受光素子108に接続されたスクラッチ判定部110を含んでいる。
スクラッチ検出装置94は更に、ビームスプリッタ102を透過したコリメートビームを集光する集光レンズ132と、CCDカメラ等の撮像手段134を含んでいる。撮像手段134で撮像された画像は、モニター89上に表示される。
スクラッチ検出装置94のハウジング96の下端近傍には隔壁136が設けられており、ハウジング96の先端部分と隔壁96及びチャックテーブル54に保持されたウエーハ11との間に水充填室138が画成されている。
管路140の一端140aは水源142に接続され、他端140bは水充填室138に開口している。144は切替弁、146は水圧計である。ハウジング96の先端とウエーハ11との間の間隔は約0.5〜1mmに維持するのが好ましい。
LD98からウエーハ11に対して傾斜して出射されたレーザビームが、対物レンズ100直下のウエーハ11に照射されるようにLD98がハウジング96に取り付けられている。図示の実施形態では、2個のLD98が設けられているが、LD98は1個でも又は3個以上配設するようにしても良い。
図8に示すように、ウエーハ11の裏面研削中に形成されるスクラッチ148は半径方向に長く伸長して形成される場合が多い。150はLD98で光ビームが照射される測定位置である。
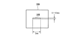
よって、本実施形態のスクラッチ検出装置94におけるスリットマスク106のスリット105はスクラッチが形成される方向に倣った方向、即ち紙面に垂直な方向に伸長している。図9に示すように、スリットマスク106のスリット105はその幅が0.1〜0.3mmで長さが2mm程度が好ましい。
受光素子108も、スクラッチが形成される方向に倣った形状に構成されるのが好ましい。受光素子108としては、例えば光電子増倍管を使用するのが好ましい。受光手段を構成する他の実施形態としては、スリットマスク106が設けられた位置にラインセンサを配置するようにしても良い。この場合には、受光素子108は省略され、ラインセンサはスクラッチが形成される方向に倣った方向に伸長しており、ラインセンサからの出力信号がスクラッチ判定部110に入力される。
このように構成された研削装置2の研削作業について以下に説明する。第1のウエーハカセット74中に収容されるウエーハは、保護テープが表面側(回路が形成されている側の面)に装着された半導体ウエーハであり、従ってウエーハは裏面が上側に位置する状態で第1のカセット74中に収容されている。このように複数の半導体ウエーハを収容した第1のウエーハカセット74は、ハウジング4の所定のカセットを搬入領域に載置される。
そして、カセット搬入領域に載置された第1のウエーハカセット74に収容されていた研削加工前の半導体ウエーハが全て搬出されると、空のウエーハカセット74に変えて複数個の半導体ウエーハを収容した新しい第1のウエーハカセット74が手動でカセット搬入領域に載置される。
一方、ハウジング4の所定のカセット搬出領域に載置された第2のウエーハカセット76に所定枚数の研削加工後の半導体ウエーハが搬入されると、かかる第2のウエーハカセット76は手動で搬出されて、新しい空の第2のウエーハカセット76がカセット搬出領域に載置される。
第1のウエーハカセット74に収容された半導体ウエーハは、ウエーハ搬送手段78の上下動作及び進退動作により搬送され、ウエーハ仮載置手段80に載置される。ウエーハ仮載置手段80に載置されたウエーハは、ここで中心合わせが行われた後にウエーハ搬入手段82の旋回動作によって、ウエーハ搬入・搬出領域に位置せしめられているチャックテーブルユニット50のチャックテーブル54に載置され、チャックテーブル54によって吸引保持される。
このようにチャックテーブル54がウエーハを吸引保持したならば、チャックテーブル移動機構58を作動して、チャックテーブルユニット54を移動して装置後方の研削領域に位置づける。
チャックテーブルユニット50が研削領域に位置づけられると、チャックテーブル54に保持されたウエーハの中心が研削ホイール30の外周円を僅かに超えた位置に位置づけられる。
次に、チャックテーブル54を例えば100〜300rpm程度で回転し、サーボモータ26を駆動して研削ホイール30を4000〜7000rpmで回転するとともに、研削ユニット送り機構44のパルスモータ48を正転駆動して研削ユニット16を下降させる。
そして、図6に示すように、研削ホイール30の研削砥石34をチャックテーブル54上のウエーハ11の裏面(被研削面)に所定の荷重で押圧することにより、ウエーハ11の裏面が研削される。このようにして所定時間研削することにより、ウエーハ11が所定の厚さに研削される。
研削が終了すると、チャックテーブル移動機構58を駆動してチャックテーブル54を装置手前側のウエーハ搬入・搬出領域に位置付ける。チャックテーブル54がウエーハ搬入・搬出領域に位置付けられたならば、洗浄水噴射ノズル90から洗浄水を噴射して、チャックテーブル54に保持されている研削加工されたウエーハ11の被研削面(裏面)を洗浄する。
このようにウエーハ11の被研削面(裏面)を洗浄した後、チャックテーブル54を回転しながらLD98を駆動してスクラッチ検出装置94で被研削面のスクラッチを検出する。
本実施形態のスクラッチ検出装置94でウエーハ11に形成されたスクラッチの検出を行うには、まず、水源142から水充填室138に水を供給し、水充填室138を水で充満する。
ウエーハ11とハウジング96の先端との間には僅かな隙間があるため、この隙間から流れ出た水を常に補給するために水源142から常に一定量の水を水充填室138に供給する。
ウエーハ11の研削は研削水を供給しながら実施されるため、研削を実行するとウエーハ11の研削面は汚染されるが、本実施形態では常に水充填室138内に水を満たしながらスクラッチの検出を行うため、水充填室138内に充填された水はあまり汚染されていない綺麗な水である。
ウエーハ11に対して傾斜してレーザビームが照射されると、ウエーハ11の研削面は鏡面となっているため、ほとんどの反射光は鏡面加工されたウエーハ11により正反射されて対物レンズ100に入らないが、スクラッチで散乱した散乱光が符号112で示すように対物レンズ100に入射し、対物レンズ100でコリメートビームに変換される。
このコリメートビームはビームスプリッタ102により2つのビームに分岐される。ビームスプリッタ102で反射されたコリメートビームは集光レンズ104により集光されて、スリットマスク106のスリット105を通して受光素子108に入力され、入力された光量に応じて電流値に変換されてスクラッチ判定部110に出力される。
スクラッチ判定部110では、図10に示すように、この散乱光はバックグラウンド電流114として検出される。LD98から出射されたレーザビームがスクラッチを検出すると、レーザビームはスクラッチにより大きく散乱されて対物レンズ100に入力される。
よって、スクラッチ判定部110では、スパイク電流118,120として検出される。116はスクラッチ有り無しを判定するための所定の閾値であり、これより電流値が大きい場合にはスクラッチ有りと判定し、小さい場合にはスクラッチ無しと判定する。
スクラッチ判定部110でブロック122に示すようにスクラッチ無しと判定されると、ブロック124に示すウエーハ洗浄工程を遂行する。すなわち、チャックテーブル54に保持されているウエーハの吸引保持が解除されてから、ウエーハはウエーハ搬出手段84により洗浄手段86に搬送される。
洗浄手段86に搬送されたウエーハは、ここで洗浄されると共にスピン乾燥される。次いで、ウエーハがウエーハ搬送手段78により第2のウエーハカセット76の所定位置に収納される。
スクラッチ判定部110でブロック126で示すようにスクラッチ有りと判定された場合には、ブロック128のスクラッチ除去研削工程を実施する。すなわち、チャックテーブル移動機構58を駆動してチャックテーブル54を再度研削領域に位置付け、研削ホイール30による約1μm研削を実施する。
研削が終了したウエーハは、チャックテーブル移動機構58により再度ウエーハ搬入・搬出領域に位置付けられて、ブロック130のスクラッチ検出工程が実施される。すなわち、チャックテーブル54によりウエーハ11を回転させながらLD98からレーザビームをウエーハ11に照射して、スクラッチ判定部110でスクラッチの有り無しを再度判定する。そして、最終的にスクラッチ無しと判定された場合に、ブロック124のウエーハ洗浄工程を実施する。
図7を再び参照すると、ビームスプリッタ102を透過したコリメートビームは集光レンズ132により集光されてCCDカメラ等の撮像手段134に入力される。撮像手段134で撮像されたスクラッチ152はモニター89上に表示され、研削装置2のオペレータはモニター89上のスクラッチ152を観察してスクラッチ判定部110の閾値116を好ましい値に設定する。
上述した本実施形態によると、スクラッチの方向に倣うようにスリットマスク106及び受光素子108からなる受光部を有するスクラッチ検出装置94を設けたので、ウエーハの研削面からスクラッチを直ちに検出でき、スクラッチが有る場合は研削を続行し、又はスクラッチ除去研削を遂行してスクラッチの無いウエーハを次工程に搬送するようにしたので、スクラッチのないウエーハを効率良く生産することができる。
半導体ウエーハの表面側斜視図である。 保護テープが貼着された半導体ウエーハの裏面側斜視図である。 本発明実施形態に係る研削装置の外観斜視図である。 チャックテーブルユニット及びチャックテーブル送り機構の斜視図である。 下側から見た研削ホイールの斜視図である。 研削ホイールの縦断面図である。 本発明実施形態に係るスクラッチ検出装置の縦断面図である。 ウエーハに形成されたスクラッチを説明する説明図である。 スリットマスクの寸法説明図である。 本発明実施形態のスクラッチ判定部及びスクラッチ判定後の工程を示すブロック図である。
符号の説明
2 研削装置
11 半導体ウエーハ
16 研削手段(研削ユニット)
24 スピンドル
26 サーボモータ
30 研削ホイール
34 研削砥石
54 チャックテーブル
94 スクラッチ検出装置
98 レーザーダイオード(LD)
100 対物レンズ
102 ビームスプリッタ
104,132 集光レンズ
106 スリットマスク
108 受光素子
110 スクラッチ判定部
134 撮像手段
138 水充填室
152 スクラッチ

Claims (8)

  1. ウエーハを保持するチャックテーブルと、該チャックテーブルに保持されたウエーハを研削する研削ホイールを有する研削手段とを備えた研削装置であって、
    ウエーハの研削面に生じるスクラッチを検出するスクラッチ検出手段を更に具備し、
    該スクラッチ検出手段は、ウエーハに対して光ビームを照射する光ビーム照射手段と、光ビームが照射される領域からの反射光を集光する集光手段と、該集光手段で集光された反射光を受光する受光手段と、該受光手段で検出される光量が所定の閾値を越えた際スクラッチ有りと判定する判定手段とを含み、
    該受光手段はスクラッチが形成される方向に倣った形状に構成されていることを特徴とする研削装置。
  2. 前記集光手段と前記受光手段との間に配設されたビームスプリッタと、
    該ビームスプリッタにより一方に分岐された反射光が入射する撮像手段と、
    該撮像手段に接続されたモニターとを更に具備し、
    該ビームスプリッタで分岐した他方の反射光は前記受光手段に導かれ、前記モニター上のスクラッチを観察して前記スクラッチ判定手段の前記閾値を設定可能であることを特徴とする請求項1記載の研削装置。
  3. 前記受光手段はラインセンサから構成され、該ラインセンサはスクラッチが形成される方向に倣った形状で位置付けられていることを特徴とする請求項1又は2記載の研削装置。
  4. 前記受光手段はスリットが形成されたスリットマスクと、受光素子とから構成され、
    該スリットマスクのスリットはスクラッチが形成される方向に倣った形状で位置付けられていることを特徴とする請求項1又は2記載の研削装置。
  5. 前記受光素子は光電子増倍管であることを特徴とする請求項4記載の研削装置。
  6. 前記チャックテーブは、ウエーハを着脱する着脱位置と、ウエーハを前記研削手段で研削する研削位置との間で移動可能であり、
    前記スクラッチ検出手段は該着脱位置又は該研削位置の何れかに配設されていることを特徴とする請求項1〜5の何れかに記載の研削装置。
  7. 前記集光手段を囲繞しウエーハ側に開放した枠体と、該枠体内に水を供給する水供給手段とを更に具備し、
    該枠体とウエーハとで仕切られる空間が水で満たされていることを特徴とする請求項1〜6の何れかに記載の研削装置。
  8. チャックテーブルに保持されたウエーハの研削面に生じるスクラッチを検出するスクラッチ検出装置であって、
    該ウエーハに対して光ビームを照射する光ビーム照射手段と、
    光ビームが照射される領域からの反射光を集光する集光手段と、
    該集光手段で集光された反射光を受光する受光手段と、
    該受光手段で検出される光量が所定の閾値を超えた際スクラッチ有りと判定するスクラッチ判定手段とを具備し、
    該受光手段は、スクラッチが形成される方向に倣った形状に構成されていることを特徴とするスクラッチ検出装置。
JP2008178966A 2008-07-09 2008-07-09 研削装置及びスクラッチ検出装置 Active JP5274919B2 (ja)

Priority Applications (1)

Application Number Priority Date Filing Date Title
JP2008178966A JP5274919B2 (ja) 2008-07-09 2008-07-09 研削装置及びスクラッチ検出装置

Applications Claiming Priority (1)

Application Number Priority Date Filing Date Title
JP2008178966A JP5274919B2 (ja) 2008-07-09 2008-07-09 研削装置及びスクラッチ検出装置

Publications (2)

Publication Number Publication Date
JP2010017792A true JP2010017792A (ja) 2010-01-28
JP5274919B2 JP5274919B2 (ja) 2013-08-28

Family

ID=41703173

Family Applications (1)

Application Number Title Priority Date Filing Date
JP2008178966A Active JP5274919B2 (ja) 2008-07-09 2008-07-09 研削装置及びスクラッチ検出装置

Country Status (1)

Country Link
JP (1) JP5274919B2 (ja)

Cited By (5)

* Cited by examiner, † Cited by third party
Publication number Priority date Publication date Assignee Title
JP2017106816A (ja) * 2015-12-10 2017-06-15 株式会社ディスコ 検査装置
CN108000348A (zh) * 2016-11-01 2018-05-08 株式会社迪思科 划痕检测方法
KR20180099490A (ko) 2017-02-28 2018-09-05 가부시기가이샤 디스코 피가공물의 검사 방법, 피가공물의 검사 장치 및 가공 장치
TWI720254B (zh) * 2016-11-01 2021-03-01 日商迪思科股份有限公司 磨削裝置
CN120102353A (zh) * 2025-05-09 2025-06-06 四川领先微晶玻璃有限公司 一种电磁炉微晶玻璃多功能涂层完整性检测系统

Citations (6)

* Cited by examiner, † Cited by third party
Publication number Priority date Publication date Assignee Title
JPS6242039A (ja) * 1985-08-19 1987-02-24 Toshiba Corp 表面検査装置
JP2000180426A (ja) * 1998-12-15 2000-06-30 Mitsubishi Heavy Ind Ltd オンラインロール表面傷検査方法及びその装置
JP2001264262A (ja) * 2000-03-14 2001-09-26 Nikon Corp 表面異物検査方法および表面異物検査装置
JP2004330375A (ja) * 2003-05-09 2004-11-25 Plenty:Kk ディスク記憶媒体研磨装置
JP2005244027A (ja) * 2004-02-27 2005-09-08 Renesas Technology Corp 半導体ウエハの研磨状態識別装置、半導体ウエハの研磨装置、および半導体ウエハの研磨方法
JP2007240512A (ja) * 2006-02-08 2007-09-20 Hitachi High-Technologies Corp ウェハ表面欠陥検査装置およびその方法

Patent Citations (6)

* Cited by examiner, † Cited by third party
Publication number Priority date Publication date Assignee Title
JPS6242039A (ja) * 1985-08-19 1987-02-24 Toshiba Corp 表面検査装置
JP2000180426A (ja) * 1998-12-15 2000-06-30 Mitsubishi Heavy Ind Ltd オンラインロール表面傷検査方法及びその装置
JP2001264262A (ja) * 2000-03-14 2001-09-26 Nikon Corp 表面異物検査方法および表面異物検査装置
JP2004330375A (ja) * 2003-05-09 2004-11-25 Plenty:Kk ディスク記憶媒体研磨装置
JP2005244027A (ja) * 2004-02-27 2005-09-08 Renesas Technology Corp 半導体ウエハの研磨状態識別装置、半導体ウエハの研磨装置、および半導体ウエハの研磨方法
JP2007240512A (ja) * 2006-02-08 2007-09-20 Hitachi High-Technologies Corp ウェハ表面欠陥検査装置およびその方法

Cited By (7)

* Cited by examiner, † Cited by third party
Publication number Priority date Publication date Assignee Title
JP2017106816A (ja) * 2015-12-10 2017-06-15 株式会社ディスコ 検査装置
TWI715662B (zh) * 2015-12-10 2021-01-11 日商迪思科股份有限公司 檢查裝置
CN108000348A (zh) * 2016-11-01 2018-05-08 株式会社迪思科 划痕检测方法
TWI720254B (zh) * 2016-11-01 2021-03-01 日商迪思科股份有限公司 磨削裝置
CN108000348B (zh) * 2016-11-01 2021-05-25 株式会社迪思科 划痕检测方法
KR20180099490A (ko) 2017-02-28 2018-09-05 가부시기가이샤 디스코 피가공물의 검사 방법, 피가공물의 검사 장치 및 가공 장치
CN120102353A (zh) * 2025-05-09 2025-06-06 四川领先微晶玻璃有限公司 一种电磁炉微晶玻璃多功能涂层完整性检测系统

Also Published As

Publication number Publication date
JP5274919B2 (ja) 2013-08-28

Similar Documents

Publication Publication Date Title
CN101383281B (zh) 晶片磨削方法及磨削装置
KR102601856B1 (ko) 웨이퍼 가공 방법
JP2010030007A (ja) 研削装置及びスクラッチ検出装置
JP5184242B2 (ja) 半導体ウエーハの加工装置
JP2002343756A (ja) ウェーハ平面加工装置
JP5274919B2 (ja) 研削装置及びスクラッチ検出装置
JP5101312B2 (ja) 厚み計測装置及び該厚み計測装置を備えた研削装置
JP6905357B2 (ja) ウエーハのうねり検出方法及び研削装置
TWI783054B (zh) 磨削裝置
JP2018140469A (ja) 被加工物の検査方法、被加工物の検査装置及び加工装置
JP5065722B2 (ja) レーザー加工装置
JP7325913B2 (ja) ウェーハ加工装置
JP2011108746A (ja) ウエーハの加工方法
US11673229B2 (en) Processing apparatus
JP2008155292A (ja) 基板の加工方法および加工装置
KR101739975B1 (ko) 웨이퍼 지지 플레이트 및 웨이퍼 지지 플레이트의 사용 방법
JP2009095903A (ja) 研削装置及びスクラッチ検出装置
JP2009135254A (ja) 粘着テープ貼着方法
JP7370265B2 (ja) 加工方法及び加工装置
JP5225733B2 (ja) 研削装置
JP5037255B2 (ja) 研削装置及び研削装置の観察方法
JP2014154708A (ja) ウエーハの割れ検出方法及びウエーハの割れ検出装置
JP2019000933A (ja) 研削装置
JP6767849B2 (ja) ウエーハ加工装置及びウエーハの加工方法
JP4666583B2 (ja) 保護被膜の被覆方法

Legal Events

Date Code Title Description
A621 Written request for application examination

Free format text: JAPANESE INTERMEDIATE CODE: A621

Effective date: 20110620

A977 Report on retrieval

Free format text: JAPANESE INTERMEDIATE CODE: A971007

Effective date: 20130228

A131 Notification of reasons for refusal

Free format text: JAPANESE INTERMEDIATE CODE: A131

Effective date: 20130305

A521 Request for written amendment filed

Free format text: JAPANESE INTERMEDIATE CODE: A523

Effective date: 20130418

TRDD Decision of grant or rejection written
A01 Written decision to grant a patent or to grant a registration (utility model)

Free format text: JAPANESE INTERMEDIATE CODE: A01

Effective date: 20130514

A61 First payment of annual fees (during grant procedure)

Free format text: JAPANESE INTERMEDIATE CODE: A61

Effective date: 20130515

R150 Certificate of patent or registration of utility model

Free format text: JAPANESE INTERMEDIATE CODE: R150

Ref document number: 5274919

Country of ref document: JP

Free format text: JAPANESE INTERMEDIATE CODE: R150

R250 Receipt of annual fees

Free format text: JAPANESE INTERMEDIATE CODE: R250

R250 Receipt of annual fees

Free format text: JAPANESE INTERMEDIATE CODE: R250

R250 Receipt of annual fees

Free format text: JAPANESE INTERMEDIATE CODE: R250

R250 Receipt of annual fees

Free format text: JAPANESE INTERMEDIATE CODE: R250

R250 Receipt of annual fees

Free format text: JAPANESE INTERMEDIATE CODE: R250

R250 Receipt of annual fees

Free format text: JAPANESE INTERMEDIATE CODE: R250

R250 Receipt of annual fees

Free format text: JAPANESE INTERMEDIATE CODE: R250

R250 Receipt of annual fees

Free format text: JAPANESE INTERMEDIATE CODE: R250

R250 Receipt of annual fees

Free format text: JAPANESE INTERMEDIATE CODE: R250

R250 Receipt of annual fees

Free format text: JAPANESE INTERMEDIATE CODE: R250