JP2010017283A - ベッド用シーツ - Google Patents

ベッド用シーツ Download PDF

Info

Publication number
JP2010017283A
JP2010017283A JP2008178929A JP2008178929A JP2010017283A JP 2010017283 A JP2010017283 A JP 2010017283A JP 2008178929 A JP2008178929 A JP 2008178929A JP 2008178929 A JP2008178929 A JP 2008178929A JP 2010017283 A JP2010017283 A JP 2010017283A
Authority
JP
Japan
Prior art keywords
bed
bag portion
fastening member
stretchable fastening
bed sheet
Prior art date
Legal status (The legal status is an assumption and is not a legal conclusion. Google has not performed a legal analysis and makes no representation as to the accuracy of the status listed.)
Granted
Application number
JP2008178929A
Other languages
English (en)
Other versions
JP4774083B2 (ja
Inventor
Harujiro Miyashita
治二郎 宮下
Current Assignee (The listed assignees may be inaccurate. Google has not performed a legal analysis and makes no representation or warranty as to the accuracy of the list.)
SANMOTO KK
Original Assignee
SANMOTO KK
Priority date (The priority date is an assumption and is not a legal conclusion. Google has not performed a legal analysis and makes no representation as to the accuracy of the date listed.)
Filing date
Publication date
Application filed by SANMOTO KK filed Critical SANMOTO KK
Priority to JP2008178929A priority Critical patent/JP4774083B2/ja
Publication of JP2010017283A publication Critical patent/JP2010017283A/ja
Application granted granted Critical
Publication of JP4774083B2 publication Critical patent/JP4774083B2/ja
Expired - Fee Related legal-status Critical Current
Anticipated expiration legal-status Critical

Links

Images

Landscapes

  • Bedding Items (AREA)

Abstract

【課題】就寝時にずれたり皺になることなく、ベッド用マットレスに装着することのできるベッド用シーツを得る。
【解決手段】ベッド用マットレスに被せるためのベッド用シーツ。ベッド用マットレスの裏面側に位置する開口縁部21の全周にわたって紐通し用袋部22が形成されており、該紐通し用袋部22には伸縮性締付け部材31と非伸縮性締付け部材32,33とが挿通されている。紐通し用袋部22の対角線上の2箇所には開口部23a,23bが形成されており、非伸縮性締付け部材32,33の両端が該開口部23a,23bから外部に引き出されている。
【選択図】図2

Description

本発明は、ベッド用シーツ、特に、ベッド用マットレスに被せるためのベッド用シーツに関する。
従来、ベッド用シーツとしては、例えば、特許文献1に記載されているように、ボックスタイプであって、ベッド用マットレスに被せ、該マットレスの裏面側に位置する開口縁部の全周に設けたゴム紐によって締め付けていた。
しかしながら、ベッド用シーツの縁部をゴム紐によって締め付けるだけでは、締付け力が弱く、就寝時に背中が当たる部分が皺になったり、ずれたりし、寝心地が悪いという問題点を有していた。
特開平10-286160号公報
そこで、本発明の目的は、就寝時にずれたり皺になることなく、ベッド用マットレスに装着することのできるベッド用シーツを提供することにある。
以上の目的を達成するため、本発明は、
ベッド用マットレスに被せるためのベッド用シーツであって、
ベッド用マットレスの裏面側に位置する開口縁部の全周にわたって紐通し用袋部が形成されており、
前記紐通し用袋部には伸縮性締付け部材と非伸縮性締付け部材とが挿通されており、
前記紐通し用袋部の少なくとも1箇所には開口部が形成されており、
前記非伸縮性締付け部材の両端が前記開口部から外部に引き出されていること、
を特徴とする。
本発明に係るベッド用シーツは、シーツの開口縁部の全周にわたって設けた非伸縮性締付け部材の両端を締結することによって、ベッド用マットレスにずれたりすることなくピンと張った状態で装着される。即ち、シーツの開口縁部の全周にわたって設けた伸縮性締付け部材によってベッド用マットレスに作業性よく装着することができ、しかも、非伸縮性締付け部材の両端を締結することでずれを防止することができ、寝心地が格段に向上する。また、シーツがピンと張られており、見た目に奇麗で高級感が醸し出される。
本発明に係るベッド用シーツにおいて、前記非伸縮性締付け部材の両端を締結するための締結具を備えていてもよい。
前記紐通し用袋部は1重に形成され、該紐通し用袋部に伸縮性締付け部材及び非伸縮性締付け部材が隣接して挿通されていてもよい。あるいは、前記紐通し用袋部は2重に形成され、それぞれの紐通し用袋部に伸縮性締付け部材及び非伸縮性締付け部材が単独に挿通されていてもよい。
以下、本発明に係るベッド用シーツの実施例について、添付図面を参照して説明する。
図1に、本発明に係るベッド用シーツの一実施例を備えたベッドを示す。このベッドは、ベッド本体10と、ベッド用マットレス15と、ベッド用シーツ20とで構成されている。ベッド本体10とベッド用マットレス15とは、いずれも従来から周知のものである。
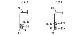
ベッド用シーツ20は、布地をボックスタイプに縫製したもので、その全体構成を図2に拡大して示し、縁部の詳細を図3に拡大して示す。開口縁部21は、ベッド用マットレス15に装着した際に該マットレス15の裏面側に位置する部分である。開口縁部21にはその全周にわたって紐通し用袋部22が形成されている。この紐通し用袋部22は、第1例としては、図3(A)に示すように、1重に形成されている。
前記紐通し用袋部22には、1本の無端状とされた伸縮性締付け部材31(例えば、ゴム紐)と、2本の非伸縮性締付け部材32,33(例えば、伸縮力の小さい紐)とが、隣接して挿通されている。
さらに、紐通し用袋部22には対角線上の2箇所に開口部23a,23bが形成されている。2本の非伸縮性締付け部材32,33は、それぞれ、開口部23a,23bから互いに対向する対角線上の隅部20a,20bを回り込んで紐通し用袋部22に挿通されている。そして、2本の非伸縮性締付け部材32,33の両端は開口部23a,23bから外部に引き出されている。
以上の構成からなるベッド用シーツ20は、通常のシーツと同様に、伸縮性締付け部材31の弾性を利用して、ベッド用マットレス15に被せる。その後、非伸縮性締付け部材32,33の開口部23a,23bから引き出されているそれぞれの両端を締結する。非伸縮性締付け部材32,33は緩むことがなく、これにて、シーツ20がピンと張られ、就寝することで背中が当たる部分がずれたり、皺になることがなく、寝心地が格段に向上する。また、シーツ20がピンと張られているので、見た目に奇麗で高級感が醸し出される。
非伸縮性締付け部材32,33の両端を締結するには、図4に示すように、二つの穴41,41を形成した締結具40を用いてもよい。この締結具40は、周知のもので、非伸縮性締付け部材32,33の両端を穴41,41にそれぞれ挿通させることで、摩擦力により締結する。勿論、この締結具40以外の種々の締結具を用いることができる。
また、図3(B)に示すように、ベッド用シーツ20の開口縁部21に、紐通し用袋部22a,22bを2重に形成し、袋部22aには伸縮性締付け部材31を挿通し、袋部22bには非伸縮性締付け部材32,33を挿通するようにしてもよい。この場合、袋部22bには非伸縮性締付け部材32,33の両端を引き出すための開口部が形成されていることは勿論である。
なお、本発明に係るベッド用シーツは前記実施例に限定するものではなく、その要旨の範囲内で種々に変更することができる。
本発明に係るベッド用シーツの一実施例を備えたベッドを示す分解斜視図であり、ベッド用シーツのみ下方から見た状態で描かれている。 ベッド用シーツの拡大斜視図である。 (A),(B)それぞれベッド用シーツの開口縁部を示す拡大断面図である。 非伸縮性締付け部材の締結具を示す斜視図である。
符号の説明
10…ベッド本体
15…ベッド用マットレス
20…ベッド用シーツ
21…開口縁部
22…紐通し用袋部
23a,23b…開口部
31…伸縮性締付け部材
32,33…非伸縮性締付け部材
40…締結具

Claims (5)

  1. ベッド用マットレスに被せるためのベッド用シーツであって、
    ベッド用マットレスの裏面側に位置する開口縁部の全周にわたって紐通し用袋部が形成されており、
    前記紐通し用袋部には伸縮性締付け部材と非伸縮性締付け部材とが挿通されており、
    前記紐通し用袋部の少なくとも1箇所には開口部が形成されており、
    前記非伸縮性締付け部材の両端が前記開口部から外部に引き出されていること、
    を特徴とするベッド用シーツ。
  2. 前記開口部は前記紐通し用袋部の対角線上に2箇所に形成されており、
    第1及び第2の非伸縮性締付け部材が、それぞれ、2箇所の開口部から互いに対向する対角線上の隅部を回り込んで紐通し用袋部に挿通されていること、
    を特徴とする請求項1に記載のベッド用シーツ。
  3. 前記非伸縮性締付け部材の両端を締結するための締結具を備えたことを特徴とする請求項1又は請求項2に記載のベッド用シーツ。
  4. 前記紐通し用袋部は1重に形成され、該紐通し用袋部に前記伸縮性締付け部材及び前記非伸縮性締付け部材が隣接して挿通されていること、を特徴とする請求項1、請求項2又は請求項3に記載のベッド用シーツ。
  5. 前記紐通し用袋部は2重に形成され、それぞれの紐通し用袋部に前記伸縮性締付け部材及び前記非伸縮性締付け部材が単独に挿通されていること、を特徴とする請求項1、請求項2又は請求項3に記載のベッド用シーツ。
JP2008178929A 2008-07-09 2008-07-09 ベッド用シーツ Expired - Fee Related JP4774083B2 (ja)

Priority Applications (1)

Application Number Priority Date Filing Date Title
JP2008178929A JP4774083B2 (ja) 2008-07-09 2008-07-09 ベッド用シーツ

Applications Claiming Priority (1)

Application Number Priority Date Filing Date Title
JP2008178929A JP4774083B2 (ja) 2008-07-09 2008-07-09 ベッド用シーツ

Publications (2)

Publication Number Publication Date
JP2010017283A true JP2010017283A (ja) 2010-01-28
JP4774083B2 JP4774083B2 (ja) 2011-09-14

Family

ID=41702764

Family Applications (1)

Application Number Title Priority Date Filing Date
JP2008178929A Expired - Fee Related JP4774083B2 (ja) 2008-07-09 2008-07-09 ベッド用シーツ

Country Status (1)

Country Link
JP (1) JP4774083B2 (ja)

Also Published As

Publication number Publication date
JP4774083B2 (ja) 2011-09-14

Similar Documents

Publication Publication Date Title
US8302224B2 (en) Bed covering
US9545164B2 (en) System for securing a mattress cover
US20220322851A1 (en) Expandable fitted bed sheet
US10959548B2 (en) Fitted mattress covering
CN111109926A (zh) 一种无床板面料覆盖电动床
JP4774083B2 (ja) ベッド用シーツ
US20090317600A1 (en) Elastic fabric cushion structure
JP2010142552A (ja) 椅子背もたれ及び座
JP2002325668A (ja) 布団カバー
JP2010017288A (ja) ベッド用シーツ
CN219813738U (zh) 床罩及带有该床罩的充气床
JP5192513B2 (ja) 布団および布団収納袋
JP2007039837A (ja) インナーベルトとこれを用いたズボン
JP3099225U (ja) 枕カバー
JP5001422B2 (ja) 寝具のずれ防止装置
CN116058636A (zh) 床罩及带有该床罩的充气床
JP3161117U (ja) クッション
JP3137608U (ja) 自転車用サドルカバー
JP3155577U (ja) 寝具類カバー
JP3137914U (ja) ベッド専用弾褥体
JP3221420U (ja) 椅子のシートクッション及び背もたれ
JP3210550U (ja) 一体型着物用帯板
JP3093484U (ja) ずれない椅子のカバー
JP5141274B2 (ja) ネットシート
JP4177449B1 (ja) 寝具カバー

Legal Events

Date Code Title Description
A977 Report on retrieval

Free format text: JAPANESE INTERMEDIATE CODE: A971007

Effective date: 20110526

A01 Written decision to grant a patent or to grant a registration (utility model)

Free format text: JAPANESE INTERMEDIATE CODE: A01

Effective date: 20110607

A01 Written decision to grant a patent or to grant a registration (utility model)

Free format text: JAPANESE INTERMEDIATE CODE: A01

A61 First payment of annual fees (during grant procedure)

Free format text: JAPANESE INTERMEDIATE CODE: A61

Effective date: 20110624

FPAY Renewal fee payment (prs date is renewal date of database)

Free format text: PAYMENT UNTIL: 20140701

Year of fee payment: 3

R150 Certificate of patent (=grant) or registration of utility model

Free format text: JAPANESE INTERMEDIATE CODE: R150

LAPS Cancellation because of no payment of annual fees