JP2010017238A - 棚用支柱 - Google Patents

棚用支柱 Download PDF

Info

Publication number
JP2010017238A
JP2010017238A JP2008178085A JP2008178085A JP2010017238A JP 2010017238 A JP2010017238 A JP 2010017238A JP 2008178085 A JP2008178085 A JP 2008178085A JP 2008178085 A JP2008178085 A JP 2008178085A JP 2010017238 A JP2010017238 A JP 2010017238A
Authority
JP
Japan
Prior art keywords
main body
locking
shelf
extension
locking hole
Prior art date
Legal status (The legal status is an assumption and is not a legal conclusion. Google has not performed a legal analysis and makes no representation as to the accuracy of the status listed.)
Granted
Application number
JP2008178085A
Other languages
English (en)
Other versions
JP5133800B2 (ja
Inventor
Tatsuya Komaki
達也 小牧
Current Assignee (The listed assignees may be inaccurate. Google has not performed a legal analysis and makes no representation or warranty as to the accuracy of the list.)
CI Kasei Co Ltd
Original Assignee
CI Kasei Co Ltd
Priority date (The priority date is an assumption and is not a legal conclusion. Google has not performed a legal analysis and makes no representation as to the accuracy of the date listed.)
Filing date
Publication date
Application filed by CI Kasei Co Ltd filed Critical CI Kasei Co Ltd
Priority to JP2008178085A priority Critical patent/JP5133800B2/ja
Publication of JP2010017238A publication Critical patent/JP2010017238A/ja
Application granted granted Critical
Publication of JP5133800B2 publication Critical patent/JP5133800B2/ja
Expired - Fee Related legal-status Critical Current
Anticipated expiration legal-status Critical

Links

Images

Landscapes

  • Display Racks (AREA)

Abstract

【課題】伸縮構造において使用不能となる係止孔を減らせる棚用支柱を得、棚調整機能の自由度を向上させる。
【解決手段】棚板支持具9の係止爪を受け入れ、この係止爪を下方へ落とし込んで係止する複数の係止孔23が上下方向に形成された棚用支柱100であって、筒状の本体部25と、この本体部25に摺動自在に嵌入する延長部27と、本体部25と延長部27の摺動を規制する固定手段とを備え、本体部25及び延長部27の係止孔23は等ピッチで形成し、延長部27の係止孔23bを、本体部25の係止孔23aより少なくとも落とし込み量分下方向に長く形成した。本体部25と延長部27の長手方向に直交する方向の断面形状は相似する矩形状で形成し、係止孔23は本体部25と延長部27の正面に形成する。延長部27の係止孔23bの横幅は、本体部25の係止孔23aの横幅より大きいことが好ましい。
【選択図】 図1

Description

本発明は、棚板支持具の係止爪を受け入れる複数の係止孔が上下方向に形成された棚用支柱に関し、特に伸縮構造における使用不能な係止孔をなくす改良技術に関する。
従来より、複数枚の棚板が多段状に取り付けられ、陳列商品の高さに合わせて各棚板が上下方向に付け替え自在となる商品陳列棚が知られている(例えば、特許文献1,2参照)。図7(a)に示すように、この種の商品陳列棚1は、背面板3の左右に一対の棚用支柱5,5が起立して設けられ、その表面に、棚板7を支持するための棚板支持具9を係止する複数の係止孔11を上下方向に設けている。
ところで、商品陳列棚1は、背面板3,棚板7、棚板支持具9、ベース部材13などの各構成部材が、同種部材ごとに個別梱包され、現場にてそれぞれを組み合わせる現場組立式の形態を採るのが一般的である。このため、運搬性を考慮して部材は分解可能な構造にて製作されることがある。例えば、これら部材中で最も長尺となる棚用支柱5は、通常、複数に分割され、異なる長さ5a,5b,5cのものを適宜接続して所望高さを得る。
従来、この棚用支柱5の接続部分(図7(a)中のA部分)は、図7(b)に示すように、例えば上段側の棚用支柱5bの下端からジョイント部15を突出し、このジョイント部15を下段の棚用支柱5aの上部開口17に嵌入することで行われていた。
特開平7−246139号公報 特開2002−153360号公報
しかしながら、上記した従来の棚用支柱5は、ジョイント部15を突出させるため、上段棚用支柱5bの最下部係止孔11aが、内部に固定するジョイント部15によって塞がれ、使用不能となった。また、下段棚用支柱5aの上部係止孔11bも、上方から嵌入するジョイント部15によって塞がれ、使用不能となった。このように、各接続部を挟み隣接する上下2つの係止孔11a,11bが使用不能となり(図例では1つの棚用支柱で合計6箇所)、棚調整機能の自由度、すなわち棚板7の取付位置に制約が生じた。一方、ジョイント部15の突出長さを、係止孔11a,11bに干渉しない短尺で形成すれば、接続強度の確保が困難となった。
本発明は上記状況に鑑みてなされたもので、伸縮構造において使用不能となる係止孔を減らせる棚用支柱を提供し、もって、棚調整機能の自由度向上を図ることを目的とする。
次に、上記の課題を解決するための手段を、実施の形態に対応する図面を参照して説明する。
本発明の請求項1記載の棚用支柱は、棚板支持具9の係止爪33a,33bを受け入れて、該係止爪33a,33bを下方へ落とし込んで係止する複数の係止孔23が上下方向に形成された棚用支柱100であって、
筒状の本体部25と、該本体部25に摺動自在に嵌入する延長部27と、前記本体部25と該延長部27の摺動を規制する固定手段41と、を具備し、
前記本体部25及び前記延長部27の前記係止孔23は等ピッチPで形成され、
前記延長部27の係止孔23bが前記本体部25の係止孔23aより少なくとも前記落とし込み量K分下方向に長いことを特徴とする。
この棚用支柱では、延長部27を伸長させた本体部上端における最上位置の係止孔23aにおいて、本体部25の係止孔23aと延長部27の係止孔23bが上端39a,39bを一致させると、延長部27の係止孔23bは、下端43bが、本体部25の係止孔23aの下端43aよりも落とし込み量K分下方に配置される。つまり、本体部25の係止孔23aに挿入された係止爪23の干渉回避代(逃げ代)が形成される。これにより、棚板支持具9を挿入して落とし込むことが可能となる。
請求項2記載の棚用支柱は、請求項1記載の棚用支柱であって、
前記本体部25と前記延長部27の長手方向に直交する方向の断面形状が相似する矩形状に形成され、
前記係止孔23が、前記本体部25と前記延長部27の正面に形成されることを特徴とする。
この棚用支柱では、任意相対位置で回転してしまう断面円形の支柱に比べ、平行な一対の辺部同士の何れかを合わせる少ない組合せで、係止孔23a,23b同士を容易に同一向きに合わせることができる。また、本体部25と延長部27を簡単な構造で回転規制できる。
請求項3記載の棚用支柱は、請求項1又は請求項2記載の棚用支柱であって、
前記延長部27の係止孔23bの横幅Wbが前記本体部25の係止孔23aの横幅Waより大きいことを特徴とする。
この棚用支柱では、延長部27が嵌入している本体部25において、本体部25の係止孔23aの背部に配置される延長部27の係止孔23bが、本体部25の係止孔23aより外側で重なり、本体部25の係止孔23aから挿入される係止爪23aが、延長部27における係止孔23bの縁部に干渉し難くなる。
本発明に係る請求項1記載の棚用支柱によれば、棚板支持具の係止爪を下方へ落とし込んで係止する係止孔を上下方向に形成した棚用支柱であって、本体部と、この本体部に摺動自在な延長部とを具備し、本体部及び延長部の係止孔は等ピッチで形成し、延長部の係止孔を、本体部の係止孔より少なくとも落とし込み量分下方向に長くしたので、延長部を伸長させた本体部上端における最上位置の係止孔にも棚板支持具を挿入して落とし込むことができ、伸縮構造の支柱において使用不能な係止孔を減らし、棚調整機能の自由度を向上させることができる。
請求項2記載の棚用支柱によれば、本体部と延長部の長手方向に直交する方向の断面形状を相似する矩形状で形成し、係止孔を、本体部と延長部の正面に形成したので、断面円形の支柱に比べ、本体部と延長部の係止孔を容易に同一向きに揃えることができる。
請求項3記載の棚用支柱によれば、本体部の内部に摺動自在に延長部を嵌入しているので少しの遊びがあり、延長部の係止孔の横幅を、本体部の係止孔の横幅より大きくしたので、延長部が嵌入している本体部において、本体部の係止孔に挿入する係止爪を、延長部の係止孔縁部に干渉し難くして、挿入作業性を良好にできる。
以下、本発明に係る棚用支柱の好適な実施の形態を図面を参照して詳細に説明する。
図1は本発明に係る棚用支柱の用いられた商品陳列棚の斜視図である。なお、図7に示した部材と同一の部材には同一の符号を付す。
本実施の形態による棚用支柱100は、例えば商品陳列棚に好適に用いることができる。商品陳列棚21の背面板3の左右に棚用支柱100,100は起立して設けられ、その表面に、棚板7を支持するための棚板支持具9を係止する複数の係止孔23を上下方向に設けている。
棚用支柱100は、筒状の本体部25と、この本体部25に摺動自在に嵌入する延長部27とを有する。本体部25と延長部27の長手方向に直交する方向の断面形状は、相似する矩形状に形成されている。係止孔23は、本体部25と延長部27の正面(棚板支持具9が取り付けられる面)に形成されている。断面を矩形状とすれば、任意相対位置で回転してしまう断面円形の支柱に比べ、平行な一対の辺部同士の何れかを合わせる少ない組合せで、係止孔23同士を容易に同一向きに揃えることができる。また、本体部25と延長部27を、凹凸形状等の回転規制手段を別途に設けることなく、簡単な構造で回転規制できる。
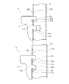
図2は図1に示した棚用支柱及び棚板支持具の拡大斜視図である。
係止孔23は、本体部25に形成される本体部係止孔23aと、延長部27に形成される延長部係止孔23bとから構成される。本体部25と延長部27は、本体部係止孔23aと延長部係止孔23bが略一致するようにして後述の固定手段で摺動が規制される。より正確には本体部係止孔23aと延長部係止孔23bは、孔上縁39a,39b(図6参照)が一致する。この状態で棚板支持具9は、本体部係止孔23aに係止可能となる。
図3は嵌入状態を(a)、棚板支持具、本体部、延長部の分解状態を(b)で表した斜視図である。
棚板支持具9は、棚板7の裏面左右に設けられた不図示の係止部に係止する前後一対の爪29a,29bを有する腕部29と、この腕部29の基端部31に設けられ係止孔23に係止する上下一対の係止爪33a,33bとを備える。本実施の形態では一対の係止爪33a,33bを備えるが、棚板支持具は、1つの係止爪33aのみを備えるもの、或いは3つ以上など複数備えるものであってもよい。係止爪33a,33bには、基端部31との境に、下から上へ切り込まれた落とし込み溝35が設けられている。なお、本実施の形態では、腕部29の基端部31に、下方向に延出する支持部34が形成されており、この支持部34は、係止爪33bが係止される本体部係止孔23a,延長部係止孔23bの下方に位置する本体部係止孔23a,延長部係止孔23bを覆う位置とされ、腕部29を支える。この支持部34は、真直に下方向へ延出形成されてもよく、中途で屈曲する形状としてもよい。
図4は棚板支持具の取り付けられた本体部25及び延長部27の縦断面図である。
棚板支持具9は、本体部係止孔23a、及び延長部係止孔23bの双方いずれにも係止可能となっている。棚板支持具9は、係止爪33a,33bを、例えば本体部係止孔23aに基端部31が当接するまで挿入した後、下側へ落とし込むことで、落とし込み溝35に、本体部係止孔23a,23a同士間の係止部37aを下方より受け入れて本体部25に固定される。なお、延長部27の係止部37bは、後述するように、係止部37aよりも上下の長さが短い。
図5は本体部の係止孔を(a)、延長部の係止孔を(b)で表した正面図である。
本体部係止孔23aと延長部係止孔23bは、等ピッチPで形成されている。本体部係止孔23aの上下長Haは、係止爪33a,33bの上下長h(図4参照)よりも長い。つまり、挿入を容易にする分長い。この延長部係止孔23bの上下長Hbは、本体部係止孔23aの上下長Haよりも長い(Ha<Hb)。本体部25の係止部37aの上下長Daは、P−Haとなる(Da=P−Ha)。延長部27の係止部37bの上下長Dbは、P−Hbとなる(Db=P−Hb)。ここで、Ha<Hbなので、Da>Dbとなる。
図6は本体部と延長部の重なり部における棚板支持具の係止状態を表す縦断面図である。
延長部係止孔23bは、本体部係止孔23aより少なくとも落とし込み溝35による落とし込み量K分上下方向に長い(Hb−Ha≧K)。本体部25と延長部27は、本体部係止孔23aの上縁39aと、延長部係止孔23bの上縁39bが一致する位置で、固定手段である例えばネジ41にて延長方向の摺動が規制される。
また、図5に示すように、延長部係止孔23bの横幅Wbは、本体部係止孔23aの横幅Waより大きく形成されている。これにより、延長部27が嵌入している本体部25において、本体部係止孔23aの背部に配置される延長部係止孔23bが、本体部係止孔23aより外側で重なる。つまり、本体部係止孔23aに挿入する係止爪33a,33bを、延長部係止孔23bに干渉し難くして、挿入作業性を良好にしている。
上記の構成を有する棚用支柱100では、延長部27を伸長させた本体部25の上端における最上位置の係止孔23aにおいて、本体部係止孔23aと延長部係止孔23bが上端39a,39bを一致させると、図6に示すように、延長部係止孔23bは、下端43bが、本体部係止孔23aの下端43aよりも落とし込み量K分下方に配置される。つまり、本体部係止孔23aに挿入された係止爪33a,33bの干渉回避代(逃げ代=K)が形成される。これにより、棚板支持具9を挿入して落とし込むことが可能となる。
したがって、上記構成の棚用支柱100によれば、棚板支持具9の係止爪33a,33bを下方へ落とし込んで係止する係止孔23を上下方向に形成した棚用支柱100であって、本体部25と、この本体部25に摺動自在な延長部27とを具備し、本体部25及び延長部27の係止孔23a,23bは等ピッチPで形成し、延長部27の係止孔23bを、本体部25の係止孔23aより少なくとも落とし込み量K分上下方向に長くしたので、延長部27を伸長させた本体部上端における最上位置の係止孔23a,或いは、本体部25から伸長した延長部27における最下位置の係止孔23bにも棚板支持具9を挿入して落とし込むことができ、伸縮構造の支柱において使用不能な係止孔23を減らし、棚調整機能の自由度を向上させることができる。
本発明に係る棚用支柱の用いられた商品陳列棚の斜視図である。 図1に示した棚用支柱及び棚板支持具の拡大斜視図である。 嵌入状態を(a)、棚板支持具、本体部、延長部の分解状態を(b)で表した斜視図である。 棚板支持具の取り付けられた本体部及び延長部の縦断面図である。 本体部の係止孔を(a)、延長部の係止孔を(b)で表した正面図である。 本体部と延長部の重なり部における棚板支持具の係止状態を表す縦断面図である。 従来の商品陳列棚の全体を(a)、棚用支柱の分解状態を(b)で表した斜視図である。
符号の説明
9…棚板支持具
23,23a,23b…係止孔
25…本体部
27…延長部
33a,33b…係止爪
41…固定手段(ネジ)
100…棚用支柱
K…落とし込み量
P…ピッチ
Wa,Wb…係止孔の横幅

Claims (3)

  1. 棚板支持具の係止爪を受け入れて、該係止爪を下方へ落とし込んで係止する複数の係止孔が上下方向に形成された棚用支柱であって、
    筒状の本体部と、該本体部に摺動自在に嵌入する延長部と、前記本体部と該延長部の摺動を規制する固定手段と、を具備し、
    前記本体部及び前記延長部の前記係止孔は等ピッチで形成され、
    前記延長部の係止孔が前記本体部の係止孔より少なくとも前記落とし込み量分下方向に長いことを特徴とする棚用支柱。
  2. 請求項1記載の棚用支柱であって、
    前記本体部と前記延長部の長手方向に直交する方向の断面形状が相似する矩形状に形成され、
    前記係止孔が、前記本体部と前記延長部の正面に形成されることを特徴とする棚用支柱。
  3. 請求項1又は請求項2記載の棚用支柱であって、
    前記延長部の係止孔の横幅が前記本体部の係止孔の横幅より大きいことを特徴とする棚用支柱。
JP2008178085A 2008-07-08 2008-07-08 棚用支柱 Expired - Fee Related JP5133800B2 (ja)

Priority Applications (1)

Application Number Priority Date Filing Date Title
JP2008178085A JP5133800B2 (ja) 2008-07-08 2008-07-08 棚用支柱

Applications Claiming Priority (1)

Application Number Priority Date Filing Date Title
JP2008178085A JP5133800B2 (ja) 2008-07-08 2008-07-08 棚用支柱

Publications (2)

Publication Number Publication Date
JP2010017238A true JP2010017238A (ja) 2010-01-28
JP5133800B2 JP5133800B2 (ja) 2013-01-30

Family

ID=41702727

Family Applications (1)

Application Number Title Priority Date Filing Date
JP2008178085A Expired - Fee Related JP5133800B2 (ja) 2008-07-08 2008-07-08 棚用支柱

Country Status (1)

Country Link
JP (1) JP5133800B2 (ja)

Cited By (1)

* Cited by examiner, † Cited by third party
Publication number Priority date Publication date Assignee Title
JP2016529185A (ja) * 2013-09-09 2016-09-23 ロック アンド ロード シェルヴィング システムズ プロプライエタリー リミテッド 調節可能な浮き棚システム

Citations (4)

* Cited by examiner, † Cited by third party
Publication number Priority date Publication date Assignee Title
JPS58121268U (ja) * 1982-02-10 1983-08-18 積水樹脂株式会社 陳列什器の支柱
JPS58126772U (ja) * 1982-02-22 1983-08-27 積水樹脂株式会社 陳列什器における棚等の取付装置
JPH09121949A (ja) * 1995-10-30 1997-05-13 Okamura Corp 組立式棚装置
JP2001104061A (ja) * 1999-10-12 2001-04-17 Yodogawa Steel Works Ltd 四支柱型の収納棚

Patent Citations (4)

* Cited by examiner, † Cited by third party
Publication number Priority date Publication date Assignee Title
JPS58121268U (ja) * 1982-02-10 1983-08-18 積水樹脂株式会社 陳列什器の支柱
JPS58126772U (ja) * 1982-02-22 1983-08-27 積水樹脂株式会社 陳列什器における棚等の取付装置
JPH09121949A (ja) * 1995-10-30 1997-05-13 Okamura Corp 組立式棚装置
JP2001104061A (ja) * 1999-10-12 2001-04-17 Yodogawa Steel Works Ltd 四支柱型の収納棚

Cited By (1)

* Cited by examiner, † Cited by third party
Publication number Priority date Publication date Assignee Title
JP2016529185A (ja) * 2013-09-09 2016-09-23 ロック アンド ロード シェルヴィング システムズ プロプライエタリー リミテッド 調節可能な浮き棚システム

Also Published As

Publication number Publication date
JP5133800B2 (ja) 2013-01-30

Similar Documents

Publication Publication Date Title
EP2934240B1 (de) Regalsystem
US8616138B1 (en) Shelving system
US20130221820A1 (en) Structure of a tool cabinet
US20170208947A1 (en) Shelf Supporting Beam Configuration for Shelving Apparatus
US8960458B1 (en) Storage apparatus
EA032044B1 (ru) Модульная конструкция картонной вертикально ориентированной витрины
JP5133800B2 (ja) 棚用支柱
JP2009195677A (ja) 少なくとも1つの垂直支柱とこの垂直支柱に取り付けられる1次支持部材とを有する商品展示用の棚
JP4568613B2 (ja) 物品保管棚
KR200391947Y1 (ko) 조립식 진열대 구조
JP2010082323A (ja) 棚用支柱
TWI840310B (zh) 無螺絲與無鉚釘之組合式置物架
JP5064175B2 (ja) デスク装置
JP6049375B2 (ja) 棚用支柱
JP3124091U (ja) 商品陳列台
JP4460280B2 (ja) 書籍陳列棚
JP5670784B2 (ja) 棚用支柱の構造
JP2014147564A (ja) 皿用多段スタンド
JP2012085898A (ja) 商品陳列台
JP2005342377A (ja) 書棚付き机
JP4127185B2 (ja) 縦仕切の取付構造
KR20100110103A (ko) 상품 진열 선반
JP3142635U (ja) 組立式物品棚
JP6235913B2 (ja) 棚板連結装置
JP3156071U (ja) ラック用支柱およびこれを用いたラック

Legal Events

Date Code Title Description
A621 Written request for application examination

Free format text: JAPANESE INTERMEDIATE CODE: A621

Effective date: 20110609

TRDD Decision of grant or rejection written
A01 Written decision to grant a patent or to grant a registration (utility model)

Free format text: JAPANESE INTERMEDIATE CODE: A01

Effective date: 20121009

A01 Written decision to grant a patent or to grant a registration (utility model)

Free format text: JAPANESE INTERMEDIATE CODE: A01

A61 First payment of annual fees (during grant procedure)

Free format text: JAPANESE INTERMEDIATE CODE: A61

Effective date: 20121108

FPAY Renewal fee payment (event date is renewal date of database)

Free format text: PAYMENT UNTIL: 20151116

Year of fee payment: 3

R150 Certificate of patent or registration of utility model

Ref document number: 5133800

Country of ref document: JP

Free format text: JAPANESE INTERMEDIATE CODE: R150

Free format text: JAPANESE INTERMEDIATE CODE: R150

R250 Receipt of annual fees

Free format text: JAPANESE INTERMEDIATE CODE: R250

R250 Receipt of annual fees

Free format text: JAPANESE INTERMEDIATE CODE: R250

R250 Receipt of annual fees

Free format text: JAPANESE INTERMEDIATE CODE: R250

S111 Request for change of ownership or part of ownership

Free format text: JAPANESE INTERMEDIATE CODE: R313111

R350 Written notification of registration of transfer

Free format text: JAPANESE INTERMEDIATE CODE: R350

R250 Receipt of annual fees

Free format text: JAPANESE INTERMEDIATE CODE: R250

R250 Receipt of annual fees

Free format text: JAPANESE INTERMEDIATE CODE: R250

S111 Request for change of ownership or part of ownership

Free format text: JAPANESE INTERMEDIATE CODE: R313113

R350 Written notification of registration of transfer

Free format text: JAPANESE INTERMEDIATE CODE: R350

S111 Request for change of ownership or part of ownership

Free format text: JAPANESE INTERMEDIATE CODE: R313113

R350 Written notification of registration of transfer

Free format text: JAPANESE INTERMEDIATE CODE: R350

LAPS Cancellation because of no payment of annual fees