JP2010015885A - 負極、正極および二次電池、ならびにそれらの製造方法 - Google Patents

負極、正極および二次電池、ならびにそれらの製造方法 Download PDF

Info

Publication number
JP2010015885A
JP2010015885A JP2008175936A JP2008175936A JP2010015885A JP 2010015885 A JP2010015885 A JP 2010015885A JP 2008175936 A JP2008175936 A JP 2008175936A JP 2008175936 A JP2008175936 A JP 2008175936A JP 2010015885 A JP2010015885 A JP 2010015885A
Authority
JP
Japan
Prior art keywords
group
negative electrode
chemical formula
active material
positive electrode
Prior art date
Legal status (The legal status is an assumption and is not a legal conclusion. Google has not performed a legal analysis and makes no representation as to the accuracy of the status listed.)
Granted
Application number
JP2008175936A
Other languages
English (en)
Other versions
JP2010015885A5 (ja
JP5463632B2 (ja
Inventor
Hiroyuki Yamaguchi
裕之 山口
Shunsuke Saito
俊介 齊藤
Toru Kotani
徹 小谷
Masayuki Ihara
将之 井原
Tadahiko Kubota
忠彦 窪田
Current Assignee (The listed assignees may be inaccurate. Google has not performed a legal analysis and makes no representation or warranty as to the accuracy of the list.)
Sony Corp
Original Assignee
Sony Corp
Priority date (The priority date is an assumption and is not a legal conclusion. Google has not performed a legal analysis and makes no representation as to the accuracy of the date listed.)
Filing date
Publication date
Priority to JP2008175936A priority Critical patent/JP5463632B2/ja
Application filed by Sony Corp filed Critical Sony Corp
Priority to CN200980125248.8A priority patent/CN102077393B/zh
Priority to US13/000,852 priority patent/US8628885B2/en
Priority to PCT/JP2009/061961 priority patent/WO2010001892A1/ja
Priority to BRPI0914776A priority patent/BRPI0914776A2/pt
Priority to RU2010154164/07A priority patent/RU2010154164A/ru
Priority to KR1020107029358A priority patent/KR20110022633A/ko
Publication of JP2010015885A publication Critical patent/JP2010015885A/ja
Publication of JP2010015885A5 publication Critical patent/JP2010015885A5/ja
Application granted granted Critical
Publication of JP5463632B2 publication Critical patent/JP5463632B2/ja
Expired - Fee Related legal-status Critical Current
Anticipated expiration legal-status Critical

Links

Images

Classifications

    • YGENERAL TAGGING OF NEW TECHNOLOGICAL DEVELOPMENTS; GENERAL TAGGING OF CROSS-SECTIONAL TECHNOLOGIES SPANNING OVER SEVERAL SECTIONS OF THE IPC; TECHNICAL SUBJECTS COVERED BY FORMER USPC CROSS-REFERENCE ART COLLECTIONS [XRACs] AND DIGESTS
    • Y02TECHNOLOGIES OR APPLICATIONS FOR MITIGATION OR ADAPTATION AGAINST CLIMATE CHANGE
    • Y02EREDUCTION OF GREENHOUSE GAS [GHG] EMISSIONS, RELATED TO ENERGY GENERATION, TRANSMISSION OR DISTRIBUTION
    • Y02E60/00Enabling technologies; Technologies with a potential or indirect contribution to GHG emissions mitigation
    • Y02E60/10Energy storage using batteries

Landscapes

  • Secondary Cells (AREA)
  • Battery Electrode And Active Subsutance (AREA)

Abstract

【課題】電池特性を向上させることが可能な二次電池を提供する。
【解決手段】正極21および負極22と共に電解質を備え、正極21と負極22との間に設けられたセパレータ23に液状の電解質が含浸されている。負極22は、負極集電体22Aに設けられた負極活物質層22B上に被膜22Cを有している。この被膜22Cは、ビフェニルスルホン酸リチウムを含有している。負極22においてリチウムイオンが吸蔵および放出されやすくなると共に、電解液の分解が抑制される。
【選択図】図2

Description

本発明は、二次電池などに用いられる負極および正極、負極および正極を備えた二次電池、ならびにそれらの製造方法に関する。
近年、ビデオカメラ、デジタルスチルカメラ、携帯電話あるいはノートパソコンなどのポータブル電子機器が広く普及しており、その小型化、軽量化および長寿命化が強く求められている。これに伴い、電源として、電池、特に軽量で高エネルギー密度を得ることが可能な二次電池の開発が進められている。
中でも、充放電反応にリチウム(Li)の吸蔵および放出を利用する二次電池(いわゆるリチウムイオン二次電池)は、鉛電池やニッケルカドミウム電池よりも高いエネルギー密度が得られるため、広く実用化されている。このリチウムイオン二次電池は、正極および負極と共に電解質を備えており、その負極は、負極集電体上に負極活物質層を有している。
負極活物質層に含まれる負極活物質としては、黒鉛などの炭素材料が広く用いられている。また、最近では、ポータブル電子機器の高性能化および多機能化に伴って電池容量のさらなる向上が求められていることから、炭素材料に代えてケイ素やスズなどを用いることが検討されている。ケイ素の理論容量(4199mAh/g)やスズの理論容量(994mAh/g)は黒鉛の理論容量(372mAh/g)よりも格段に大きいため、電池容量の大幅な向上を期待できるからである。
ところが、リチウムイオン二次電池では、充放電時にリチウムを吸蔵した負極活物質が高活性になるため、電解質が分解されやすくなったり、リチウムの一部が不活性化しやすくなったりするという問題がある。これにより、十分なサイクル特性や膨れ特性などの電池特性を得ることが困難になる。この問題は、負極活物質として高理論容量のケイ素等を用いた場合に顕著となる。
そこで、リチウムイオン二次電池のこのような問題を解決するために、さまざまな検討がなされている。例えば、電解質に各種添加剤を含有させることにより、保存特性やサイクル特性などの電池特性を向上させる技術が提案されている。この添加剤としては、フェニルスルホン酸金属塩(例えば、特許文献1参照。)や、ビフェニル、テルフェニルあるいはシクロヘキシルベンゼンまたはそれらの誘導体(例えば、特許文献2〜5参照。)などの芳香族系化合物が用いられている。また、電池容量の低下を防ぐために、負極活物質として用いる炭素材料の表面をエタンジオールジリチウムなどのリチウムアルコキシド化合物で被覆する技術も提案されている(例えば、特許文献6参照。)。
特開2002−056891号公報 特開平09−106835号公報 特開2002−117895号公報 特開2004−281073号公報 特開2007−172969号公報 特開平08−138745号公報
しかしながら、上述したように、種々の検討がなされているにもかかわらず、未だ十分なサイクル特性や膨れ特性などの電池特性が得られていない状況にあるため、その電池特性について更なる向上が望まれている。特に、最近では、ポータブル電子機器が益々高性能化および多機能化しており、その消費電力も増大する傾向にあるため、電池特性の向上を求める声は強くなる一方である。
本発明はかかる問題点に鑑みてなされたもので、その目的は、電池特性を向上させることが可能な正極、負極および二次電池、ならびにそれらの製造方法を提供することにある。
本発明の二次電池は、正極および負極と共に電解質を備え、正極および負極のうちの少なくとも一方が化1で表される化合物を含有するものである。また、本発明の二次電池の製造方法は、正極および負極と共に電解質を備えた二次電池の製造方法であって、化1に示した化合物と同様の化合物を含有するように正極および負極のうちの少なくとも一方を形成するものである。なお、化1中の「アルカリ土類金属」とは、ベリリウム(Be)およびマグネシウム(Mg)を含むことをいい、すなわち、長周期型周期表における2族元素のことである。
Figure 2010015885
(R1はベンゼン環およびシクロヘキサン環のうちの少なくとも一方の環を合計で2以上5以下の範囲で含む(a1+b1)価の基であり、X1およびY1はハロゲン基、水酸基あるいは−OM1で表される基であり、a1およびb1は0以上の整数である。ただし、M1はアルカリ金属、アルカリ土類金属あるいはアルキルシリル基であり、a1およびb1は(a1+b1)≧1を満たす。)
本発明の負極は、負極集電体に設けられた負極活物質層上に被膜を有し、その被膜は、上記した化1に示した化合物と同様の化合物を含有するものである。また、本発明の負極の製造方法は、負極集電体上に負極活物質層を有する負極の製造方法であって、上記した化1に示した化合物と同様の化合物を含有する溶液を用いて、負極活物質層の表面に、その化合物を含有する被膜を形成するものである。
本発明の正極は、上記した化1に示した化合物と同様の化合物を含有するものである。また、本発明の正極の製造方法は、正極集電体上に正極活物質層を有する正極の製造方法であって、上記した化1に示した化合物と同様の化合物を含有するように正極を形成するものである。
本発明の二次電池およびその製造方法によれば、正極および負極のうちの少なくとも一方が上記した化1に示した化合物を含有するようにしたので、それを含有しない場合と比較して、負極および正極のうちの少なくとも一方の化学的安定性が向上する。このため、充放電をした際に、正極および負極が電解質と反応しにくくなる。よって、サイクル特性、膨れ特性あるいは反応抵抗特性などの電池特性を向上させることができる。この場合には、化1に示した化合物を含有する溶液を用いて、その化合物を含有するように正極および負極のうちの少なくとも一方を形成すれば、減圧環境などの特殊な環境条件を要する方法を用いる場合と比較して、簡単に正極および負極を形成することができる。
本発明の負極およびその製造方法によれば、化1に示した化合物を含有する被膜を負極活物質層上に形成するようにしたので、その被膜を形成しない場合と比較して、負極の化学的安定性が向上する。よって、この負極を用いた二次電池の電池特性を向上させることができる。
本発明の正極およびその製造方法によれば、化1に示した化合物を含有するように正極を形成したので、その化合物を含有しない場合と比較して、正極の化学的安定性が向上する。よって、この正極を用いた二次電池の電池特性を向上させることができる。
以下、本発明の実施の形態について、図面を参照して詳細に説明する。
本発明の一実施の形態に係る二次電池は、正極および負極と共に電解質を備えており、正極および負極の少なくとも一方は、化2で表される化合物のうちの1種あるいは2種以上を含有している。
Figure 2010015885
(R1はベンゼン環およびシクロヘキサン環のうちの少なくとも一方の環を合計で2以上5以下の範囲で含む(a1+b1)価の基であり、X1およびY1はハロゲン基、水酸基あるいは−OM1で表される基であり、a1およびb1は0以上の整数である。ただし、M1はアルカリ金属、アルカリ土類金属あるいはアルキルシリル基であり、a1およびb1は(a1+b1)≧1を満たす。)
この二次電池では、化2に示した化合物がベンゼン環あるいはシクロヘキサン環とカルボニル系基(−C(=O)−X1)あるいはスルホニル系基(−S(=O)2 −Y1)とを有するため、その化合物を含有する正極および負極の化学的安定性が向上する。なお、化2中のX1およびY1は同一であってもよいし、異なっていてもよい。このことは、化2中のa1およびb1についても同様である。
化2中のR1は、ベンゼン環およびシクロヘキサン環のうちの少なくとも一方の環を合計で2以上5以下の範囲で含んでいれば、その全体構造は任意である。例えば、上記した複数の環は、他の原子団を介して連結していてもよいし、単結合により連結していてもよいし、あるいは環同士が縮合して結合していてもよい。また、複数の環は、直鎖状に連結していてもよいし、分岐して連結していてもよいし、全体として環状構造となるように連結していてもよい。もちろん、上記した連結態様が混在していてもよい。さらに、R1では、ベンゼン環およびシクロヘキサン環がハロゲン基やアルキル基などの置換基を有していてもよい。なお、環の数の合計が2以上5以下であるのは、その数が1であると、化2に示した化合物が電解質中に溶出しやすくなり、一方、6以上であると、化2に示した化合物を含有する電極の電気抵抗が高くなりやすいからである。すなわち、環の数の合計が上記した範囲内であると、化2に示した化合物が電解質へ溶出しにくくなると共に、電気抵抗の上昇が抑制されるため、高い効果が得られる。
また、化2中のスルホニル系基およびカルボニル系基は、R1に導入されていると共に、スルホニル系基およびカルボニル系基の数が合計(a1+b1)で1以上であれば、その種類や数は任意である。中でも、スルホニル系基およびカルボニル系基は、R1中の環(ベンゼン環およびシクロヘキサン環)に直接導入されていることが好ましい。高い効果が得られるからである。また、スルホニル系基およびカルボニル系基の数の合計(a1+b1)は、2以上であることが好ましく、2であることがより好ましい。1である場合よりも高い効果が得られるからである。この場合、特に、スルホニル系基の数が2以上(b1≧2)であるのが好ましく、2(b1=2)であるのがより好ましい。カルボニル系基の数が2あるいはそれ以上である場合よりも高い効果が得られるからである。
さらに、スルホニル系基およびカルボニル系基中のX1およびY1について説明したハロゲン基の種類は、特に限定されないが、中でも、フッ素基(−F)、塩素基(−Cl)あるいは臭素基(−Br)が好ましく、特に、フッ素基が好ましい。ヨウ素基(−I)よりも、高い効果が得られ、特にフッ素基において高い効果が得られるからである。また、X1およびY1について説明した−OM1で表される基は、その基の中の酸素原子にM1がイオン結合あるいは共有結合した基を表している。M1について説明したアルキルシリル基は、−Si(R)3 で表される基(Rは水素基あるいはアルキル基であり、3つのRのうちの少なくとも1つはアルキル基である。)である。この場合、3つのRは同一であってもよいし、異なってもよい。このようなX1およびY1としては、M1がアルカリ金属あるいはアルカリ土類金属である−OM1で表される基が好ましく、特にM1がリチウム(Li)である−OLiが好ましい。高い効果が得られるからである。
この化2に示した化合物は、化3あるいは化4で表される化合物であるのが好ましい。容易に合成可能であると共に、高い効果が得られるからである。なお、化3中のX2およびY2は同一であってもよいし、異なっていてもよい。このことは、化3中のa2およびb2、化4中のX3およびY3、ならびに化4中のa3およびb3についても同様である。
Figure 2010015885
(R2はベンゼン環およびシクロヘキサン環のうちの少なくとも一方の環を合計で2以上5以下の範囲で含むと共に隣り合う環が単結合した(a2+b2)価の基であり、X2およびY2はハロゲン基、水酸基あるいは−OM2で表される基であり、a2およびb2は0以上の整数である。ただし、M2はアルカリ金属、アルカリ土類金属あるいはアルキルシリル基であり、a2およびb2は(a2+b2)≧1を満たす。)
Figure 2010015885
(R3はベンゼン環およびシクロヘキサン環のうちの少なくとも一方の環を合計で2以上5以下の範囲で含むと共に隣接した環が縮合した(a3+b3)価の基であり、X3およびY3はハロゲン基、水酸基あるいは−OM3で表される基であり、a3およびb3は0以上の整数である。ただし、M3はアルカリ金属、アルカリ土類金属あるいはアルキルシリル基であり、a3およびb3は(a3+b3)≧1を満たす。)
化3中のR2は、ベンゼン環およびシクロヘキサン環のうちの少なくとも一方の環を合計で2以上5以下の範囲で含むと共に、隣り合う環が単結合していれば、その全体構造は任意である。さらに、R2中のベンゼン環およびシクロヘキサン環は、ハロゲン基やアルキル基などの置換基を有していてもよい。R2中の環の数の合計が2以上5以下であるのは、化2中のR1と同様の理由からである。中でも、R2においては、隣り合う環は、1位の炭素原子同士、あるいは1位および4位の炭素原子同士で結合しているのが好ましい。容易に合成可能であると共に、高い効果が得られるからである。
また、化3中で説明したスルホニル系基(−S(=O)2 −Y2)およびカルボニル系基(−C(=O)−X2)が導入される部位や、数(a2,b2,a2+b2)については、化2中のスルホニル系基およびカルボニル系基と同様である。さらに、化3中のスルホニル系基およびカルボニル系基中のX2およびY2について説明したハロゲン基の種類や、−OM2で表される基の種類についても、化2中のハロゲン基および−OM1と同様である。これらのことは、化4中のスルホニル系基(−S(=O)2 −Y3)およびカルボニル系基(−C(=O)−X3)、ならびにそれらが有するX3およびY3についても同様である。
化4中のR3は、ベンゼン環およびシクロヘキサン環のうちの少なくとも一方の環を合計で2以上5以下の範囲で含むと共に、隣接した環が縮合していれば、その全体構造は任意である。また、R3中のベンゼン環およびシクロヘキサン環は、ハロゲン基やアルキル基などの置換基を有していてもよい。R3中の環の数の合計が2以上5以下であるのは、化2中のR1と同様の理由からである。中でも、R3においては、例えばアントラセンのように、環の中心が直線上に並ぶように環同士が縮合しているのが好ましい。容易に合成可能であると共に、高い効果が得られるからである。
化3に示した化合物としては、例えば、化5〜化15で表される一連の化合物が挙げられる。すなわち、R2は、化5〜化9においてベンゼン環が連結した基であり、化10〜化12においてシクロヘキサン環が連結した基であり、化13〜化15においてベンゼン環およびシクロヘキサン環が連結した基である。より具体的には、化5に示した一連の化合物は、スルホニル系基を2つ以上有し、R2が環を2つ〜5つ有し、R2中の隣り合う環が1位の炭素原子同士、あるいは1位および4位の炭素原子同士で結合した化合物の一例である。また、化6に示した一連の化合物は、スルホニル系基の種類をマグネシウム塩基(化6(1))、スルホン酸基(化6(2))、ハロゲン化物基を代表してスルホン酸フルオロ基(化6(3))あるいはスルホン酸トリメチルシリルエステル基(化6(4))とした場合の一例である。これらの化5および化6に示した化合物と同様の例を化10および化13においても表している。また、化7および化8に示した一連の化合物は、化5,化6に示した化合物においてスルホニル系基をカルボニル系基に置き換えた場合の一例であり、化9に示した一連の化合物は、カルボニル系基およびスルホニル系基のいずれか一方を1つ有する場合とそれらの双方を有する場合の一例である。これらの化7〜化9に示した化合物と同様の例を化11,化12,化14および化15においても表している。なお、化3に示した構造を有する化合物であれば、化5〜化15に示した化合物に限定されない。例えば、環が有する水素の全てがスルホニル系基およびカルボニル系基に置換されていてもよいし、一つの環がスルホニル系基およびカルボニル系基を複数有していてもよいし、ベンゼン環とシクロヘキサン環とが交互に連結されていなくてもよい。このような化3に示した化合物の中でも、化5(1),化7(1)あるいは化9(1)に示した化合物が好ましく、特に、化5(1)に示した化合物が好ましい。より高い効果が得られるからである。
Figure 2010015885
Figure 2010015885
Figure 2010015885
Figure 2010015885
Figure 2010015885
Figure 2010015885
Figure 2010015885
Figure 2010015885
Figure 2010015885
Figure 2010015885
Figure 2010015885
また、化4に示した化合物としては、例えば、化16〜化24で表される化合物が挙げられる。すなわち、R3は、化16〜化18においてベンゼン環が縮合した基であり、化19〜化21においてシクロヘキサン環が縮合した基であり、化22〜化24においてベンゼン環およびシクロヘキサン環が縮合した基である。より具体的には、化16に示した一連の化合物は、スルホニル系基を2つ以上有し、R3が環を2つ〜5つ有し、R3中の環の中心が直線上に並ぶように縮合した化合物の一例と、スルホニル系基の種類をマグネシウム塩基、スルホン酸基、ハロゲン化物基を代表してスルホン酸フルオロ基あるいはスルホン酸トリメチルシリルエステル基とした場合の一例である。この化16に示した化合物と同様の例を化19および化22においても表している。また、化17に示した一連の化合物は、化16に示した化合物においてスルホニル系基をカルボニル系基に置き換えた場合の一例であり、化18に示した一連の化合物は、カルボニル系基およびスルホニル系基のいずれか一方を1つ有する場合とそれらの双方を有する場合の一例である。これら化17および化18に示した化合物と同様の例を化20,化21,化23および化24においても表している。なお、化4に示した構造を有する化合物であれば、化16〜化24に示した化合物に限定されないことは言うまでもない。
Figure 2010015885
Figure 2010015885
Figure 2010015885
Figure 2010015885
Figure 2010015885
Figure 2010015885
Figure 2010015885
Figure 2010015885
Figure 2010015885
なお、化2に示した化合物の具体例は、化2に示した構造を有していれば、化3あるいは化4に示した構造に有するものに限定されるわけではない。
この二次電池は、例えば、上記した化2に示した化合物を含有する溶液を用いて、その化合物を含有するように正極および負極のうちの少なくとも一方を形成することにより、製造することができる。
このような二次電池およびその製造方法によれば、正極および負極のうちの少なくとも一方が化2に示した化合物を含有するようにしたので、それを含有しない場合や、化2に示した化合物に該当しない他の化合物(例えば化25に示したベンゼンスルホン酸リチウム)を含有する場合や、電解質が化2に示した化合物を含有する場合と比較して、負極および正極のうちの少なくとも一方の化学的安定性が向上する。このため、充放電をした際に、正極および負極が電解質と反応しにくくなる。よって、サイクル特性、膨れ特性あるいは反応抵抗特性などの電池特性を向上させることができる。この場合には、化2に示した化合物を含有する溶液を用いて、その化合物を含有するように正極および負極のうちの少なくとも一方を形成すれば、減圧環境などの特殊な環境条件を要する方法を用いる場合と比較して、簡単に正極および負極を形成することができる。
Figure 2010015885
特に、化2に示した化合物が化3に示した化合物であれば、より電解質の分解反応が抑制されるため、電池特性をより向上させることができる。この場合には、化2に示した化合物が化5(1)に示した化合物であれば、さらに高い効果を得ることができる。
なお、化2に示した化合物を含有する電極は、正極および負極の双方であるのが好ましいが、いずれか一方に絞るならば、正極よりも負極が好ましい。正極のみが含有する場合と比較して、より高い電池特性が得られるからである。
次に、上記した二次電池について、具体例を挙げて詳細を説明する。
ここで説明する二次電池は、例えば、負極の容量が電極反応物質であるリチウムの吸蔵および放出に基づいて表されるリチウムイオン二次電池である。
(第1の二次電池)
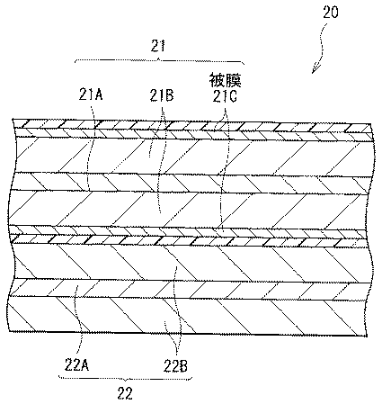
図1および図2は第1の二次電池の断面構成を表しており、図2では図1に示した巻回電極体20の一部を拡大して示している。
この二次電池は、主に、ほぼ中空円柱状の電池缶11の内部に、セパレータ23を介して正極21と負極22とが巻回された巻回電極体20と、一対の絶縁板12,13とが収納されたものである。この円柱状の電池缶11を用いた電池構造は、円筒型と呼ばれている。
電池缶11は、例えば、一端部が閉鎖されると共に他端部が開放された中空構造を有しており、鉄(Fe)、アルミニウム(Al)あるいはそれらの合金などの金属材料により構成されている。なお、電池缶11が鉄により構成される場合には、例えば、ニッケル(Ni)などの鍍金が施されてもよい。一対の絶縁板12,13は、巻回電極体20を上下から挟み、その巻回周面に対して垂直に延在するように配置されている。
電池缶11の開放端部には、電池蓋14と、その内側に設けられた安全弁機構15および熱感抵抗素子(Positive Temperature Coefficient:PTC素子)16とが、ガスケット17を介してかしめて取り付けられている。これにより、電池缶11の内部は密閉されている。電池蓋14は、例えば、電池缶11と同様の金属材料により構成されている。安全弁機構15は、熱感抵抗素子16を介して電池蓋14と電気的に接続されている。この安全弁機構15では、内部短絡、あるいは外部からの加熱などに起因して内圧が一定以上となった場合に、ディスク板15Aが反転して電池蓋14と巻回電極体20との間の電気的接続を切断するようになっている。熱感抵抗素子16は、温度の上昇に応じて抵抗が増大することにより、電流を制限して大電流に起因する異常な発熱を防止するものである。ガスケット17は、例えば、絶縁材料により構成されており、その表面にはアスファルトが塗布されている。
巻回電極体20の中心には、センターピン24が挿入されていてもよい。この巻回電極体20では、アルミニウムなどの金属材料により構成された正極リード25が正極21に接続されていると共に、ニッケルなどの金属材料により構成された負極リード26が負極22に接続されている。正極リード25は、安全弁機構15に溶接などされて電池蓋14と電気的に接続されており、負極リード26は、電池缶11に溶接などされて電気的に接続されている。
正極21は、例えば、一対の面を有する正極集電体21Aの両面に正極活物質層21Bが設けられたものである。ただし、正極活物質層21Bは、正極集電体21Aの片面だけに設けられていてもよい。
正極集電体21Aは、例えば、アルミニウム、ニッケルあるいはステンレス(SUS)などの金属材料により構成されている。
正極活物質層21Bは、正極活物質として、リチウムを吸蔵および放出することが可能な正極材料のいずれか1種あるいは2種以上を含んでおり、必要に応じて、結着剤や導電剤などの他の材料を含んでいてもよい。
リチウムを吸蔵および放出することが可能な正極材料としては、例えば、リチウム含有化合物が好ましい。高いエネルギー密度が得られるからである。このリチウム含有化合物としては、例えば、リチウムと遷移金属元素とを含む複合酸化物や、リチウムと遷移金属元素とを含むリン酸化合物などが挙げられる。中でも、遷移金属元素としてコバルト、ニッケル、マンガンおよび鉄からなる群のうちの少なくとも1種を含むものが好ましい。より高い電圧が得られるからである。その化学式は、例えば、Lix M1O2 あるいはLiy M2PO4 で表される。式中、M1およびM2は、1種類以上の遷移金属元素を表す。xおよびyの値は、充放電状態によって異なり、通常、0.05≦x≦1.10、0.05≦y≦1.10である。
リチウムと遷移金属元素とを含む複合酸化物としては、例えば、リチウムコバルト複合酸化物(Lix CoO2 )、リチウムニッケル複合酸化物(Lix NiO2 )、リチウムニッケルコバルト複合酸化物(Lix Ni1-z Coz 2 (z<1))、リチウムニッケルコバルトマンガン複合酸化物(Lix Ni(1-v-w) Cov Mnw 2 (v+w<1))、あるいはスピネル型構造を有するリチウムマンガン複合酸化物(LiMn2 4 )などが挙げられる。中でも、コバルトを含む複合酸化物が好ましい。高い容量が得られると共に、優れたサイクル特性も得られるからである。また、リチウムコバルト複合酸化物としては、コバルトの一部をアルミニウムおよびマグネシウム(Mg)に置き換えた複合酸化物(LiCo(1-j-k) Alj Mgk 2 (0<j<0.1、0<k<0.1))であってもよい。さらに、リチウムと遷移金属元素とを含むリン酸化合物としては、例えば、リチウム鉄リン酸化合物(LiFePO4 )あるいはリチウム鉄マンガンリン酸化合物(LiFe1-u Mnu PO4 (u<1))などが挙げられる。
この他、リチウムを吸蔵および放出することが可能な正極材料としては、例えば、酸化チタン、酸化バナジウムあるいは二酸化マンガンなどの酸化物や、二硫化チタンあるいは硫化モリブデンなどの二硫化物や、セレン化ニオブなどのカルコゲン化物や、硫黄、ポリアニリンあるいはポリチオフェンなどの導電性高分子も挙げられる。
もちろん、リチウムを吸蔵および放出することが可能な正極材料は、上記以外のものであってもよい。また、上記した一連の正極材料は、任意の組み合わせで2種以上混合されてもよい。
導電剤としては、例えば、黒鉛、カーボンブラック、アセチレンブラックあるいはケチェンブラックなどの炭素材料が挙げられる。これらは単独でもよいし、複数種が混合されてもよい。なお、導電剤は、導電性を有する材料であれば、金属材料あるいは導電性高分子などであってもよい。
結着剤としては、例えば、スチレンブタジエン系ゴム、フッ素系ゴムあるいはエチレンプロピレンジエンなどの合成ゴムや、ポリフッ化ビニリデンなどの高分子材料が挙げられる。これらは単独でもよいし、複数種が混合されてもよい。
負極22は、例えば、一対の面を有する負極集電体22Aの両面に負極活物質層22Bよび被膜22Cが設けられたものである。ただし、負極活物質層22Bは、負極集電体22Aの片面だけに設けられていてもよい。被膜22Cについても、同様である。
負極集電体22Aは、例えば、銅、ニッケルあるいはステンレスなどの金属材料により構成されている。この負極集電体22Aの表面は、粗面化されているのが好ましい。いわゆるアンカー効果により負極集電体22Aと負極活物質層22Bとの間の密着性が向上するからである。この場合には、少なくとも負極活物質層22Bと対向する領域において、負極集電体22Aの表面が粗面化されていればよい。粗面化の方法としては、例えば、電解処理により微粒子を形成する方法などが挙げられる。この電解処理とは、電解槽中において電解法により負極集電体22Aの表面に微粒子を形成して凹凸を設ける方法である。このような電解処理により粗面化された銅箔を含め、電解処理が施された銅箔は、一般に「電解銅箔」と呼ばれている。
負極活物質層22Bは、負極活物質として、リチウムを吸蔵および放出することが可能な負極材料のいずれか1種あるいは2種以上を含んでおり、必要に応じて、結着剤や導電剤などの他の材料を含んでいてもよい。なお、結着剤および導電剤に関する詳細は、例えば、正極21について説明した場合と同様である。
リチウムを吸蔵および放出することが可能な負極材料としては、例えば、リチウムを吸蔵および放出することが可能であると共に金属元素および半金属元素のうちの少なくとも1種を構成元素として有する材料が挙げられる。高いエネルギー密度が得られるからである。このような負極材料は、金属元素あるいは半金属元素の単体でも合金でも化合物でもよく、それらの1種あるいは2種以上の相を少なくとも一部に有するようなものでもよい。
なお、本発明における「合金」には、2種以上の金属元素からなるものに加えて、1種以上の金属元素と1種以上の半金属元素とを含むものも含まれる。また、「合金」は、非金属元素を含んでいてもよい。この組織には、固溶体、共晶(共融混合物)、金属間化合物、あるいはそれらのうちの2種以上が共存するものがある。
上記した金属元素あるいは半金属元素としては、例えば、リチウムと合金を形成することが可能な金属元素あるいは半金属元素が挙げられる。具体的には、マグネシウム(Mg)、ホウ素(B)、アルミニウム(Al)、ガリウム(Ga)、インジウム(In)、ケイ素(Si)、ゲルマニウム(Ge)、スズ(Sn)、鉛(Pb)、ビスマス(Bi)、カドミウム(Cd)、銀(Ag)、亜鉛(Zn)、ハフニウム(Hf)、ジルコニウム(Zr)、イットリウム(Y)、パラジウム(Pd)あるいは白金(Pt)などである。中でも、ケイ素およびスズのうちの少なくとも1種が好ましく、ケイ素がより好ましい。リチウムを吸蔵および放出する能力が大きいため、高いエネルギー密度が得られるからである。
ケイ素およびスズのうちの少なくとも1種を有する負極材料としては、例えば、ケイ素の単体、合金あるいは化合物や、スズの単体、合金あるいは化合物や、それらの1種あるいは2種以上の相を少なくとも一部に有する材料が挙げられる。これらは単独でもよいし、複数種が混合されてもよい。
ケイ素の単体を有する負極材料としては、例えば、ケイ素の単体を主体として有する材料が挙げられる。この負極材料を含む負極活物質層22Bは、例えば、ケイ素単体層の間にケイ素以外の第2の構成元素と酸素とが存在する構造を有している。この負極活物質層22Bにおけるケイ素および酸素の合計の含有量は、50質量%以上であるのが好ましく、特にケイ素単体の含有量が50質量%以上であるのが好ましい。ケイ素以外の第2の構成元素としては、例えば、チタン(Ti)、クロム、マンガン(Mn)、鉄、コバルト(Co)、ニッケル、銅、亜鉛、インジウム、銀、マグネシウム、アルミニウム、ゲルマニウム、スズ、ビスマスあるいはアンチモン(Sb)などが挙げられる。ケイ素の単体を主体として有する材料を含む負極活物質層22Bは、例えば、ケイ素と他の構成元素とを共蒸着することにより形成可能である。
ケイ素の合金としては、例えば、ケイ素以外の第2の構成元素として、スズ、ニッケル、銅、鉄、コバルト、マンガン、亜鉛、インジウム、銀、チタン、ゲルマニウム、ビスマス、アンチモンおよびクロムからなる群のうちの少なくとも1種を有するものが挙げられる。ケイ素の化合物としては、例えば、酸素あるいは炭素(C)を有するものが挙げられ、ケイ素に加えて、上記した第2の構成元素を有していてもよい。ケイ素の合金あるいは化合物の一例としては、SiB4 、SiB6 、Mg2 Si、Ni2 Si、TiSi2 、MoSi2 、CoSi2 、NiSi2 、CaSi2 、CrSi2 、Cu5 Si、FeSi2 、MnSi2 、NbSi2 、TaSi2 、VSi2 、WSi2 、ZnSi2 、SiC、Si3 4 、Si2 2 O、SiOv (0<v≦2)あるいはLiSiOなどが挙げられる。
スズの合金としては、例えば、スズ以外の第2の構成元素として、ケイ素、ニッケル、銅、鉄、コバルト、マンガン、亜鉛、インジウム、銀、チタン、ゲルマニウム、ビスマス、アンチモンおよびクロムからなる群のうちの少なくとも1種を有するものが挙げられる。スズの化合物としては、例えば、酸素あるいは炭素を有するものが挙げられ、スズに加えて、上記した第2の構成元素を有していてもよい。スズの合金あるいは化合物の一例としては、SnOw (0<w≦2)、SnSiO3 、LiSnOあるいはMg2 Snなどが挙げられる。
特に、ケイ素およびスズのうちの少なくとも1種を有する負極材料としては、例えば、スズを第1の構成元素とし、それに加えて第2および第3の構成元素を有するものが好ましい。第2の構成元素は、コバルト、鉄、マグネシウム、チタン、バナジウム(V)、クロム、マンガン、ニッケル、銅、亜鉛、ガリウム、ジルコニウム、ニオブ(Nb)、モリブデン、銀、インジウム、セリウム(Ce)、ハフニウム、タンタル(Ta)、タングステン(W)、ビスマスおよびケイ素からなる群のうちの少なくとも1種である。第3の構成元素は、ホウ素、炭素、アルミニウムおよびリン(P)からなる群のうちの少なくとも1種である。第2および第3の構成元素を有することにより、サイクル特性が向上するからである。
中でも、スズ、コバルトおよび炭素を構成元素として有し、炭素の含有量が9.9質量%以上29.7質量%以下、スズおよびコバルトの合計に対するコバルトの割合(Co/(Sn+Co))が30質量%以上70質量%以下であるSnCoC含有材料が好ましい。このような組成範囲において、高いエネルギー密度が得られるからである。
このSnCoC含有材料は、必要に応じて、さらに他の構成元素を有していてもよい。他の構成元素としては、例えば、ケイ素、鉄、ニッケル、クロム、インジウム、ニオブ、ゲルマニウム、チタン、モリブデン、アルミニウム、リン、ガリウムあるいはビスマスなどが好ましく、それらの2種以上を有していてもよい。より高い効果が得られるからである。
なお、SnCoC含有材料は、スズ、コバルトおよび炭素を含む相を有しており、その相は、低結晶性あるいは非晶質な相であるのが好ましい。この相は、リチウムと反応可能な反応相であり、これによって優れたサイクル特性が得られるようになっている。この相のX線回折により得られる回折ピークの半値幅は、特定X線としてCuKα線を用い、挿引速度を1°/minとした場合に、回折角2θで1.0°以上であることが好ましい。リチウムがより円滑に吸蔵および放出されると共に、電解質との反応性が低減されるからである。
X線回折により得られた回折ピークがリチウムと反応可能な反応相に対応するものであるか否かは、リチウムとの電気化学的反応の前後におけるX線回折チャートを比較することにより容易に判断することができる。例えば、リチウムとの電気化学的反応の前後において回折ピークの位置が変化すれば、リチウムと反応可能な反応相に対応するものである。この場合には、例えば、低結晶性あるいは非晶質な反応相の回折ピークが2θ=20°〜50°の間に見られる。この低結晶性あるいは非晶質な反応相は、例えば、上記した各構成元素を含んでおり、主に、炭素により低結晶化あるいは非晶質化しているものと考えられる。
なお、SnCoC含有材料は、低結晶性あるいは非晶質な相に加えて、各構成元素の単体または一部を含む相を有している場合もある。
特に、SnCoC含有材料では、構成元素である炭素の少なくとも一部が、他の構成元素である金属元素あるいは半金属元素と結合しているのが好ましい。スズなどの凝集あるいは結晶化が抑制されるからである。
元素の結合状態を調べる測定方法としては、例えばX線光電子分光法(X-ray Photoelectron Spectroscopy;XPS)が挙げられる。このXPSは、軟X線(市販の装置ではAl−Kα線か、Mg−Kα線を用いる)を試料表面に照射し、試料表面から飛び出してくる光電子の運動エネルギーを測定することにより、試料表面から数nmの領域の元素組成、および元素の結合状態を調べる方法である。
元素の内殻軌道電子の束縛エネルギーは、第1近似的には、元素上の電荷密度と相関して変化する。例えば、炭素元素の電荷密度が近傍に存在する元素との相互作用により減少した場合には、2p電子などの外殻電子が減少しているので、炭素元素の1s電子は殻から強い束縛力を受けることになる。すなわち、元素の電荷密度が減少すると、束縛エネルギーは高くなる。XPSでは、束縛エネルギーが高くなると、高いエネルギー領域にピークはシフトするようになっている。
XPSにおいて、炭素の1s軌道(C1s)のピークは、グラファイトであれば、金原子の4f軌道(Au4f)のピークが84.0eVに得られるようにエネルギー較正された装置において、284.5eVに現れる。また、表面汚染炭素であれば、284.8eVに現れる。これに対して、炭素元素の電荷密度が高くなる場合、例えば炭素よりも陽性な元素と結合している場合には、C1sのピークは、284.5eVよりも低い領域に現れる。すなわち、SnCoC含有材料に含まれる炭素の少なくとも一部が他の構成元素である金属元素または半金属元素などと結合している場合には、SnCoC含有材料について得られるC1sの合成波のピークが284.5eVよりも低い領域に現れる。
なお、XPS測定を行う場合には、表面が表面汚染炭素で覆われている際に、XPS装置に付属のアルゴンイオン銃で表面を軽くスパッタするのが好ましい。また、測定対象のSnCoC含有材料が負極22中に存在する場合には、二次電池を解体して負極22を取り出したのち、炭酸ジメチルなどの揮発性溶媒で洗浄するとよい。負極22の表面に存在する揮発性の低い溶媒と電解質塩とを除去するためである。これらのサンプリングは、不活性雰囲気下で行うのが望ましい。
また、XPS測定では、スペクトルのエネルギー軸の補正に、例えばC1sのピークを用いる。通常、物質表面には表面汚染炭素が存在しているので、表面汚染炭素のC1sのピークを284.8eVとし、それをエネルギー基準とする。なお、XPS測定では、C1sのピークの波形は、表面汚染炭素のピークとSnCoC含有材料中の炭素のピークとを含んだ形として得られるので、例えば市販のソフトウエアを用いて解析することにより、表面汚染炭素のピークと、SnCoC含有材料中の炭素のピークとを分離する。波形の解析では、最低束縛エネルギー側に存在する主ピークの位置をエネルギー基準(284.8eV)とする。
このSnCoC含有材料は、例えば、各構成元素の原料を混合した混合物を電気炉、高周波誘導炉あるいはアーク溶解炉などで溶解させたのち、凝固させることにより形成可能である。また、ガスアトマイズあるいは水アトマイズなどの各種アトマイズ法や、各種ロール法や、メカニカルアロイング法あるいはメカニカルミリング法などのメカノケミカル反応を利用した方法などを用いてもよい。中でも、メカノケミカル反応を利用した方法が好ましい。SnCoC含有材料が低結晶性あるいは非晶質な構造になるからである。メカノケミカル反応を利用した方法では、例えば、遊星ボールミル装置やアトライタなどの製造装置を用いることができる。
原料には、各構成元素の単体を混合して用いてもよいが、炭素以外の構成元素の一部については合金を用いるのが好ましい。このような合金に炭素を加えてメカニカルアロイング法を利用した方法によって合成することにより、低結晶性あるいは非晶質な構造が得られ、反応時間も短縮されるからである。なお、原料の形態は、粉体であってもよいし、塊状であってもよい。
このSnCoC含有材料の他、スズ、コバルト、鉄および炭素を構成元素として有するSnCoFeC含有材料も好ましい。このSnCoFeC含有材料の組成は、任意に設定可能である。例えば、鉄の含有量を少なめに設定する場合の組成としては、炭素の含有量が9.9質量%以上29.7質量%以下、鉄の含有量が0.3質量%以上5.9質量%以下、スズとコバルトとの合計に対するコバルトの割合(Co/(Sn+Co))が30質量%以上70質量%以下であるのが好ましい。また、例えば、鉄の含有量を多めに設定する場合の組成としては、炭素の含有量が11.9質量%以上29.7質量%以下、スズとコバルトと鉄との合計に対するコバルトと鉄との合計の割合((Co+Fe)/(Sn+Co+Fe))が26.4質量%以上48.5質量%以下、コバルトと鉄との合計に対するコバルトの割合(Co/(Co+Fe))が9.9質量%以上79.5質量%以下であるのが好ましい。このような組成範囲において、高いエネルギー密度が得られるからである。このSnCoFeC含有材料の結晶性、元素の結合状態の測定方法、および形成方法などについては、上記したSnCoC含有材料と同様である。
リチウムを吸蔵および放出することが可能な負極材料として、ケイ素の単体、合金あるいは化合物や、スズの単体、合金あるいは化合物や、それらの1種あるいは2種以上の相を少なくとも一部に有する材料を用いた負極活物質層22Bは、例えば、気相法、液相法、溶射法、塗布法あるいは焼成法、またはそれらの2種以上の方法を用いて形成される。この場合には、負極集電体22Aと負極活物質層22Bとが界面の少なくとも一部において合金化しているのが好ましい。詳細には、両者の界面において、負極集電体22Aの構成元素が負極活物質層22Bに拡散していてもよいし、負極活物質層22Bの構成元素が負極集電体22Aに拡散していてもよいし、それらの構成元素が互いに拡散し合っていてもよい。充放電時における負極活物質層22Bの膨張および収縮に起因する破壊が抑制されると共に、負極集電体22Aと負極活物質層22Bとの間の電子伝導性が向上するからである。
なお、気相法としては、例えば、物理堆積法あるいは化学堆積法、具体的には真空蒸着法、スパッタ法、イオンプレーティング法、レーザーアブレーション法、熱化学気相成長(Chemical Vapor Deposition :CVD)法あるいはプラズマ化学気相成長法などが挙げられる。液相法としては、電解鍍金あるいは無電解鍍金などの公知の手法を用いることができる。塗布法とは、例えば、粒子状の負極活物質を結着剤などと混合したのち、溶剤に分散させて塗布する方法である。焼成法とは、例えば、塗布法により塗布したのち、結着剤などの融点よりも高い温度で熱処理する方法である。焼成法に関しても公知の手法が利用可能であり、例えば、雰囲気焼成法、反応焼成法あるいはホットプレス焼成法が挙げられる。
上記した他、リチウムを吸蔵および放出することが可能な負極材料としては、例えば、炭素材料が挙げられる。この炭素材料とは、例えば、易黒鉛化性炭素や、(002)面の面間隔が0.37nm以上の難黒鉛化性炭素や、(002)面の面間隔が0.34nm以下の黒鉛などである。より具体的には、熱分解炭素類、コークス類、ガラス状炭素繊維、有機高分子化合物焼成体、活性炭あるいはカーボンブラック類などがある。このうち、コークス類には、ピッチコークス、ニードルコークスあるいは石油コークスなどが含まれる。有機高分子化合物焼成体とは、フェノール樹脂やフラン樹脂などを適当な温度で焼成して炭素化したものをいう。炭素材料は、リチウムの吸蔵および放出に伴う結晶構造の変化が非常に少ないため、高いエネルギー密度が得られると共に優れたサイクル特性が得られ、さらに導電剤としても機能するので好ましい。なお、炭素材料の形状は、繊維状、球状、粒状あるいは鱗片状のいずれでもよい。
また、リチウムを吸蔵および放出することが可能な負極材料としては、例えば、リチウムを吸蔵および放出することが可能な金属酸化物あるいは高分子化合物なども挙げられる。金属酸化物とは、例えば、酸化鉄、酸化ルテニウムあるいは酸化モリブデンなどであり、高分子化合物とは、例えば、ポリアセチレン、ポリアニリンあるいはポリピロールなどである。
もちろん、リチウムを吸蔵および放出することが可能な負極材料は、上記以外のものであってもよい。また、上記した一連の負極材料は、任意の組み合わせで2種以上混合されもよい。
上記した負極材料からなる負極活物質は、複数の粒子状をなしている。すなわち、負極活物質層22Bは、複数の負極活物質粒子を有しており、その負極活物質粒子は、例えば、上記した気相法などにより形成されている。ただし、負極活物質粒子は、気相法以外の方法により形成されていてもよい。
負極活物質粒子が気相法などの堆積法により形成される場合には、その負極活物質粒子が単一の堆積工程を経て形成された単層構造を有していてもよいし、複数回の堆積工程を経て形成された多層構造を有していてもよい。ただし、堆積時に高熱を伴う蒸着法などにより負極活物質粒子を形成する場合には、その負極活物質粒子が多層構造を有しているのが好ましい。負極材料の堆積工程を複数回に分割して行う(負極材料を順次薄く形成して堆積させる)ことにより、その堆積工程を1回で行う場合と比較して負極集電体22Aが高熱に晒される時間が短くなり、熱的ダメージを受けにくくなるからである。
この負極活物質粒子は、例えば、負極集電体22Aの表面から負極活物質層22Bの厚さ方向に成長しており、その根元において負極集電体22Aに連結されている。この場合には、負極活物質粒子が気相法により形成されており、上記したように、負極集電体22Aとの界面の少なくとも一部において合金化しているのが好ましい。詳細には、両者の界面において、負極集電体22Aの構成元素が負極活物質粒子に拡散していてもよいし、負極活物質粒子の構成元素が負極集電体22Aに拡散していてもよいし、両者の構成元素が互いに拡散しあっていてもよい。
特に、負極活物質層22Bは、必要に応じて、負極活物質粒子の表面(電解液と接する領域)を被覆する酸化物含有膜を有しているのが好ましい。酸化物含有膜が電解液に対する保護膜として機能し、充放電を繰り返しても電解液の分解反応が抑制されるため、サイクル特性が向上するからである。この酸化物含有膜は、負極活物質粒子の表面のうちの一部を被覆していてもよいし、全部を被覆していてもよい。
この酸化物含有膜は、例えば、ケイ素、ゲルマニウムおよびスズからなる群のうちの少なくとも1種の酸化物を含有しており、中でも、ケイ素の酸化物を含有しているのが好ましい。負極活物質粒子の表面を全体に渡って容易に被覆しやすいと共に、優れた保護作用が得られるからである。もちろん、酸化物含有膜は、上記以外の他の酸化物を含有していてもよい。この酸化物含有膜は、例えば、気相法あるいは液相法により形成されており、中でも液相析出法、ゾルゲル法、塗布法あるいはディップコーティング法などの液相法が好ましく、液相析出法がより好ましい。負極活物質粒子の表面を広い範囲に渡って容易に被覆しやすいからである。
また、負極活物質層22Bは、必要に応じて、負極活物質粒子の粒子間の隙間や粒子内の隙間に、リチウムと合金化しない金属材料を有しているのが好ましい。金属材料を介して複数の負極活物質粒子が結着されると共に、上記した隙間に金属材料が存在することで負極活物質層22Bの膨張および収縮が抑制されるため、サイクル特性が向上するからである。
この金属材料は、例えば、リチウムと合金化しない金属元素を構成元素として有している。このような金属元素としては、例えば、鉄、コバルト、ニッケル、亜鉛および銅からなる群のうちの少なくとも1種が挙げられ、中でも、コバルトが好ましい。上記した隙間に金属材料が容易に入り込みやすいと共に、優れた結着作用が得られるからである。もちろん、金属材料は、上記以外の他の金属元素を有していてもよい。ただし、ここで言う「金属材料」とは、単体に限らず、合金や金属化合物まで含む広い概念である。この金属材料は、例えば、気相法あるいは液相法により形成されており、中でも電解鍍金法あるいは無電解鍍金法などの液相法が好ましく、電解鍍金法がより好ましい。上記した隙間に金属材料が入り込みやすくなると共に、その形成時間が短くて済むからである。
なお、負極活物質層22Bは、上記した酸化物含有膜あるいは金属材料のいずれか一方だけを有していてもよいし、双方を有していてもよい。ただし、サイクル特性をより向上させるためには、双方を含んでいるのが好ましい。
ここで、図3〜図6を参照して、負極22の詳細な構成について説明する。
まず、負極活物質層22Bが複数の負極活物質粒子と共に酸化物含有膜を有する場合について説明する。図3は本発明の負極22の断面構造を模式的に表しており、図4は参考例の負極の断面構造を模式的に表している。図3および図4では、負極活物質粒子が単層構造を有している場合を示している。
本発明の負極では、図3に示したように、例えば、蒸着法などの気相法により負極集電体22A上に負極材料が堆積されると、その負極集電体22A上に複数の負極活物質粒子221が形成される。この場合には、負極集電体22Aの表面が粗面化され、その表面に複数の突起部(例えば、電解処理により形成された微粒子)が存在すると、負極活物質粒子221が上記した突起部ごとに厚さ方向に成長するため、複数の負極活物質粒子221が負極集電体22A上において配列されると共に根元において負極集電体22Aの表面に連結される。こののち、例えば、液相析出法などの液相法により負極活物質粒子221の表面に酸化物含有膜222が形成されると、その酸化物含有膜222は負極活物質粒子221の表面をほぼ全体に渡って被覆し、特に、負極活物質粒子221の頭頂部から根元に至る広い範囲を被覆する。この酸化物含有膜222による広範囲な被覆状態は、その酸化物含有膜222が液相法により形成された場合に得られる特徴である。すなわち、液相法により酸化物含有膜222を形成すると、その被覆作用が負極活物質粒子221の頭頂部だけでなく根元まで広く及ぶため、その根元まで酸化物含有膜222により被覆される。
これに対して、参考例の負極では、図4に示したように、例えば、気相法により複数の負極活物質粒子221が形成されたのち、同様に気相法により酸化物含有膜223が形成されると、その酸化物含有膜223は負極活物質粒子221の頭頂部だけを被覆する。この酸化物含有膜223による狭範囲な被覆状態は、その酸化物含有膜223が気相法により形成された場合に得られる特徴である。すなわち、気相法により酸化物含有膜223を形成すると、その被覆作用が負極活物質粒子221の頭頂部に及ぶものの根元まで及ばないため、その根元までは酸化物含有膜223により被覆されない。
なお、図3では、気相法により負極活物質層22Bが形成される場合について説明したが、焼結法などにより負極活物質層22Bが形成される場合においても同様に、複数の負極活物質粒子の表面をほぼ全体に渡って被覆するように酸化物含有膜が形成される。
次に、負極活物質層22Bが複数の負極活物質粒子と共にリチウムと合金化しない金属材料を有する場合について説明する。図5は負極22の断面構造を拡大して表しており、(A)は走査型電子顕微鏡(scanning electron microscope:SEM)写真(二次電子像)、(B)は(A)に示したSEM像の模式絵である。図5では、複数の負極活物質粒子221が粒子内に多層構造を有している場合を示している。
負極活物質粒子221が多層構造を有する場合には、その複数の負極活物質粒子221の配列構造、多層構造および表面構造に起因して、負極活物質層22B中に複数の隙間224が生じている。この隙間224は、主に、発生原因に応じて分類された2種類の隙間224A,224Bを含んでいる。隙間224Aは、隣り合う負極活物質粒子221間に生じるものであり、隙間224Bは、負極活物質粒子221内の各階層間に生じるものである。
なお、負極活物質粒子221の露出面(最表面)には、空隙225が生じる場合がある。この空隙225は、負極活物質粒子221の表面にひげ状の微細な突起部(図示せず)が生じることに伴い、その突起部間に生じるものである。この空隙225は、負極活物質粒子221の露出面において、全体に渡って生じる場合もあれば、一部だけに生じる場合もある。ただし、上記したひげ状の突起部は、負極活物質粒子221の形成時ごとにその表面に生じるため、空隙225は、負極活物質粒子221の露出面だけでなく、各階層間にも生じる場合がある。
図6は負極22の他の断面構造を表しており、図5に対応している。負極活物質層22Bは、隙間224A,224Bに、リチウムと合金化しない金属材料226を有している。この場合には、隙間224A,224Bのうちのいずれか一方だけに金属材料226を有していてもよいが、双方に金属材料226を有しているのが好ましい。より高い効果が得られるからである。
この金属材料226は、隣り合う負極活物質粒子221間の隙間224Aに入り込んでいる。詳細には、気相法などにより負極活物質粒子221が形成される場合には、上記したように、負極集電体22Aの表面に存在する突起部ごとに負極活物質粒子221が成長するため、隣り合う負極活物質粒子221間に隙間224Aが生じる。この隙間224Aは、負極活物質層22Bの結着性を低下させる原因となるため、その結着性を高めるために、上記した隙間224Aに金属材料226が充填されている。この場合には、隙間224Aの一部でも充填されていればよいが、その充填量が多いほど好ましい。負極活物質層22Bの結着性がより向上するからである。金属材料226の充填量は、20%以上が好ましく、40%以上がより好ましく、80%以上がさらに好ましい。
また、金属材料226は、負極活物質粒子221内の隙間224Bに入り込んでいる。詳細には、負極活物質粒子221が多層構造を有する場合には、各階層間に隙間224Bが生じる。この隙間224Bは、上記した隙間224Aと同様に、負極活物質層22Bの結着性を低下させる原因となるため、その結着性を高めるために、上記した隙間224Bに金属材料226が充填されている。この場合には、隙間224Bの一部でも充填されていればよいが、その充填量が多いほど好ましい。負極活物質層22Bの結着性がより向上するからである。
なお、負極活物質層22Bは、最上層の負極活物質粒子221の露出面に生じるひげ状の微細な突起部(図示せず)が二次電池の性能に悪影響を及ぼすことを抑えるために、空隙225に金属材料226を有していてもよい。詳細には、気相法などにより負極活物質粒子221が形成される場合には、その表面にひげ状の微細な突起部が生じるため、その突起部間に空隙225が生じる。この空隙225は、負極活物質粒子221の表面積の増加を招き、その表面に形成される不可逆性の被膜の量も増加させるため、電極反応(充放電反応)の進行度を低下させる原因となる可能性がある。したがって、電極反応の進行度の低下を抑えるために、上記した空隙225に金属材料226が埋め込まれている。この場合には、空隙225の一部でも埋め込まれていればよいが、その埋め込む量が多いほど好ましい。電極反応の進行度の低下がより抑えられるからである。図6において、最上層の負極活物質粒子221の表面に金属材料226が点在していることは、その点在箇所に上記した微細な突起部が存在していること表している。もちろん、金属材料226は、必ずしも負極活物質粒子221の表面に点在していなければならないわけではなく、その表面全体を被覆していてもよい。
特に、隙間224Bに入り込んだ金属材料226は、各階層における空隙225を埋め込む機能も果たしている。詳細には、負極材料が複数回に渡って堆積される場合には、その堆積時ごとに負極活物質粒子221の表面に上記した微細な突起部が生じる。このことから、金属材料226は、各階層における隙間224Bに充填されているだけでなく、各階層における空隙225も埋め込んでいる。
なお、図5および図6では、負極活物質粒子221が多層構造を有しており、負極活物質層22B中に隙間224A,224Bの双方が存在している場合について説明したため、負極活物質層22Bが隙間224A,224Bに金属材料226を有している。これに対して、負極活物質粒子221が単層構造を有しており、負極活物質層22B中に隙間224Aだけが存在する場合には、負極活物質層22Bが隙間224Aだけに金属材料226を有することとなる。もちろん、空隙225は両者の場合において生じるため、いずれの場合においても空隙225に金属材料226を有することとなる。
被膜22Cは、上記した化2に示した化合物のいずれか1種あるいは2種以上を含有している。この被膜22Cが負極活物質層22B上に設けられているのは、負極22の化学的安定性が向上し、それに伴って負極22に隣接する電解質(電解液)の化学的安定性も向上するからである。これにより、負極22においてリチウムが効率よく吸蔵および放出されると共に、電解質の分解反応が抑制されるため、電池特性の中でも特にサイクル特性が向上する。
この被膜22Cは、負極活物質層22Bの全面を覆うように設けられていてもよいし、その表面の一部を覆うように設けられていてもよい。この場合には、被膜22Cの一部が負極活物質層22Bの内部に入り込んでいてもよい。
特に、被膜22Cは、上記した化2に示した化合物と共に、アルカリ金属塩あるいはアルカリ土類金属塩(化2に示した化合物に該当するものを除く)のいずれか1種あるいは2種以上を含有しているのが好ましい。被膜抵抗が抑えられるため、サイクル特性がより向上するからである。なお、ここでいう「アルカリ土類金属」も、長周期型周期表における2族元素のことである。
このようなアルカリ金属塩あるいはアルカリ土類金属塩としては、例えば、アルカリ金属元素あるいはアルカリ土類金属元素の炭酸塩、ハロゲン化物塩、ホウ酸塩、リン酸塩あるいはスルホン酸塩などが挙げられる。具体的には、例えば、炭酸リチウム(Li2 CO3 )、フッ化リチウム(LiF)、四ホウ酸リチウム(Li2 4 7 )、メタホウ酸リチウム(LiBO2 )、ピロリン酸リチウム(Li4 2 7 )、トリポリリン酸リチウム(Li5 3 10)、オルトケイ酸リチウム(Li4 SiO4 )、メタケイ酸リチウム(Li2 SiO3 )、エタンジスルホン酸二リチウム、プロパンジスルホン酸二リチウム、スルホ酢酸二リチウム、スルホプロピオン酸二リチウム、スルホブタン酸二リチウム、スルホ安息香酸二リチウム、コハク酸二リチウム、スルホコハク酸三リチウム、スクエア酸二リチウム、エタンジスルホン酸マグネシウム、プロパンジスルホン酸マグネシウム、スルホ酢酸マグネシウム、スルホプロピオン酸マグネシウム、スルホブタン酸マグネシウム、スルホ安息香酸マグネシウム、コハク酸マグネシウム、二スルホコハク酸三マグネシウム、エタンジスルホン酸カルシウム、プロパンジスルホン酸カルシウム、スルホ酢酸カルシウム、スルホプロピオン酸カルシウム、スルホブタン酸カルシウム、スルホ安息香酸カルシウム、コハク酸カルシウム、あるいは二スルホコハク酸三カルシウムなどである。
被膜22Cを形成する方法としては、例えば、塗布法、浸漬法あるいはディップコーティング法などの液相法や、蒸着法、スパッタ法あるいはCVD(Chemical Vapor Deposition:化学気相成長)法などの気相法が挙げられる。これらの方法については、単独で用いてもよいし、2種以上の方法を併用してもよい。中でも、液相法として、化2に示した化合物を含有する溶液を用いて被膜22Cを形成するのが好ましい。具体的には、例えば、浸積法では、化2に示した化合物を含有する溶液中に、負極活物質層22Bが形成された負極集電体22Aを浸漬し、あるいは塗布法では、化2に示した化合物を含有する溶液を負極活物質層22Bの表面に塗布する。高い化学的安定性を有する良好な被膜22Bが容易に形成されるからである。化2に示した化合物を溶解させる溶媒としては、例えば、水などの極性の高い溶媒が挙げられる。
セパレータ23は、正極21と負極22とを隔離し、両極の接触に起因する電流の短絡を防止しながらリチウムイオンを通過させるものである。このセパレータ23は、例えば、ポリテトラフルオロエチレン、ポリプロピレンあるいはポリエチレンなどの合成樹脂からなる多孔質膜や、セラミックからなる多孔質膜などにより構成されており、これらの2種以上の多孔質膜が積層されたものであってもよい。
このセパレータ23には、液状の電解質である電解液が含浸されている。この電解液は、溶媒と、それに溶解された電解質塩とを含んでいる。
溶媒は、例えば、有機溶剤などの非水溶媒のいずれか1種あるいは2種以上を含有している。この非水溶媒としては、例えば、炭酸エチレン、炭酸プロピレン、炭酸ブチレン、炭酸ジメチル、炭酸ジエチル、炭酸エチルメチルあるいは炭酸メチルプロピルなどの炭酸エステル系溶媒などが挙げられる。優れた電池容量、サイクル特性および保存特性が得られるからである。中でも、炭酸エチレンあるいは炭酸プロピレンなどの高粘度溶媒と、炭酸ジメチル、炭酸エチルメチルあるいは炭酸ジエチルなどの低粘度溶媒とを混合したものが好ましい。電解質塩の解離性およびイオンの移動度が向上するため、より高い効果が得られるからである。
この溶媒は、化26〜化28で表される不飽和結合を有する環状炭酸エステルを含有しているのが好ましい。サイクル特性が向上するからである。これらは単独でも良いし、複数種が混合されてもよい。
Figure 2010015885
(R11およびR12は水素基あるいはアルキル基である。)
Figure 2010015885
(R13〜R16は水素基、アルキル基、ビニル基あるいはアリル基であり、それらのうちの少なくとも1つはビニル基あるいはアリル基である。)
Figure 2010015885
(R17はアルキレン基である。)
化26に示した不飽和結合を有する環状炭酸エステルは、炭酸ビニレン系化合物である。この炭酸ビニレン系化合物としては、例えば、炭酸ビニレン(1,3−ジオキソール−2−オン)、炭酸メチルビニレン(4−メチル−1,3−ジオキソール−2−オン)、炭酸エチルビニレン(4−エチル−1,3−ジオキソール−2−オン)、4,5−ジメチル−1,3−ジオキソール−2−オン、4,5−ジエチル−1,3−ジオキソール−2−オン、4−フルオロ−1,3−ジオキソール−2−オン、あるいは4−トリフルオロメチル−1,3−ジオキソール−2−オンなどが挙げられ、中でも炭酸ビニレンが好ましい。容易に入手可能であると共に、高いサイクル特性が得られるからである。
化27に示した不飽和結合を有する環状炭酸エステルは、炭酸ビニルエチレン系化合物である。炭酸ビニルエチレン系化合物としては、例えば、炭酸ビニルエチレン(4−ビニル−1,3−ジオキソラン−2−オン)、4−メチル−4−ビニル−1,3−ジオキソラン−2−オン、4−エチル−4−ビニル−1,3−ジオキソラン−2−オン、4−n−プロピル−4−ビニル−1,3−ジオキソラン−2−オン、5−メチル−4−ビニル−1,3−ジオキソラン−2−オン、4,4−ジビニル−1,3−ジオキソラン−2−オン、あるいは4,5−ジビニル−1,3−ジオキソラン−2−オンなどが挙げられ、中でも炭酸ビニルエチレンが好ましい。容易に入手可能であると共に、高いサイクル特性が得られるからである。もちろん、R13〜R16としては、全てがビニル基でもよいし、全てがアリル基でもよいし、ビニル基とアリル基とが混在していてもよい。
化28に示した不飽和結合を有する環状炭酸エステルは、炭酸メチレンエチレン系化合物である。炭酸メチレンエチレン系化合物としては、4−メチレン−1,3−ジオキソラン−2−オン、4,4−ジメチル−5−メチレン−1,3−ジオキソラン−2−オン、あるいは4,4−ジエチル−5−メチレン−1,3−ジオキソラン−2−オンなどが挙げられる。この炭酸メチレンエチレン系化合物としては、1つのメチレン基を有するもの(化28に示した化合物)の他、2つのメチレン基を有するものであってもよい。
なお、不飽和結合を有する環状炭酸エステルとしては、化26〜化28に示したものの他、ベンゼン環を有する炭酸カテコール(カテコールカーボネート)などであってもよい。
また、溶媒は、化29で表されるハロゲンを構成元素として有する鎖状炭酸エステルおよび化30で表されるハロゲンを構成元素として有する環状炭酸エステルのうちの少なくとも1種を含有しているのが好ましい。負極22の表面に安定な保護膜が形成されて電解液の分解反応が抑制されるため、サイクル特性が向上するからである。
Figure 2010015885
(R21〜R26は水素基、ハロゲン基、アルキル基あるいはハロゲン化アルキル基であり、それらのうちの少なくとも1つはハロゲン基あるいはハロゲン化アルキル基である。)
Figure 2010015885
(R27〜R30は水素基、ハロゲン基、アルキル基あるいはハロゲン化アルキル基であり、それらのうちの少なくとも1つはハロゲン基あるいはハロゲン化アルキル基である。)
なお、化29中のR21〜R26は、同一でもよいし、異なってもよい。このことは、化30中のR27〜30についても同様である。ハロゲンの種類は、特に限定されないが、例えば、フッ素、塩素および臭素からなる群のうちの少なくとも1種が挙げられ、中でも、フッ素が好ましい。高い効果が得られるからである。もちろん、他のハロゲンであってもよい。
ハロゲンの数は、1つよりも2つが好ましく、さらに3つ以上であってもよい。保護膜を形成する能力が高くなり、より強固で安定な保護膜が形成されるため、電解液の分解反応がより抑制されるからである。
化29に示したハロゲンを有する鎖状炭酸エステルとしては、例えば、炭酸フルオロメチルメチル、炭酸ビス(フルオロメチル)あるいは炭酸ジフルオロメチルメチルなどが挙げられる。これらは単独でもよいし、複数種が混合されてもよい。
化30に示したハロゲンを有する環状炭酸エステルとしては、例えば、化31および化32で表される一連の化合物が挙げられる。すなわち、化31に示した(1)の4−フルオロ−1,3−ジオキソラン−2−オン、(2)の4−クロロ−1,3−ジオキソラン−2−オン、(3)の4,5−ジフルオロ−1,3−ジオキソラン−2−オン、(4)のテトラフルオロ−1,3−ジオキソラン−2−オン、(5)の4−クロロ−5−フルオロ−1,3−ジオキソラン−2−オン、(6)の4,5−ジクロロ−1,3−ジオキソラン−2−オン、(7)のテトラクロロ−1,3−ジオキソラン−2−オン、(8)の4,5−ビストリフルオロメチル−1,3−ジオキソラン−2−オン、(9)の4−トリフルオロメチル−1,3−ジオキソラン−2−オン、(10)の4,5−ジフルオロ−4,5−ジメチル−1,3−ジオキソラン−2−オン、(11)の4,4−ジフルオロ−5−メチル−1,3−ジオキソラン−2−オン、(12)の4−エチル−5,5−ジフルオロ−1,3−ジオキソラン−2−オンなどである。また、化32に示した(1)の4−フルオロ−5−トリフルオロメチル−1,3−ジオキソラン−2−オン、(2)の4−メチル−5−トリフルオロメチル−1,3−ジオキソラン−2−オン、(3)の4−フルオロ−4,5−ジメチル−1,3−ジオキソラン−2−オン、(4)の5−(1,1−ジフルオロエチル)−4,4−ジフルオロ−1,3−ジオキソラン−2−オン、(5)の4,5−ジクロロ−4,5−ジメチル−1,3−ジオキソラン−2−オン、(6)の4−エチル−5−フルオロ−1,3−ジオキソラン−2−オン、(7)の4−エチル−4,5−ジフルオロ−1,3−ジオキソラン−2−オン、(8)の4−エチル−4,5,5−トリフルオロ−1,3−ジオキソラン−2−オン、(9)の4−フルオロ−4−メチル−1,3−ジオキソラン−2−オンなどである。これらは単独でもよいし、複数種が混合されてもよい。
Figure 2010015885
Figure 2010015885
中でも、4−フルオロ−1,3−ジオキソラン−2−オンあるいは4,5−ジフルオロ−1,3−ジオキソラン−2−オンが好ましく、4,5−ジフルオロ−1,3−ジオキソラン−2−オンがより好ましい。特に、4,5−ジフルオロ−1,3−ジオキソラン−2−オンとしては、シス異性体よりもトランス異性体が好ましい。容易に入手可能であると共に、高い効果が得られるからである。
また、溶媒は、スルトン(環状スルホン酸エステル)や酸無水物を含有しているのが好ましい。電解液の化学的安定性がより向上するからである。
スルトンとしては、例えば、プロパンスルトンあるいはプロペンスルトンなどが挙げられ、中でも、プロペンスルトンが好ましい。これらは単独でもよいし、複数種が混合されてもよい。溶媒中におけるスルトンの含有量は、例えば、0.5重量%以上5重量%以下である。
酸無水物としては、例えば、コハク酸無水物、グルタル酸無水物あるいはマレイン酸無水物などのカルボン酸無水物や、エタンジスルホン酸無水物あるいはプロパンジスルホン酸無水物などのジスルホン酸無水物や、スルホ安息香酸無水物、スルホプロピオン酸無水物あるいはスルホ酪酸無水物などのカルボン酸とスルホン酸との無水物などが挙げられ、中でも、コハク酸無水物あるいはスルホ安息香酸無水物が好ましい。これらは単独でもよいし、複数種が混合されてもよい。溶媒中における酸無水物の含有量は、例えば、0.5重量%以上5重量%以下である。
電解質塩は、例えば、リチウム塩などの軽金属塩のいずれか1種あるいは2種以上を含んでいる。このリチウム塩としては、例えば、六フッ化リン酸リチウム、四フッ化ホウ酸リチウム、過塩素酸リチウムあるいは六フッ化ヒ酸リチウムなどが挙げられる。優れた電池容量、サイクル特性および保存特性が得られるからである。中でも、六フッ化リン酸リチウムが好ましい。内部抵抗が低下するため、より高い効果が得られるからである。
この電解質塩は、化33〜化35で表される化合物からなる群のうちの少なくとも1種を含有しているのが好ましい。上記した六フッ化リン酸リチウム等と一緒に用いられた場合に、より高い効果が得られるからである。なお、化33中のR33は、同一でもよいし、異なってもよい。このことは、化34中のR41〜R43および化35中のR51およびR52についても同様である。
Figure 2010015885
(X31は長周期型周期表における1族元素あるいは2族元素、またはアルミニウム(Al)である。M31は遷移金属元素、または長周期型周期表における13族元素、14族元素あるいは15族元素である。R31はハロゲン基である。Y31は−(O=)C−R32−C(=O)−、−(O=)C−C(R33)2 −あるいは−(O=)C−C(=O)−である。ただし、R32はアルキレン基、ハロゲン化アルキレン基、アリーレン基あるいはハロゲン化アリーレン基である。R33はアルキル基、ハロゲン化アルキル基、アリール基あるいはハロゲン化アリール基である。なお、a3は1〜4の整数であり、b3は0、2あるいは4であり、c3、d3、m3およびn3は1〜3の整数である。)
Figure 2010015885
(X41は長周期型周期表における1族元素あるいは2族元素である。M41は遷移金属元素、または長周期型周期表における13族元素、14族元素あるいは15族元素である。Y41は−(O=)C−(C(R41)2 b4−C(=O)−、−(R43)2 C−(C(R42)2 c4−C(=O)−、−(R43)2 C−(C(R42)2 c4−C(R43)2 −、−(R43)2 C−(C(R42)2 c4−S(=O)2 −、−(O=)2 S−(C(R42)2 d4−S(=O)2 −あるいは−(O=)C−(C(R42)2 d4−S(=O)2 −である。ただし、R41およびR43は水素基、アルキル基、ハロゲン基あるいはハロゲン化アルキル基であり、それぞれのうちの少なくとも1つはハロゲン基あるいはハロゲン化アルキル基である。R42は水素基、アルキル基、ハロゲン基あるいはハロゲン化アルキル基である。なお、a4、e4およびn4は1あるいは2であり、b4およびd4は1〜4の整数であり、c4は0〜4の整数であり、f4およびm4は1〜3の整数である。)
Figure 2010015885
(X51は長周期型周期表における1族元素あるいは2族元素である。M51は遷移金属元素、または長周期型周期表における13族元素、14族元素あるいは15族元素である。Rfはフッ素化アルキル基あるいはフッ素化アリール基であり、いずれの炭素数も1〜10である。Y51は−(O=)C−(C(R51)2 d5−C(=O)−、−(R52)2 C−(C(R51)2 d5−C(=O)−、−(R52)2 C−(C(R51)2 d5−C(R52)2 −、−(R52)2 C−(C(R51)2 d5−S(=O)2 −、−(O=)2 S−(C(R51)2 e5−S(=O)2 −あるいは−(O=)C−(C(R51)2 e5−S(=O)2 −である。ただし、R51は水素基、アルキル基、ハロゲン基あるいはハロゲン化アルキル基である。R52は水素基、アルキル基、ハロゲン基あるいはハロゲン化アルキル基であり、そのうちの少なくとも1つはハロゲン基あるいはハロゲン化アルキル基である。なお、a5、f5およびn5は1あるいは2であり、b5、c5およびe5は1〜4の整数であり、d5は0〜4の整数であり、g5およびm5は1〜3の整数である。)
なお、長周期型周期表とは、IUPAC(国際純正・応用化学連合)が提唱する無機化学命名法改訂版により表されるものである。具体的には、1族元素とは、水素、リチウム、ナトリウム、カリウム、ルビジウム、セシウムおよびフランシウムである。2族元素とは、ベリリウム、マグネシウム、カルシウム、ストロンチウム、バリウムおよびラジウムである。13族元素とは、ホウ素、アルミニウム、ガリウム、インジウムおよびタリウムである。14族元素とは、炭素、ケイ素、ゲルマニウム、スズおよび鉛である。15族元素とは、窒素、リン、ヒ素、アンチモンおよびビスマスである。
化33に示した化合物としては、例えば、化36の(1)〜(6)で表される化合物などが挙げられる。化34に示した化合物としては、例えば、化37の(1)〜(8)で表される化合物などが挙げられる。化35に示した化合物としては、例えば、化38で表される化合物などが挙げられる。なお、化33〜化35に示した構造を有する化合物であれば、化36〜化38に示した化合物に限定されないことは言うまでもない。
Figure 2010015885
Figure 2010015885
Figure 2010015885
また、電解質塩は、化39〜化41で表される化合物からなる群のうちの少なくとも1種を含有していてもよい。上記した六フッ化リン酸リチウム等と一緒に用いられた場合に、より高い効果が得られるからである。なお、化39中のmおよびnは、同一でもよいし、異なってもよい。このことは、化41中のp、qおよびrについても同様である。
Figure 2010015885
(mおよびnは1以上の整数である。)
Figure 2010015885
(R61は炭素数が2以上4以下の直鎖状あるいは分岐状のパーフルオロアルキレン基である。)
Figure 2010015885
(p、qおよびrは1以上の整数である。)
化39に示した鎖状の化合物としては、例えば、ビス(トリフルオロメタンスルホニル)イミドリチウム(LiN(CF3 SO2 2 )、ビス(ペンタフルオロエタンスルホニル)イミドリチウム(LiN(C2 5 SO2 2 )、(トリフルオロメタンスルホニル)(ペンタフルオロエタンスルホニル)イミドリチウム(LiN(CF3 SO2 )(C2 5 SO2 ))、(トリフルオロメタンスルホニル)(ヘプタフルオロプロパンスルホニル)イミドリチウム(LiN(CF3 SO2 )(C3 7 SO2 ))、あるいは(トリフルオロメタンスルホニル)(ノナフルオロブタンスルホニル)イミドリチウム(LiN(CF3 SO2 )(C4 9 SO2 ))などが挙げられる。これらは単独でもよいし、複数種が混合されてもよい。
化40に示した環状の化合物としては、例えば、化42で表される一連の化合物が挙げられる。すなわち、化42に示した(1)の1,2−パーフルオロエタンジスルホニルイミドリチウム、(2)の1,3−パーフルオロプロパンジスルホニルイミドリチウム、(3)の1,3−パーフルオロブタンジスルホニルイミドリチウム、(4)の1,4−パーフルオロブタンジスルホニルイミドリチウムなどである。これらは単独でもよいし、複数種が混合されてもよい。中でも、1,3−パーフルオロプロパンジスルホニルイミドリチウムが好ましい。高い効果が得られるからである。
Figure 2010015885
化41に示した鎖状の化合物としては、例えば、リチウムトリス(トリフルオロメタンスルホニル)メチド(LiC(CF3 SO2 3 )などが挙げられる。
電解質塩の含有量は、溶媒に対して0.3mol/kg以上3.0mol/kg以下であるのが好ましい。この範囲外では、イオン伝導性が極端に低下する可能性があるからである。
この二次電池は、例えば、以下の手順により製造される。
まず、正極21を作製する。最初に、正極活物質と、結着剤と、導電剤とを混合して正極合剤としたのち、有機溶剤に分散させてペースト状の正極合剤スラリーとする。続いて、ドクタブレードあるいはバーコータなどにより正極集電体21Aの両面に正極合剤スラリーを均一に塗布して乾燥させる。最後に、必要に応じて加熱しながらロールプレス機などにより塗膜を圧縮成型して正極活物質層21Bを形成する。この場合には、圧縮成型を複数回に渡って繰り返してもよい。
次に、負極22を作製する。最初に、粗面化された電解銅箔などからなる負極集電体22Aを準備したのち、蒸着法などの気相法により負極集電体22Aの両面に負極材料を堆積させて、複数の負極活物質粒子を形成する。続いて、必要に応じて、液相析出法などの液相法により酸化物含有膜を形成し、あるいは電解鍍金法などの液相法により金属材料を形成して、負極活物質層22Bを形成する。続いて、上記した化2に示した化合物を含有する溶液として、例えば、1重量%以上5重量%以下の濃度の水溶液を調製する。最後に、負極活物質層22Bが形成された負極集電体22Aを溶液中に数秒間浸漬してから引き上げ、室温で乾燥して被膜22Cを形成する。この被膜22Cを形成する場合には、上記した溶液を負極活物質層22Bの表面に塗布してから乾燥させるようにしてもよい。
二次電池の組み立ては、以下のようにして行う。最初に、正極集電体21Aに正極リード25を溶接などして取り付けると共に、負極集電体22Aに負極リード26を溶接などして取り付ける。続いて、セパレータ23を介して正極21と負極22とを積層および巻回させて巻回電極体20を作製したのち、その巻回中心にセンターピン24を挿入する。続いて、一対の絶縁板12,13で挟みながら巻回電極体20を電池缶11の内部に収納すると共に、正極リード25の先端部を安全弁機構15に溶接し、負極リード26の先端部を電池缶11に溶接する。続いて、上記した電解液を電池缶11の内部に注入して、セパレータ23に含浸させる。最後に、電池缶11の開口端部に電池蓋14、安全弁機構15および熱感抵抗素子16をガスケット17を介してかしめることにより、固定する。これにより、図1および図2に示した二次電池が完成する。
この二次電池では、充電を行うと、例えば、正極21からリチウムイオンが放出され、セパレータ23に含浸された電解液を介して負極22に吸蔵される。一方、放電を行うと、例えば、負極22からリチウムイオンが放出され、セパレータ23に含浸された電解液を介して正極21に吸蔵される。
この円筒型の二次電池によれば、負極22の被膜22Cが化2に示した化合物を含有しているので、その負極22の化学的安定性が向上する。これにより、負極22においてリチウムイオンが吸蔵および放出されやすくなると共に、電解液の分解反応が抑制されるため、サイクル特性などの電池特性を向上させることができる。この場合には、上記した化2に示した化合物を含有する溶液を用いて被膜22Cを形成しており、具体的には浸積処理や塗布処理などの簡単な処理を用いているので、減圧環境などの特殊な環境条件を要する方法を用いる場合と比較して、良好な被膜22Cを簡単に形成することができる。
特に、負極22が高容量化に有利なケイ素等(リチウムを吸蔵および放出することが可能であると共に金属元素および半金属元素のうちの少なくとも1種を有する材料)を含む場合にサイクル特性が向上するため、炭素材料などの他の負極材料を含む場合よりも高い効果を得ることができる。
なお、上記では、電池構造が円筒型である場合について説明したが、これに限定されるわけではなく、電池構造は円筒型以外であってもよい。
図7は他の電池構造を有する第1の二次電池の分解斜視構成を表しており、図8は図7に示した巻回電極体30のVIII−VIII線に沿った断面を拡大して示している。
この二次電池は、例えば、上記した円筒型の二次電池と同様にリチウムイオン二次電池であり、主に、フィルム状の外装部材40の内部に、正極リード31および負極リード32が取り付けられた巻回電極体30が収納されたものである。このフィルム状の外装部材40を用いた電池構造は、ラミネートフィルム型と呼ばれている。
正極リード31および負極リード32は、例えば、外装部材40の内部から外部に向かって同一方向に導出されている。正極リード31は、例えば、アルミニウムなどの金属材料により構成されており、負極リード32は、例えば、銅、ニッケルあるいはステンレスなどの金属材料により構成されている。これらの金属材料は、例えば、薄板状あるいは網目状になっている。
外装部材40は、例えば、ナイロンフィルム、アルミニウム箔およびポリエチレンフィルムがこの順に貼り合わされたアルミラミネートフィルムにより構成されている。この外装部材40は、例えば、ポリエチレンフィルムが巻回電極体30と対向するように、2枚の矩形型のアルミラミネートフィルムの外縁部同士が融着あるいは接着剤により互いに接着された構造を有している。
外装部材40と正極リード31および負極リード32との間には、外気の侵入を防止するために密着フィルム41が挿入されている。この密着フィルム41は、正極リード31および負極リード32に対して密着性を有する材料により構成されている。このような材料としては、例えば、ポリエチレン、ポリプロピレン、変性ポリエチレンあるいは変性ポリプロピレンなどのポリオレフィン樹脂が挙げられる。
なお、外装部材40は、上記したアルミラミネートフィルムに代えて、他の積層構造を有するラミネートフィルムにより構成されていてもよいし、ポリプロピレンなどの高分子フィルムあるいは金属フィルムにより構成されていてもよい。
巻回電極体30は、セパレータ35および電解質36を介して正極33と負極34とが積層されたのちに巻回されたものであり、その最外周部は保護テープ37により保護されている。
図9は、図8に示した巻回電極体30の一部を拡大して表している。正極33は、例えば、一対の面を有する正極集電体33Aの両面に正極活物質層33Bが設けられたものである。負極34は、例えば、一対の面を有する負極集電体34Aの両面に負極活物質層34Bおよび被膜34Cが設けられたものである。正極集電体33A、正極活物質層33B、負極集電体34A、負極活物質層34B、被膜34Cおよびセパレータ35の構成は、それぞれ上記した円筒型の二次電池における正極集電体21A、正極活物質層21B、負極集電体22A、負極活物質層22B、被膜22Cおよびセパレータ23の構成と同様である。
電解質36は、電解液と、それを保持する高分子化合物とを含んでおり、いわゆるゲル状の電解質である。ゲル状の電解質は、高いイオン伝導率(例えば、室温で1mS/cm以上)が得られると共に漏液が防止されるので好ましい。
高分子化合物としては、例えば、ポリアクリロニトリル、ポリフッ化ビニリデン、ポリフッ化ビニリデンとポリヘキサフルオロプロピレンとの共重合体、ポリテトラフルオロエチレン、ポリヘキサフルオロプロピレン、ポリエチレンオキサイド、ポリプロピレンオキサイド、ポリフォスファゼン、ポリシロキサン、ポリ酢酸ビニル、ポリビニルアルコール、ポリメタクリル酸メチル、ポリアクリル酸、ポリメタクリル酸、スチレン−ブタジエンゴム、ニトリル−ブタジエンゴム、ポリスチレン、あるいはポリカーボネートなどが挙げられる。これらは単独でもよいし、複数種が混合されてもよい。中でも、ポリアクリロニトリル、ポリフッ化ビニリデン、ポリヘキサフルオロプロピレンあるいはポリエチレンオキサイドが好ましい。電気化学的に安定だからである。
電解液の組成は、円筒型の二次電池における電解液の組成と同様である。ただし、この場合の溶媒とは、液状の溶媒だけでなく、電解質塩を解離させることが可能なイオン伝導性を有するものまで含む広い概念である。したがって、イオン伝導性を有する高分子化合物を用いる場合には、その高分子化合物も溶媒に含まれる。
なお、電解液を高分子化合物に保持させたゲル状の電解質36に代えて、電解液をそのまま用いてもよい。この場合には、電解液がセパレータ35に含浸される。
ゲル状の電解質36を備えた二次電池は、例えば、以下の3種類の方法により製造される。
第1の製造方法では、最初に、例えば、上記した円筒型の二次電池における正極21および負極22の作製手順と同様の手順により、正極集電体33Aの両面に正極活物質層33Bを形成して正極33を作製すると共に、負極集電体34Aの両面に負極活物質層34Bおよび被膜34Cを形成して負極34を作製する。続いて、電解液と、高分子化合物と、溶剤とを含む前駆溶液を調製して正極33および負極34に塗布したのち、溶剤を揮発させてゲル状の電解質36を形成する。続いて、正極集電体33Aに正極リード31を取り付けると共に、負極集電体34Aに負極リード32を取り付ける。続いて、電解質36が形成された正極33と負極34とをセパレータ35を介して積層させてから長手方向に巻回し、その最外周部に保護テープ37を接着させて巻回電極体30を作製する。最後に、例えば、2枚のフィルム状の外装部材40の間に巻回電極体30を挟み込んだのち、その外装部材40の外縁部同士を熱融着などで接着させて巻回電極体30を封入する。この際、正極リード31および負極リード32と外装部材40との間に、密着フィルム41を挿入する。これにより、図7〜図9に示した二次電池が完成する。
第2の製造方法では、最初に、正極33に正極リード31を取り付けると共に負極34に負極リード32を取り付けたのち、セパレータ35を介して正極33と負極34とを積層して巻回させると共に最外周部に保護テープ37を接着させて、巻回電極体30の前駆体である巻回体を作製する。続いて、2枚のフィルム状の外装部材40の間に巻回体を挟み込んだのち、一辺の外周縁部を除いた残りの外周縁部を熱融着などで接着させて、袋状の外装部材40の内部に巻回体を収納する。続いて、電解液と、高分子化合物の原料であるモノマーと、重合開始剤と、必要に応じて重合禁止剤などの他の材料とを含む電解質用組成物を調製して袋状の外装部材40の内部に注入したのち、外装部材40の開口部を熱融着などで密封する。最後に、モノマーを熱重合させて高分子化合物とすることにより、ゲル状の電解質36を形成する。これにより、二次電池が完成する。
第3の製造方法では、最初に、高分子化合物が両面に塗布されたセパレータ35を用いることを除き、上記した第2の製造方法と同様に、巻回体を形成して袋状の外装部材40の内部に収納する。このセパレータ35に塗布する高分子化合物としては、例えば、フッ化ビニリデンを成分とする重合体、すなわち単独重合体、共重合体あるいは多元共重合体などが挙げられる。具体的には、ポリフッ化ビニリデンや、フッ化ビニリデンおよびヘキサフルオロプロピレンを成分とする二元系共重合体や、フッ化ビニリデン、ヘキサフルオロプロピレンおよびクロロトリフルオロエチレンを成分とする三元系共重合体などである。なお、高分子化合物は、上記したフッ化ビニリデンを成分とする重合体と共に、他の1種あるいは2種以上の高分子化合物を含んでいてもよい。続いて、電解液を調製して外装部材40の内部に注入したのち、その外装部材40の開口部を熱融着などで密封する。最後に、外装部材40に加重をかけながら加熱し、高分子化合物を介してセパレータ35を正極33および負極34に密着させる。これにより、電解液が高分子化合物に含浸し、その高分子化合物がゲル化して電解質36が形成されるため、二次電池が完成する。
この第3の製造方法では、第1の製造方法と比較して、二次電池の膨れが抑制される。また、第3の製造方法では、第2の製造方法と比較して、高分子化合物の原料であるモノマーや重合開始剤などが電解質36中にほとんど残らず、しかも高分子化合物の形成工程が良好に制御されるため、正極33、負極34およびセパレータ35と電解質36との間において十分な密着性が得られる。
このラミネートフィルム型の二次電池によれば、負極34が上記した円筒型の二次電池における負極22と同様の構成を有しているので、サイクル特性などの電池特性を向上させることができる。この二次電池に関する上記以外の効果は、円筒型の二次電池と同様である。
図10はさらに他の電池構造を有する第1の二次電池の断面構成を表している。この二次電池も上記した円筒型の二次電池と同様にリチウムイオン二次電池であり、正極51を外装缶54に貼り付けると共に、負極52を外装カップ55に収容し、それらを電解液が含浸されたセパレータ53を介して積層したのちにガスケット56を介してかしめたものである。これらの外装缶54および外装カップ55を用いた電池構造は、コイン型と呼ばれている。
正極51は、正極集電体51Aの一面に正極活物質層51Bが設けられたものである。負極52は、負極集電体52Aの一面に負極活物質層52Bおよび被膜52Cが設けられたものである。正極集電体51A,正極活物質層51B、負極集電体52A、負極活物質層52B、被膜52Cおよびセパレータ53の構成は、それぞれ上記した円筒型の二次電池における正極集電体21A,正極活物質層21B、負極集電体22A、負極活物質層22B、被膜22Cおよびセパレータ23の構成と同様である。また、セパレータ53に含浸された電解液の組成も円筒型の二次電池における電解液の組成と同様である。
この二次電池では、円筒型の二次電池と同様に、正極51と負極52との間でリチウムイオンが吸蔵および放出される。すなわち、充電を行うと、例えば、正極51からリチウムイオンが放出され、セパレータ53に含浸された電解液を介して負極52に吸蔵される。一方、放電を行うと、例えば、負極52からリチウムイオンが放出され、セパレータ53に含浸された電解液を介して正極51に吸蔵される。
このコイン型の二次電池によれば、負極52が上記した円筒型の二次電池における負極22と同様の構成を有しているので、サイクル特性などの電池特性を向上させることができる。この二次電池に関する上記以外の効果は、円筒型の二次電池と同様である。
なお、上記した第1の二次電池では、負極活物質層上に設けられた被膜が化2に示した化合物を含有する場合について説明したが、負極が化2に示した化合物を含有していれば、その化合物は負極中のどこに含有されていてもよい。例えば、負極活物質層が複数の負極活物質粒子を有する場合には、その負極活物質粒子の表面が化2に示した化合物を含有する材料により被覆されていてもよい。この場合、負極活物質粒子は、全面が被覆されていてもよいし、その表面の一部が被覆されていてもよい。これによっても、負極の化学的安定性が向上するため、電池特性が向上する。このような負極も、化2に示した化合物を含有する溶液を用いて製造することができる。具体的には、最初に、上記した負極材料からなる負極活物質粒子を化2示した化合物を含有する溶液に分散させたのち、その負極活物質粒子を溶液中から引き上げて乾燥させることにより、負極活物質粒子の表面を化2に示した化合物を含有する材料により被覆する。続いて、この負極活物質粒子と、導電剤と、結着剤とを混合した負極合剤を溶剤に分散させることによりペースト状の負極合剤スラリーとし、それを負極集電体に塗布して乾燥させたのち、圧縮成型する。これにより、負極を製造することができる。
(第2の二次電池)
次に、第2の二次電池について説明する。以下では、第1の二次電池と同じ構成要素については同一の符号を付し、その説明を省略する。第2の二次電池では、上記した化2に示した化合物を負極22に代えて正極21が含有することを除き、第1の二次電池と同様の構成を有している。すなわち、第2の二次電池は、正極21および負極22を除き、第1の二次電池と同一の構成を有している。
図11は、第2の二次電池における巻回電極体20の一部を拡大して表している。正極21は、例えば、一対の面を有する正極集電体21Aの両面に正極活物質層21Bおよび被膜21Cが設けられたものである。ただし、正極活物質層21Bは、正極集電体21Aの片面だけに設けられていてもよい。被膜21Cについても、同様である。この正極集電体21Aおよび正極活物質層21Bの構成は、第1の二次電池と同様である。
被膜21Cは、上記した化2に示した化合物のいずれか1種あるいは2種以上を含有している。この被膜21Cが正極活物質層21B上に設けられているのは、正極21の化学的安定性が向上するからである。これにより、正極21においてリチウムが良好に吸蔵および放出されると共に、電解質の分解反応が抑制されるため電池特性が向上する。この場合には、電池特性の中でも特に、負極22における抵抗成分が低くなり、反応抵抗特性が向上すると共に、膨れ特性が向上する。
この被膜21Cは、正極活物質層21Bの全面を覆うように設けられていてもよいし、その表面の一部を覆うように設けられていてもよい。この場合には、被膜21Cの一部が正極活物質層21Bの内部に入り込んでいてもよい。
この被膜21Cを形成する方法は、例えば、第1の二次電池における被膜22Cを形成する方法と同様の方法により形成することができる。
負極22は、一対の面を有する負極集電体22Aの両面に負極活物質層22Bが設けられたものである。ただし、負極活物質層22Bは、負極集電体22Aの片面だけに設けられていてもよい。この負極集電体22Aおよび負極活物質層22Bの構成は、第1の二次電池における負極集電体22Aおよび負極活物質層22Bの構成と同様である。
この二次電池は、例えば、以下の手順により製造される。
まず、正極21を作製する。最初に、第1の二次電池における正極21と同様に、正極集電体21Aの両面に正極活物質層21Bを形成する。続いて、上記した化2に示した化合物を含有する溶液として、例えば、1重量%以上5重量%以下の濃度の水溶液を調製する。最後に、正極活物質層21Bが形成された正極集電体21Aを溶液中に数秒間浸漬してから引き上げ、室温で乾燥して被膜21Cを形成する。この被膜21Cを形成する場合には、上記した溶液を正極活物質層21Bの表面に塗布してから乾燥させるようにしてもよい。
次に、負極22を、粗面化された電解銅箔などからなる負極集電体22Aを準備したのち、蒸着法などの気相法により負極集電体22Aの両面に負極材料を堆積させて、複数の負極活物質粒子を形成することにより作製する。この際、必要に応じて、液相析出法などの液相法により酸化物含有膜を形成し、あるいは電解鍍金法などの液相法により金属材料を形成して、負極活物質層22Bを形成してもよい。また、上記したアルカリ金属塩およびアルカリ土類金属塩のうちの少なくとも1種を含有する溶液を用いて、負極活物質層22Bの上に被膜(図示せず)を形成してもよい。この場合には、この溶液中に負極活物質層22Bが形成された負極集電体22Aに浸漬する、あるいはこの溶液を負極活物質層22Bの表面に塗布してから乾燥させるようにして、負極活物質層上にその被膜を形成してもよい。
この二次電池の組み立ては、第1の二次電池と同様にして行う。これにより、図11に示した巻回電極体を有する図1に示した二次電池が完成する。
この二次電池では、充電を行うと、例えば、正極21からリチウムイオンが放出され、セパレータ23に含浸された電解液を介して負極22に吸蔵される。一方、放電を行うと、例えば、負極22からリチウムイオンが放出され、セパレータ23に含浸された電解液を介して正極21に吸蔵される。
この二次電池によれば、正極21が化2に示した化合物を含有する被膜21Cを設けるようにしたので、その正極21の化学的安定性が向上する。これにより、電解液の分解反応が抑制されると共に、負極22の反応抵抗の上昇が抑制される。このため、膨れ特性や反応抵抗特性などの電池特性を向上させることができる。この場合には、上記した化2に示した化合物を含有する溶液を用いて被膜21Cを形成しており、具体的には浸積処理や塗布処理などの簡単な処理を用いているので、減圧環境などの特殊な環境条件を要する方法を用いる場合と比較して、良好な被膜21Cを簡単に形成することができる。
この二次電池に関する上記以外の効果は、第1の二次電池と同様である。
なお、上記した第2の二次電池では、正極活物質層21B上に化2に示した化合物を含有する被膜21Cを設けるようにしたが、図12および図13に示したように、正極活物質層21Bが複数の正極活物質粒子を有すると共に、その正極活物質粒子の表面に化2に示した化合物を含有する粒子被覆膜を有していてもよい。図12は第2の二次電池の変形例に係る巻回電極体20の一部を拡大して表し、図13は図12に示した正極活物質層21B中に含まれる粒子被覆膜を有する正極活物質粒子の断面構成を表している。すなわち、この二次電池では、正極21を除いて、第2の二次電池と同様の構成を有している。
図13に示したように、ここでの正極活物質層21Bに含まれる正極活物質は、粒子状をなしている。すなわち、正極活物質層21Bは、複数の正極活物質粒子211を含んで構成されている。正極活物質粒子211は、上記した第1の二次電池で説明した正極材料を含んで構成されている。その正極活物質粒子211の表面には、化2に示した化合物を含有する粒子被覆膜212が形成されている。粒子被覆膜212は、正極活物質粒子211の全面を覆っていてもよいし、その表面の一部を覆っていてもよい。これによっても、上記した第2の二次電池と同様に、正極21の化学的安定性が向上し、電解液の分解反応が抑制されると共に、負極22における反応抵抗の上昇が抑制される。よって、電池特性、特に膨れ特性および反応抵抗特性を向上させることができる。
このような正極21も化2に示した化合物を含有する溶液を用いて製造することができる。具体的には、最初に、上記した正極材料からなる正極活物質粒子211を化2に示した化合物を含有する溶液に分散させたのち、乾燥させ、正極活物質粒子211の表面に、化2に示した化合物を含有する粒子被覆膜212を形成する。続いて、この粒子被覆膜212を有する正極活物質粒子211と、導電剤と、結着剤とを混合した正極合剤を溶剤に分散させることによりペースト状の正極合剤スラリーとし、それを正極集電体21Aに塗布して乾燥させたのち、圧縮成型して正極活物質層21Bを形成する。これにより、図13に示した正極活物質粒子211を含む図12に示した正極21が完成する。
また、上記した第2の二次電池では、電池構造が円筒型の場合について説明したが、第1の二次電池と同様に、ラミネートフィルム型やコイン型などの他の電池構造についても適用することができる(図示せず)。すなわち、ラミネートフィルム型の場合には、被膜34Cが無い代わりに、正極活物質層33B上に化2に示した化合物を含有する被膜を設けた構造あるいは正極活物質層33Bが複数の正極活物質粒子およびそれを覆う化2に示した化合物を含有する粒子被覆膜を有する構造となる。また、コイン型の場合においても、被膜52Cが無い代わりに、正極活物質層51B上に化2に示した化合物を含有する被膜を設けた構造あるいは正極活物質層51Bが複数の正極活物質粒子およびそれを覆う化2に示した化合物を含有する粒子被覆膜を有する構造となる。いずれの場合においても、上記した第2の二次電池と同様の効果を得ることができる。
また、上記した第1および第2の二次電池では、化2に示した化合物を正極および負極のうちのいずれか一方が含有する場合について説明したが、上記したように正極および負極の両極が化2に示した化合物を含有するのが好ましい。電解液の分解反応がより抑制され、第1および第2の二次電池よりも高い電池特性が得られるからである。もちろんこの場合においても、その電池構造は任意である。
本発明の実施例について詳細に説明する。
(実施例1−1〜1−10)
以下の手順により、図10に示したコイン型の二次電池を作製した。この際、負極52の容量がリチウムの吸蔵および放出に基づいて表されるリチウムイオン二次電池となるようにした。
まず、正極51を作製した。最初に、炭酸リチウム(Li2 CO3 )と炭酸コバルト(CoCO3 )とを0.5:1のモル比で混合したのち、空気中において900℃で5時間焼成することにより、リチウムコバルト複合酸化物(LiCoO2 )を得た。続いて、正極活物質としてリチウムコバルト複合酸化物91質量部と、導電剤としてグラファイト6質量部と、結着剤としてポリフッ化ビニリデン3質量部とを混合して正極合剤としたのち、N−メチル−2−ピロリドンに分散させることにより、ペースト状の正極合剤スラリーとした。続いて、バーコータにより帯状のアルミニウム箔からなる正極集電体51A(厚さ=12μm)に正極合剤スラリーを均一に塗布して乾燥させたのち、ロールプレス機で圧縮成型することにより、正極活物質層51Bを形成した。最後に、正極活物質層51Bが形成された正極集電体51Aを直径15.5mmのペレットとなるように打ち抜いた。
次に、負極52を作製した。最初に、粗面化された電解銅箔からなる負極集電体52A(厚さ=10μm)を準備したのち、電子ビーム蒸着法により負極集電体52Aに負極活物質としてケイ素を堆積させて複数の負極活物質粒子を形成することにより、負極活物質層52Bを形成した。この負極集電体52Aに形成する負極活物質層52Bの厚さは5μmとなるようにした。続いて、化2に示した化合物を含有する溶液として、化3に示した化合物である化5(1)に示した化合物の3質量%水溶液を準備した。続いて、負極活物質層52Bが形成された負極集電体52Aをその溶液中に数秒間浸漬させてから引き上げたのち、60℃の減圧環境中において乾燥させることにより、負極活物質層52B上に被膜52Cを形成した。最後に、被膜52Cおよび負極活物質層52Bが形成された負極集電体52Aを直径16mmのペレットとなるように打ち抜いた。
次に、電解液を調整した。具体的には、表1に示した組成となるように、溶媒として炭酸エチレン(EC)、炭酸プロピレン(PC)、4−フルオロ−1,3−ジオキソラン−2−オン(FEC)、4,5−ジフルオロ−1,3−ジオキソラン−2−オン(DFEC)、炭酸ビス(フルオロメチル)(DFDMC)および炭酸ビニレン(VC)のうちの少なくとも1種と、炭酸ジエチル(DEC)とを混合した溶媒に、電解質塩として六フッ化リン酸リチウム(LiPF6 )を溶解させた。この際、電解液中における六フッ化リン酸リチウムの濃度を1mol/kgとした。
最後に、正極51および負極52と共に電解液を用いて二次電池を組み立てた。最初に、正極51と負極52と微多孔性ポリプロピレンフィルムからなるセパレータ53とを正極活物質層51Bと負極活物質層52Bとがセパレータ53を介して対向するように積層したのち、外装缶54に収容した。こののち、電解液を注入し、ガスケット56を介して外装カップ55を被せてかしめることにより、コイン型の二次電池が完成した。
(実施例1−11,1−12)
化2に示した化合物として、化5(1)に示した化合物に代えて、化7(1)に示した化合物(実施例1−11)および化9(1)に示した化合物(実施例1−12)を用いたことを除き、実施例1−3と同様の手順を経た。
(比較例1−1〜1−3)
被膜を形成しなかったことを除き、実施例1−1,1−3,1−5と同様の手順を経た。
(比較例1−4)
化5(1)に示した化合物に代えて、化25に示したベンゼンスルホン酸リチウムを用いたことを除き、実施例1−3と同様の手順を経た。
これらの実施例1−1〜1−12および比較例1−1〜1−4の二次電池についてサイクル特性を調べたところ、表1に示した結果が得られた。
サイクル特性を調べる際には、23℃の雰囲気中において2サイクル充放電させて放電容量を測定し、引き続き同雰囲気中においてサイクル数の合計が100サイクルとなるまで充放電させて放電容量を測定したのち、放電容量維持率(%)=(100サイクル目の放電容量/2サイクル目の放電容量)×100を算出した。この際、1サイクルの充放電条件としては、1mA/cm2 の定電流密度で電池電圧が4.2Vに達するまで充電し、さらに4.2Vの定電圧で電流密度が0.02mA/cm2 に達するまで充電したのち、1mA/cm2 の定電流密度で電池電圧が2.5Vに達するまで放電した。
なお、上記したサイクル特性を調べる際の手順および条件は、以降の一連の実施例および比較例についても同様である。
Figure 2010015885
表1に示したように、被膜52Cを形成した実施例1−1では、それを形成しなかった比較例1−1よりも放電容量維持率が高くなった。この結果は、被膜52Cを形成することにより、負極52においてリチウムイオンが吸蔵および放出されやすくなると共に、充放電を繰り返しても電解液が分解されにくくなることを表している。すなわち、被膜52Cを形成することにより、負極52の化学的安定性が向上したものと考えられる。
このことから、本発明の二次電池では、負極52が負極活物質としてケイ素(電子ビーム蒸着法)を含む場合に、負極活物質層52B上に化2に示した化合物を含有する被膜52Cを設けることにより、サイクル特性が向上することが確認された。
また、溶媒としてPC等を加えた実施例1−2〜1−10では、それを含有しない実施例1−1よりも放電容量維持率が高くなった。この場合においても、被膜52Cを形成した実施例1−3,1−5では、それを形成しなかった比較例1−2,1−3よりも放電容量維持率が高くなった。ここで、溶媒の種類に着目すると、PCを含むことにより、放電容量維持率が高くなるが、VCやFEC、DFECあるいはDFDMCを加えることにより、さらに放電容量維持率が高くなる傾向を示した。中でも、FEC、DFECあるいはDFDMCを含むことにより、特に放電容量維持率が高くなり、その場合には、フッ素の数が1つよりも2つ有する溶媒(DFECあるいはDFDMC)を用いることにより、放電容量維持率がさらに高くなった。また、FEC等のフッ素を有する溶媒の溶媒中における含有量は、多くなるに従い、放電容量維持率が高くなる傾向を示した。
なお、ここでは化26に示した不飽和結合を有する環状炭酸エステルを用いた場合の結果だけを示しており、化27あるいは化28に示した不飽和結合を有する環状炭酸エステルを用いた場合の結果を示していない。しかしながら、化27に示した不飽和結合を有する環状炭酸エステル等は、化26に示した不飽和結合を有する環状炭酸エステルと同様に電解液の分解を抑制する機能を果たすため、前者を用いた場合においても後者を用いた場合と同様の結果が得られることは、明らかである。
これらのことから、本発明の二次電池では、負極活物質層52B上に化2に示した化合物を含有する被膜52Cを設けるようにしたことにより、電解液における溶媒の組成に依存することなく、サイクル特性が向上することが確認された。この場合には、電解液の溶媒として、化29に示したハロゲンを有する鎖状炭酸エステルおよび化30に示したハロゲンを有する環状炭酸エステルのうちの少なくとも1種や、化26〜化28に示した不飽和結合を有する環状炭酸エステルのうちの少なくとも1種を用いることにより、サイクル特性がより向上することが確認された。
さらに、化2に示した化合物として、化7(1)あるいは化9(1)に示した化合物を含有する被膜52Cを形成した実施例1−11,1−12では、それを形成しなかった比較例1−2よりも放電容量維持率が高くなった。その一方で、化25に示したベンゼンスルホン酸リチウムを含有する被膜を形成した比較例1−4では、比較例1−2よりも放電容量維持率が低くなった。この結果は、負極52の化学的安定性を向上させるには、被膜52Cがベンゼン環およびシクロヘキサン環のうちの少なくとも一方の環を合計で2以上含む化2に示した化合物を含有することが必要であることを表している。この場合には、実施例1−3、1−11および1−12の比較から、化2に示した化合物においてカルボニル系基(−C(=O)−X1)およびスルホニル系基(−S(=O)2 −Y1)を合計で1つ有するよりも、2つ以上有する場合に放電容量維持率が高くなり、特にスルホニル系基を2つ有する場合に放電容量維持率がより高くなる傾向を示した。
なお、ここでは化2に示した化合物のうちの化3に示した化合物の一部を用いた場合の結果だけを示しており、他の化3に示した化合物や化4に示した化合物等を用いた場合の結果を示していない。しかしながら、実施例1−1〜1−12の結果から明らかなように、化5(1)に示した化合物等はいずれも単独で放電容量維持率を高くする役割を果たし、他の化2に示した化合物も同様の役割を果たすことから、その他の化2に示した化合物を用いた場合においても同様の結果が得られることは、明らかである。このことは、化2に示した化合物のうちの2種以上を混在させた場合においても同様である。
これらのことから、本発明の二次電池では、負極活物質層52B上に、化2に示した化合物を含有する被膜52Cを設けることにより、化2に示した化合物の種類に依存することなく、サイクル特性が向上することが確認された。この場合には、被膜52Cが化2に示した化合物として、化5(1)に示した化合物を含有させるようにすれば、より高いサイクル特性が得られることが確認された。
(実施例2−1〜2−3)
溶媒として、スルトンであるプロペンスルトン(PRS:実施例2−1)、または酸無水物であるコハク酸無水物(SCAH:実施例2−2)あるいは2−スルホ安息香酸無水物(SBAH:実施例2−3)を加えたことを除き、実施例1−3と同様の手順を経た。この際、溶媒中におけるPRS等の含有量を1重量%とした。
(実施例2−4〜2−7)
電解質塩として、四フッ化ホウ酸リチウム(LiBF4 :実施例2−4)、化33に示した化合物である化36(6)に示した化合物(実施例2−5)、化34に示した化合物である化37(2)に示した化合物(実施例2−6)、あるいは化40に示した化合物である化42(2)に示した化合物(実施例2−7)を加え、電解液中におけるLiPF6 の濃度を0.9mol/kg、LiBF4 等の濃度を0.1mol/kgとしたことを除き、実施例1−1あるいは1−3と同様の手順を経た。
(比較例2)
溶媒としてPRSを溶媒中における含有量が1重量%となるように加えたことを除き、比較例1−1と同様の手順を経た。
これらの実施例2−1〜2−7および比較例2の二次電池についてサイクル特性を調べたところ、表2に示した結果が得られた。
Figure 2010015885
表2に示したように、電解液にPRS等やLiBF4 等を加えた場合においても、表1に示した結果と同様の結果が得られた。すなわち、被膜52Cを形成した実施例2−1〜2−7では、それを形成しなかった比較例1−1,1−2,2よりも放電容量維持率が高くなった。この場合には、PRS等やLiBF4 等を加えた実施例2−1〜2−7では、それを含有しない実施例1−1,1−3よりも放電容量維持率が高くなった。その一方で、PRSを加えた比較例2では、それを含まない比較例1−1よりも放電容量維持率が低下した。この結果から、被膜52Cを有すると共にPRS等を含むと、それらの相乗作用により、放電容量維持率が高くなったものと考えられる。
なお、ここでは四フッ化ホウ酸リチウム、化33,化34または化40に示した化合物を用いた場合の結果だけを示しており、過塩素酸リチウムあるいは六フッ化ヒ酸リチウム、または化35,化39あるいは化41に示した化合物を用いた場合の結果を示していない。しかしながら、過塩素酸リチウム等は、四フッ化ホウ酸リチウム等と同様に電解液の分解を抑制する機能を果たすため、前者を用いた場合においても後者を用いた場合と同様の結果が得られることは、明らかである。
これらのことから、本発明の二次電池では、負極52が負極活物質としてケイ素(電子ビーム蒸着法)を含む場合に、負極活物質層52B上に化2に示した化合物を含有する被膜52Cを設けることにより、電解液の組成に依存することなく、サイクル特性が向上することが確認された。この場合には、電解液に溶媒としてスルトンあるいは酸無水物を加える、または、化33〜化35に示した化合物のうちの少なくとも1種、あるいは化39〜化41に示した化合物のうちの少なくとも1種を加えるようにすれば、より高いサイクル特性が得られることが確認された。
(実施例3−1)
被膜52C中に、アルカリ土類金属塩であるスルホプロピオン酸マグネシウムを含有させたことを除き、実施例1−3と同様の手順を経た。この被膜52Cを形成する場合には、化5(1)に示した化合物を溶解させた3重量%水溶液に、スルホプロピオン酸マグネシウムを3重量%加えた溶液を用いた。
(実施例3−2)
負極活物質層52Bを形成する場合に、複数の負極活物質粒子を形成したのち、液相析出法により負極活物質粒子の表面に酸化物含有膜としてケイ素の酸化物(SiO2 )を析出させたことを除き、実施例1−3と同様の手順を経た。この酸化物含有膜を形成する場合には、ケイフッ化水素酸にアニオン補足剤としてホウ素を溶解させた溶液中に、負極活物質粒子が形成された負極集電体52Aを3時間浸積し、その負極活物質粒子の表面にケイ素の酸化物を析出させたのち、水洗して減圧乾燥した。
(実施例3−3)
負極活物質層52Bを形成する場合に、複数の負極活物質粒子を形成したのち、電解鍍金法により金属材料としてコバルト(Co)の鍍金膜を成長させたことを除き、実施例1−3と同様の手順を経た。この金属材料を形成する場合には、鍍金浴にエアーを供給しながら通電して負極集電体52Aの両面にコバルトを堆積させた。この際、鍍金液として日本高純度化学株式会社製のコバルト鍍金液を用い、電流密度を2A/dm2 〜5A/dm2 とし、鍍金速度を10nm/秒とした。
(実施例3−4)
負極活物質層52Bを形成する場合に、複数の負極活物質粒子を形成したのち、実施例3−2,3−3の手順により酸化物含有膜および金属材料をこの順に形成したことを除き、実施例1−3と同様の手順を経た。
(比較例3−1〜3−3)
被膜52Cを形成しなかったことを除き、実施例3−2〜3−4と同様の手順を経た。
これらの実施例3−1〜3−4および比較例3−1〜3−3の二次電池についてサイクル特性を調べたところ、表3に示した結果が得られた。
Figure 2010015885
表3に示したように、被膜52C中にアルカリ土類金属塩を含有させたり、その被膜52Cの形成前に酸化物含有膜や金属材料を形成した場合においても、表1の結果と同様の結果が得られた。すなわち、被膜52Cを形成した実施例3−1〜3−4では、それを形成しなかった比較例3−1〜3−3と比較して、放電容量維持率が高くなった。この場合には、被膜52C中にアルカリ土類金属塩を含有する実施例3−1では、それらを含有しない実施例1−3よりも放電容量維持率が高くなった。また、酸化物含有膜あるいは金属材料を形成した実施例3−2〜3−4では、それらを形成しなかった実施例1−3よりも放電容量維持率が高くなった。この場合、実施例3−2〜3−4の比較から、酸化物含有膜あるいは金属材料のいずれか一方だけを形成した場合よりも双方を形成した場合において放電容量維持率が高くなり、いずれか一方だけを形成する場合には酸化物含有膜よりも金属材料において放電容量維持率が高くなる傾向を示した。また、実施例3−1〜3−4では、被膜52C中にアルカリ土類金属塩等を含有させた場合よりも酸化物含有膜や金属材料を形成した場合において放電容量維持率が高くなった。
なお、ここでは被膜34Cにアルカリ土類金属塩を含有させた場合の結果だけを示しており、アルカリ金属塩を含有させた場合の結果を示していない。しかしながら、アルカリ金属塩は、アルカリ土類金属塩と同様に放電容量維持率を増加させる機能を果たすため、前者を用いた場合においても後者を用いた場合と同様の結果が得られることは、明らかである。
これらのことから、本発明の二次電池では、負極52が負極活物質としてケイ素(電子ビーム蒸着法)を含む場合に、化2に示した化合物を含有する被膜52Cを負極活物質層52B上に設けるようにしたことにより、負極活物質層52Bの構成あるいは被膜52Cの組成に依存せず、サイクル特性が向上することが確認された。この場合には、被膜52C中にアルカリ金属塩あるいはアルカリ土類金属塩を含有させたり、被膜52Cの形成前に酸化物含有膜あるいは金属材料を形成すれば、サイクル特性がより向上することも確認された。特に、アルカリ金属塩あるいはアルカリ土類金属塩よりも酸化物含有膜あるいは金属材料においてサイクル特性が高くなり、酸化物含有膜あるいは金属材料を用いる場合には、酸化物含有膜だけよりも金属材料だけにおいてサイクル特性が高くなり、いずれか一方よりも双方においてサイクル特性が高くなることが確認された。
(実施例4)
正極51を作製する場合に、正極活物質層51Bを形成したのち、その正極活物質層51B上に、化2に示した化合物として化5(1)に示した化合物を含有する被膜を形成したことを除き、実施例1−3と同様の手順を経た。正極活物質層51B上に被膜を形成する場合には、化5(1)に示した化合物を溶解させた3重量%水溶液中に正極活物質層51Bが形成された正極集電体51Aを数秒間浸漬させてから引き上げたのち、60℃の減圧環境中において乾燥させた。
(比較例4)
電解液中に、化5(1)に示した化合物を飽和するまで溶解させたことを除き、比較例1−1と同様の手順を経た。
これらの実施例4および比較例4の二次電池について、サイクル特性を調べたところ、表4に示した結果が得られた。
Figure 2010015885
表4に示したように、正極51および負極52に被膜を設けた場合においても、表1の結果と同様の結果が得られた。すなわち、被膜を形成した実施例4では、それを形成しなかった比較例1−2よりも放電容量維持率が高くなった。この場合には、正極51および負極52の双方に被膜を形成した実施例4では、負極52にのみ被膜を形成した実施例1−3よりも放電容量維持率が高くなった。
このことから、本発明の二次電池では、負極52が負極活物質としてケイ素(電子ビーム蒸着法)を含む場合に、正極活物質層51Bおよび負極活物質層52Bの上に化2に示した化合物を含有する被膜を設けることにより、サイクル特性がより向上することが確認された。
また、電解液が化5(1)に示した化合物を含む比較例4では、それを含まない比較例1−1よりも放電容量維持率は高くなったが、負極52の被膜52Cが化5(1)に示した化合物を含有する実施例1−1よりも放電容量維持率が著しく低下していた。この結果は、電解液の分解を抑制するには、正極51および負極52のうちの少なくとも1つに化5(1)に示した化合物を含有させるほうが、電解液に含有させるよりも効果的であることを表している。
このことから、上記した二次電池では、正極51および負極52のうちの少なくとも1つが化2に示した化合物を含有することにより、サイクル特性を向上させるように効果的に機能することが確認された。
(実施例5−1〜5−12)
気相法(電子ビーム蒸着法)に代わり、焼結法により負極活物質層52Bを厚さが10μmとなるように形成したことを除き、実施例1−1〜1−12と同様の手順を経た。焼結法により負極活物質層52Bを形成する際には、負極活物質としてケイ素(平均粒径=1μm)95質量部と、結着剤としてポリイミド5質量部とを混合した負極合剤をN−メチル−2−ピロリドンに分散させてペースト状の負極合剤スラリーとし、バーコータにより粗面化された電解銅箔(厚さ=18μm)からなる負極集電体52Aに均一に塗布して乾燥させたのち、ロールプレス機により圧縮成型し、真空雰囲気中において400℃×12時間の条件で加熱した。この場合においても、負極52の充放電容量が正極51の充放電容量よりも大きくなるように正極活物質層51Bの厚さを調整することにより、満充電時において負極52にリチウム金属が析出しないようにした。
(比較例5−1〜5−4)
実施例5−1〜5−12と同様に焼結法により負極活物質層を形成したことを除き、比較例1−1〜1−4と同様の手順を経た。
これらの実施例5−1〜5−12および比較例5−1〜5−4の二次電池についてサイクル特性を調べたところ、表5に示した結果が得られた。
Figure 2010015885
表5に示したように、焼結法により負極活物質層52Bを形成した場合においても、表1の結果と同様の結果が得られた。すなわち、被膜52Cを形成した実施例5−1では、それを形成しなかった比較例5−1よりも放電容量維持率が高くなった。また、溶媒としてPC等を加えた実施例5−2〜5−10では、それを含有しない実施例5−1よりも放電容量維持率が高くなった。もちろん、被膜52Cを形成した実施例5−3,5−5では、それを形成しなかった比較例5−2,5−3よりも放電容量維持率が高くなった。さらに、化7(1)あるいは化9(1)に示した化合物を含有する被膜52Cを形成した実施例5−11,5−12では、それを形成しなかった比較例5−2よりも放電容量維持率が高くなった。その一方で、化25に示したベンゼンスルホン酸リチウムを含有する被膜を形成した比較例5−4では、比較例5−2よりも放電容量維持率が低くなった。
これらのことから、本発明の二次電池では、負極52が負極活物質としてケイ素(焼結法)を含む場合に、負極活物質層52B上に化2に示した化合物を含有する被膜52Cを設けることにより、溶媒の組成や化2に示した化合物の種類に依存することなく、サイクル特性が向上することが確認された。
(実施例6−1〜6−7)
実施例5−1〜5−12と同様に、焼結法により負極活物質層52Bを形成したことを除き、実施例2−1〜2−7と同様の手順を経た。
(比較例6)
実施例5−1〜5−12と同様に、焼結法により負極活物質層を形成したことを除き、比較例2と同様の手順を経た。
これらの実施例6−1〜6−7および比較例6の二次電池についてサイクル特性を調べたところ、表6に示した結果が得られた。
Figure 2010015885
表6に示したように、焼結法により負極活物質層52Bを形成した場合においても、表2に示した結果と同様の結果が得られた。すなわち、被膜52Cを形成した実施例6−1〜6−7では、それを形成しなかった対応する比較例5−1,5−2および6よりも、放電容量維持率が高くなった。この場合には、PRS等やLiBF4 等を加えた実施例6−1〜6−7では、それを含有しない実施例5−1,5−3よりも放電容量維持率が高くなった。その一方で、PRSを加えた比較例6では、それを含まない比較例5−1よりも放電容量維持率が低下していた。
これらのことから、本発明の二次電池では、負極52が負極活物質としてケイ素(焼結法)を含む場合に、負極活物質層52B上に化2に示した化合物を含有する被膜52Cを設けることにより、電解液の組成に依存することなく、サイクル特性が向上することが確認された。
(実施例7)
実施例5−1〜5−12と同様に、焼結法により負極活物質層52Bを形成したことを除き、実施例3−1と同様の手順を経た。
この実施例7の二次電池についてサイクル特性を調べたところ、表7に示した結果が得られた。
Figure 2010015885
表7に示したように、焼結法により負極活物質層52Bを形成した場合においても、表3に示した結果と同様の結果が得られた。すなわち、被膜52C中にアルカリ土類金属塩を含有する実施例7では、それを形成しなかった比較例5−2よりも放電容量維持率が高くなったことはもちろんのこと、アルカリ土類金属塩を含有しない実施例5−3よりも放電容量維持率が高くなった。
このことから、本発明の二次電池では、負極52が負極活物質としてケイ素(焼結法)を含む場合に、化2に示した化合物を含有する被膜52Cを負極活物質層52B上に設けることにより、被膜52Cの組成に依存することなく、サイクル特性が向上することが確認された。
(実施例8)
実施例5−1〜5−12と同様に焼結法により負極活物質層52Bを形成したことを除き、実施例4と同様の手順を経た。
(比較例7)
実施例5−1〜5−12と同様に、焼結法により負極活物質層を形成したことを除き、比較例4と同様の手順を経た。
これらの実施例8および比較例7の二次電池についてサイクル特性を調べたところ、表8に示した結果が得られた。
Figure 2010015885
表8に示したように、焼結法により負極活物質層52Bを形成した場合においても、表4に示した結果と同様の結果が得られた。すなわち、正極51および負極52の双方に被膜を形成した実施例8では、それを形成しなかった比較例5−2よりも放電容量維持率が高くなり、負極52にのみ被膜を形成した実施例5−3よりも放電容量維持率が高くなった。また、電解液が化5(1)に示した化合物を含む比較例7では、それを含まない比較例5−1よりも放電容量維持率は高くなったが、被膜52Cが化5(1)に示した化合物を含有する実施例5−1よりも放電容量維持率が著しく低下していた。
このことから、本発明の二次電池では、負極52が負極活物質としてケイ素(焼結法)を含む場合に、正極活物質層51Bおよび負極活物質層52Bの上に化2に示した化合物を含有する被膜を設けることにより、サイクル特性がより向上することが確認された。
(実施例9−1〜9−3)
負極活物質としてケイ素に代えて、スズ・コバルト・炭素(SnCoC)含有材料を用い、塗布法により負極活物質層52Bを形成すると共に、電解液の組成を表9に示したように変更したことを除き、実施例1−1と同様の手順を経た。塗布法によりSnCoC含有材料を含む負極活物質層52Bを形成する場合には、まず、スズ・コバルト・インジウム・チタン合金粉末と、炭素粉末とを混合したのち、メカノケミカル反応を利用してSnCoC含有材料を合成した。この際、得られたSnCoC含有材料の組成を分析したところ、スズの含有量は48質量%、コバルトの含有量は23質量%、炭素の含有量は20質量%、スズとコバルトとの合計に対するコバルトの割合(Co/(Sn+Co))は32質量%であった。SnCoC含有材料の組成を分析する際には、炭素の含有量については炭素・硫黄分析装置により測定し、スズおよびコバルトの含有量についてはICP(Inductively Coupled Plasma:誘導結合プラズマ)発光分析により測定した。また、得られたSnCoC含有材料をX線回折により分析したところ、回折角2θ=20°〜50°の間に、回折角2θが1.0°以上の広い半値幅を有する回折ピークが観察された。さらに、SnCoC含有材料をXPSにより分析したところ、図14に示したように、ピークP1が得られた。このピークP1を解析すると、表面汚染炭素のピークP2と、それよりも低エネルギー側にSnCoC含有材料中におけるC1sのピークP3とが得られた。このピークP3は、284.5eVよりも低い領域に得られた。すなわち、SnCoC含有材料中の炭素が他の元素と結合していることが確認された。続いて、負極活物質としてSnCoC含有材料粉末80質量部と、導電剤としてグラファイト11質量部およびアセチレンブラック1質量部と、結着剤としてポリフッ化ビニリデン8質量部とを混合して負極合剤としたのち、N−メチル−2−ピロリドンに分散させてペースト状の負極合剤スラリーとした。最後に、銅箔(厚さ=10μm)からなる負極集電体52Aに負極合剤スラリーを均一に塗布して乾燥させたのち、ロールプレス機で圧縮成型し、負極活物質層52Bを形成した。この場合においても、負極52の充放電容量が正極51充放電容量よりも大きくなるように正極活物質層51Bの厚さを調整することにより、満充電時において負極52にリチウム金属が析出しないようにした。
(比較例8−1〜8−3)
実施例9−1〜9−3と同様にSnCoC含有材料を含む負極活物質層52Bを形成し、被膜を形成しなかったことを除き、実施例9−1〜9−3と同様の手順を経た。
これらの実施例9−1〜9−3および比較例8−1〜8−3の二次電池についてサイクル特性を調べたところ、表9に示した結果が得られた。
Figure 2010015885
表9に示したように、SnCoC含有材料を含む負極活物質層52Bを形成した場合においても、表1の結果と同様の結果が得られた。すなわち、被膜52Cを形成した実施例9−1〜9−3では、それを形成しなかった対応する比較例8−1〜8−3よりも放電容量維持率が高くなった。この場合には、電解液の溶媒としてFEC等の含有量が多くなるに従い、放電容量維持率が高くなる傾向を示した。
このことから、本発明の二次電池では、負極52が負極活物質としてSnCoC含有材料を含む場合に、負極活物質層52B上に化2に示した化合物を含有する被膜を設けることにより、サイクル特性が向上することが確認された。
(実施例10−1〜10−4)
負極活物質としてケイ素に代えて、人造黒鉛を用いて塗布法により負極活物質層52Bの厚さが70μmとなるように形成したのち、界面活性剤を添加した化5(1)に示した化合物の3重量%水溶液を用いて被膜52Cを形成した。これと共に、電解液の溶媒としてDECに代えて炭酸ジメチル(DMC)を用い、表10に示したように組成を変更した。このように負極活物質層52Bおよび被膜52Cの構成と電解液の組成とを変更したことを除き、実施例1−1と同様の手順を経た。塗布法により人造黒鉛を含む負極活物質層52Bを形成したのちに、被膜52Cを形成する場合には、まず、負極活物質として人造黒鉛粉末97質量部と、結着剤としてポリフッ化ビニリデン3質量部とを混合した負極合剤をN−メチル−2−ピロリドンに分散させてペースト状の負極合剤スラリーとした。続いて、バーコータにより銅箔(厚さ=15μm)からなる負極集電体52Aの両面に均一に塗布して乾燥させたのち、ロールプレス機により圧縮成型し、負極活物質層52Bを形成した。こののち、界面活性剤としてパーフルオロブタンスルホン酸リチウムを0.5重量%の濃度になるように添加した化5(1)に示した化合物の3重量%水溶液を調整した。続いて、この溶液中に、負極活物質層52Bが形成された負極集電体52Aを数秒間浸漬させてから引き上げたのち、60℃の減圧環境中において乾燥させ、負極活物質層52B上に被膜52Cを形成した。この場合においても、負極52の充放電容量が正極51充放電容量よりも大きくなるように正極活物質層51Bの厚さを調整することにより、満充電時において負極52にリチウム金属が析出しないようにした。
(比較例9−1〜9−4)
被膜を形成しなかったことを除き、実施例10−1〜10−4と同様の手順を経た。
これらの実施例10−1〜10−4および比較例9−1〜9−4の二次電池についてサイクル特性を調べたところ、表10に示した結果が得られた。
Figure 2010015885
表10に示したように、人造黒鉛を含む負極活物質層52Bを形成した場合においても、表1の結果と同様の結果が得られた。すなわち、被膜52Cを形成した実施例10−1〜10−4では、それを形成しなかった対応する比較例9−1〜9−4よりも放電容量維持率が高くなった。この場合には、電解液の溶媒としてPC等を加えることにより、放電容量維持率が高くなり、特にFECを加えた場合に放電容量維持率は最も高くなった。
このことから、本発明の二次電池では、負極52が負極活物質として人造黒鉛を含む場合に、負極活物質層52B上に化2に示した化合物を含有する被膜を設けることにより、サイクル特性が向上することが確認された。
(実施例11)
粒子被覆膜を有し、LiCo0.98Al0.01Mg0.012 からなる正極活物質粒子を用いて正極活物質層51Bを形成すると共に、負極51に被膜52Cを形成しなかったことを除き、実施例1−3と同様の手順を経た。
この正極活物質粒子を有する正極活物質層51Bを形成する場合には、まず、正極活物質としてLiCo0.98Al0.01Mg0.012 の組成を有するリチウムコバルト複合酸化物と、このリチウムコバルト複合酸化物100質量部に対して1質量部の化5(1)に示した化合物とを100cm3 の純水中において1時間撹拌して混合した。続いて、エバポレータを用いてこの混合物から水分を除去したのち、オーブンで120℃12時間乾燥させた。これにより、LiCo0.98Al0.01Mg0.012 からなる正極活物質粒子の表面に化5(1)に示した化合物を含有する粒子被覆膜を形成した。続いて、この粒子被覆膜を有する正極活物質粒子をリチウムコバルト複合酸化物に換算して91質量部と、導電剤としてグラファイト6質量部と、結着剤としてポリフッ化ビニリデン3質量部とを混合して正極合剤とした。こののち、正極合剤をN−メチル−2−ピロリドンに分散させることにより、ペースト状の正極合剤スラリーとした。最後に、バーコータにより帯状のアルミニウム箔からなる正極集電体51A(厚さ=12μm)に正極合剤スラリーを均一に塗布して乾燥させたのち、ロールプレス機で圧縮成型することにより、正極活物質層51Bを形成した。この場合においても、負極52の充放電容量が正極51充放電容量よりも大きくなるように正極活物質層51Bの厚さを調整することにより、満充電時において負極52にリチウム金属が析出しないようにした。
(比較例10−1)
粒子被覆膜を形成しなかったことを除き、実施例10−1と同様の手順を経た。
(比較例10−2)
電解液中に化5(1)に示した化合物を飽和するまで溶解させたことを除き、比較例10−1と同様の手順を経た。
これらの実施例11および比較例10−1,10−2の二次電池について、サイクル特性と共に、反応抵抗特性を調べたところ、表11および図15に示した結果が得られた。
反応抵抗特性を調べる際には、サイクル特性を調べる際の条件と同様にして100サイクル充放電させたのち、23℃の雰囲気中において、交流インピーダンス法により10-2Hz〜106 Hzの周波数帯における二次電池の複素インピーダンスを測定した。この複素インピーダンスを図15に示したように、横軸がインピーダンスの実数部(Z’)に対して縦軸がその虚数部(Z”)としてコール・コール・プロットしたのち、抵抗成分(負極)の円弧を半円として近似して、その極大値である反応抵抗を求めた。
なお、上記した反応抵抗特性を調べる際の手順および条件は、以降の実施例および比較例についても同様である。図15では、実施例11および比較例10−1の結果についてのみ示した。
Figure 2010015885
表11および図15に示したように、正極活物質粒子の表面に粒子被覆膜を形成した実施例11では、それを形成しなかった比較例10−1、および電解液が化5(1)に示した化合物を含有する比較例10−2と比較して、放電容量維持率が同等あるいはそれ以上であったが、反応抵抗が著しく低く抑えられていた。この結果は、粒子被覆膜を形成することにより、電解液の分解反応が抑制され、負極における抵抗成分の増加が抑制されたことを表し、その一方で電解液が化5(1)に示した化合物を含んでいても、抵抗成分の増加を十分に抑制するには至らないことを表している。すなわち、正極51に化5(1)に示した化合物を含有する粒子被覆膜を設けることにより、負極52に対する分解物の付着が抑制され、正極と共に負極も化学的安定性が向上するものと考えられる。
このことから、本発明の二次電池では、負極52が負極活物質としてケイ素(電子ビーム蒸着法)を含む場合に、複数の正極活物質粒子を有する正極活物質層51Bにおいて、その正極活物質粒子の表面に化2に示した化合物を含有する粒子被覆膜を設けることにより、サイクル特性が確保されると共に、反応抵抗特性が向上することが確認された。
(実施例12)
電池構造をコイン型に代えてラミネートフィルム型とし、負極活物質としてケイ素に代えて人造黒鉛を用いて塗布法により負極活物質層34Bを形成し、電解液の溶媒の組成を表12に示したように変更したことを除き、実施例11と同様の手順を経た。
このラミネートフィルム型の二次電池を作製する場合には、まず、実施例11と同様にして正極集電体33Aに、化5(1)に示した化合物を含有する粒子被覆膜を有し、LiCo0.98Al0.01Mg0.012 からなる正極活物質粒子を複数有する正極活物質層33Bを形成して正極33を作製した。続いて、負極34を作製した。最初に、負極活物質として人造黒鉛粉末90質量部と、結着剤としてポリフッ化ビニリデン10質量部とを混合した負極合剤をN−メチル−2−ピロリドンに分散させてペースト状の負極合剤スラリーとした。続いて、バーコータにより銅箔(厚さ=15μm)からなる負極集電体34Aの両面に均一に塗布して乾燥させたのち、ロールプレス機により圧縮成型し、負極活物質層34Bを形成した。こののち、作製した正極33および負極34のそれぞれに正極リード31および負極リード32を取り付けた。
続いて、厚さ4μmのポリフッ化ビニリデンからなる微多孔層を有するセパレータ35を作製した。最初に、ポリフッ化ビニリデン(平均分子量=150000)をN−メチルピロリドンに質量比で10:90となるように溶解させて、ポリフッ化ビニリデン溶液を調整した。続いて、ポリエチレンとポリプロピレンとの混合体からなる微多孔性膜(厚さ=7μm)にその溶液を卓上コータにより塗布して、水浴中において相分離させた。こののち、この微多孔性膜を熱風乾燥させ、微多孔性膜の表面に厚さ4μmのポリフッ化ビニリデンからなる微多孔層を形成した。
続いて、正極33と、セパレータ35と、負極34とをこの順に積層し、長手方向に多数回巻回させたのち、防湿性アルミラミネートフィルム(厚さ=180μm)からなる外装部材40に収納した。最後に、外装部材40の内部に電解液を減圧方式によって注入することにより、平板形状のラミネートフィルム型の二次電池(寸法=およそ34mm×50mm×3.8mm)が完成した。この場合においても、負極34の充放電容量が正極33充放電容量よりも大きくなるように正極活物質層33Bの厚さを調整することにより、満充電時において負極34にリチウム金属が析出しないようにした。
(比較例11−1)
粒子被覆膜を形成せずに正極活物質層を形成したことを除き、実施例12と同様の手順を経た。
(比較例11−2)
電解液中に、化5(1)に示した化合物を飽和するまで加えたことを除き、比較例11−2と同様の手順を経た。
これらの実施例12および比較例11−1,11−2の二次電池について、サイクル特性および反応抵抗特性と共に、膨れ特性を調べたところ、表12に示した結果が得られた。なお、本実施例では、サイクル特性を調べる際の1サイクルの充放電条件を膨れ特性を調べる際の1サイクルの充放電条件と同様にした。
膨れ特性を調べる際には、45℃の雰囲気中において1サイクル充放電させたから再び充電して厚さを測定し、引き続き充電状態のままで80℃の雰囲気中において12時間保存してから厚さを測定したのち、膨れ(mm)=(保存後の厚さ−保存前の厚さ)を算出した。この際、1サイクルの充放電条件としては、4.2Vの定電圧および800mAの定電流で2.5時間充電したのち、800mAの定電流で終止電圧が3.0Vに達するまで放電した。
Figure 2010015885
表12に示したように、電池構造がラミネートフィルム型であり、負極活物質として人造黒鉛を用いた場合においては、正極活物質粒子の表面に粒子被覆膜を形成した実施例12では、それを形成しなかった比較例11−1と比較して、放電容量維持率が高くなり、反応抵抗が著しく低く抑えられていた。また、実施例12では、電解液が化5(1)に示した化合物を含有する比較例11−2と比較して、反応抵抗が同程度に低く抑えられていたが、放電容量維持率は高くなった。これらの膨れは、実施例12において比較例11−1,11−2よりも低く抑えられていた。この結果は、粒子被覆膜を形成することにより、電解液の分解反応が抑制され、正極および負極の化学的安定性が向上したことを表し、高温環境においても、その化学的安定性が良好に維持されることを表している。
このことから、このラミネート型の二次電池では、負極34が負極活物質として人造黒鉛を含む場合に、複数の正極活物質粒子を有する正極活物質層34Bにおいて、その正極活物質粒子の表面に化2に示した化合物を含有する粒子被覆膜を設けるようにしたことにより、反応抵抗特性が確保されると共に、サイクル特性および膨れ特性が向上することが確認された。
上記した表1〜表12の結果から、本発明の二次電池では、正極および負極のうちの少なくとも一方が化2に示した化合物を含有することにより、電解液の組成や、負極活物質および正極活物質の種類や、正極活物質層および負極活物質層の構成に依存することなく、サイクル特性や、反応抵抗特性や、膨れ特性などの電池特性を向上させることができることが確認された。この場合には、負極活物質として炭素材料を用いた場合よりもケイ素を用いた場合において、放電容量維持率の増加率が大きくなり、反応抵抗の低下率も大きくなった。この結果は、負極活物質として高容量化に有利なケイ素を用いると、炭素材料を用いる場合よりも電解液が分解しやすくなるため、化2に示した化合物を含有する正極および負極の化学的安定性が向上することにより電解液の分解抑制効果が際立って発揮されたものと考えられる。
以上、実施の形態および実施例を挙げて本発明を説明したが、本発明は上記した実施の形態および実施例において説明した態様に限定されず、種々の変形が可能である。例えば、本発明の正極および負極の使用用途は、必ずしも二次電池に限らず、二次電池以外の他の電気化学デバイスであっても良い。他の用途としては、例えば、キャパシタなどが挙げられる。
また、上記した実施の形態および実施例では、二次電池の種類として、負極の容量がリチウムの吸蔵および放出に基づいて表されるリチウムイオン二次電池について説明したが、必ずしもこれに限られるものではない。本発明の二次電池は、リチウムを吸蔵および放出することが可能な負極材料の充電容量を正極の充電容量よりも小さくし、負極の容量がリチウムの吸蔵および放出に伴う容量とリチウムの析出および溶解に伴う容量とを含み、かつ、それらの容量の和により表される二次電池についても、同様に適用可能である。
また、上記した実施の形態および実施例では、本発明の二次電池の電解質として、電解液や、電解液を高分子化合物に保持させたゲル状電解質を用いる場合について説明したが、他の種類の電解質を用いるようにしてもよい。他の電解質としては、例えば、イオン伝導性セラミックス、イオン伝導性ガラスあるいはイオン性結晶などのイオン伝導性無機化合物と電解液とを混合したものや、他の無機化合物と電解液とを混合したものや、これらの無機化合物とゲル状電解質とを混合したものや、電解質塩とイオン伝導性の高分子化合物とを混合した固体電解質などが挙げられる。
また、上記した実施の形態および実施例では、電池構造が円筒型、ラミネートフィルム型およびコイン型である場合、ならびに電池素子が巻回構造を有する場合を例に挙げて説明したが、本発明の二次電池は、角型およびボタン型などの他の電池構造を有する場合や、電池素子が積層構造などの他の構造を有する場合についても同様に適用可能である。
また、上記した実施の形態および実施例では、電極反応物質としてリチウムを用いる場合について説明したが、ナトリウムあるいはカリウムなどの他の1族元素や、マグネシウムあるいはカルシウムなどの2族元素や、アルミニウムなどの他の軽金属を用いてもよい。これらの場合においても、負極活物質として、上記した実施の形態で説明した負極材料を用いることが可能である。
本発明の一実施の形態に係る二次電池(第1の二次電池)を表す断面図である。 図1に示した巻回電極体の一部を拡大して表す断面図である。 図2に示した負極の一部を拡大して表す断面図である。 図3に示した負極に対する参考例の負極を表す断面図である。 図2に示した負極の断面構造を表すSEM写真およびその模式図である。 図2に示した負極の他の断面構造を表すSEM写真およびその模式図である。 第1の二次電池の変形例の構成を表す断面図である。 図7に示した巻回電極体のVIII−VIII線に沿った断面図である。 図8に示した巻回電極体の一部を拡大して表す断面図である。 第1の二次電池の他の変形例の構成を表す断面図である。 本発明の一実施の形態に係る二次電池(第2の二次電池)が備える巻回電極体の一部を拡大して表す断面図である。 図11に示した巻回電極体の変形例の構成を表す断面図である。 図12に示した正極が含む正極活物質粒子の構成を表す断面図である。 X線光電子分光法によるSnCoC含有材料の分析結果を表す図である。 交流インピーダンス法による二次電池のインピーダンスの分析結果を表す図である。
符号の説明
11…電池缶、12,13…絶縁板、14…電池蓋、15…安全弁機構、15A…ディスク板、16…熱感抵抗素子、17,53…ガスケット、20,30…巻回電極体、21,33,51…正極、21A,33A,51A…正極集電体、21B,33B,51B…正極活物質層、21C,22C,34C,52C…被膜、22,34,52…負極、22A,34A,52A…負極集電体、22B,34B,52B…負極活物質層、23,35,53…セパレータ、24…センターピン、25,31…正極リード、26,32…負極リード、36…電解質、37…保護テープ、40…外装部材、41…密着フィルム、54…外装缶、55…外装カップ、211…正極活物質粒子、212…粒子被覆膜、221…負極活物質粒子、222…酸化物含有膜、224(224A,224B)…隙間、225…空隙、226…金属材料。

Claims (55)

  1. 正極および負極と共に電解質を備え、
    前記正極および前記負極のうちの少なくとも一方は、化1で表される化合物を含有する二次電池。
    Figure 2010015885
    (R1はベンゼン環およびシクロヘキサン環のうちの少なくとも一方の環を合計で2以上5以下の範囲で含む(a1+b1)価の基であり、X1およびY1はハロゲン基、水酸基あるいは−OM1で表される基であり、a1およびb1は0以上の整数である。ただし、M1はアルカリ金属、アルカリ土類金属あるいはアルキルシリル基であり、a1およびb1は(a1+b1)≧1を満たす。)
  2. 前記化1に示した化合物は、化2で表される化合物である請求項1記載の二次電池。
    Figure 2010015885
    (R2はベンゼン環およびシクロヘキサン環のうちの少なくとも一方の環を合計で2以上5以下の範囲で含むと共に隣り合う環が単結合した(a2+b2)価の基であり、X2およびY2はハロゲン基、水酸基あるいは−OM2で表される基であり、a2およびb2は0以上の整数である。ただし、M2はアルカリ金属、アルカリ土類金属あるいはアルキルシリル基であり、a2およびb2は(a2+b2)≧1を満たす。)
  3. 前記隣り合う環は、1位の炭素原子同士、あるいは1位および4位の炭素原子同士で結合している請求項2記載の二次電池。
  4. 前記化2に示した化合物は、化3で表される化合物である請求項2記載の二次電池。
    Figure 2010015885
  5. 前記負極は、負極集電体に設けられた負極活物質層上に被膜を有し、前記被膜は、前記化1に示した化合物を含有する請求項1記載の二次電池。
  6. 前記被膜は、アルカリ金属塩およびアルカリ土類金属塩のうちの少なくとも1種(化1に示した化合物に該当するものを除く)を含有する請求項5記載の二次電池。
  7. 前記負極活物質層は、ケイ素(Si)の単体、合金および化合物、ならびにスズ(Sn)の単体、合金および化合物のうちの少なくとも1種を含有する負極活物質を含む請求項5記載の二次電池。
  8. 前記負極活物質層は、複数の負極活物質粒子と、その負極活物質粒子の表面を被覆する酸化物含有膜とを含む請求項5記載の二次電池。
  9. 前記酸化物含有膜は、ケイ素、ゲルマニウム(Ge)およびスズのうちの少なくとも1種の酸化物を含有する請求項8記載の二次電池。
  10. 前記負極活物質層は、複数の負極活物質粒子と、電極反応物質と合金化しない金属材料とを含む請求項5記載の二次電池。
  11. 前記負極活物質層は、前記負極活物質粒子間の隙間に前記金属材料を有する請求項10記載の二次電池。
  12. 前記負極活物質粒子は、その粒子内に多層構造を有し、前記負極活物質層は、前記負極活物質粒子内の隙間に前記金属材料を有する請求項10記載の二次電池。
  13. 前記金属材料は、鉄(Fe)、コバルト(Co)、ニッケル(Ni)、亜鉛(Zn)および銅(Cu)のうちの少なくとも1種である請求項10記載の二次電池。
  14. 前記電解質は、化4〜化6で表される不飽和結合を有する環状炭酸エステルのうちの少なくとも1種を含有する溶媒を含む請求項1記載の二次電池。
    Figure 2010015885
    (R11およびR12は水素基あるいはアルキル基である。)
    Figure 2010015885
    (R13〜R16は水素基、アルキル基、ビニル基あるいはアリル基であり、それらのうちの少なくとも1つはビニル基あるいはアリル基である。)
    Figure 2010015885
    (R17はアルキレン基である。)
  15. 前記化4に示した不飽和結合を有する環状炭酸エステルは、炭酸ビニレンであり、前記化5に示した不飽和結合を有する環状炭酸エステルは、炭酸ビニルエチレンであり、前記化6に示した不飽和結合を有する環状炭酸エステルは、炭酸メチレンエチレンである請求項14記載の二次電池。
  16. 前記電解質は、化7で表されるハロゲンを有する鎖状炭酸エステルおよび化8で表されるハロゲンを有する環状炭酸エステルのうちの少なくとも1種を含有する溶媒を含む請求項1記載の二次電池。
    Figure 2010015885
    (R21〜R26は水素基、ハロゲン基、アルキル基あるいはハロゲン化アルキル基であり、それらのうちの少なくとも1つはハロゲン基あるいはハロゲン化アルキル基である。)
    Figure 2010015885
    (R27〜R30は水素基、ハロゲン基、アルキル基あるいはハロゲン化アルキル基であり、それらのうちの少なくとも1つはハロゲン基あるいはハロゲン化アルキル基である。)
  17. 前記化7に示したハロゲンを有する鎖状炭酸エステルは、炭酸フルオロメチルメチル、炭酸ジフルオロメチルメチルおよび炭酸ビス(フルオロメチル)のうちの少なくとも1種であり、前記化8に示したハロゲンを有する環状炭酸エステルは、4−フルオロ−1,3−ジオキソラン−2−オンおよび4,5−ジフルオロ−1,3−ジオキソラン−2−オンのうちの少なくとも1種である請求項16記載の二次電池。
  18. 前記電解質は、スルトンを含有する溶媒を含む請求項1記載の二次電池。
  19. 前記電解質は、酸無水物を含有する溶媒を含む請求項1記載の二次電池。
  20. 前記電解質は、六フッ化リン酸リチウム(LiPF6 )、四フッ化ホウ酸リチウム(LiBF4 )、過塩素酸リチウム(LiClO4 )および六フッ化ヒ酸リチウム(LiAsF6 )のうちの少なくとも1種を含有する電解質塩を含む請求項1記載の二次電池。
  21. 前記電解質は、化9〜化11で表される化合物のうちの少なくとも1種を含有する電解質塩を含む請求項1記載の二次電池。
    Figure 2010015885
    (X31は長周期型周期表における1族元素あるいは2族元素、またはアルミニウム(Al)である。M31は遷移金属元素、または長周期型周期表における13族元素、14族元素あるいは15族元素である。R31はハロゲン基である。Y31は−(O=)C−R32−C(=O)−、−(O=)C−C(R33)2 −あるいは−(O=)C−C(=O)−である。ただし、R32はアルキレン基、ハロゲン化アルキレン基、アリーレン基あるいはハロゲン化アリーレン基である。R33はアルキル基、ハロゲン化アルキル基、アリール基あるいはハロゲン化アリール基である。なお、a3は1〜4の整数であり、b3は0、2あるいは4であり、c3、d3、m3およびn3は1〜3の整数である。)
    Figure 2010015885
    (X41は長周期型周期表における1族元素あるいは2族元素である。M41は遷移金属元素、または長周期型周期表における13族元素、14族元素あるいは15族元素である。Y41は−(O=)C−(C(R41)2 b4−C(=O)−、−(R43)2 C−(C(R42)2 c4−C(=O)−、−(R43)2 C−(C(R42)2 c4−C(R43)2 −、−(R43)2 C−(C(R42)2 c4−S(=O)2 −、−(O=)2 S−(C(R42)2 d4−S(=O)2 −あるいは−(O=)C−(C(R42)2 d4−S(=O)2 −である。ただし、R41およびR43は水素基、アルキル基、ハロゲン基あるいはハロゲン化アルキル基であり、それぞれのうちの少なくとも1つはハロゲン基あるいはハロゲン化アルキル基である。R42は水素基、アルキル基、ハロゲン基あるいはハロゲン化アルキル基である。なお、a4、e4およびn4は1あるいは2であり、b4およびd4は1〜4の整数であり、c4は0〜4の整数であり、f4およびm4は1〜3の整数である。)
    Figure 2010015885
    (X51は長周期型周期表における1族元素あるいは2族元素である。M51は遷移金属元素、または長周期型周期表における13族元素、14族元素あるいは15族元素である。Rfはフッ素化アルキル基あるいはフッ素化アリール基であり、いずれの炭素数も1〜10である。Y51は−(O=)C−(C(R51)2 d5−C(=O)−、−(R52)2 C−(C(R51)2 d5−C(=O)−、−(R52)2 C−(C(R51)2 d5−C(R52)2 −、−(R52)2 C−(C(R51)2 d5−S(=O)2 −、−(O=)2 S−(C(R51)2 e5−S(=O)2 −あるいは−(O=)C−(C(R51)2 e5−S(=O)2 −である。ただし、R51は水素基、アルキル基、ハロゲン基あるいはハロゲン化アルキル基である。R52は水素基、アルキル基、ハロゲン基あるいはハロゲン化アルキル基であり、そのうちの少なくとも1つはハロゲン基あるいはハロゲン化アルキル基である。なお、a5、f5およびn5は1あるいは2であり、b5、c5およびe5は1〜4の整数であり、d5は0〜4の整数であり、g5およびm5は1〜3の整数である。)
  22. 前記化9に示した化合物は、化12で表される化合物のうちの少なくとも1種であり、前記化10に示した化合物は、化13で表される化合物のうちの少なくとも1種であり、前記化11に示した化合物は、化14で表される化合物である請求項21記載の二次電池。
    Figure 2010015885
    Figure 2010015885
    Figure 2010015885
  23. 前記電解質は、化15〜化17で表される化合物のうちの少なくとも1種を含有する電解質塩を含む請求項1記載の二次電池。
    Figure 2010015885
    (mおよびnは1以上の整数である。)
    Figure 2010015885
    (R61は炭素数が2以上4以下の直鎖状あるいは分岐状のパーフルオロアルキレン基である。)
    Figure 2010015885
    (p、qおよびrは1以上の整数である。)
  24. 前記正極は、正極集電体に設けられた正極活物質層上に被膜を有し、前記被膜は、前記化1に示した化合物を含有する請求項1記載の二次電池。
  25. 前記正極は、正極集電体に設けられた正極活物質層を有し、
    前記正極活物質層は、複数の正極活物質粒子と、その正極活物質粒子の表面を被覆する粒子被覆膜とを含み、
    前記粒子被覆膜は、前記化1に示した化合物を含有する請求項1記載の二次電池。
  26. 正極および負極と共に電解質を備えた二次電池の製造方法であって、
    化18で表される化合物を含有するように、前記正極および前記負極のうちの少なくとも一方を形成する二次電池の製造方法。
    Figure 2010015885
    (R1はベンゼン環およびシクロヘキサン環のうちの少なくとも一方の環を合計で2以上5以下の範囲で含む(a1+b1)価の基であり、X1およびY1はハロゲン基、水酸基あるいは−OM1で表される基であり、a1およびb1は0以上の整数である。ただし、M1はアルカリ金属、アルカリ土類金属あるいはアルキルシリル基であり、a1およびb1は(a1+b1)≧1を満たす。)
  27. 前記化18に示した化合物は、化19で表される化合物である請求項26記載の二次電池の製造方法。
    Figure 2010015885
    (R2はベンゼン環およびシクロヘキサン環のうちの少なくとも一方の環を合計で2以上5以下の範囲で含むと共に隣り合う環が単結合した(a2+b2)価の基であり、X2およびY2はハロゲン基、水酸基あるいは−OM2で表される基であり、a2およびb2は0以上の整数である。ただし、M2はアルカリ金属、アルカリ土類金属あるいはアルキルシリル基であり、a2およびb2は(a2+b2)≧1を満たす。)
  28. 前記隣り合う環は、1位の炭素原子同士、あるいは1位および4位の炭素原子同士で結合している請求項27記載の二次電池の製造方法。
  29. 前記化19に示した化合物は、化20で表される化合物である請求項27記載の二次電池の製造方法。
    Figure 2010015885
  30. 前記正極は、正極集電体上に正極活物質層を有し、前記負極は、負極集電体上に負極活物質層を有し、
    前記化18に示した化合物を含有する溶液を用いて、前記正極活物質層および前記負極活物質層のうちの少なくとも一方の表面に、前記化18に示した化合物を含有する被膜を形成する請求項26記載の二次電池の製造方法。
  31. 前記化18に示した化合物を含有する溶液中に、前記正極活物質層および前記負極活物質層のうちの少なくとも一方を浸漬し、あるいは前記化18に示した化合物を含有する溶液を前記正極活物質層および前記負極活物質層のうちの少なくとも一方に塗布する請求項30記載の二次電池の製造方法。
  32. 前記化18に示した化合物を含有する溶液は、アルカリ金属塩およびアルカリ土類金属塩のうちの少なくとも1種(化18に示した化合物に該当するものを除く)を含有する請求項30記載の二次電池の製造方法。
  33. 前記正極は、正極集電体上に複数の正極活物質粒子を含む正極活物質層を有し、
    前記化18に示した化合物を含有する溶液を用いて、前記正極活物質粒子の表面に前記化18に示した化合物を含有する粒子被覆膜を形成する
    請求項26記載の二次電池の製造方法。
  34. 負極集電体に設けられた負極活物質層上に被膜を有し、
    前記被膜は、化21で表される化合物を含有する負極。
    Figure 2010015885
    (R1はベンゼン環およびシクロヘキサン環のうちの少なくとも一方の環を合計で2以上5以下の範囲で含む(a1+b1)価の基であり、X1およびY1はハロゲン基、水酸基あるいは−OM1で表される基であり、a1およびb1は0以上の整数である。ただし、M1はアルカリ金属、アルカリ土類金属あるいはアルキルシリル基であり、a1およびb1は(a1+b1)≧1を満たす。)
  35. 前記化21に示した化合物は、化22で表される化合物である請求項34記載の負極。
    Figure 2010015885
    (R2はベンゼン環およびシクロヘキサン環のうちの少なくとも一方の環を合計で2以上5以下の範囲で含むと共に隣り合う環が単結合した(a2+b2)価の基であり、X2およびY2はハロゲン基、水酸基あるいは−OM2で表される基であり、a2およびb2は0以上の整数である。ただし、M2はアルカリ金属、アルカリ土類金属あるいはアルキルシリル基であり、a2およびb2は(a2+b2)≧1を満たす。)
  36. 前記隣り合う環は、1位の炭素原子同士、あるいは1位および4位の炭素原子同士で結合している請求項35記載の負極。
  37. 前記化22に示した化合物は、化23で表される化合物である請求項35記載の負極。
    Figure 2010015885
  38. 負極集電体上に負極活物質層を有する負極の製造方法であって、
    化24で表される化合物を含有する溶液を用いて、前記負極活物質層の表面に、前記化24に示した化合物を含有する被膜を形成する負極の製造方法。
    Figure 2010015885
    (R1はベンゼン環およびシクロヘキサン環のうちの少なくとも一方の環を合計で2以上5以下の範囲で含む(a1+b1)価の基であり、X1およびY1はハロゲン基、水酸基あるいは−OM1で表される基であり、a1およびb1は0以上の整数である。ただし、M1はアルカリ金属、アルカリ土類金属あるいはアルキルシリル基であり、a1およびb1は(a1+b1)≧1を満たす。)
  39. 前記化24に示した化合物は、化25で表される化合物である請求項38記載の負極の製造方法。
    Figure 2010015885
    (R2はベンゼン環およびシクロヘキサン環のうちの少なくとも一方の環を合計で2以上5以下の範囲で含むと共に隣り合う環が単結合した(a2+b2)価の基であり、X2およびY2はハロゲン基、水酸基あるいは−OM2で表される基であり、a2およびb2は0以上の整数である。ただし、M2はアルカリ金属、アルカリ土類金属あるいはアルキルシリル基であり、a2およびb2は(a2+b2)≧1を満たす。)
  40. 前記隣り合う環は、1位の炭素原子同士、あるいは1位および4位の炭素原子同士で結合している請求項39記載の負極の製造方法。
  41. 前記化25に示した化合物は、化26で表される化合物である請求項39記載の負極の製造方法。
    Figure 2010015885
  42. 前記化24に示した化合物を含有する溶液中に、前記負極活物質層を浸漬し、あるいは前記化24に示した化合物を含有する溶液を前記負極活物質層に塗布して、前記被膜を形成する請求項38記載の負極の製造方法。
  43. 前記化24に示した化合物を含有する溶液は、アルカリ金属塩およびアルカリ土類金属塩のうちの少なくとも1種(化24に示した化合物に該当するものを除く)を含有する請求項38記載の負極の製造方法。
  44. 化27で表される化合物を含有する正極。
    Figure 2010015885
    (R1はベンゼン環およびシクロヘキサン環のうちの少なくとも一方の環を合計で2以上5以下の範囲で含む(a1+b1)価の基であり、X1およびY1はハロゲン基、水酸基あるいは−OM1で表される基であり、a1およびb1は0以上の整数である。ただし、M1はアルカリ金属、アルカリ土類金属あるいはアルキルシリル基であり、a1およびb1は(a1+b1)≧1を満たす。)
  45. 前記化27に示した化合物は、化28で表される化合物である請求項44記載の正極。
    Figure 2010015885
    (R2はベンゼン環およびシクロヘキサン環のうちの少なくとも一方の環を合計で2以上5以下の範囲で含むと共に隣り合う環が単結合した(a2+b2)価の基であり、X2およびY2はハロゲン基、水酸基あるいは−OM2で表される基であり、a2およびb2は0以上の整数である。ただし、M2はアルカリ金属、アルカリ土類金属あるいはアルキルシリル基であり、a2およびb2は(a2+b2)≧1を満たす。)
  46. 前記隣り合う環は、1位の炭素原子同士、あるいは1位および4位の炭素原子同士で結合している請求項45記載の正極。
  47. 前記化28に示した化合物は、化29で表される化合物である請求項45記載の正極。
    Figure 2010015885
  48. 正極集電体に設けられた正極活物質層上に被膜を有し、前記被膜は、前記化27に示した化合物を含有する請求項44記載の正極。
  49. 正極集電体に設けられた正極活物質層を有し、
    前記正極活物質層は、複数の正極活物質粒子と、その正極活物質粒子の表面を被覆する粒子被覆膜とを含み、
    前記粒子被覆膜は、前記化27に示した化合物を含有する請求項44記載の正極。
  50. 正極集電体上に正極活物質層を有する正極の製造方法であって、
    化30で表される化合物を含有する溶液を用いて、前記化30に示した化合物を含有するように前記正極を形成する正極の製造方法。
    Figure 2010015885
    (R1はベンゼン環およびシクロヘキサン環のうちの少なくとも一方の環を合計で2以上5以下の範囲で含む(a1+b1)価の基であり、X1およびY1はハロゲン基、水酸基あるいは−OM1で表される基であり、a1およびb1は0以上の整数である。ただし、M1はアルカリ金属、アルカリ土類金属あるいはアルキルシリル基であり、a1およびb1は(a1+b1)≧1を満たす。)
  51. 前記化30に示した化合物は、化31で表される化合物である請求項50記載の正極の製造方法。
    Figure 2010015885
    (R2はベンゼン環およびシクロヘキサン環のうちの少なくとも一方の環を合計で2以上5以下の範囲で含むと共に隣り合う環が単結合した(a2+b2)価の基であり、X2およびY2はハロゲン基、水酸基あるいは−OM2で表される基であり、a2およびb2は0以上の整数である。ただし、M2はアルカリ金属、アルカリ土類金属あるいはアルキルシリル基であり、a2およびb2は(a2+b2)≧1を満たす。)
  52. 前記隣り合う環は、1位の炭素原子同士、あるいは1位および4位の炭素原子同士で結合している請求項51記載の正極の製造方法。
  53. 前記化31に示した化合物は、化32で表される化合物である請求項51記載の正極の製造方法。
    Figure 2010015885
  54. 前記化30に示した化合物を含有する溶液中に、前記正極活物質層を浸漬し、あるいは前記化30に示した化合物を含有する溶液を前記正極活物質層に塗布して、前記正極活物質層上に前記化30に示した化合物を含有する被膜を形成する請求項50記載の正極の製造方法。
  55. 前記正極活物質層は、複数の正極活物質粒子を有し、
    前記化30に示した化合物を含有する溶液を用いて、前記正極活物質粒子の表面に前記化30に示した化合物を含有する粒子被覆膜を形成する請求項50記載の正極の製造方法。
JP2008175936A 2008-07-04 2008-07-04 リチウムイオン二次電池用負極、リチウムイオン二次電池用正極、リチウムイオン二次電池および電子機器 Expired - Fee Related JP5463632B2 (ja)

Priority Applications (7)

Application Number Priority Date Filing Date Title
JP2008175936A JP5463632B2 (ja) 2008-07-04 2008-07-04 リチウムイオン二次電池用負極、リチウムイオン二次電池用正極、リチウムイオン二次電池および電子機器
US13/000,852 US8628885B2 (en) 2008-07-04 2009-06-30 Secondary battery and electronic device
PCT/JP2009/061961 WO2010001892A1 (ja) 2008-07-04 2009-06-30 二次電池および電子機器
BRPI0914776A BRPI0914776A2 (pt) 2008-07-04 2009-06-30 bateria secundária, e, dispositivo eletrônico compreendendo uma bateria secundária como uma fonte de potência.
CN200980125248.8A CN102077393B (zh) 2008-07-04 2009-06-30 二次电池和电子装置
RU2010154164/07A RU2010154164A (ru) 2008-07-04 2009-06-30 Перезаряжаемая батарея и электронное устройство
KR1020107029358A KR20110022633A (ko) 2008-07-04 2009-06-30 이차 전지 및 전자 기기

Applications Claiming Priority (1)

Application Number Priority Date Filing Date Title
JP2008175936A JP5463632B2 (ja) 2008-07-04 2008-07-04 リチウムイオン二次電池用負極、リチウムイオン二次電池用正極、リチウムイオン二次電池および電子機器

Publications (3)

Publication Number Publication Date
JP2010015885A true JP2010015885A (ja) 2010-01-21
JP2010015885A5 JP2010015885A5 (ja) 2011-08-04
JP5463632B2 JP5463632B2 (ja) 2014-04-09

Family

ID=41701808

Family Applications (1)

Application Number Title Priority Date Filing Date
JP2008175936A Expired - Fee Related JP5463632B2 (ja) 2008-07-04 2008-07-04 リチウムイオン二次電池用負極、リチウムイオン二次電池用正極、リチウムイオン二次電池および電子機器

Country Status (1)

Country Link
JP (1) JP5463632B2 (ja)

Cited By (8)

* Cited by examiner, † Cited by third party
Publication number Priority date Publication date Assignee Title
WO2011105002A1 (ja) * 2010-02-25 2011-09-01 パナソニック株式会社 リチウムイオン二次電池
JP2012028117A (ja) * 2010-07-22 2012-02-09 Toyota Central R&D Labs Inc 蓄電デバイス及び電極活物質の製造方法
JP2014139912A (ja) * 2012-02-14 2014-07-31 Mitsubishi Chemicals Corp 非水系二次電池負極用活物質並びにそれを用いた負極及び非水系二次電池
CN109390622A (zh) * 2017-08-10 2019-02-26 丰田自动车株式会社 锂固体电池
CN110350164A (zh) * 2019-06-24 2019-10-18 湖南省正源储能材料与器件研究所 一种多相复合高镍三元正极材料及其制备方法
CN111542960A (zh) * 2017-10-11 2020-08-14 法国国家科学研究中心 包括特定的添加剂的组合的电解质组合物、其作为非水性液态电解质在Na-离子电池中的用途以及包括这种电解质组合物的Na-离子电池
US11075385B2 (en) 2012-02-14 2021-07-27 Mitsubishi Chemical Corporation Negative electrode active material for nonaqueous secondary battery, and negative electrode and nonaqueous secondary battery using the same
US12027662B2 (en) 2019-09-24 2024-07-02 Toyota Jidosha Kabushiki Kaisha All-solid-state battery

Citations (5)

* Cited by examiner, † Cited by third party
Publication number Priority date Publication date Assignee Title
JPH0878058A (ja) * 1994-09-05 1996-03-22 Sanyo Electric Co Ltd リチウム二次電池
JP2005332606A (ja) * 2004-05-18 2005-12-02 Sakai Chem Ind Co Ltd リチウム二次電池のための電極界面保護皮膜形成剤とリチウム二次電池
JP2007149535A (ja) * 2005-11-29 2007-06-14 Sony Corp 電池
JP2009021229A (ja) * 2007-06-13 2009-01-29 Sony Corp 負極およびその製造方法、ならびに二次電池およびその製造方法
JP2009129893A (ja) * 2007-11-28 2009-06-11 Sony Corp 負極、電池およびそれらの製造方法

Patent Citations (5)

* Cited by examiner, † Cited by third party
Publication number Priority date Publication date Assignee Title
JPH0878058A (ja) * 1994-09-05 1996-03-22 Sanyo Electric Co Ltd リチウム二次電池
JP2005332606A (ja) * 2004-05-18 2005-12-02 Sakai Chem Ind Co Ltd リチウム二次電池のための電極界面保護皮膜形成剤とリチウム二次電池
JP2007149535A (ja) * 2005-11-29 2007-06-14 Sony Corp 電池
JP2009021229A (ja) * 2007-06-13 2009-01-29 Sony Corp 負極およびその製造方法、ならびに二次電池およびその製造方法
JP2009129893A (ja) * 2007-11-28 2009-06-11 Sony Corp 負極、電池およびそれらの製造方法

Cited By (17)

* Cited by examiner, † Cited by third party
Publication number Priority date Publication date Assignee Title
CN102782925A (zh) * 2010-02-25 2012-11-14 松下电器产业株式会社 锂离子二次电池
US20120321965A1 (en) * 2010-02-25 2012-12-20 Masato Fujikawa Lithium ion secondary battery
JP5436657B2 (ja) * 2010-02-25 2014-03-05 パナソニック株式会社 リチウムイオン二次電池
WO2011105002A1 (ja) * 2010-02-25 2011-09-01 パナソニック株式会社 リチウムイオン二次電池
JP2012028117A (ja) * 2010-07-22 2012-02-09 Toyota Central R&D Labs Inc 蓄電デバイス及び電極活物質の製造方法
US11075385B2 (en) 2012-02-14 2021-07-27 Mitsubishi Chemical Corporation Negative electrode active material for nonaqueous secondary battery, and negative electrode and nonaqueous secondary battery using the same
JP2014139912A (ja) * 2012-02-14 2014-07-31 Mitsubishi Chemicals Corp 非水系二次電池負極用活物質並びにそれを用いた負極及び非水系二次電池
US11646443B2 (en) 2017-08-10 2023-05-09 Toyota Jidosha Kabushiki Kaisha Lithium solid battery
JP2019036537A (ja) * 2017-08-10 2019-03-07 トヨタ自動車株式会社 リチウム固体電池
JP7028100B2 (ja) 2017-08-10 2022-03-02 トヨタ自動車株式会社 リチウム固体電池
CN109390622A (zh) * 2017-08-10 2019-02-26 丰田自动车株式会社 锂固体电池
CN111542960A (zh) * 2017-10-11 2020-08-14 法国国家科学研究中心 包括特定的添加剂的组合的电解质组合物、其作为非水性液态电解质在Na-离子电池中的用途以及包括这种电解质组合物的Na-离子电池
CN111542960B (zh) * 2017-10-11 2023-11-17 法国国家科学研究中心 电解质组合物、其在钠离子电池中的用途以及包括其的钠离子电池
CN110350164A (zh) * 2019-06-24 2019-10-18 湖南省正源储能材料与器件研究所 一种多相复合高镍三元正极材料及其制备方法
CN110350164B (zh) * 2019-06-24 2023-06-06 湖南省正源储能材料与器件研究所 一种多相复合高镍三元正极材料及其制备方法
US12027662B2 (en) 2019-09-24 2024-07-02 Toyota Jidosha Kabushiki Kaisha All-solid-state battery
US12394821B2 (en) 2019-09-24 2025-08-19 Toyota Jidosha Kabushiki Kaisha All-solid-state battery

Also Published As

Publication number Publication date
JP5463632B2 (ja) 2014-04-09

Similar Documents

Publication Publication Date Title
JP5234247B2 (ja) 負極、二次電池、スルホン化合物および電子機器
JP5262085B2 (ja) 負極、二次電池および電子機器
JP5407273B2 (ja) 負極集電体、負極および二次電池
JP4952680B2 (ja) リチウムイオン二次電池およびリチウムイオン二次電池用負極
JP5382413B2 (ja) 二次電池用負極および二次電池
JP5239473B2 (ja) 二次電池用電解液、二次電池および電子機器
JP5181754B2 (ja) 二次電池用電解液、二次電池および電子機器
JP2009176719A (ja) 電解液、二次電池およびスルホン化合物
JP5424011B2 (ja) 二次電池およびその製造方法、ならびに二次電池用負極および二次電池用正極
JP5278657B2 (ja) 二次電池および電子機器
WO2010001892A1 (ja) 二次電池および電子機器
JP2008135382A (ja) 負極およびその製造方法、ならびに二次電池
JP2009245923A (ja) 二次電池
JP5273452B2 (ja) 二次電池、負極、正極および電解質
JP5532559B2 (ja) リチウムイオン二次電池、リチウムイオン二次電池用負極、リチウムイオン二次電池用正極およびリチウムイオン二次電池用電解液
JP5463632B2 (ja) リチウムイオン二次電池用負極、リチウムイオン二次電池用正極、リチウムイオン二次電池および電子機器
JP2010177026A (ja) 電池
JP4952693B2 (ja) リチウムイオン二次電池用正極及びリチウムイオン二次電池
JP2009193696A (ja) 負極、二次電池およびそれらの製造方法
JP2010192327A (ja) 非水電解液および非水電解液二次電池
JP5217536B2 (ja) 二次電池および電子機器
JP2009170146A (ja) 電解液および二次電池
JP5256798B2 (ja) 二次電池用電解液、二次電池および電子機器
JP5217512B2 (ja) 二次電池用電解液、二次電池および電子機器
JP2012079593A (ja) 非水電解質二次電池および非水電解質

Legal Events

Date Code Title Description
A521 Written amendment

Free format text: JAPANESE INTERMEDIATE CODE: A523

Effective date: 20110617

A621 Written request for application examination

Free format text: JAPANESE INTERMEDIATE CODE: A621

Effective date: 20110617

A131 Notification of reasons for refusal

Free format text: JAPANESE INTERMEDIATE CODE: A131

Effective date: 20130319

A521 Written amendment

Free format text: JAPANESE INTERMEDIATE CODE: A523

Effective date: 20130430

TRDD Decision of grant or rejection written
A01 Written decision to grant a patent or to grant a registration (utility model)

Free format text: JAPANESE INTERMEDIATE CODE: A01

Effective date: 20131224

A61 First payment of annual fees (during grant procedure)

Free format text: JAPANESE INTERMEDIATE CODE: A61

Effective date: 20140106

LAPS Cancellation because of no payment of annual fees