JP2010014515A - ロール状被検査物の表面欠陥検査装置 - Google Patents

ロール状被検査物の表面欠陥検査装置 Download PDF

Info

Publication number
JP2010014515A
JP2010014515A JP2008174217A JP2008174217A JP2010014515A JP 2010014515 A JP2010014515 A JP 2010014515A JP 2008174217 A JP2008174217 A JP 2008174217A JP 2008174217 A JP2008174217 A JP 2008174217A JP 2010014515 A JP2010014515 A JP 2010014515A
Authority
JP
Japan
Prior art keywords
light
inspection
inspection object
surface defect
illumination means
Prior art date
Legal status (The legal status is an assumption and is not a legal conclusion. Google has not performed a legal analysis and makes no representation as to the accuracy of the status listed.)
Granted
Application number
JP2008174217A
Other languages
English (en)
Other versions
JP5234502B2 (ja
Inventor
Yosuke Konuma
洋介 小沼
Terumi Kamata
照己 鎌田
Current Assignee (The listed assignees may be inaccurate. Google has not performed a legal analysis and makes no representation or warranty as to the accuracy of the list.)
Ricoh Co Ltd
Original Assignee
Ricoh Co Ltd
Priority date (The priority date is an assumption and is not a legal conclusion. Google has not performed a legal analysis and makes no representation as to the accuracy of the date listed.)
Filing date
Publication date
Application filed by Ricoh Co Ltd filed Critical Ricoh Co Ltd
Priority to JP2008174217A priority Critical patent/JP5234502B2/ja
Publication of JP2010014515A publication Critical patent/JP2010014515A/ja
Application granted granted Critical
Publication of JP5234502B2 publication Critical patent/JP5234502B2/ja
Active legal-status Critical Current
Anticipated expiration legal-status Critical

Links

Images

Landscapes

  • Investigating Materials By The Use Of Optical Means Adapted For Particular Applications (AREA)

Abstract

【課題】
ロール状の被検査物の表面を光学的に検査する検査装置について、検査照射光の一部を遮蔽する遮蔽物が存在するような構成であっても装置コストを大きく増加させることなしに表面欠陥が精度よく検出されるように、検査光の照射法を工夫すること。
【解決手段】
ロール状の被検査物を支持し回転させる被検査物保持手段と、被検査物表面にライン状の光を照射する照明手段と、その反射あるいは拡散する光を検出するラインセンサを有し、そのセンサ出力を処理して被検査物の表面欠陥を検出する表面欠陥検査装置について、照明手段の発光領域を変化させて、被検査物への光の照射範囲を制御すること。
上記の照明手段の発光領域を変化させる手段の一つは、前記照明手段と被検査物の間に遮光板を設けることであり、または、他の一つは、複数の光源から構成され、各光源の点灯、消灯を制御することにより、照明手段の発光領域を変化させることである。
【選択図】 図3

Description

この発明は円筒部材、円柱部材等のロール状の被検査物の表面欠陥を検査する検査装置に関するものであり、被検査物の微小な凹凸、突起等の表面欠陥の検出、表面の濃度変化を伴う欠陥の検査に有効に利用できるものである。
複写機やレーザプリンタ等の電子写真式画像形成装置に用いられる感光体ドラムや定着ローラの製造工程においては、その表面に傷やムラなどの欠陥が生じることがある。これらの欠陥は出力画像の品質を低下させるもので、このような欠陥のある不良部品は表面検査によって確実に排除されなければならない。このため、製造工程においては、表面欠陥検査装置を使用した光学的な精密検査が行われている。その一例として、特開昭60−250221号公報に記載された「色欠陥検査装置」の発明があり、特許第2712940号公報に記載された「表面層欠陥検出装置」の発明があり、さらに、特許第3469714号公報に記載された「感光体表面検査方法および感光体表面検査装置」の発明がある。また、上記特許第2712940号公報に記載された表面層欠陥検出装置にあっては、円筒状の被検査物に対して、ライン状の光を被検査物に照射するとともに被検査物を回転させ、被検査物からの反射光をラインセンサで検出し、ラインセンサで得られる画像を処理して表面欠陥を検出している。
このような表面欠陥検査装置においては、上記特許第3469714号公報に記載されているように、反射光分布が正反射光により近い位置で画像を取得した方が、出力変化の勾配が大きくなるので表面形状による光量の変化が大きく、より微小に緩やかに変化する凹凸を検出できることが知られている。
また近年、複写機等の高画質・高解像度化に伴い、検査装置には微小欠陥を高精度で検出できる能力が求められてきている。微小欠陥を検出するためには、ラインセンサの撮像位置を反射光分布が正反射光により近い位置に配置することが必要であるが、正反射光に近い位置にラインセンサを配置した場合、被検査物回転時の振れなどにより反射光分布が変化し、その光量変化を欠陥による変化と誤認してしまうという問題が生じる。被検査物回転時の振れを抑えるため、寸法精度が高い被検査物内面をコレットチャック等により保持し、回転させる方式が採用されている。
ところで、感光体ドラムや定着ローラなどのロール状の部品(以下、ローラ部品ともいう)は、製品設計上の要請からその直径や長さが多様化しており、それらの製造ラインでは、直径や長さの異なる数種類のローラ部品を一つの製造ラインで混合生産される場合がある。そのため、検査工程においても複数種類のローラ部品を検査可能な装置が求められている。
例えば、2種類のローラを製造しており、片方の種類の方が、直径、長さともに小さい場合には、被検査物の保持手段は、図11に示すように、コレットチャックの大径部よりも内側に小径のコレットチャックを配置するのが一般的である。ただし、このような構成では、配置によって図12に示すように、コレットチャックの大径部が照射手段からの検査光を遮蔽し、このために小径部に支持された被検査物の検査領域に影ができてしまう。検査領域内に影ができると、その影が欠陥として認識(誤認)されしまうため、良否判定率が低下するという問題が生じる。
上記問題を解決する方法として、上記特開昭60−250221号公報に記載された色欠陥検査装置にあるように、照射手段(光源)の前面に光シャッタを設置し照射する光量分布を制御して影を薄くすることが考えられる。しかしながら、光量分布が変化すると被検査物上の場所によって凹凸に対する検出感度が変化してしまうという別の問題が生じる。
そこで、インデックステーブル上に種類毎にコレットチャックを配置し、光を遮蔽することのない検査機が開発されている。しかし、インデックステーブルを用いるので、装置コストが増加し、またインデックス毎に光学条件を調整する必要があることから、調整にかかるコストの増加も生じている。
特開昭60−250221号公報 特許第2712940号公報 特許第3469714号公報
本発明は上記問題に鑑みてなされたものであり、ロール状の被検査物の表面を光学的に検査する表面検査装置について、検査光の一部を遮蔽する遮蔽物が存在するような構成であっても、装置コストを大きく増加させることなしに、表面欠陥が精度よく検出されるように、検査光の照射法を工夫することをその課題とするものである。
上記課題を解決するための手段は、ロール状の被検査物を支持し回転させる被検査物保持手段と、被検査物表面にライン状の光を照射する照明手段と、その反射あるいは拡散する光を検出するラインセンサを有し、そのセンサ出力を処理して被検査物の表面欠陥を検出する表面欠陥検査装置について、照明手段の発光領域を変化させて、被検査物への光の照射範囲を制御することである(請求項1)。
照明手段の発光領域を変化させる手段の一つは、前記照明手段と被検査物の間に遮光板を設けることである(請求項2)。
また、照明手段の発光領域を変化させる他の手段は、前記照明手段が複数の光源から構成され、各光源の点灯、消灯をそれぞれ制御することにより、照明手段の発光領域を変化させることである(請求項4)。
本発明の効果は次のとおりである。
1.請求項1の発明の効果
照明手段の発光領域を変化させることにより表面検査における表面欠陥誤認の原因となる検査光の影をなくすことができ、したがって、表面検査の精度を向上させることができる。
2.請求項2、請求項4の発明の効果
コレットチャック等の遮蔽物によって被検査物に影ができる場合であっても、光源前面の一部に遮光板を配置し、その位置を調整(変更)して照射手段の発光領域を制御することによって、検査光の影による良品部分のラインセンサ出力の変化をなくすことができる。したがって、装置コストを大きく増加させることなしに表面欠陥を高精度で検出することができる。
3.請求項3、請求項5の発明の効果
被検査物の種類によって影のでき方が異なっても、被検査物の種類に応じて前記遮光板の位置を制御することにより、影のでき方によらず、検査光の影による良品部分のラインセンサ出力の変化をなくすことができることから、複数の種類の被検査物に対応できる検査装置が提供される。
4.請求項6の発明の効果
照明手段の発光領域を変化させて、被検査物への光の照射範囲を制御する工程を備えていることにより、表面検査における表面欠陥誤認の原因となる検査光の影をなくすことができるから、遮蔽物が存在するような構成である場合でも、コストを大きく増加させることなしに、ロール状の被検査物の表面欠陥を精度よく検出できる表面欠陥検査方法が提供される。
次いで図面を参照して本発明の実施の形態について説明する。
まず表面欠陥検査装置に係る第1の発明の実施例について説明する。
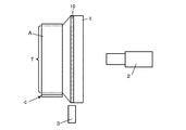
図1に示すように、表面欠陥検査装置は、ロール状の被検査物A,B(図2、図3)を支持し回転させる保持手段であるコレットチャックcと、被検査物A,Bの表面にライン状の光を照射する照明手段1と、被検査物の外観を検査するための撮像手段であり、被検査物からの反射光もしくは拡散光を検出するラインセンサ2と、照明手段1と被検査物の間に配置された遮光板3を備えている。なお、この遮光板3は照明手段1からの光の一部を選択的に遮るためのものである。
コレットチャックcはロール状の被検査物の複数種類を保持するため、多段構成となっており、図1においては小径の種類用の上段c2と大径の種類用の下段c1の2段構成となっている。保持手段は、被検査物回転時の振れを抑えるために、寸法精度が高い被検査物内面を保持するように構成されている。この保持手段として、コレットチャックのほかに三つ爪チャックなどを用いることもできる。なお、上記照明手段1は単一の光源で構成されているものである。
遮光板3は、その位置を制御する遮光板位置制御コントローラ(図示なし)により、光軸上にあって検査光(照明手段1から被検査物A,Bに照射される光)の一部を遮る状態と、同光を遮らない状態を選択的にとることができるようになっている。
次に動作について説明する。図2は被検査物が大径の種類である場合、図3は被検査物が小径の種類である場合の検査時の様子を示す正面図である。
図2に示すように、大径の被検査物Aを検査する時は、コレットチャックによって被検査物Aをその下段c1で保持し、駆動手段(図示略、以下同じ)によってコレットチャックcを回転させて被検査物Aを回転させる。単一の光源による照明手段1からライン光を照射し、その反射光あるいは拡散光をラインセンサで測定する。遮光板3は光軸から外れて照明手段1から被検査物Aへ照射される光を遮らない状態をとっている。したがって、図中に点線で示した被検査物Aの検査領域Tには光源からの光が一様に照射される。
被検査物Aの表面に欠陥がある場合には、当該欠陥部分で反射光分布が変化するので、ラインセンサで得た情報に基づいて演算処理して欠陥部の特徴量を算出して、算出した特徴量を判定スレッシュと比較することによって、被検査物の表面の欠陥の有無(表面精度の良否)の判定を行う。
一方、図3に示すように、小径の被検査物Bを検査する時は、コレットチャックcの上段c2で被検査物Bを保持して被検査物Bを回転させる。照明手段1からライン光を照射し、その反射光あるいは拡散光をラインセンサで測定する。この時、遮光板3が光軸から外れ照明手段から被検査物Bへ照射される光を遮らない状態をとっていると、図12に示すように大径の被検査物Aを保持するためのコレットチャックcの下段c1が照明手段からの光を遮蔽して、影sができてしまう。検査領域T内に影sができると、図4に示すように被検査物Bの良品部分(無欠陥部分)においても、検査光の影sとなる領域でラインセンサの出力が変化し、この変化を欠陥として誤認してしまう。そこでこの実施例では、図3に示すように遮光板3を光軸上に設けてあり、照明手段から被検査物へ照射される検査光の一部を遮る状態を選択的にとれるようにしている。このようにして照明手段の発光領域10を狭くすると、照明手段から被検査物A,Bに照射される光のうちコレットチャックにより遮蔽される割合が小さくなるため、影sとなる領域の割合も小さくなる。影sが図中に点線で示した検査領域内になければ、図5に示すように良品部分のラインセンサ出力の急激な変化はなくなり、欠陥として誤認されることはない。
コレットチャックcの下段c1による影sが検査領域Tの外端部に生じている場合であっても、図6に示すように、遮光板3の位置を当該遮光板によって遮光される領域が多くなるような位置に配置すると、コレットチャックcの下段c1が照明手段1からの光を遮蔽しなくなるため、それによる影sが生じなくなる。しかしながら、図6に示すように遮光板3で遮光する領域が大きくなると被検査物に照射される光量が少なくなり、その結果、図7に示すように良品部分でのラインセンサ出力がなだらかに変化するようになり、この変化が欠陥として誤認される可能性が生じる。
影sのでき方は、照明手段1、コレットチャックc、被検査物A,Bの相対位置によって異なり、また被検査物A,Bの検査領域Tも種類によって異なるので、検査領域T内に影sが生じることなく、かつ光量の低下により生じるラインセンサ出力変化がおきないように被検査物の種類毎にあらかじめ適切な遮光領域を求め、それぞれに適うように遮光板3の配置位置が選択される。
図2〜図3においては、遮光板3で照明手段から被検査物A,Bへ照射される光の一部を遮るか否かで少なくとも2種類の被検査物を検査できるようにしているが、遮光板3の位置をさらに多数の位置に変更できるようにすることによって、2つ以上の多種類の被検査物を検査することもできる。
図3の実施例においては、被検査物A,Bの下側だけが保持される機構であるが、図8に示すよう被検査物の両端をコレットチャックc,cによって保持する機構においても、上下それぞれに所定位置に遮光板3,3を配置し、両遮光板3,3の位置を制御(変更)することで、被検査物Bの両端部で影sとなる領域を小さくすることができる。
以上のように、本実施例によれば、コレットチャック等の遮蔽物によって被検査物Bの両端部に影sができる場合であっても、照明手段1前面の一部に遮光板3を配置し、その位置を変更することによって照明手段1の発光領域10を制御して、上記影sによる良品部分のラインセンサ出力の変化をなくすことができる。そして、遮光板3による遮蔽手段は簡単であり、当該遮蔽手段の付加による装置コスト増は微小であるので、装置コストを大きく増加させることなしに被検査物A,Bの表面欠陥を精度よく検出することができ、高精度の表面欠陥検査装置が実現される。
次に、表面欠陥検査装置に係る第2の発明の実施例を図9を参照しながら説明する。図9は図3と同様に被検査物が小径の種類である場合の検査時の様子を示している。
この表面欠陥検査装置は前述した図1に示す構成と似ており、ロール状の被検査物Bを支持し回転させる保持手段であるコレットチャックcと、被検査物Bの表面にライン状の光を照射する照明手段11と、被検査物の外観を検査するための撮像手段であり、被検査物Bからの反射光もしくは拡散光を検出するラインセンサ2とを備えている。
照明手段11は複数個のライン状光源a,bから構成されており、光源制御コントローラにより、それぞれのライン状光源a,bが独立に制御される。
小径の被検査物Bを検査する時は、コレットチャックcの上段c2によって被検査物Bを保持し、駆動手段によってコレットチャックcを回転させて、被検査物Bを回転させる。ライン状光源a,bからライン光を照射し、その反射光あるいは拡散光をラインセンサ2で測定する。このとき、ライン状光源aおよびbがともに点灯状態にあると、図12に示すように小径の被検査物Bを保持するためのコレットチャックの下段c1が照明手段11からの光の一部を遮蔽して被検査物の端部に影sができる。そしてこのように検査領域T内に影sができると、これが欠陥として誤認(誤認識)されてしまう。
照明手段11のライン状光源aを点灯し、ライン状光源bを消灯した状態にて検査を行うようにしているが、このようにライン状光源a,bを制御し照明手段11の発光領域10を狭くすることで、コレットチャックcの下段c1による影sとなる領域を小さくできるので、検査領域T内に影sが生じないようにライン状光源a,bを制御すれば、当該影sの部分が欠陥と誤認されることはない。
影sのでき方は、照明手段11、遮光物3となるコレットチャックの下段c1、被検査物Bの相対位置および照明手段11の発光領域10の長さによって異なり、また被検査物の検査領域Tも種類によって異なるので、検査領域T内に影sが生じることなしにかつ光量の低下により生じるラインセンサ出力変化が生じないよう、種類毎にあらかじめ適切な発光領域10を求め、それぞれの被検査物に対して、適切な発光領域を実現できるライン状光源a,bの数やそれぞれの長さを選定する。
図9においては、ライン状光源aおよびライン状光源bの点灯、消灯を制御することで少なくとも2種類の被検査物を検査できるようにしているが、それぞれの種類毎にあらかじめ求めた適切な発光領域が実現されるように、各ライン状光源の数やその長さを設定し、光源制御コントローラにより、被検査物の種類に応じて、所定の発光領域となるように各ライン状光源a,bを制御することで、複数種類の被検査物を検査することができる。
図9においては、照明手段11は複数個のライン状光源a,bから構成されているが、図10に示すように、照明手段11はLED等の点光源1pを長手方向に1列もしくは複数列に配置して構成したものでもよい。点光源1pは光源制御コントローラにより、行毎に点灯、消灯が制御される。
このように構成した照明手段11においては、点光源1pの点灯、消灯の制御によりその発光領域を任意に変更することができるので、複数条件の発光領域を容易に実現することができる。また、被検査物の種類の変更や種類の増加等により生じる発光領域の変更にも容易に対応することができる。
以上のように、本実施例によれば、コレットチャック等の存在が遮蔽物となりこの遮蔽物によって被検査物に影sができる場合であっても、一つの照明手段を形成している複数個の光源の点灯、消灯を制御し、発光領域を制御することで、上記の影sによる良品部分のラインセンサ出力変化をなくすことができるので、装置コストを大きく増加させることなしに表面欠陥を精度よく検出できる表面欠陥検査装置が実現される。
は第1の実施例の正面図 は検査時の様子の一例を示す正面図 は検査時の様子の他の例を示す正面図 はラインセンサ出力の明るさの一例を示す図 はラインセンサ出力の明るさの他の例を示す図 は遮光領域が大きい場合の検査時の様子を示す正面図 はラインセンサ出力の明るさの他の例を示す図 は第1の実施例の構成の他の例を示す正面図 は第2の実施例の正面図 は照明手段の他の例を示す斜視図 は従来例の表面欠陥検査装置を示す斜視図 は従来例の表面欠陥検査装置を示す正面図
符号の説明
A,B:被検査物
T:検査領域
a,b:ライン状光源
1,11:照明手段
2:ラインセンサ
3:遮光板
10:発光領域

Claims (6)

  1. ロール状の被検査物を支持し回転させる被検査物保持手段と、被検査物表面にライン状の光を照射する照明手段と、その反射あるいは拡散する光を検出するラインセンサを有し、そのセンサ出力を処理して被検査物の表面欠陥を検出する表面欠陥検査装置において、
    上記照明手段の発光領域を変化させて、被検査物への光の照射範囲を制御することを特徴とする表面欠陥検査装置。
  2. 前記照明手段と被検査物の間に遮光板を設けることにより、照明手段の発光領域を変化させることを特徴とする請求項1に記載の表面欠陥検査装置。
  3. 被検査物の種類に応じて前記遮光板の位置を制御することを特徴とする請求項2に記載の表面欠陥検査装置。
  4. 前記照明手段が、複数の光源から構成され、各光源の点灯、消灯をそれぞれ制御することにより、照明手段の発光領域を変化させることを特徴とする請求項1に記載の表面欠陥検査装置。
  5. 被検査物の種類に応じて前記照明手段における各光源の点灯、消灯をそれぞれ制御することを特徴とする請求項4に記載の表面欠陥検査装置。
  6. 照明手段の発光領域を変化させて、ロール状の被検査物への光の照射範囲を制御した状態で、上記被検査物を被検査物保持手段で支持し回転させ、上記照明手段によって被検査物の表面に照射された光の反射光あるいは拡散光をラインセンサで検出し、センサ出力を処理して被検査物の表面欠陥を検出することを特徴とするロール状検査物の表面欠陥検査方法。
JP2008174217A 2008-07-03 2008-07-03 ロール状被検査物の表面欠陥検査装置 Active JP5234502B2 (ja)

Priority Applications (1)

Application Number Priority Date Filing Date Title
JP2008174217A JP5234502B2 (ja) 2008-07-03 2008-07-03 ロール状被検査物の表面欠陥検査装置

Applications Claiming Priority (1)

Application Number Priority Date Filing Date Title
JP2008174217A JP5234502B2 (ja) 2008-07-03 2008-07-03 ロール状被検査物の表面欠陥検査装置

Publications (2)

Publication Number Publication Date
JP2010014515A true JP2010014515A (ja) 2010-01-21
JP5234502B2 JP5234502B2 (ja) 2013-07-10

Family

ID=41700760

Family Applications (1)

Application Number Title Priority Date Filing Date
JP2008174217A Active JP5234502B2 (ja) 2008-07-03 2008-07-03 ロール状被検査物の表面欠陥検査装置

Country Status (1)

Country Link
JP (1) JP5234502B2 (ja)

Cited By (1)

* Cited by examiner, † Cited by third party
Publication number Priority date Publication date Assignee Title
CN120008521A (zh) * 2025-04-22 2025-05-16 靖江市钜顺精密轻合金成型科技有限公司 一种离合器壳生产用尺寸检验装置

Citations (4)

* Cited by examiner, † Cited by third party
Publication number Priority date Publication date Assignee Title
JPH01262448A (ja) * 1988-04-13 1989-10-19 Kirin Brewery Co Ltd 壜の胴部検査装置
JPH06118007A (ja) * 1992-10-08 1994-04-28 Fuji Xerox Co Ltd 円筒体の表面欠陥検査方法およびその装置
JPH0755710A (ja) * 1993-08-11 1995-03-03 Fuji Electric Co Ltd 感光体ドラムの欠陥検査装置
JP2005208054A (ja) * 2003-12-25 2005-08-04 Showa Denko Kk 表面検査方法および同装置

Patent Citations (4)

* Cited by examiner, † Cited by third party
Publication number Priority date Publication date Assignee Title
JPH01262448A (ja) * 1988-04-13 1989-10-19 Kirin Brewery Co Ltd 壜の胴部検査装置
JPH06118007A (ja) * 1992-10-08 1994-04-28 Fuji Xerox Co Ltd 円筒体の表面欠陥検査方法およびその装置
JPH0755710A (ja) * 1993-08-11 1995-03-03 Fuji Electric Co Ltd 感光体ドラムの欠陥検査装置
JP2005208054A (ja) * 2003-12-25 2005-08-04 Showa Denko Kk 表面検査方法および同装置

Cited By (1)

* Cited by examiner, † Cited by third party
Publication number Priority date Publication date Assignee Title
CN120008521A (zh) * 2025-04-22 2025-05-16 靖江市钜顺精密轻合金成型科技有限公司 一种离合器壳生产用尺寸检验装置

Also Published As

Publication number Publication date
JP5234502B2 (ja) 2013-07-10

Similar Documents

Publication Publication Date Title
JP2010223613A (ja) 光学検査装置
JP7274312B2 (ja) 自動光学検査のための光学系
TW201339742A (zh) 用於標線的時變強度圖之產生
JP4615532B2 (ja) 欠陥検査装置、照明装置
US20050220330A1 (en) Method of inspecting an mura defect in a pattern and apparatus used for the same
JP5830229B2 (ja) ウエハ欠陥検査装置
JP6038434B2 (ja) 欠陥検査装置
JP2004309287A (ja) 欠陥検出装置、および欠陥検出方法
JP5826578B2 (ja) 画像取得装置
JP2008286791A (ja) 表面欠陥検査方法及び装置
JP5393973B2 (ja) ロッドレンズアレイ検査装置及び方法
JP6039119B1 (ja) 欠陥検査装置
JP5234502B2 (ja) ロール状被検査物の表面欠陥検査装置
JP2020085587A (ja) ガラス板の製造方法、及びガラス板の製造装置
JP4630945B1 (ja) 欠陥検査装置
JPH06118007A (ja) 円筒体の表面欠陥検査方法およびその装置
JP5234038B2 (ja) 金属の欠陥検出方法
JP5415162B2 (ja) 円筒体の表面検査装置
JP2005043229A (ja) 透明板欠陥検査装置
JP5521283B2 (ja) 基板検査装置
JP2004212202A (ja) 透光体の外観検査方法及び装置
JP2021189142A (ja) 燃料電池セパレータの検査装置
JP2009222629A (ja) 被検物端面検査装置
JP3428772B2 (ja) 表面検査装置
KR20090054137A (ko) Cis 센서 모듈을 이용한 광학필름 결함 검사장치

Legal Events

Date Code Title Description
A621 Written request for application examination

Free format text: JAPANESE INTERMEDIATE CODE: A621

Effective date: 20110324

A977 Report on retrieval

Free format text: JAPANESE INTERMEDIATE CODE: A971007

Effective date: 20120711

A131 Notification of reasons for refusal

Free format text: JAPANESE INTERMEDIATE CODE: A131

Effective date: 20120718

A521 Written amendment

Free format text: JAPANESE INTERMEDIATE CODE: A523

Effective date: 20120730

TRDD Decision of grant or rejection written
A01 Written decision to grant a patent or to grant a registration (utility model)

Free format text: JAPANESE INTERMEDIATE CODE: A01

Effective date: 20130304

A61 First payment of annual fees (during grant procedure)

Free format text: JAPANESE INTERMEDIATE CODE: A61

Effective date: 20130317

FPAY Renewal fee payment (event date is renewal date of database)

Free format text: PAYMENT UNTIL: 20160405

Year of fee payment: 3