JP2010013824A - ドア制御装置および方法、並びに、プログラム - Google Patents

ドア制御装置および方法、並びに、プログラム Download PDF

Info

Publication number
JP2010013824A
JP2010013824A JP2008173472A JP2008173472A JP2010013824A JP 2010013824 A JP2010013824 A JP 2010013824A JP 2008173472 A JP2008173472 A JP 2008173472A JP 2008173472 A JP2008173472 A JP 2008173472A JP 2010013824 A JP2010013824 A JP 2010013824A
Authority
JP
Japan
Prior art keywords
door
hand
shape
movement
speed
Prior art date
Legal status (The legal status is an assumption and is not a legal conclusion. Google has not performed a legal analysis and makes no representation as to the accuracy of the status listed.)
Granted
Application number
JP2008173472A
Other languages
English (en)
Other versions
JP5131546B2 (ja
Inventor
Shigeru Yoda
茂 余田
Shiro Ogata
司郎 緒方
Current Assignee (The listed assignees may be inaccurate. Google has not performed a legal analysis and makes no representation or warranty as to the accuracy of the list.)
Omron Corp
Original Assignee
Omron Corp
Omron Tateisi Electronics Co
Priority date (The priority date is an assumption and is not a legal conclusion. Google has not performed a legal analysis and makes no representation as to the accuracy of the date listed.)
Filing date
Publication date
Application filed by Omron Corp, Omron Tateisi Electronics Co filed Critical Omron Corp
Priority to JP2008173472A priority Critical patent/JP5131546B2/ja
Publication of JP2010013824A publication Critical patent/JP2010013824A/ja
Application granted granted Critical
Publication of JP5131546B2 publication Critical patent/JP5131546B2/ja
Expired - Fee Related legal-status Critical Current
Anticipated expiration legal-status Critical

Links

Images

Classifications

    • EFIXED CONSTRUCTIONS
    • E05LOCKS; KEYS; WINDOW OR DOOR FITTINGS; SAFES
    • E05FDEVICES FOR MOVING WINGS INTO OPEN OR CLOSED POSITION; CHECKS FOR WINGS; WING FITTINGS NOT OTHERWISE PROVIDED FOR, CONCERNED WITH THE FUNCTIONING OF THE WING
    • E05F15/00Power-operated mechanisms for wings
    • E05F15/70Power-operated mechanisms for wings with automatic actuation
    • E05F15/73Power-operated mechanisms for wings with automatic actuation responsive to movement or presence of persons or objects
    • EFIXED CONSTRUCTIONS
    • E05LOCKS; KEYS; WINDOW OR DOOR FITTINGS; SAFES
    • E05FDEVICES FOR MOVING WINGS INTO OPEN OR CLOSED POSITION; CHECKS FOR WINGS; WING FITTINGS NOT OTHERWISE PROVIDED FOR, CONCERNED WITH THE FUNCTIONING OF THE WING
    • E05F15/00Power-operated mechanisms for wings
    • E05F15/70Power-operated mechanisms for wings with automatic actuation
    • E05F15/73Power-operated mechanisms for wings with automatic actuation responsive to movement or presence of persons or objects
    • E05F2015/767Power-operated mechanisms for wings with automatic actuation responsive to movement or presence of persons or objects using cameras
    • EFIXED CONSTRUCTIONS
    • E05LOCKS; KEYS; WINDOW OR DOOR FITTINGS; SAFES
    • E05YINDEXING SCHEME ASSOCIATED WITH SUBCLASSES E05D AND E05F, RELATING TO CONSTRUCTION ELEMENTS, ELECTRIC CONTROL, POWER SUPPLY, POWER SIGNAL OR TRANSMISSION, USER INTERFACES, MOUNTING OR COUPLING, DETAILS, ACCESSORIES, AUXILIARY OPERATIONS NOT OTHERWISE PROVIDED FOR, APPLICATION THEREOF
    • E05Y2400/00Electronic control; Electrical power; Power supply; Power or signal transmission; User interfaces
    • E05Y2400/80User interfaces
    • E05Y2400/85User input means
    • E05Y2400/852Sensors
    • EFIXED CONSTRUCTIONS
    • E05LOCKS; KEYS; WINDOW OR DOOR FITTINGS; SAFES
    • E05YINDEXING SCHEME ASSOCIATED WITH SUBCLASSES E05D AND E05F, RELATING TO CONSTRUCTION ELEMENTS, ELECTRIC CONTROL, POWER SUPPLY, POWER SIGNAL OR TRANSMISSION, USER INTERFACES, MOUNTING OR COUPLING, DETAILS, ACCESSORIES, AUXILIARY OPERATIONS NOT OTHERWISE PROVIDED FOR, APPLICATION THEREOF
    • E05Y2400/00Electronic control; Electrical power; Power supply; Power or signal transmission; User interfaces
    • E05Y2400/80User interfaces
    • E05Y2400/85User input means
    • E05Y2400/856Actuation thereof
    • E05Y2400/858Actuation thereof by body parts, e.g. by feet
    • E05Y2400/86Actuation thereof by body parts, e.g. by feet by hand

Landscapes

  • Power-Operated Mechanisms For Wings (AREA)
  • Lock And Its Accessories (AREA)

Abstract

【課題】手を触れずに確実に所望するようにドアを動かす。
【解決手段】手検出部33は、センサ部11−1乃至11−4からの信号およびカメラ12−1乃至12−4からの画像に基づいて、車両の各ドアの近傍における手の形、動きおよび位置を検出する。ドア制御部34は、ドアの近傍において手の形がオープン形になった後、ドアが開く方向に手が動いた場合、ドアを開く方向に動かすとともに手の速さに応じてドアを開ける速さを制御し、手の形がオープン形と異なる形になったとき、ドアを停止させる。また、ドア制御部34は、ドアの近傍において手の形がクローズ形になった後、ドアが閉まる方向に手が動いた場合、ドアを閉まる方向に動かすとともに、手の速さに応じてドアを閉める速さを制御し、手の形がクローズ形と異なる形になったとき、ドアを停止させる。本発明は、例えば、車載用のドア制御システムに適用できる。
【選択図】図1

Description

本発明は、ドア制御装置および方法、並びに、プログラムに関し、特に、手を触れずにドアを動かせるようにしたドア制御装置および方法、並びに、プログラムに関する。
従来、車両のドアに手を触れずに、ドアとユーザの手の間の距離が所定距離となるようにドアを開ける制御を行う装置が提案されている(例えば、特許文献1参照)。
特開2005−324664号公報
しかしながら、ユーザの手との間の距離が一定となるようにドアを正確に追従させるためには大きな動力が必要となり、ドアの開閉を駆動するアクチュエータが大きく、かつ、重くなったり、消費電力が増大したりする。そのため、実際に車両に搭載することは困難であると予想される。そこで、車両に搭載できるように動力の小さいアクチュエータを用いた場合、ユーザの手の動きにドアが十分に追従できず、ユーザが所望するようにドアを開けることができなかったり、手にドアがぶつかってしまたったりするなどの事態が発生することが考えられる。
また、特許文献1に記載の発明では、ドアを開ける動作を停止するタイミングが明確にされていない。
本発明は、このような状況に鑑みてなされたものであり、手を触れずに確実に所望するようにドアを動かすことができるようにするものである。
本発明の第1の側面のドア制御装置は、車両のドアの近傍における手の形および動きを検出する手検出手段と、ドアの近傍において手の形が所定の第1の形になった後、ドアが開く方向に手が動いた場合、手の動きに応じてドアを開く方向に動かし、手の形が第1の形とは異なる形になったとき、ドアを停止するようにドアの動きを制御するドア制御手段とを含む。
本発明の第1の側面のドア制御装置においては、車両のドアの近傍における手の形および動きが検出され、ドアの近傍において手の形が所定の第1の形になった後、ドアが開く方向に手が動いた場合、手の動きに応じてドアが開く方向に動かされ、手の形が第1の形とは異なる形になったとき、ドアが停止される。
従って、手を触れずに確実に所望するようにドアを開けたり停止したりすることができる。
この手検出手段、ドア制御手段は、例えば、CPU(Central Processing Unit)またはECU(Electronic Control Unit)により構成される。
このドア制御手段には、さらに、ドアが開く方向に手が動く速さが所定の速度未満になったとき、ドアを停止するようにドアの動きを制御させることができる。
これにより、手の動きが遅くなったり停止した場合に、ドアが開き続け、手にぶつかることを防止することができる。
このドア制御手段には、さらに、手が動く速さを計測できなくなったとき、ドアを停止するようにドアの動きを制御させることができる。
これにより、手の動きが分からないときに、ドアが開き続け、手にぶつかることを防止することができる。
このドア制御手段には、手の形が所定の第2の形になったとき、ドアを停止するようにドアの動きを制御させることができる。
これにより、ドアを停止するタイミングをより明確に示すことができ、より適切なタイミングでドアを停止することができる。
このドア制御手段には、さらに、ドアが開く方向に手が動く速さに応じてドアを開ける速さを制御させることができる。
これにより、手を触れずに確実に所望する速度でドアを開けることができる。
このドア制御手段には、さらに、ドアの近傍において手の形が所定の第2の形になった後、ドアが閉まる方向に手が動いた場合、手の動きに応じてドアを閉まる方向に動かし、手の形が第2の形とは異なる形になったとき、ドアを停止するようにドアの動きを制御させることができる。
これにより、手を触れずに確実に所望するようにドアを閉めたり停止したりすることができる。
ドア制御手段には、さらに、ドアが閉まる方向に手が動く速さに応じてドアを閉める速さを制御させることができる。
これにより、手を触れずに確実に所望する速度でドアを閉めることができる。
本発明の第1の側面のドア制御方法またはプログラムは、車両のドアの近傍における手の形および動きを検出する手検出ステップと、ドアの近傍において手の形が所定の第1の形になった後、ドアが開く方向に手が動いた場合、手の動きに応じてドアを開く方向に動かし、手の形が第1の形とは異なる形になったとき、ドアを停止するようにドアの動きを制御するドア制御ステップとを含む。
本発明の第1の側面のドア制御方法またはプログラムにおいては、車両のドアの近傍における手の形および動きが検出され、ドアの近傍において手の形が所定の第1の形になった後、ドアが開く方向に手が動いた場合、手の動きに応じてドアが開く方向に動かされ、手の形が第1の形とは異なる形になったとき、ドアが停止される。
従って、ユーザが手を触れずに確実に所望するようにドアを開けたり停止したりすることができる。
この手検出ステップ、ドア制御ステップは、例えば、CPU(Central Processing Unit)またはECU(Electronic Control Unit)により実行される。
本発明の第2の側面のドア制御装置は、車両のドアの近傍における手の形および動きを検出する手検出手段と、ドアの近傍において手の形が所定の第1の形になった後、ドアが開く方向に手が動いた場合、手の動きに応じてドアを開く方向に動かすとともに、ドアが開く方向に手が動く速さに応じてドアを開ける速さを階段状に変化させるようにドアの動きを制御するドア制御手段とを含む。
本発明の第2の側面のドア制御装置においては、車両のドアの近傍における手の形および動きが検出され、ドアの近傍において手の形が所定の第1の形になった後、ドアが開く方向に手が動いた場合、手の動きに応じてドアが開く方向に動かされるとともに、ドアが開く方向に手が動く速さに応じてドアを開ける速さが階段状に変化する。
従って、手を触れずに確実に所望する速度でドアを開けることができる。
この手検出手段、ドア制御手段は、例えば、CPU(Central Processing Unit)またはECU(Electronic Control Unit)により構成される。
このドア制御手段には、さらに、ドアの近傍において手の形が所定の第2の形になった後、ドアが閉まる方向に手が動いた場合、手の動きに応じてドアを閉まる方向に動かすとともに、ドアが閉まる方向に手が動く速さに応じてドアを閉める速さを階段状に変化させるようにドアの動きを制御させることができる。
これにより、手を触れずに確実に所望する速度でドアを閉めることができる。
このドア制御手段には、ドアが閉まる方向に手が動く速さが所定の速度以上になった場合、それ以降の手の形および動きに関わらず、ドアを最後まで閉めるように制御させることができる。
これにより、より簡単に手を触れずにドアを閉めることができる。
本発明の第2の側面のドア制御方法またはプログラムは、車両のドアの近傍における手の形および動きを検出する手検出ステップと、ドアの近傍において手の形が所定の第1の形になった後、ドアが開く方向に手が動いた場合、手の動きに応じてドアを開く方向に動かすとともに、ドアが開く方向に手が動く速さに応じてドアを開ける速さを階段状に変化させるように制御するドア制御ステップとを含む。
本発明の第2の側面のドア制御方法またはプログラムにおいては、車両のドアの近傍における手の形および動きが検出され、ドアの近傍において手の形が所定の第1の形になった後、ドアが開く方向に手が動いた場合、手の動きに応じてドアが開く方向に動かされるとともに、ドアが開く方向に手が動く速さに応じてドアを開ける速さが階段状に変化する。
従って、手を触れずに確実に所望する速度でドアを開けることができる。
この手検出ステップ、ドア制御ステップは、例えば、CPU(Central Processing Unit)またはECU(Electronic Control Unit)により実行される。
本発明の第3の側面のドア制御装置は、車両のドアの近傍における手の形および動きを検出する手検出手段と、ドアの近傍において手の形が所定の第1の形になった後、ドアが開く方向に手が動いた場合、手の動きに応じてドアを開く方向に動かし、ドアの近傍において手の形が所定の第2の形になった後、ドアが閉まる方向に手が動いた場合、手の動きに応じてドアを閉まる方向に動かすようにドアの動きを制御するドア制御手段とを含む。
本発明の第3の側面のドア制御装置においては、車両のドアの近傍における手の形および動きが検出され、ドアの近傍において手の形が所定の第1の形になった後、ドアが開く方向に手が動いた場合、手の動きに応じてドアが開く方向に動かされ、ドアの近傍において手の形が所定の第2の形になった後、ドアが閉まる方向に手が動いた場合、手の動きに応じてドアが閉まる方向に動かされる。
従って、手を触れずに確実に所望するようにドアを開けたり閉めたりすることができる。
この手検出手段、ドア制御手段は、例えば、CPU(Central Processing Unit)またはECU(Electronic Control Unit)により構成される。
本発明の第3の側面のドア制御方法またはプログラムは、車両のドアの近傍における手の形および動きを検出する手検出ステップと、ドアの近傍において手の形が所定の第1の形になった後、ドアが開く方向に手が動いた場合、手の動きに応じてドアを開く方向に動かし、ドアの近傍において手の形が所定の第2の形になった後、ドアが閉まる方向に手が動いた場合、手の動きに応じてドアを閉まる方向に動かすようにドアの動きを制御するドア制御ステップとを含む。
本発明の第3の側面のドア制御方法またはプログラムにおいては、車両のドアの近傍における手の形および動きが検出され、ドアの近傍において手の形が所定の第1の形になった後、ドアが開く方向に手が動いた場合、手の動きに応じてドアが開く方向に動かされ、ドアの近傍において手の形が所定の第2の形になった後、ドアが閉まる方向に手が動いた場合、手の動きに応じてドアが閉まる方向に動かされる。
従って、手を触れずに確実に所望するようにドアを開けたり閉めたりすることができる。
この手検出ステップ、ドア制御ステップは、例えば、CPU(Central Processing Unit)またはECU(Electronic Control Unit)により実行される。
以上のように、本発明の第1の側面によれば、手を触れずにドアを開けることができる。特に、本発明の第1の側面によれば、手を触れずに確実に所望するようにドアを開けたり停止したりすることができる。
本発明の第2の側面によれば、手を触れずにドアを開けることができる。特に、本発明の第2の側面によれば、手を触れずに確実に所望する速度でドアを開けることができる。
本発明の第3の側面によれば、手を触れずにドアを開けたり閉めたりすることができる。特に、本発明の第3の側面によれば、手を触れずに確実に所望するようにドアを開けたり閉めたりすることができる。
以下、図を参照して、本発明の実施の形態について説明する。
図1は、本発明を適用したドア制御システムの一実施の形態を示すブロック図である。図1のドア制御システム1は、ドア制御システム1が設けられている車両(以下、自車とも称する)のドアの動きを制御するシステムである。ドア制御システム1は、センサ部11−1乃至11−4、カメラ12−1乃至12−4、認証情報取得部13−1乃至13−4、制御部14、ドア開閉機構部15−1乃至15−4、および、ドアロック機構部16−1乃至16−4を含むように構成される。
なお、図1のドア制御システム1は、設置されている車両が4ドアで、かつ、全てのドアの動きを制御する場合の例を示している。そして、センサ部11−1、カメラ12−1、認証情報取得部13−1、ドア開閉機構部15−1、および、ドアロック機構部16−1が運転席のドアを制御するためのものであり、センサ部11−2、カメラ12−2、認証情報取得部13−2、ドア開閉機構部15−2、および、ドアロック機構部16−2が助手席のドアを制御するためのものであり、センサ部11−3、カメラ12−3、認証情報取得部13−3、ドア開閉機構部15−3、および、ドアロック機構部16−3が後部座席の右側のドアを制御するためのものであり、センサ部11−4、カメラ12−4、認証情報取得部13−4、ドア開閉機構部15−4、および、ドアロック機構部16−4が後部座席の左側のドアを制御するためのものである。
センサ部11−1乃至11−4は、それぞれ、距離センサ、物体検出センサなどのセンサにより構成される。センサ部11−1乃至11−4は、それぞれ、対応するドアの近傍における物体の有無およびドアからの距離を検出する。センサ部11−1乃至11−4は、検出結果を示す信号を、制御部14の物体検出部31および手検出部33に供給する。なお、以下、センサ部11−1乃至11−4を個々に区別する必要がない場合、単にセンサ部11と称する。
カメラ12−1乃至12−4は、制御部14の手検出部33の制御の基に、それぞれ、対応するドアの近傍の領域の撮影を行う。カメラ12−1乃至12−4は、撮影した画像を手検出部33に供給する。なお、以下、カメラ12−1乃至12−4を個々に区別する必要がない場合、単にカメラ12と称する。なお、図1では、1つのドアにつき1台のカメラを設ける例を示しているが、1つのドアにつき複数のカメラを設けるようにしてもよい。
認証情報取得部13−1乃至13−4は、それぞれ、ユーザの認証を行うための認証情報を取得し、取得した認証情報を制御部14の認証部32に供給する。なお、認証情報には、例えば、キーレスエントリシステム、スマートエントリ(商標)システム、インテリジェントキー(登録商標)システムなどのシステムにおいてキー本体から送信されてくる認証用の電波、または、顔や指紋の画像などの生体情報などが採用される。なお、以下、認証情報取得部13−1乃至13−4を個々に区別する必要がない場合、単に認証情報取得部13と称する。
なお、認証情報取得部13は、認証情報の種類や性質によっては、必ずしも各ドアに設ける必要はない。例えば、運転者の認証のみを行う場合、運転席のドアのみに認証情報取得部13を設けるようにすればよい。また、例えば、認証情報が電波で送信されてくる場合、各ドア付近から送信されてくる認証情報を受信できる位置に1つの認証情報取得部13を設けるようにしてもよい。
制御部14は、例えば、CPU(Central Processing Unit)、ECU(Electronic Control Unit)、メモリなどにより構成され、自車のドアの動きを制御する。制御部14は、物体検出部31、認証部32、手検出部33、および、ドア制御部34を含むように構成される。
物体検出部31は、センサ部11からの信号に基づいて、自車の各ドアへの物体の接近の検出を行う。物体検出部31は、物体の接近を検出した場合、物体の接近が検出されたドアを示す情報を手検出部33およびドア制御部34に供給する。
認証部32は、認証情報取得部13により取得された認証情報に基づいて、ユーザの認証を行う。認証部32は、ユーザの認証が成功した場合、認証が成功したドアを示す情報を手検出部33およびドア制御部34に供給する。なお、ユーザの認証が行われたドアを特に区別する必要がない場合、認証部32は、ユーザの認証が成功したことのみを示す情報を手検出部33およびドア制御部34に供給する。
手検出部33は、センサ部11からの信号およびカメラ12からの画像に基づいて、自車の各ドアの近傍におけるユーザの手の動き(手の形、移動する方向および速さなど)、および、ユーザの手のドアに対する位置を検出する。手検出部33は、検出結果を示す情報をドア制御部34に供給する。
ドア制御部34は、手検出部33により検出されたユーザの手の動きおよび位置に基づいて、ドア開閉機構部15およびドアロック機構部16を制御することにより、自車のドアの動きを制御する。また、ドア制御部34は、ドア開閉機構部15およびドアロック機構部16から、自車の各ドアの状態を示す情報を取得し、必要に応じて手検出部33に供給する。
ドア開閉機構部15−1乃至15−4は、それぞれ、対応するドアの開閉を行うための機構部品(例えば、アクチュエータなど)により構成される。なお、以下、ドア開閉機構部15−1乃至15−4を個々に区別する必要がない場合、単にドア開閉機構部15と称する。
ドアロック機構部16−1乃至16−4は、それぞれ、対応するドアのドアロックの開閉を行うための機構部品(例えば、ラッチ部品など)により構成される。なお、以下、ドアロック機構部16−1乃至16−4を個々に区別する必要がない場合、単にドアロック機構部16と称する。
なお、センサ部11、カメラ12、認証情報取得部13、ドア開閉機構部15、および、ドアロック機構部16の組み合わせの数は、ドア制御システム1が制御するドアの数により増減する。また、必ずしもドア制御システム1に自車の全てのドアの動きを制御させる必要はなく、必要なドア(例えば、運転席のドア)の動きのみを制御させるようにすればよい。
次に、図2乃至図9を参照して、運転席のドア用のカメラ12−1の設置位置の例について説明する。
まず、図2乃至図7を参照して、運転席のドアが、車体の外方向に開閉するヒンジドアである場合のカメラ12−1の設置位置の例について説明する。ヒンジドアの場合、ドアの開閉に合わせてユーザの手が動く様子を常に確実に撮影できるように、ドアの外側のドアハンドル付近を中心とする範囲を、ドアの開閉方向に対してほぼ垂直な方向から常に撮影できる位置にカメラ12−1を設置することが望ましい。
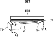
例えば、図2および図3は、矢印A1により示される方向を撮影するように、ヒンジドアであるドア51の前方の窓枠52の外側に設置されているドアミラー54の内部にカメラ12−1(図示せず)を設置した例を示している。すなわち、カメラ12−1は、ドア51の動きに関わらず、ドア51の開閉方向A2に対してほぼ垂直な方向、かつ、地面に対してほぼ水平な方向から、ドア51の前方から後方を常に撮影することができる。従って、ユーザがドア51を開閉する際に手を動かす、ドア51の後方かつ外部の図示せぬドアハンドルの近傍の領域T1を常に撮影することができる。
なお、図2は、ドア51を外側から見たときの模式図であり、図3は、ドア51を上から見たときの模式図である。また、図2および図3において、右方向が車両の前方である。さらに、図3において、窓53を挟んで、部分51Aがドア51の外側であり、部分51Bがドア51の内側である。なお、図3において、窓枠52の図示を省略している。
図4および図5は、矢印A11により示される方向を撮影するように、ドア51の前方の窓枠52の車内側にカメラ12−1を設置した例を示している。すなわち、カメラ12−1は、ドア51の動きに関わらず、窓53を介して、ドア51の開閉方向A2に対してほぼ垂直な方向、かつ、地面に対してほぼ水平な方向から、ドア51の前方から後方を常に撮影することができる。従って、ドア51の近傍の領域T1を常に撮影することができる。
なお、図4は、図2と同様にドア51を外側から見たときの模式図であり、図5は、図3と同様にドア51を上から見たときの模式図である。なお、図を分かりやすくするために、図4および図5において、ドアミラー54の図示を省略し、カメラ12−1を実際よりも大きいサイズで示している。また、図3において、窓枠52の図示を省略している。
なお、ドア51の開閉に合わせてユーザの手が動いても、ユーザの手を撮影できるだけカメラ12−1の画角が十分に広い場合、例えば、矢印A11と近い方向を撮影できるように、カメラ12−1を自車のダッシュボードの上などに設置するようにしてもよい。
図6および図7は、矢印A21により示される方向を撮影するように、ドア51の後方の窓枠52の上辺の車内側にカメラ12−1を設置した例を示している。すなわち、カメラ12−1は、ドア51の動きに関わらず、窓53を介して、車内の天井付近から地面に対してほぼ垂直な方向に見下ろすように、ドア51の内側から外側を常に撮影することができる。従って、ドア51の近傍の領域T1を常に撮影することができる。
なお、図6は、図2と同様にドア51を外側から見たときの模式図であり、図7は、ドア51を後方から見たときの模式図である。なお、図を分かりやすくするために、図6において、ドアミラー54の図示を省略し、図6および図7において、カメラ12−1を実際よりも大きいサイズで示している。
一方、運転席のドアが車両の前後方向に開閉するスライドドアである場合も、ヒンジドアの場合と同様に、ドアの開閉に合わせてユーザの手が動く様子を常に確実に撮影できるように、ドアの外側のドアハンドル付近を中心とする範囲を、ドアの開閉方向に対してほぼ垂直な方向から常に撮影できる位置にカメラを設置することが望ましい。
例えば、図8および図9は、矢印A32により示される方向を撮影するように、スライドドアであるドア71の前方の窓枠72の下辺の上かつ車内側にカメラ12−1を設置した例を示している。すなわち、カメラ12−1は、ドア71の動きに関わらず、窓73を介して、ドア71の開閉方向A31に対してほぼ垂直な方向、かつ、地面に対してほぼ水平な方向から、ドア51の内側から外側を常に撮影することができる。従って、ユーザがドア71を開閉する際に手を動かす、ドア71の前方かつ外部の図示せぬドアハンドルの近傍の領域T31を常に撮影することができる。
なお、図8は、ドア71を外側から見たときの模式図であり、図9は、ドア71を上から見たときの模式図である。また、図8および図9において、右方向が車両の前方である。さらに、図9において、窓73を挟んで、部分71Aがドア71の外側であり、部分71Bがドア71の内側である。なお、図を分かりやすくするために、図8および図9において、カメラ12−1を実際よりも大きいサイズで示している。また、図9において、窓枠72の図示を省略している。
なお、ドア71の開閉に合わせてユーザの手が動いても、ユーザの手を撮影できるだけカメラ12−1の画角が十分に広い場合、例えば、撮影方向A31と近い方向を撮影できるように、カメラ12−1を自車の天井などに設置するようにしてもよい。
また、スライドドアの場合においても、図6および図7に示される例と同様に、ドア71の窓枠72の上辺の車内側にカメラ12−1を設置することが可能である。ただし、スライドドアとヒンジドアとではドアハンドルの位置が異なるため、スライドドアの場合、ドア71の前方にカメラ12−1を設置するのが望ましい。
なお、以上はカメラ12−1の設置位置の一例であり、ドアの開閉に合わせてユーザの手が動く様子を常に確実に撮影できる他の位置に設置する(例えば、ドアハンドル付近にカメラ12−1に埋め込むなど)ようにしてもよい。また、以上の説明では、運転席のドアについてのみ例を示したが、他の座席のドアについても、同様の方針によりカメラ12を設置するようにすることが望ましい。
次に、図10乃至図12のフローチャートを参照して、ドア制御システム1により実行されるドア制御処理について説明する。なお、以下、説明を分かりやすくするために、図13乃至図15および図20を参照しながら、ドア制御システム1が設置された車両101の運転席のドア111を制御する場合について説明する。なお、図13乃至図15および図20は、車両101を上から見た図を示しており、図内の上方向が車両101の前方方向である。
ステップS1において、認証部32は、認証情報が入力されたか否かを判定する。認証情報が入力されていないと判定された場合、処理はステップS2に進む。
ステップS2において、物体検出部31は、ドア111に物体が接近したか否かを判定する。具体的には、物体検出部31は、センサ部11−1により、図13に示されるドア111の近傍の検出エリアA101内において、物体の存在が検出されなかった場合、処理はステップS1に戻る。検出エリアA101は、例えば、ドア111の図示せぬドアハンドルのほぼ中心から所定の距離(例えば、30cm)の範囲内に設定される。
なお、ドア制御システム1が設置される車両101では、手を触れずにドア111を開閉できるため、ドアハンドルが設けられない場合が想定される。この場合、通常の車両においてドアハンドルが標準的に設けられる位置を中心とする範囲を検出エリアとして設定することにより、ユーザに違和感を与えずにドアの開閉を行うようにすることができる。
その後、ステップS1において、認証情報が入力されたと判定されるか、ステップS2において、ドア111に物体が接近したと判定されるまで、ステップS1およびS2の処理が繰り返し実行される。
一方、ステップS2において、物体検出部31は、センサ部11−1により、ドア111の検出エリアA101内において物体の存在が検出された場合、ドア111に物体が接近したと判定し、ドア111に物体が接近したことを手検出部33およびドア制御部34に通知し、処理はステップS3に進む。
ステップS3において、ドア制御部34は、ドアロックが施錠されているか否かを判定する。すなわち、ドア制御部34は、ドアロック機構部16−1からの情報に基づいて、ドア111のドアロックの状態を確認し、ドア111のドアロックが施錠されているか否かを判定する。ドア111のドアロックが施錠されていると判定された場合、処理はステップS1に戻り、ステップS1以降の処理が実行される。これにより、ドアロックが施錠されている場合、ドア111を開ける前にユーザ認証が要求されるようになり、セキュリティが確保される。
一方、ステップS3において、ドア制御部34は、ドア111のドアロックが施錠されていないと判定した場合、ドア111のドアロックが施錠されていないことを手検出部33に通知し、処理はステップS5に進む。
一方、ステップS1において、認証情報取得部13−1が認証情報を取得し、取得した認証情報が認証部32に供給された場合、認証部32は、認証情報が入力されたと判定し、処理はステップS4に進む。
ステップS4において、認証部32は、ユーザ認証に成功したか否かを判定する。具体的には、認証部32は、取得した認証情報が正規のユーザのものであるか否かを確認し、正規のユーザのものでない場合、ユーザ認証に失敗したと判定し、処理はステップS1に戻り、ステップS1以降の処理が実行される。
一方、ステップS4において、認証部32は、取得した認証情報が正規のユーザのものである場合、ユーザ認証に成功したと判定し、ドア111においてユーザ認証が成功したことを手検出部33およびドア制御部34に通知し、処理はステップS5に進む。
ステップS5において、手検出部33は、手102の検出処理を開始する。具体的には、手検出部33は、カメラ12−1の撮影を開始させ、撮影した画像の取得を開始する。そして、手検出部33は、取得した画像に基づいて、所定の手法を用いて、ドア111の近傍における手の形および動きの検出を開始する。より具体的には、手検出部33は、手の形が、ドア111を開ける意思を表す所定の形(以下、オープン形と称する)、ドア111を閉める意思を表す所定の形(以下、クローズ形と称する)、または、それ以外の形のいずれであるか、並びに、手の動く速さおよび方向の検出を開始する。また、手検出部33は、取得した画像、および、センサ部11−1からの信号に基づいて、ドア111に対する手の位置の検出を開始する。そして、手検出部33は、検出結果を示す情報のドア制御部34への供給を開始する。
なお、手検出部33が、ユーザの手の形、動きおよび位置を検出する手法は、特定の手法に限定されるものではなく、より正確、迅速かつ簡単に検出できる手法を適用することが望ましい。
また、オープン形およびクローズ形はどのような形に設定してもよいが、ユーザが直感的に操作できるような形に設定するのが望ましい。例えば、オープン形は、実際に手102をドア111に触れて開ける場合に近い形(例えば、図14に示されるようなドアハンドルを握るような形)に設定し、クローズ形は、実際に手102をドア111に触れて閉める場合に近い形(例えば、ドアを押すために手を広げた形)に設定するようにすることが望ましい。
ステップS6において、手検出部33は、ドア111に手が接近しているか否かを判定する。例えば、手検出部33は、図13に示されるように、ドア111の検出エリアA101内において手102を検出した場合、ドア111に手が接近していると判定し、処理はステップS7に進む。
なお、ユーザ認証を行った後、ユーザがドア111に手102を近づけるまでにある程度の時間を要する場合が想定されるため、ステップS4において、ユーザ認証に成功したと判定された後の最初のステップS6の処理においては、ある程度の時間の余裕を持って、判定を行うようにすることが望ましい。
ステップS7において、ドア制御部34は、手検出部33からの情報に基づいて、手102の形がクローズ形であるか否かを判定する。手102の形がクローズ形でないと判定された場合、処理はステップS8に進む。
ステップS8において、ドア制御部34は、手検出部33からの情報に基づいて、手102の形がオープン形であるか否かを判定する。手102の形がオープン形でないと判定された場合、処理はステップS6に戻り、ステップS6において、ドア111に手が接近していないと判定されるか、ステップS7において、手102の形がクローズ形であると判定されるか、ステップS8において、手102の形がオープン形であると判定されるまで、ステップS6乃至S8の処理が繰り返し実行される。
一方、ステップS8において、手102の形がオープン形であると判定された場合、処理はステップS9に進む。
ステップS9において、ドア制御部34は、手検出部33からの情報に基づいて、手102とドア111の間の距離が所定の閾値未満であるか否かを判定する。手102とドア111の間の距離が所定の閾値以上であると判定された場合、処理はステップS6に戻り、ステップS6以降の処理が実行される。すなわち、ドア111から所定の距離以上離れた場所で手102の形をオープン形にしても、そのジェスチャは無視される。
一方、ステップS9において、手102とドア111の間の距離が所定の閾値未満であると判定された場合、処理はステップS10に進む。
ステップS10において、ドア制御部34は、ドア開閉機構部15−1からの情報に基づいて、ドア111が全開しているか否かを判定する。ドア111が全開していると判定された場合、ドア111をこれ以上開けることはできないため、処理はステップS6に戻り、ステップS6以降の処理が実行される。
一方、ステップS10において、ドア111が全開していないと判定された場合、処理はステップS11に進む。
ステップS11において、ステップS3の処理と同様に、ドア111のドアロックが施錠されているか否かが判定される。ドア111のドアロックが施錠されていると判定された場合、処理はステップS12に進む。
ステップS12において、ドア制御部34は、ドアロックを解錠する。すなわち、ドア制御部34は、ドアロック機構部16−1を制御して、ドア111のドアロックを解錠する。その後、処理はステップS13に進む。
一方、ステップS11において、ドア111のドアロックが施錠されていないと判定された場合、ステップS12の処理はスキップされ、処理はステップS13に進む。
ステップS13において、ドア制御部34は、ドア111が開く方向に手102が動く速さに応じてドア111を開ける速さを制御する。具体的には、ユーザは、ドア111を開ける場合、例えば、図15に示されるように、手102の形をオープン形にしたまま、ドア111が開く方向に手102を動かす。ドア制御部34は、ドア開閉機構部15−1を制御し、手102の動きに応じてドア111を開く方向に動かすとともに、ドア111が開く方向に手102が動く速さに応じて、ドア111を開ける速さを制御する。
ここで、図16乃至図19を参照して、ドア111を開ける速さの制御方法の例について説明する。なお、図16乃至図19は、手102の動く速さとドア111を開ける速さの関係を示すグラフであり、横軸がドア111が開く方向に手102が動く速さ(以下、単に手102の速さとも称する)を示しており、縦軸がドア111を開ける速さ(以下、単にドア111の速さとも称する)を示している。
例えば、図16に示されるように、手102の速さに比例するようにドア111の速さを制御することが考えられる。この場合、手102の速さにドア111の速さが追従するので、ユーザは、より直感的に、かつ、より意図に近い形でドア111を開けることが可能となる。なお、この場合、手102の速さにドア111の速さを追従させるが、必ずしも手102とドア111の間の距離を一定に保つように制御する必要はない。
また、例えば、図17に示されるように、手102の速さが所定の速度になるまで、図16の場合と同じく手102の速さに比例するようにドア111の速さを制御し、手102の速さが所定の速度以上になった場合、ドア111の速さをそれ以上上げないように制御することが考えられる。この場合、例えば、ドア111が開くのが速くなりすぎて、突然手102の動きを止めたときに、ドア111の停止が間に合わずに、ドア111が手102にぶつかることを防止することができる。
さらに、例えば、図18に示されるように、手102の速さが所定の速度未満のとき、ドア111を動かさずに、手102の速さが所定の速度以上のとき、ドア111を定速で開けるように制御することが考えられる。この場合、ドア111の制御が簡単になるため、ドア開閉機構部15−1を簡易な構成とし、小型化かつ軽量化することが可能になる。この方法は、特に、スライドドアのように、手102の速さにドアが追従しなくてもあまり違和感を感じない場合に有効である。
また、例えば、図19に示されるように、手102の速さに応じてドア111の速さを段階的に制御すること、換言すれば、手102の速さに応じてドア111が速くなるように、ドア111の速さを階段状に変化させることが考えられる。この場合、図16および図17に示される方法と比較して、ドア111の制御を簡単にすることができるとともに、図18に示される方法と比較して、手102の動きにドア111の動きを追従させることができる。なお、図18の制御方法も、ドアの速さが階段状に変化する点で、図19の制御方法の一つとして考えることが可能である。
図11に戻り、ステップS14において、ドア制御部34は、手検出部33からの情報に基づいて、手102の動く速さを計測できなくなったか否かを判定する。手102の動く速さを計測できていると判定された場合、処理はステップS15に進む。
ステップS15において、ドア制御部34は、手検出部33からの情報に基づいて、手102の形がオープン形と異なる形になったか否かを判定する。手102の形がオープン形のままであると判定された場合、処理はステップS16に進む。
ステップS16において、ドア制御部34は、手検出部33からの情報に基づいて、ドア111が開く方向に手102が動く速さが所定の速度未満になったか否かを判定する。ドア111が開く方向に手102が動く速さが所定の速度以上であると判定された場合、処理はステップS17に進む。
ステップS17において、ドア制御部34は、ドア開閉機構部15−1からの情報に基づいて、ドア111が全開したか否かを判定する。ドア111が全開していないと判定された場合、処理はステップS13に戻り、ステップS14において、手102の動く速さを計測できなくなったと判定されるか、ステップS15において、手102の形がオープン形と異なる形になったと判定されるか、ステップS16において、ドア111が開く方向に手102が動く速さが所定の速度未満になったと判定されるか、ステップS17において、ドア111が全開したと判定されるまで、ステップS13乃至S17の処理が繰り返し実行される。
一方、ステップS17において、ドア111が全開したと判定された場合、処理はステップS18に進む。
また、ステップS16において、ドア111が開く方向に手102が動く速さが所定の速度未満になったと判定された場合、処理はステップS18に進む。例えば、図16および図17に示されるグラフに従ってドア111を開ける速さを制御している場合、ドア111が開く方向に手102が動く速さが0以下になった場合、処理はステップS18に進む。また、図18に示されるグラフに従ってドア111を開ける速さを制御している場合、ドア111が開く方向に手102が動く速さがVa未満になった場合、処理はステップS18に進む。さらに、図19に示されるグラフに従ってドア111を開ける速さを制御している場合、ドア111が開く方向に手102が動く速さがVb未満になった場合、処理はステップS18に進む。
なお、ドア111が開く方向以外の方向(例えば、上下方向)に手102が所定の速度以上で動いていても、ドア111が開く方向の速度成分が所定の速度未満である場合、処理はステップS18に進む。また、もちろん、ドア111が開く方向とは逆方向、すなわちドア111が閉まる方向に手102が動いている場合も、処理はステップS18に進む。
さらに、例えば、図20に示されるように、ユーザが手102を開くなどして、手102の形がオープン形とは異なる形になった場合、ステップS15において、手102の形がオープン形と異なる形になったと判定され、処理はステップS18に進む。
また、ステップS14において、手102の動く速さを計測できなくなったと判定された場合、処理はステップS18に進む。これは、例えば、ユーザの手102がカメラ12−1の撮影範囲から出てしまったり、ユーザが手102をカメラ12−1から隠したりした場合などである。
ステップS18において、ドア開閉機構部15−1は、ドア制御部34の制御の基に、ドア111の動きを停止する。すなわち、ドア開閉機構部15−1は、ドア111を開けるのを停止する。
その後、処理はステップS6に戻り、ステップS6以降の処理が実行される。従って、引き続き、ユーザは、手102をオープン形にしてドア111が開く方向に動かすことにより、ドア111を開け、手102をクローズ形にしてドア111が閉まる方向に動かすことにより、ドア111を閉めることができる。
一方、ステップS7において、手102の形がクローズ形であると判定された場合、処理はステップS19に進む。
ステップS19において、ステップS9の処理と同様に、手102とドア111の間の距離が所定の閾値未満であるか否かが判定される。手102とドア111の距離が所定の閾値以上であると判定された場合、処理はステップS6に戻り、ステップS6以降の処理が実行される。すなわち、ドア111から所定の距離以上離れた場所で手102の形をクローズ形にしても、そのジェスチャは無視される。
一方、ステップS19において、手102とドア111の間の距離が所定の閾値未満であると判定された場合、処理はステップS20に進む。
なお、ステップS9とS19の処理における閾値は、同じ値に設定してもよいし、異なる値に設定してもよい。例えば、ドア111を閉める場合に手102がドア111にぶつかることを確実に防ぐために、ステップS19における閾値を、ステップS9における閾値より大きい値に設定することが考えられる。
ステップS20において、ドア制御部34は、ドア開閉機構部15−1からの情報に基づいて、ドア111が開いているか否かを判定する。ドア111が閉まっていると判定された場合、ドア111を閉める必要はないため、処理はステップS6に戻り、ステップS6以降の処理が実行される。
一方、ステップS20において、ドア111が開いていると判定された場合、処理はステップS21に進む。
ステップS21において、ドア制御部34は、手検出部33からの情報に基づいて、ドア111が閉まる方向に手102が動く速さが所定の閾値以上であるか否かを判定する。ドア111が閉まる方向に手102が動く速さが所定の閾値未満であると判定された場合、処理はステップS22に進む。
ステップS22において、ドア制御部34は、ドア111が閉まる方向に手102が動く速さに応じてドア111を閉める速さを制御する。具体的には、ユーザは、ドア111を閉める場合、例えば、手102の形をクローズ形にしたまま、ドア111が閉まる方向に手102を動かす。ドア制御部34は、ドア開閉機構部15−1を制御し、手102の動きに応じてドア111を閉まる方向に動かすとともに、ドア111が閉まる方向に手102が動く速さに応じて、ドア111を閉める速さを制御する。
なお、ドア111を閉める速さは、図16乃至図19を参照して上述した、ドア111を開ける速さと同様の方法により制御するようにすればよい。ただし、後述するように、ドア111を開ける場合と異なり、ドア111が閉まる方向に手102が動く速さが所定の閾値以上になった場合には、それ以降の手102の形や動きに関わらず、ドア111は最後まで閉められる。
ステップS23において、図11のステップS14の処理と同様に、手102の動く速さを計測できなくなったか否かが判定され、手102の動く速さを計測できていると判定された場合、処理はステップS24に進む。
ステップS24において、ドア制御部34は、手検出部33からの情報に基づいて、手102の形がクローズ形と異なる形になったか否かを判定する。手102の形がクローズ形のままであると判定された場合、処理はステップS25に進む。
ステップS25において、ドア制御部34は、手検出部33からの情報に基づいて、ドア111が閉まる方向に手102が動く速さが所定の速度未満になったか否かを判定する。ドア111が閉まる方向に手102が動く速さが所定の速度以上であると判定された場合、処理はステップS26に進む。
ステップS26において、ドア制御部34は、ドア開閉機構部15からの情報に基づいて、ドア111が閉まったか否かを判定する。ドア111が閉まっていないと判定された場合、処理はステップS21に戻り、ステップS21において、ドア111が閉まる方向に手102が動く速さが所定の閾値以上であると判定されるか、ステップS23において、手102の動く速さを計測できなくなったと判定されるか、ステップS24において、手102の形がクローズ形と異なる形になったと判定されるか、ステップS25において、ドア111が閉まる方向に手102が動く速さが所定の速度未満になったと判定されるか、ステップS26において、ドア111が閉まったと判定されるまで、ステップS21乃至S26の処理が繰り返し実行される。
一方、ステップS26において、ドア111が閉まったと判定された場合、処理はステップS27に進む。
また、ステップS25において、ドア111が閉まる方向に手102が動く速さが所定の速度未満になったと判定された場合、処理はステップS27に進む。なお、ドア111が閉まる方向以外の方向(例えば、上下方向)に手102が所定の速度以上で動いていても、ドア111が閉まる方向の速度成分が所定の速度未満である場合、処理はステップS27に進む。また、もちろん、ドア111が閉まる方向とは逆方向、すなわちドア111が開く方向に手102が動いている場合も、処理はステップS27に進む。
また、ステップS24において、手102の形がクローズ形と異なる形になったと判定された場合、処理はステップS27に進む。
さらに、ステップS23において、手102の動く速さを計測できなくなったと判定された場合、処理はステップS27に進む。
ステップS27において、ドア開閉機構部15−1は、ドア制御部34の制御の基に、ドア111の動きを停止する。すなわち、ドア開閉機構部15−1は、ドア111を閉めるのを停止する。
その後、処理はステップS6に戻り、ステップS6以降の処理が実行される。従って、引き続き、ユーザは、手102をオープン形にしてドア111が開く方向に動かすことにより、ドア111を開け、手102をクローズ形にしてドア111が閉まる方向に動かすことにより、ドア111を閉めることができる。
一方、ステップS21において、ドア111が閉まる方向に手102が動く速さが所定の閾値以上であると判定された場合、処理はステップS28に進む。
ステップS28において、ドア開閉機構部15−1は、ドア制御部34の制御の基に、ドア111を最後まで閉める。すなわち、ドア111が閉まる方向に手102を所定の閾値以上の速さで動かすことにより、それ以降、手102の形や動きによらずに、ドア111を手で強く押し、その惰性でドア111を閉める場合と同様に、ドア111が自動的に最後まで閉められる。
その後、処理はステップS6に戻り、ステップS6以降の処理が実行される。従って、引き続き、ユーザは、手102をオープン形にしてドア111が開く方向に動かすことにより、ドア111を開けることができる。
一方、ステップS6において、ドア111に手が接近していないと判定された場合、処理はステップS29に進む。
ステップS29において、手検出部33は、手の検出処理を終了する。具体的には、手検出部33は、カメラ12の撮影を停止させるとともに、自身の検出処理を停止する。その後、処理はステップS1に戻り、ステップS1以降の処理が実行される。
なお、以上の説明では、運転席のドア111の動きを制御する例を示したが、他のドアについても、同様の処理により動きを制御することが可能である。
以上のようにして、ドアに手を触れずに、直感的な操作により、確実にユーザが所望するようにドアを開閉することができる。また、ユーザは、ドアの開閉を開始するタイミングおよび停止するタイミングを明確に示すことができ、適切なタイミングでドアを開閉することができる。さらに、ドアに手を近づけただけではドアは開閉されないため、意図せずにドアが開閉されることを防止できる。また、手の速さに応じてドアの速さを制御するだけで、手とドアの間の距離を一定に保つ制御は行わないため、ドアの開閉を行う機構部品の構成を簡易にし、小型化および軽量化することが可能になる。さらに、手102の動く速さを計測できなくなった場合にドアが停止するため、安全性が向上する。
なお、以上の説明では、ドアを開けている最中に手の形をオープン形以外の形にしたとき、または、ドアを閉めている最中に手の形をクローズ形以外の形にしたときにドアの動きを停止するようにしたが、例えば、手の形をドアを止める意思を表す所定の形(以下、ストップ形と称する)にしたときに、ドアの動きを停止するようにしてもよい。これにより、ドアの開閉を停止するタイミングをより明確に示すことができ、より適切なタイミングでドアを停止することができる。また、ドアを開けている最中に、手の形をオープン形およびストップ形以外の形にしても、ドアを開け続けることができ、ドアを閉めている最中に、手の形をクローズ形およびストップ形以外の形にしても、ドアを開け続けることができる。
また、ドアを開けている最中に手の形がストップ形になった場合、手に当たらない範囲で手の直前までドアを開けるようにしてもよい。
さらに、ドアを閉める場合だけでなく、ドアを開ける場合も、手の速さが所定の閾値以上になった場合、それ以降の手の形や動きによらずに、ドアを全開したり、所定の位置まで開けるようにしてもよい。
また、手の形および動きに応じて、ドアを開ける量を制御するようにしてもよい。例えば、手をクローズ形にして回転させた場合、ドアを少しだけ開け、後は、通常と同じく、手の動きに応じてドアを開けるようにしてもよい。これにより、ドアを少しだけ開けることが容易になる。また、例えば、ドアが開く方向に手を動かしたときの手の初期速度あるいは移動量、または、その両方に応じて、ドアを開ける量を決定し、決定した量だけドアを開けるようにしてもよい。これにより、ユーザは、ドアの感触がない状態で手を動かし続けることなく、所望の量だけドアを開けることができる。
さらに、手がドアに対して垂直方向に動く成分に応じて、窓を開けたり、閉めたりするようにしてもよい。
また、ヒンジドアを開ける場合、ドアが手に当たらないように、手の形がオープン形になった後、手がドアから所定の距離だけ離れた時点から、ドアを開けるように制御するようにしてもよい。
さらに、ドアに手が触れたときにドアの動きを停止するようにしてもよい。
また、ヒンジドアの場合、各種のセンサを用いてドアの外側の障害物を検出するようにして、ドアを開けている最中に、ドアが障害物などにぶつかる可能性が検出された場合、ドアの動きを停止するようにしてもよい。
さらに、ドアの種類に限らず、各種のセンサを用いてドアの挟み込みを検出するようにして、ドアを閉めている最中に、人体の一部や障害物などをドアにより挟み込む可能性が検出された場合、ドアの動きを停止するようにしてもよい。
また、傾斜センサなどを用いて車両の傾きを検出するようにして、ドアが開閉する速度が車両の傾きによって変化しないように、車両の傾きに応じてドア開閉機構を駆動するパワーを制御するようにしてもよい。
さらに、以上の説明では、ドアハンドル付近でユーザが手を動かし、ドアを開閉する例を示したが、ドアハンドル付近以外のドアの近傍におけるユーザ手の動きに応じて、ドアを開閉するようにしてもよい。
なお、本発明は、例えば、車両のドア以外のドア(例えば、他の乗り物のドア、建物のドアなど)の動きを制御するドア制御システムにも適用することが可能である。
上述した一連の処理は、ハードウエアにより実行することもできるし、ソフトウエアにより実行することもできる。一連の処理をソフトウエアにより実行する場合には、そのソフトウエアを構成するプログラムが、専用のハードウエアに組み込まれているコンピュータ、または、各種のプログラムをインストールすることで、各種の機能を実行することが可能な、例えば汎用のパーソナルコンピュータなどに、プログラム記録媒体からインストールされる。
図21は、上述した一連の処理をプログラムにより実行するコンピュータのハードウエアの構成例を示すブロック図である。
コンピュータにおいて、CPU(Central Processing Unit)301,ROM(Read Only Memory)302,RAM(Random Access Memory)303は、バス304により相互に接続されている。
バス304には、さらに、入出力インタフェース305が接続されている。入出力インタフェース305には、キーボード、マウス、マイクロホンなどよりなる入力部306、ディスプレイ、スピーカなどよりなる出力部307、ハードディスクや不揮発性のメモリなどよりなる記憶部308、ネットワークインタフェースなどよりなる通信部309、磁気ディスク、光ディスク、光磁気ディスク、或いは半導体メモリなどのリムーバブルメディア311を駆動するドライブ310が接続されている。
以上のように構成されるコンピュータでは、CPU301が、例えば、記憶部308に記憶されているプログラムを、入出力インタフェース305及びバス304を介して、RAM303にロードして実行することにより、上述した一連の処理が行われる。
コンピュータ(CPU301)が実行するプログラムは、例えば、磁気ディスク(フレキシブルディスクを含む)、光ディスク(CD-ROM(Compact Disc-Read Only Memory),DVD(Digital Versatile Disc)等)、光磁気ディスク、もしくは半導体メモリなどよりなるパッケージメディアであるリムーバブルメディア311に記録して、あるいは、ローカルエリアネットワーク、インターネット、デジタル衛星放送といった、有線または無線の伝送媒体を介して提供される。
そして、プログラムは、リムーバブルメディア311をドライブ310に装着することにより、入出力インタフェース305を介して、記憶部308にインストールすることができる。また、プログラムは、有線または無線の伝送媒体を介して、通信部309で受信し、記憶部308にインストールすることができる。その他、プログラムは、ROM302や記憶部308に、あらかじめインストールしておくことができる。
なお、コンピュータが実行するプログラムは、本明細書で説明する順序に沿って時系列に処理が行われるプログラムであっても良いし、並列に、あるいは呼び出しが行われたとき等の必要なタイミングで処理が行われるプログラムであっても良い。
また、本明細書において、システムの用語は、複数の装置、手段などより構成される全体的な装置を意味するものとする。
さらに、本発明の実施の形態は、上述した実施の形態に限定されるものではなく、本発明の要旨を逸脱しない範囲において種々の変更が可能である。
本発明を適用したドア制御システムの一実施の形態を示すブロック図である。 カメラの設置位置の例を示す図である。 カメラの設置位置の例を示す図である。 カメラの設置位置の他の例を示す図である。 カメラの設置位置の他の例を示す図である。 カメラの設置位置のさらに他の例を示す図である。 カメラの設置位置のさらに他の例を示す図である。 カメラの設置位置のさらに他の例を示す図である。 カメラの設置位置のさらに他の例を示す図である。 ドア制御システムにより実行されるドア制御処理を説明するためのフローチャートである。 ドア制御システムにより実行されるドア制御処理を説明するためのフローチャートである。 ドア制御システムにより実行されるドア制御処理を説明するためのフローチャートである。 ドアを開ける動作の具体例を説明するための図である。 ドアを開ける動作の具体例を説明するための図である。 ドアを開ける動作の具体例を説明するための図である。 ドアの速度制御の例を示す図である。 ドアの速度制御の他の例を示す図である。 ドアの速度制御のさらに他の例を示す図である。 ドアの速度制御のさらに他の例を示す図である。 ドアを開ける動作の具体例を説明するための図である。 コンピュータの構成の例を示すブロック図である。
符号の説明

11−1乃至11−4 センサ部
12−1乃至12−4 カメラ
13−1乃至13−4 認証情報取得部
14 制御部
15−1乃至15−4 ドア開閉機構部
16−1乃至16−4 ドアロック機構部
31 物体検出部
32 認証部
33 手検出部
34 ドア制御部

Claims (17)

  1. 車両のドアの近傍における手の形および動きを検出する手検出手段と、
    前記ドアの近傍において前記手の形が所定の第1の形になった後、前記ドアが開く方向に前記手が動いた場合、前記手の動きに応じて前記ドアを開く方向に動かし、前記手の形が前記第1の形とは異なる形になったとき、前記ドアを停止するように前記ドアの動きを制御するドア制御手段と
    を含むドア制御装置。
  2. 前記ドア制御手段は、さらに、前記ドアが開く方向に前記手が動く速さが所定の速度未満になったとき、前記ドアを停止するように前記ドアの動きを制御する
    請求項1に記載のドア制御装置。
  3. 前記ドア制御手段は、さらに、前記手が動く速さを計測できなくなったとき、前記ドアを停止するように前記ドアの動きを制御する
    請求項1に記載のドア制御装置。
  4. 前記ドア制御手段は、前記手の形が所定の第2の形になったとき、前記ドアを停止するように前記ドアの動きを制御する
    請求項1に記載のドア制御装置。
  5. 前記ドア制御手段は、さらに、前記ドアが開く方向に前記手が動く速さに応じて前記ドアを開ける速さを制御する
    請求項1に記載のドア制御装置。
  6. 前記ドア制御手段は、さらに、前記ドアの近傍において前記手の形が所定の第2の形になった後、前記ドアが閉まる方向に前記手が動いた場合、前記手の動きに応じて前記ドアを閉まる方向に動かし、前記手の形が前記第2の形とは異なる形になったとき、前記ドアを停止するように前記ドアの動きを制御する
    請求項1に記載のドア制御装置。
  7. 前記ドア制御手段は、さらに、前記ドアが閉まる方向に前記手が動く速さに応じて前記ドアを閉める速さを制御する
    請求項6に記載のドア制御装置。
  8. ドア制御装置のドア制御方法において、
    車両のドアの近傍における手の形および動きを検出する手検出ステップと、
    前記ドアの近傍において前記手の形が所定の第1の形になった後、前記ドアが開く方向に前記手が動いた場合、前記手の動きに応じて前記ドアを開く方向に動かし、前記手の形が前記第1の形とは異なる形になったとき、前記ドアを停止するように前記ドアの動きを制御するドア制御ステップと
    を含むドア制御方法。
  9. 車両のドアの近傍における手の形および動きを検出する手検出ステップと、
    前記ドアの近傍において前記手の形が所定の第1の形になった後、前記ドアが開く方向に前記手が動いた場合、前記手の動きに応じて前記ドアを開く方向に動かし、前記手の形が前記第1の形とは異なる形になったとき、前記ドアを停止するように前記ドアの動きを制御するドア制御ステップと
    を含む処理をコンピュータに実行させるプログラム。
  10. 車両のドアの近傍における手の形および動きを検出する手検出手段と、
    前記ドアの近傍において前記手の形が所定の第1の形になった後、前記ドアが開く方向に前記手が動いた場合、前記手の動きに応じて前記ドアを開く方向に動かすとともに、前記ドアが開く方向に前記手が動く速さに応じて前記ドアを開ける速さを階段状に変化させるように前記ドアの動きを制御するドア制御手段と
    を含むドア制御装置。
  11. 前記ドア制御手段は、さらに、前記ドアの近傍において前記手の形が所定の第2の形になった後、前記ドアが閉まる方向に前記手が動いた場合、前記手の動きに応じて前記ドアを閉まる方向に動かすとともに、前記ドアが閉まる方向に前記手が動く速さに応じて前記ドアを閉める速さを階段状に変化させるように前記ドアの動きを制御する
    請求項10に記載のドア制御装置。
  12. 前記ドア制御手段は、前記ドアが閉まる方向に前記手が動く速さが所定の速度以上になった場合、それ以降の前記手の形および動きに関わらず、前記ドアを最後まで閉めるように制御する
    請求項11に記載のドア制御装置。
  13. ドア制御装置のドア制御方法において、
    車両のドアの近傍における手の形および動きを検出する手検出ステップと、
    前記ドアの近傍において前記手の形が所定の第1の形になった後、前記ドアが開く方向に前記手が動いた場合、前記手の動きに応じて前記ドアを開く方向に動かすとともに、前記ドアが開く方向に前記手が動く速さに応じて前記ドアを開ける速さを階段状に変化させるように前記ドアの動きを制御するドア制御ステップと
    を含むドア制御方法。
  14. 車両のドアの近傍における手の形および動きを検出する手検出ステップと、
    前記ドアの近傍において前記手の形が所定の第1の形になった後、前記ドアが開く方向に前記手が動いた場合、前記手の動きに応じて前記ドアを開く方向に動かすとともに、前記ドアが開く方向に前記手が動く速さに応じて前記ドアを開ける速さを階段状に変化させるように前記ドアの動きを制御するドア制御ステップと
    を含む処理をコンピュータに実行させるプログラム。
  15. 車両のドアの近傍における手の形および動きを検出する手検出手段と、
    前記ドアの近傍において前記手の形が所定の第1の形になった後、前記ドアが開く方向に前記手が動いた場合、前記手の動きに応じて前記ドアを開く方向に動かし、前記ドアの近傍において前記手の形が所定の第2の形になった後、前記ドアが閉まる方向に前記手が動いた場合、前記手の動きに応じて前記ドアを閉まる方向に動かすように前記ドアの動きを制御するドア制御手段と
    を含むドア制御装置。
  16. ドア制御装置のドア制御方法において、
    車両のドアの近傍における手の形および動きを検出する手検出ステップと、
    前記ドアの近傍において前記手の形が所定の第1の形になった後、前記ドアが開く方向に前記手が動いた場合、前記手の動きに応じて前記ドアを開く方向に動かし、前記ドアの近傍において前記手の形が所定の第2の形になった後、前記ドアが閉まる方向に前記手が動いた場合、前記手の動きに応じて前記ドアを閉まる方向に動かすように前記ドアの動きを制御するドア制御ステップと
    を含むドア制御方法。
  17. 車両のドアの近傍における手の形および動きを検出する手検出ステップと、
    前記ドアの近傍において前記手の形が所定の第1の形になった後、前記ドアが開く方向に前記手が動いた場合、前記手の動きに応じて前記ドアを開く方向に動かし、前記ドアの近傍において前記手の形が所定の第2の形になった後、前記ドアが閉まる方向に前記手が動いた場合、前記手の動きに応じて前記ドアを閉まる方向に動かすように前記ドアの動きを制御するドア制御ステップと
    を含む処理をコンピュータに実行させるプログラム。
JP2008173472A 2008-07-02 2008-07-02 ドア制御装置および方法、並びに、プログラム Expired - Fee Related JP5131546B2 (ja)

Priority Applications (1)

Application Number Priority Date Filing Date Title
JP2008173472A JP5131546B2 (ja) 2008-07-02 2008-07-02 ドア制御装置および方法、並びに、プログラム

Applications Claiming Priority (1)

Application Number Priority Date Filing Date Title
JP2008173472A JP5131546B2 (ja) 2008-07-02 2008-07-02 ドア制御装置および方法、並びに、プログラム

Publications (2)

Publication Number Publication Date
JP2010013824A true JP2010013824A (ja) 2010-01-21
JP5131546B2 JP5131546B2 (ja) 2013-01-30

Family

ID=41700170

Family Applications (1)

Application Number Title Priority Date Filing Date
JP2008173472A Expired - Fee Related JP5131546B2 (ja) 2008-07-02 2008-07-02 ドア制御装置および方法、並びに、プログラム

Country Status (1)

Country Link
JP (1) JP5131546B2 (ja)

Cited By (19)

* Cited by examiner, † Cited by third party
Publication number Priority date Publication date Assignee Title
JP2011256674A (ja) * 2010-06-11 2011-12-22 Aisin Seiki Co Ltd ドア開閉駆動装置
JP2012172367A (ja) * 2011-02-21 2012-09-10 Denso Corp スマートエントリシステム
JP2013028903A (ja) * 2011-07-27 2013-02-07 Aisin Seiki Co Ltd 車両用ドア開閉装置
JP2014125759A (ja) * 2012-12-26 2014-07-07 Mitsubishi Motors Corp 車両用ドア制御装置
JP2014177819A (ja) * 2013-03-15 2014-09-25 Aisin Seiki Co Ltd 報知音量制御装置及び開閉体装置
EP2787157A1 (en) 2013-04-05 2014-10-08 Aisin Seiki Kabushiki Kaisha Automatic door operating device for vehicle
JP2015014124A (ja) * 2013-07-04 2015-01-22 アイシン精機株式会社 車両ドア駆動装置、および車両ドア駆動方法
KR101512394B1 (ko) * 2013-08-12 2015-04-16 현대오트론 주식회사 후방카메라를 이용한 차량의 핸즈프리 리프트 게이트 개방시스템 및 방법
JP2016017392A (ja) * 2014-07-11 2016-02-01 積水ハウス株式会社 電動スクリーンおよびその制御方法
JP2017515024A (ja) * 2014-01-31 2017-06-08 ハフ ヒュエルスベック ウント フュルスト ゲーエムベーハー ウント コー. カーゲー 組立体モジュール
WO2018047594A1 (ja) * 2016-09-06 2018-03-15 株式会社小糸製作所 車輌用検出装置及び車輌用灯具
JP2019001380A (ja) * 2017-06-19 2019-01-10 本田技研工業株式会社 車両ドアの非接触開放装置
CN110073071A (zh) * 2016-09-30 2019-07-30 博泽车锁系统有限公司 机动车锁组件
WO2021170229A1 (en) * 2020-02-26 2021-09-02 Huawei Technologies Co., Ltd. An apparatus and a method for a controllable foldable display with haptic and sound effect
JP2022121042A (ja) * 2021-02-08 2022-08-19 株式会社K-Bit 自動ドアシステム
US11613196B2 (en) * 2020-02-12 2023-03-28 Toyota Jidosha Kabushiki Kaisha Ramp system for vehicle
US11732523B2 (en) 2018-10-30 2023-08-22 Toyota Jidosha Kabushiki Kaisha Vehicle power window control device
DE102022206008A1 (de) 2022-06-14 2023-12-14 Vitesco Technologies GmbH Verfahren zur Steuerung einer stellmotorisch angetriebenen Fahrzeugtür eines Kraftfahrzeugs
WO2024101194A1 (ja) * 2022-11-07 2024-05-16 株式会社アイシン ジェスチャ検出装置及びジェスチャ検出方法

Citations (2)

* Cited by examiner, † Cited by third party
Publication number Priority date Publication date Assignee Title
JP2005324664A (ja) * 2004-05-13 2005-11-24 Denso Corp 車両用ドア開閉装置
JP2006144481A (ja) * 2004-11-24 2006-06-08 Toyota Motor Corp 車両用開閉体調整装置

Patent Citations (2)

* Cited by examiner, † Cited by third party
Publication number Priority date Publication date Assignee Title
JP2005324664A (ja) * 2004-05-13 2005-11-24 Denso Corp 車両用ドア開閉装置
JP2006144481A (ja) * 2004-11-24 2006-06-08 Toyota Motor Corp 車両用開閉体調整装置

Cited By (22)

* Cited by examiner, † Cited by third party
Publication number Priority date Publication date Assignee Title
JP2011256674A (ja) * 2010-06-11 2011-12-22 Aisin Seiki Co Ltd ドア開閉駆動装置
JP2012172367A (ja) * 2011-02-21 2012-09-10 Denso Corp スマートエントリシステム
JP2013028903A (ja) * 2011-07-27 2013-02-07 Aisin Seiki Co Ltd 車両用ドア開閉装置
JP2014125759A (ja) * 2012-12-26 2014-07-07 Mitsubishi Motors Corp 車両用ドア制御装置
JP2014177819A (ja) * 2013-03-15 2014-09-25 Aisin Seiki Co Ltd 報知音量制御装置及び開閉体装置
EP2787157A1 (en) 2013-04-05 2014-10-08 Aisin Seiki Kabushiki Kaisha Automatic door operating device for vehicle
JP2015014124A (ja) * 2013-07-04 2015-01-22 アイシン精機株式会社 車両ドア駆動装置、および車両ドア駆動方法
KR101512394B1 (ko) * 2013-08-12 2015-04-16 현대오트론 주식회사 후방카메라를 이용한 차량의 핸즈프리 리프트 게이트 개방시스템 및 방법
JP2017515024A (ja) * 2014-01-31 2017-06-08 ハフ ヒュエルスベック ウント フュルスト ゲーエムベーハー ウント コー. カーゲー 組立体モジュール
JP2016017392A (ja) * 2014-07-11 2016-02-01 積水ハウス株式会社 電動スクリーンおよびその制御方法
WO2018047594A1 (ja) * 2016-09-06 2018-03-15 株式会社小糸製作所 車輌用検出装置及び車輌用灯具
JPWO2018047594A1 (ja) * 2016-09-06 2019-06-27 株式会社小糸製作所 車輌用検出装置及び車輌用灯具
US10906453B2 (en) 2016-09-06 2021-02-02 Koito Manufacturing Co., Ltd. Vehicular detection device and vehicular lamp
CN110073071A (zh) * 2016-09-30 2019-07-30 博泽车锁系统有限公司 机动车锁组件
JP2019001380A (ja) * 2017-06-19 2019-01-10 本田技研工業株式会社 車両ドアの非接触開放装置
US11732523B2 (en) 2018-10-30 2023-08-22 Toyota Jidosha Kabushiki Kaisha Vehicle power window control device
US11613196B2 (en) * 2020-02-12 2023-03-28 Toyota Jidosha Kabushiki Kaisha Ramp system for vehicle
WO2021170229A1 (en) * 2020-02-26 2021-09-02 Huawei Technologies Co., Ltd. An apparatus and a method for a controllable foldable display with haptic and sound effect
US12228966B2 (en) 2020-02-26 2025-02-18 Huawei Technologies Co., Ltd. Apparatus and a method for a controllable foldable display with haptic and sound effect
JP2022121042A (ja) * 2021-02-08 2022-08-19 株式会社K-Bit 自動ドアシステム
DE102022206008A1 (de) 2022-06-14 2023-12-14 Vitesco Technologies GmbH Verfahren zur Steuerung einer stellmotorisch angetriebenen Fahrzeugtür eines Kraftfahrzeugs
WO2024101194A1 (ja) * 2022-11-07 2024-05-16 株式会社アイシン ジェスチャ検出装置及びジェスチャ検出方法

Also Published As

Publication number Publication date
JP5131546B2 (ja) 2013-01-30

Similar Documents

Publication Publication Date Title
JP5131546B2 (ja) ドア制御装置および方法、並びに、プログラム
US11766993B2 (en) Automatic power door opening on sustained presence
JP5630318B2 (ja) スマートエントリシステム
US10179568B2 (en) Seamless vehicle access system
JP5895201B2 (ja) 車両開閉体制御装置
CN108350716B (zh) 用于打开和关闭车门的系统和方法
CN107083894B (zh) 用于操作车门的系统和方法
JP2018009386A (ja) 開閉システム
JP6988354B2 (ja) 車両用ドア装置
US11549303B2 (en) Vehicle control device, vehicle control method, and recording medium
US10829978B2 (en) System and method for operating vehicle door
CN103269915A (zh) 用于打开和关闭车辆的门和/或行李舱盖的方法和设备
CN109138691A (zh) 具有主动距离控制的自动外罩系统
US20180118161A1 (en) Actuation of a locking element for a vehicle using an ultrasound sensor
KR20210045068A (ko) 차량용 도어 제어장치 및 방법
CN115788222A (zh) 具有电动门控制的车辆
KR102126021B1 (ko) Avm을 이용한 차량 도어 자동개폐 시스템 및 그 방법
JP2020201881A (ja) ドア開放警告装置、ドア開放警告方法、及びドア開放警告プログラム
JP2019105046A (ja) 車両用ドア制御システム
JP7585852B2 (ja) 開閉体制御装置
KR101947040B1 (ko) 테일 게이트 작동 시스템 및 그 방법
KR102874012B1 (ko) 차량 및 차량의 제어방법
KR20150022030A (ko) 홀 센서를 이용한 파워 트렁크 또는 파워 테일게이트 제어 장치 및 방법
JP6581795B2 (ja) 車両の自動開制御装置
WO2023132942A1 (en) Driver tracking

Legal Events

Date Code Title Description
A621 Written request for application examination

Free format text: JAPANESE INTERMEDIATE CODE: A621

Effective date: 20110216

A977 Report on retrieval

Free format text: JAPANESE INTERMEDIATE CODE: A971007

Effective date: 20120523

TRDD Decision of grant or rejection written
A01 Written decision to grant a patent or to grant a registration (utility model)

Free format text: JAPANESE INTERMEDIATE CODE: A01

Effective date: 20121011

A01 Written decision to grant a patent or to grant a registration (utility model)

Free format text: JAPANESE INTERMEDIATE CODE: A01

A61 First payment of annual fees (during grant procedure)

Free format text: JAPANESE INTERMEDIATE CODE: A61

Effective date: 20121024

FPAY Renewal fee payment (event date is renewal date of database)

Free format text: PAYMENT UNTIL: 20151116

Year of fee payment: 3

R150 Certificate of patent or registration of utility model

Free format text: JAPANESE INTERMEDIATE CODE: R150

Ref document number: 5131546

Country of ref document: JP

Free format text: JAPANESE INTERMEDIATE CODE: R150

LAPS Cancellation because of no payment of annual fees