JP2010013133A - ブリスター包装体用の封止シート連続体、その製造方法、及びブリスター包装体 - Google Patents

ブリスター包装体用の封止シート連続体、その製造方法、及びブリスター包装体 Download PDF

Info

Publication number
JP2010013133A
JP2010013133A JP2008172861A JP2008172861A JP2010013133A JP 2010013133 A JP2010013133 A JP 2010013133A JP 2008172861 A JP2008172861 A JP 2008172861A JP 2008172861 A JP2008172861 A JP 2008172861A JP 2010013133 A JP2010013133 A JP 2010013133A
Authority
JP
Japan
Prior art keywords
sheet
adhesive layer
sensitive adhesive
pressure
concealment
Prior art date
Legal status (The legal status is an assumption and is not a legal conclusion. Google has not performed a legal analysis and makes no representation as to the accuracy of the status listed.)
Granted
Application number
JP2008172861A
Other languages
English (en)
Other versions
JP5167463B2 (ja
Inventor
Fumihiko Amanuma
文彦 天沼
Akihiko Fujihira
昭彦 藤平
Haruki Kumagai
晴記 熊谷
Current Assignee (The listed assignees may be inaccurate. Google has not performed a legal analysis and makes no representation or warranty as to the accuracy of the list.)
YOKOHAMA KOGEI KK
Fuji Seal International Inc
Original Assignee
YOKOHAMA KOGEI KK
Fuji Seal International Inc
Priority date (The priority date is an assumption and is not a legal conclusion. Google has not performed a legal analysis and makes no representation as to the accuracy of the date listed.)
Filing date
Publication date
Application filed by YOKOHAMA KOGEI KK, Fuji Seal International Inc filed Critical YOKOHAMA KOGEI KK
Priority to JP2008172861A priority Critical patent/JP5167463B2/ja
Publication of JP2010013133A publication Critical patent/JP2010013133A/ja
Application granted granted Critical
Publication of JP5167463B2 publication Critical patent/JP5167463B2/ja
Active legal-status Critical Current
Anticipated expiration legal-status Critical

Links

Images

Landscapes

  • Packages (AREA)
  • Wrappers (AREA)
  • Laminated Bodies (AREA)

Abstract

【課題】 本発明の課題は、収納した物品を損傷せず、接着剤が物品に付着しないように工夫されたブリスター包装体用の封止シート連続体を提供することである。
【解決手段】 封止シート連続体は、収納凹部の周縁からフランジ部が形成されたカバー部材と、収納凹部の開口側を閉塞するようにして前記フランジ部に接着される封止シートと、を有するブリスター包装体の構成部材である。本発明の封止シート連続体1は、長尺状のベースシート2と、前記ベースシート2に積層され且つ常温で粘着性を示す粘着剤層3と、前記粘着剤層3に積層された長尺状の隠蔽シート5と、を有し、前記長尺状の隠蔽シート5の面内に、前記カバー部材の収納凹部の周縁形状に対応した形状の切込み線6が形成されている。前記切込み線6で囲われた隠蔽シート5の一部分と粘着剤層3の間には、バインダー層7が設けられている。
【選択図】 図2

Description

本発明は、ブリスター包装体の構成部材の1つである封止シートが連続的に繋がったブリスター包装体用の封止シート連続体、及びその製造方法などに関する。
従来、乾電池、化粧品、おもちゃなどの各種物品を包装する形態として、ブリスター包装体が知られている。
ブリスター包装体は、合成樹脂製透明シートから形成されたカバー部材であって、一部分に物品を収納する収納凹部が形成され且つ該収納凹部の周縁からフランジ部が形成されたカバー部材と、前記収納凹部の開口側を閉塞するようにして前記フランジ部に接着された封止シートと、を有する。
通常、封止シートは、それが連続的に繋がった封止シート連続体の形態で供給され、この連続体から1枚の封止シートが切り取られて上記カバー部材に貼り付けられる。
上記カバー部材のフランジ部と封止シートとは、封止シートの表面に設けられた感熱性接着剤や熱溶着可能なシーラント層を介して接着されている(特許文献1)。
特開2008−68876号公報
上記特許文献1では、カバー部材のフランジ部と封止シートを接着するときに、フランジ部の表面及び/又は封止シートの裏面に加熱バーを当て、感熱性接着剤などを加熱しなければならない。
しかしながら、熱によって変性し易い物品や熱によって形状が変形し易い物品(例えば、薬品、化粧品、耐熱性の低い樹脂容器など)が、カバー部材の収納凹部に収納されている場合、上記加熱バーの熱によって物品が損傷する虞がある。なお、この損傷とは、成分の変性、形状の変形などを含む意味である。
また、接着時、カバー部材及び/又は封止シートに加熱バーを当てるため、カバー部材や封止シートには、優れた耐熱性が求められる。このため、カバー部材や封止シートを耐熱性樹脂で形成したり、或いは、カバー部材や封止シートを厚肉に形成する必要性があり、カバー部材や封止シートの材質などが制約される。
さらに、感熱性接着剤などが封止シートの表面全体に設けられている場合には、加熱バーの熱がフランジ部に対応する領域を越えて拡がり、感熱性接着剤などが物品に付着する虞がある。接着剤などが物品に付着すると、該物品が封止シートに貼り付くので、消費者が、収納凹部内で物品を動かしながら品定めできない上、購入後、該物品を取り出し難いという不都合がある。これを防止する方策として、封止シートの表面のうちフランジ部に対応する領域にのみ感熱性接着剤を塗工することが考えられるが、このような部分塗工は生産性が悪い。また、仮に部分塗工を行っても、上記物品の損傷を防止することはできない。
本発明の目的は、収納した物品を損傷せず、接着剤が物品に付着しないブリスター包装体用の封止シート連続体及びその製造方法を提供することである。
本発明の他の目的は、収納した物品を損傷せず、接着剤が物品に付着しないブリスター包装体を提供することである。
本発明のブリスター包装体用の封止シート連続体は、収納凹部の周縁からフランジ部が形成されたカバー部材と、前記収納凹部の開口側を閉塞するようにして前記フランジ部に接着される封止シートと、を有するブリスター包装体に使用される。この封止シート連続体は、長尺状のベースシートと、前記ベースシートに積層された常温で粘着性を示す粘着剤層と、前記粘着剤層に積層された長尺状の隠蔽シートと、を有し、前記長尺状の隠蔽シートの面内に、前記カバー部材の収納凹部の周縁形状に対応した形状の切込み線が所定間隔を開けて形成されている。
上記封止シート連続体は、複数の封止シートが繋がった長尺体であり、使用時には、これから1枚の封止シートが切り取られる。
上記封止シートは、隠蔽シートの面内に切込み線が形成されているので、隠蔽シートのうち切込み線で囲われた領域(以下、隠蔽シートの面内のうち、切込み線で囲われた領域を「囲み領域」という場合がある)を除いて、隠蔽シートを粘着剤層から引き剥がすことができる。
切込み線の平面視形状は、カバー部材の収納凹部の周縁形状に対応している。このため、粘着剤層の表面のうち、収納凹部の周縁の内側領域に対応する領域(以下、「凹部対応領域」という場合がある)においては、隠蔽シートの一部分(囲み領域)が貼り付いている。一方、粘着剤層の表面のうち、収納凹部の周縁の外側領域(つまり、カバー部材のフランジ部)に対応する領域(以下、「フランジ部対応領域」という場合がある)においては、粘着剤層の表面が露出している。
上記粘着剤層は常温で粘着性を示すので、特に加熱しなくても、上記粘着剤層のフランジ部対応領域に、カバー部材のフランジ部を接着して、ブリスター包装体を作製できる。
本発明の封止シートは、非加熱でカバー部材を接着できるので、収納された物品が熱によって損傷しない。さらに、封止シートやカバー部材は、耐熱性が要求されないので、これらの形成材料の選択余地が拡がり、又、これらを薄肉に形成することも可能である。
また、粘着剤層の凹部対応領域には、隠蔽シートの一部分(囲み領域)が貼り付いたまま残っているので、収納凹部内に収納された物品に粘着剤が付着することもない。
本発明の好ましい封止シート連続体は、前記隠蔽シートと粘着剤層の層間であって、前記切込み線で囲われた領域の少なくとも一方向端部と粘着剤層の層間に、バインダー層が設けられている。
隠蔽シートを剥がすときには、通常、隠蔽シートの一方向端部を捲り、これを他方向へ引き出すが、面内に切込み線が形成された隠蔽シートを一方向端部から引き出したときには、該切込み線の一方向端部に剥離力が加わって、切込み線で囲われた領域が捲れる虞がある。
上記好ましい封止シート連続体は、前記切込み線で囲われた領域の少なくとも一方向端部と粘着剤層の層間に、バインダー層が設けられているので、隠蔽シートを引き出したときに、囲み領域が捲れることを防止できる。従って、囲み領域を除いて、隠蔽シートを粘着剤層から確実に引き剥がすことができる。
本発明の別の局面によれば、ブリスター包装体用の封止シート連続体の製造方法を提供する。
本発明の封止シート連続体の製造方法は、ベースシートに積層された粘着剤層上の一部分に、バインダー液を塗工する工程、その後、前記バインダー液の塗工された粘着剤層上に隠蔽シートを重ねる工程、その後、前記バインダー液を硬化させ、前記隠蔽シートと粘着剤層の層間を部分的に結合する工程、を有する。
上記製造方法によれば、バインダー液を塗工後、バインダー液が硬化する前に隠蔽シートを重ねるので、隠蔽シートの表面に存する微細な凹凸にバインダー液が入り込む。その後、該バインダー液を硬化させることにより、隠蔽シート及び粘着剤層の表面に存する微細な凹凸に入り込んだバインダー層を形成できる。
本発明の好ましい封止シート連続体の製造方法は、前記バインダー液が、紫外線硬化型樹脂を含み、紫外線照射によって前記バインダー液を硬化させる。
本発明の別の局面によれば、ブリスター包装体を提供する。
本発明のブリスター包装体は、収納凹部の周縁からフランジ部が形成されたカバー部材と、前記収納凹部の開口側を閉塞するようにして前記フランジ部に接着される封止シートと、を有するブリスター包装体であって、前記封止シートが、ベースシートと、前記ベースシートに積層され且つ常温で粘着性を示す粘着剤層と、前記粘着剤層に積層された長尺状の隠蔽シートと、を有し、前記カバー部材のフランジ部が、前記粘着剤層を介して前記ベースシートに接着され、前記隠蔽シートが、前記カバー部材の収納凹部に対応した領域に積層されている。
本発明のブリスター包装体の封止シート連続体は、複数の封止シートが連続的に繋がっている。この封止シート連続体から切り取られた封止シートを、カバー部材に接着することにより、ブリスター包装体を容易に作製できる。
上記封止シートは、非加熱でカバー部材に接着できるので、カバー部材の収納凹部に収納した物品が損傷する虞がない。さらに、上記封止シートは、収納された物品に粘着剤が付着しないので、収納凹部内において物品を動かすことができ、又、物品の取り出しも容易である。
本発明の封止シート連続体の製造方法によれば、面内に切込み線が形成された隠蔽シートを、該切込み線で囲われた領域を除いて粘着剤層から引き剥がすことができる封止シート連続体を簡単に製造できる。
本発明のブリスター包装体は、カバー部材の収納凹部に収納された物品が損傷せず、又、該物品に粘着剤が付着しない。
以下、本発明の好ましい実施形態について、図面を参照しつつ具体的に説明する。
図1及び図2において、1は、本発明のブリスター包装体用の封止シート連続体を示す。
該封止シート連続体1は、長尺状に形成されている。
なお、本明細書において、長尺状とは、長さ寸法が幅寸法よりも十分に大きい形状を意味する。その長さ寸法は、通常、幅寸法の5倍以上であり、好ましくは10倍以上である。
ブリスター包装体は、従来と同様に、物品を収納するための収納凹部が凹設され且つ該収納凹部の周縁からフランジ部が形成されたカバー部材と、前記収納凹部の開口側を閉塞するようにして前記フランジ部に接着された封止シートと、を有する。
本発明の封止シート連続体1は、このブリスター包装体の構成部材の1つである封止シートが複数連続的に繋がった長尺体である。この長尺状の封止シート連続体1を所定位置で所定形状(例えば、カバー部材のフランジ部の外縁に合致した形状)に切り取ることにより、1枚の封止シートを得ることができる。図1の一点鎖線は、封止シート連続体1から1枚の封止シートを切り取るときの切取予定線を示す。
封止シート連続体1は、長尺状のベースシート2と、ベースシート2上に積層され且つ常温で粘着性を示す粘着剤層3と、粘着剤層3上に積層された長尺状の隠蔽シート5と、を有する。
なお、図中、61は、ベースシート2、粘着剤層3及び隠蔽シート5に貫通形成された吊下げ用孔を示す。
ベースシート2は、特に限定されず、例えば、厚紙、合成紙、合成樹脂製シートなどの単層シート、及びこれらの積層シート、並びにこれらシートに他の機能層(金属蒸着層など)が積層された積層シートなどが挙げられる。なお、本明細書において、シートとは、一般にフィルムと呼ばれているものを含む意味である。
好ましくは、ベースシート2としては、厚紙及び厚紙を含む積層シート、又は、合成樹脂製シート及び合成樹脂製シートを含む積層シートが用いられる。具体的には、ベースシート2は、例えば、厚み0.5mm〜1.5mm程度の厚紙及びその積層シート、又は、厚み0.4mm〜0.8mm程度の合成樹脂製シート及びその積層シートが好ましい。
本発明の封止シートは、耐熱性が要求されないので、ベースシート2として、ポリエチレン、ポリ乳酸などの耐熱性の低い樹脂製シートを用いることも可能である。
なお、封止シート連続体1のベースシート2に予め抜き打ち加工を行っておいてもよい。具体的には、長尺状のベースシート2の面内に、ダイカットロールなどを用いて、上記所定形状(例えば、カバー部材のフランジ部の外縁に合致した形状)の打ち抜き加工を行う。この打ち抜き加工は、隠蔽シート5にまで至らず、ベースシート2及び粘着剤層3に対して行えば、封止シート連続体1からベースシート2の打ち抜き部分が脱落することはない。
ベースシート2には、商品名、絵柄、商品説明などの意匠印刷が施されている。
粘着剤層3は、ベースシート2の表面全体に、粘着剤を実質的にベタ状に塗工することにより形成されている。本明細書において、「実質的にベタ状」とは、平面視格子状、平面視網目状、無数の点が集まった形状などを含む意味である。
前記粘着剤としては、常温で粘着性を示す粘着剤が用いられる。このような粘着剤は、通常、感圧型粘着剤と呼ばれる。
前記粘着剤は、常温(例えば、25℃)で粘着性を示せば、その材質や形態は特に限定されない。該粘着剤としては、例えば、天然ゴム系粘着剤、合成ゴム系粘着剤、ポリアクリル酸エステル系粘着剤、ポリビニルエーテル系粘着剤、シリコーン系粘着剤などが挙げられる。また、該粘着剤の形態としては、溶剤系、無溶剤系、水系、ホットメルト系(このホットメルト系とは、加熱して塗工し、塗工後、常温で粘着性を示す形態の粘着剤である)などが挙げられる。
粘着剤層3の厚みは、通常、5〜50μm程度、好ましくは10〜30μmである。
隠蔽シート5は、粘着剤層3の粘着を隠蔽するように、粘着剤層3上に積層されている。該隠蔽シート5は、一面に離型面5aが形成されたシートを用いることができる。
該シートは、紙、合成紙、合成樹脂製シートなどの単層シート、及びこれらの積層シートなどが挙げられる。
好ましくは、隠蔽シート5のシートとしては、紙、合成樹脂製シートが用いられる。具体的には、隠蔽シート5は、例えば、厚み50〜200μm程度の紙、又は、厚み25〜100μm程度の合成樹脂製シートなどが好ましい。隠蔽シート5は、透明なシートであることが好ましい。なお、隠蔽シート5には、商品名などの意匠印刷が施されていてもよい。
本発明の封止シートは、耐熱性が要求されないので、隠蔽シート5として、耐熱性の低い樹脂製シートを用いることも可能である。
隠蔽シート5の離型面5aは、上記シートの一面に離型処理を施す(例えば、シリコーンなどを塗工)ことによって形成されている。離型処理は、粘着剤層3との密着性を低下させる処理をいう。
隠蔽シート5は、離型面5aを粘着剤層3の表面に対面させて積層されている。
さらに、隠蔽シート5の面内には、長手方向に所定間隔を開けて、切込み線6が形成されている。この切込み線6は、隠蔽シート5の厚み方向に貫通しており、該切込み線6の形成部分に沿って、隠蔽シート5は分断されている。なお、前記切込み線6の切り込みは、粘着剤層3にまで及んでいてもよい。
前記切込み線6の平面視形状は、カバー部材(ブリスター包装体の構成部材の1つであるカバー部材)の収納凹部の周縁形状に対応した形状である。切込み線6は、無端状の線であるため、隠蔽シート5を引き剥がすと、隠蔽シート5は、該切込み線6で囲われた領域(囲み領域51)とそれ以外の領域とに分かれる。
図示例では、切込み線6(囲み領域51)は、平面視略矩形状に形成されている。かかる形状の切込み線6を有する封止シートは、平面視略矩形状の収納凹部が形成されたカバー部材に対して使用される。切込み線6の平面視形状は、カバー部材の収納凹部の周縁形状に応じて適宜変更されるので、切込み線6は、平面視楕円形状、平面視略三角形状、その他任意の形状に形成され得る。
前記切込み線6(囲み領域51)は、角部が角取りされた形状が好ましい。特に、切込み線6(囲み領域51)は、一方向端部における角部が角取りされた形状がより好ましい。隠蔽シート5を一方向端部から引き出したときに、前記囲み領域51の一方向端部が捲れることを確実に防止できるからである。
なお、図示例の切込み線6(囲み領域51)は、4つの角部が全て角取りされた平面視略矩形状に形成されている。
さらに、隠蔽シート5の囲み領域51と粘着剤層3の層間には、バインダー層7が介在されている。なお、図1において、バインダー層7が設けられている領域を、便宜上、網掛けで示している。
具体的には、隠蔽シート5の離型面5aと粘着剤層3の表面の間であって、隠蔽シート5の囲み領域51と接着剤層3の間には、バインダー層7が実質的にベタ状に設けられている。
上記バインダー層7は、隠蔽シート5と粘着剤層3とを結合させるための層である。
すなわち、隠蔽シート5の離型面5aが粘着剤層3の上に直接積層されている領域では、粘着剤層3の表面から隠蔽シート5が簡単に剥がれるが、上記バインダー層7が介在している領域は、隠蔽シート5と粘着剤層3が直接積層されている領域に比して、隠蔽シート5が剥がれ難くなっている。
バインダー層7の結合効果は、隠蔽シート5の離型面5a及び粘着剤層3の表面に存在する微細な凹凸にバインダー層7が入り込むことによって生じる。
バインダー層7は、隠蔽シート5の離型面5aと粘着剤層3の表面とを、離型面5aと粘着剤層3とが直接積層されている領域よりも強く接着できるものであれば、特に限定されない。
該バインダー層7の形成材料としては、紫外線硬化型樹脂、電子線硬化型樹脂、2液反応型樹脂などが挙げられる。
素速く硬化し且つ隠蔽シート5と粘着剤層3をより強く結合できることから、バインダー層7は、紫外線硬化型樹脂で形成されていることが好ましい。
バインダー層7の厚みは、好ましくは0.1〜5μmであり、より好ましくは0.5〜3μmである。バインダー層7が薄すぎると、隠蔽シート5と粘着剤層3を結合する効果が弱くなる。一方、バインダー層7を厚く形成することは困難である上、バインダー層7を厚く形成しても結合効果は変わらない。
次に、上記封止シート連続体の製造方法について説明する。
図3(a)に示すように、長尺状のベースシート2の表面全体に、粘着剤層3が塗工され、粘着剤層3の表面に離型面5aを対面させて長尺状の隠蔽シート5が積層された、原反シート11を準備する。
(隠蔽シート剥離工程)
この長尺状の原反シート11を長手方向Xに送りながら、その途中で、隠蔽シート5を粘着剤層3から剥離する。離型面5aが粘着剤層3の表面に積層されているので、隠蔽シート5は、粘着剤層3の表面から簡単に剥がれる。
(バインダー液塗工工程)
図3(a)及び(b)に示すように、隠蔽シート5を剥離した後、露出した粘着剤層3の表面に、バインダー液71を塗工する。バインダー液71は、カバー部材の収納凹部の周縁の内側領域に対応する領域内全体(凹部対応領域)に塗工される。前記バインダー液71は、原反シート11の長手方向に所定間隔を開けて塗工される。
バインダー液71の粘度は、50〜800mPa・sが好ましく、更に、100〜500mPa・sがより好ましい。ただし、前記粘度は、25℃で、JIS K 7117−2に準拠したE型粘度計を用いて測定した値である。かかる粘度のバインダー液71を用いれば、隠蔽シート5を重ね合わせたときに広範囲に拡がり難く、且つ、隠蔽シート5の離型面5a及び粘着剤層3の表面に存する微細な凹凸に入り込み易い。
バインダー液71としては、例えば、紫外線硬化型インキを用いることができる。通常印刷に使用される紫外線硬化型インキは、光重合性樹脂、光重合開始剤、着色剤、助剤を含むが、本発明の紫外線硬化型インキは、顔料などの着色剤を含まない紫外線硬化型インキが好ましい(一般に、メジウムインキと呼ばれる)。
紫外線硬化型インキを用いれば、従来公知の印刷法によって上記領域に塗工できる。
(隠蔽シート積層工程)
次に、図3(c)に示すように、上記バインダー液71を塗工した粘着剤層3の上に、剥離していた隠蔽シート5を重ね合わせる。なお、隠蔽シート5は、離型面5aが粘着剤層3上に対面するように重ね合わせる。
重ねた隠蔽シート5の離型面5aは、バインダー液71が塗工された領域及び該バインダー液71が塗工されていない粘着剤層3の露出領域に付着する。
(バインダー液硬化工程)
その後、バインダー液を硬化させる。バインダー液として紫外線硬化型インキが用いられた場合には、図3(c)に示すように、紫外線照射装置12を用いて所定の紫外線を隠蔽シート5の表面(及び/又はベースシート3の裏面)から照射する。
これにより、バインダー液71が硬化し、隠蔽シート5と粘着剤層3の層間にバインダー層7が形成される。硬化前のバインダー液71は、隠蔽シート5の離型面5aに存する微細な凹凸及び粘着剤層3の表面に存する微細な凹凸に入り込んでいるので、これが硬化することにより、隠蔽シート5の離型面5aと粘着剤層3の表面とを強く結合できる。
(切込み線形成工程)
図3(d)に示すように、上記バインダー層7の周縁に沿って、隠蔽シート5の厚み方向に切込み線6を形成する。バインダー層7の周縁に沿って切り込まれた切込み線6の平面視形状は、カバー部材の収納凹部の周縁形状とほぼ一致する。
該切込み線6は、例えば、ダイカットロールを用いて容易に形成することができる。
また、必要に応じて、隠蔽シート5からベースシート2までを厚み方向に貫通する吊下げ用孔61を穿設してもよい。
このようにして封止シート連続体1を作製できる。作製された封止シート連続体1は、ロール状に巻き取られ、保管・運搬に供される。
上記封止シート連続体1を使用する際には、封止シート連続体1を長手方向一方側へ引き出し、所定形状に切り取ることにより1枚の封止シート10が得られる(図4(a)参照)。
この封止シート10の隠蔽シート5を、封止シート10の一方向端部10aから捲り、図4(b)に示すように、隠蔽シート5を他方向へと引き出す。
隠蔽シート5の面内には、無端状の切込み線6が形成されているので、隠蔽シート5の囲み領域51を除いて、隠蔽シート5は粘着剤層3から引き剥がされる。
隠蔽シート5を一方向端部から引き出したときには、隠蔽シート5の囲み領域51の一方向端部に剥離力が加わる。本発明の封止シート10は、囲み領域51と粘着剤層3の間にバインダー層7が設けられているので、隠蔽シート5を引き出したときに、前記囲み領域51の一方向端部が捲れることを防止できる。
隠蔽シート5は、囲み領域51を除いて引き剥がされるので、粘着剤層3の凹部対応領域には、隠蔽シート5の一部分(囲み領域51)が貼り付いており、一方、粘着剤層3のフランジ部対応領域は、粘着剤層3の表面が露出している。
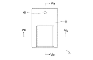
かかる粘着剤層3のフランジ部対応領域に、カバー部材8のフランジ部81を接着することにより、図5及び図6に示すような、ブリスター包装体9が作製される。
該ブリスター包装体9のカバー部材8は、収納凹部82が凹設され、該収納凹部82の周縁から平坦状のフランジ部81が延設されている。カバー部材8は、例えば、合成樹脂製シート(好ましくは透明シート)のシート成型法で形成できる。
カバー部材8の収納凹部82の周縁に上記封止シート10の囲み領域51の周縁が略一致するように位置合わせして、カバー部材8のフランジ部81を封止シート10の粘着剤層3のフランジ部対応領域に接着する。
得られたブリスター包装体9は、そのカバー部材8のフランジ部81が、粘着剤層3を介してベースシート2に接着され、隠蔽シート5の囲み領域51が、カバー部材8の収納凹部82に対応した領域に積層されている。
なお、図6の二点鎖線は、収納凹部82内に収納された物品を示す。
本発明の封止シート連続体1(封止シート10)は、加熱しなくてもカバー部材8に接着できるので、収納した物品が熱によって損傷しない。さらに、加熱しないので、封止シート連続体1やカバー部材8には、耐熱性が要求されない。
また、本発明の封止シート連続体1(封止シート10)は、隠蔽シート5を剥がしても、粘着剤層3の凹部対応領域に隠蔽シート5の囲い領域51が貼り付いているため、カバー部材8の収納凹部82内に収納された物品が粘着剤層3に接触しない。従って、収納凹部82内において物品を容易に動かすことができ、さらに、物品の取り出しも容易に行える。
なお、上記実施形態では、隠蔽シート5と粘着剤層3の間のバインダー層7は、囲み領域51の全体に設けられているが、バインダー層7は、囲み領域51の一部分に設けてもよい。例えば、バインダー層7は、囲み領域51の周端部に沿って設けられていてもよいし、或いは、囲み領域51の中央部に設けられていてもよい。
隠蔽シート5を引き出したときに、隠蔽シート5の囲み領域51の端部が捲れることを防止するためには、バインダー層7は、図7及び図8に示すように、囲み領域51の一方向端部51aに少なくとも設けることが好ましい。なお、図7において、バインダー層7が設けられている領域を、便宜上、網掛けで示している。
本発明の1つの実施形態に係る封止シート連続体の一部省略平面図。 図1のII−II線断面図。 (a)〜(d)は、封止シート連続体の製造工程を示す断面図(長手方向に切断)。 (a)は、本発明の1つの実施形態に係る封止シートの平面図、(b)は、同封止シートから隠蔽シートを剥がす過程を示す側面図。 同封止シートを有するブリスター包装体の平面図。 (a)は、図5のVIa−VIa線断面図、(b)は、図5のVIb−VIb線断面図。 本発明の他の実施形態に係る封止シート連続体の一部省略平面図。 図7のVIII−VIII線断面図。
符号の説明
1…封止シート連続体、10…封止シート、2…ベースシート、3…粘着剤層、5…隠蔽シート、5a…離型面、51…隠蔽シートの囲み領域、6…切込み線、7…バインダー層、8…カバー部材、81…カバー部材のフランジ部、82…カバー部材の収納凹部、9…ブリスター包装体

Claims (5)

  1. 収納凹部の周縁からフランジ部が形成されたカバー部材と、前記収納凹部の開口側を閉塞するようにして前記フランジ部に接着される封止シートと、を有するブリスター包装体に使用される封止シート連続体であって、
    長尺状のベースシートと、前記ベースシートに積層され且つ常温で粘着性を示す粘着剤層と、前記粘着剤層に積層された長尺状の隠蔽シートと、を有し、
    前記長尺状の隠蔽シートの面内に、前記カバー部材の収納凹部の周縁形状に対応した形状の切込み線が所定間隔を開けて形成されていることを特徴とするブリスター包装体用の封止シート連続体。
  2. 前記隠蔽シートと粘着剤層の層間であって、前記切込み線で囲われた領域の少なくとも一方向端部と粘着剤層の層間には、バインダー層が設けられている請求項1に記載のブリスター包装体用の封止シート連続体。
  3. ベースシートに積層された粘着剤層上の一部分に、バインダー液を塗工する工程、
    その後、前記バインダー液の塗工された粘着剤層上に隠蔽シートを重ねる工程、
    その後、前記バインダー液を硬化させ、前記隠蔽シートと粘着剤層の層間を部分的に結合する工程、
    を有することを特徴とするブリスター包装体用の封止シート連続体の製造方法。
  4. 前記バインダー液が、紫外線硬化型樹脂を含み、紫外線照射によって前記バインダー液を硬化させる請求項3に記載のブリスター包装体用の封止シート連続体の製造方法。
  5. 収納凹部の周縁からフランジ部が形成されたカバー部材と、前記収納凹部の開口側を閉塞するようにして前記フランジ部に接着される封止シートと、を有するブリスター包装体であって、
    前記封止シートが、ベースシートと、前記ベースシートに積層され且つ常温で粘着性を示す粘着剤層と、前記粘着剤層に積層された長尺状の隠蔽シートと、を有し、
    前記カバー部材のフランジ部が、前記粘着剤層を介して前記ベースシートに接着され、
    前記隠蔽シートが、前記カバー部材の収納凹部に対応した領域に積層されていることを特徴とするブリスター包装体。
JP2008172861A 2008-07-02 2008-07-02 ブリスター包装体用の封止シート連続体、その製造方法、及びブリスター包装体 Active JP5167463B2 (ja)

Priority Applications (1)

Application Number Priority Date Filing Date Title
JP2008172861A JP5167463B2 (ja) 2008-07-02 2008-07-02 ブリスター包装体用の封止シート連続体、その製造方法、及びブリスター包装体

Applications Claiming Priority (1)

Application Number Priority Date Filing Date Title
JP2008172861A JP5167463B2 (ja) 2008-07-02 2008-07-02 ブリスター包装体用の封止シート連続体、その製造方法、及びブリスター包装体

Publications (2)

Publication Number Publication Date
JP2010013133A true JP2010013133A (ja) 2010-01-21
JP5167463B2 JP5167463B2 (ja) 2013-03-21

Family

ID=41699638

Family Applications (1)

Application Number Title Priority Date Filing Date
JP2008172861A Active JP5167463B2 (ja) 2008-07-02 2008-07-02 ブリスター包装体用の封止シート連続体、その製造方法、及びブリスター包装体

Country Status (1)

Country Link
JP (1) JP5167463B2 (ja)

Cited By (1)

* Cited by examiner, † Cited by third party
Publication number Priority date Publication date Assignee Title
JP2013067406A (ja) * 2011-09-22 2013-04-18 Fuji Seal International Inc ブリスター包装体

Cited By (1)

* Cited by examiner, † Cited by third party
Publication number Priority date Publication date Assignee Title
JP2013067406A (ja) * 2011-09-22 2013-04-18 Fuji Seal International Inc ブリスター包装体

Also Published As

Publication number Publication date
JP5167463B2 (ja) 2013-03-21

Similar Documents

Publication Publication Date Title
JP6171196B2 (ja) 蓋材、保形シート付き蓋材、及び包装体
TWI663102B (zh) 可剝離標籤及其製造方法、可剝離標籤的捲繞卷筒及物品或物質的包裝
US9974375B2 (en) Fragrance sampler having an integral applicator
JP6163656B2 (ja) 穴閉塞用ラベル、穴閉塞用ラベル連続体、及びその連続体の製造方法
JP5167463B2 (ja) ブリスター包装体用の封止シート連続体、その製造方法、及びブリスター包装体
EP3180783B1 (en) Multiple wrap label
CN107107635A (zh) 全息层合物及由其制备的管
JP6862408B2 (ja) 収容袋および収容袋製造方法
JP2013109251A (ja) グルーラベル
SK5072001A3 (en) Packaging wrapper
EP3510588B1 (en) A peelable label
JP2017219752A (ja) ラベル
JP5224980B2 (ja) ブリスター包装体
JP6303319B2 (ja) 配送伝票
CN103732705B (zh) 材料复合物和材料复合物的应用以及具有材料复合物的包装和用于制造包装的方法
JP4787059B2 (ja) ラベル付き容器
JP6983601B2 (ja) ラベル付き容器の製造方法、及びシート成形用インモールドラベル
JP2018114661A (ja) ラベル基材の製造方法及びラベル
EP3390241B1 (en) Holographic laminate
JP6103581B2 (ja) 包材および包装体
JP4847368B2 (ja) 収納ラベル
JP4925874B2 (ja) 部分粘着ラベル用のラベル基材の製造方法、及び部分粘着ラベル
JP6712154B2 (ja) ラベル付き物品、及び収納ラベル
JP6585364B2 (ja) 包装体
JPH03147895A (ja) 剥離可能な接着紙面を有する郵便物及びその製造方法

Legal Events

Date Code Title Description
A621 Written request for application examination

Free format text: JAPANESE INTERMEDIATE CODE: A621

Effective date: 20110524

A977 Report on retrieval

Free format text: JAPANESE INTERMEDIATE CODE: A971007

Effective date: 20121015

TRDD Decision of grant or rejection written
A01 Written decision to grant a patent or to grant a registration (utility model)

Free format text: JAPANESE INTERMEDIATE CODE: A01

Effective date: 20121026

A711 Notification of change in applicant

Free format text: JAPANESE INTERMEDIATE CODE: A711

Effective date: 20121126

A61 First payment of annual fees (during grant procedure)

Free format text: JAPANESE INTERMEDIATE CODE: A61

Effective date: 20121122

A521 Request for written amendment filed

Free format text: JAPANESE INTERMEDIATE CODE: A821

Effective date: 20121128

R150 Certificate of patent or registration of utility model

Ref document number: 5167463

Country of ref document: JP

Free format text: JAPANESE INTERMEDIATE CODE: R150

R250 Receipt of annual fees

Free format text: JAPANESE INTERMEDIATE CODE: R250

R250 Receipt of annual fees

Free format text: JAPANESE INTERMEDIATE CODE: R250

R250 Receipt of annual fees

Free format text: JAPANESE INTERMEDIATE CODE: R250

R250 Receipt of annual fees

Free format text: JAPANESE INTERMEDIATE CODE: R250

R250 Receipt of annual fees

Free format text: JAPANESE INTERMEDIATE CODE: R250

R250 Receipt of annual fees

Free format text: JAPANESE INTERMEDIATE CODE: R250

R250 Receipt of annual fees

Free format text: JAPANESE INTERMEDIATE CODE: R250

R250 Receipt of annual fees

Free format text: JAPANESE INTERMEDIATE CODE: R250

R250 Receipt of annual fees

Free format text: JAPANESE INTERMEDIATE CODE: R250

R250 Receipt of annual fees

Free format text: JAPANESE INTERMEDIATE CODE: R250

R250 Receipt of annual fees

Free format text: JAPANESE INTERMEDIATE CODE: R250