JP2010013126A - 外ケースと中仕切との固定構造 - Google Patents

外ケースと中仕切との固定構造 Download PDF

Info

Publication number
JP2010013126A
JP2010013126A JP2008172305A JP2008172305A JP2010013126A JP 2010013126 A JP2010013126 A JP 2010013126A JP 2008172305 A JP2008172305 A JP 2008172305A JP 2008172305 A JP2008172305 A JP 2008172305A JP 2010013126 A JP2010013126 A JP 2010013126A
Authority
JP
Japan
Prior art keywords
outer case
partition
piece
inner partition
concave portion
Prior art date
Legal status (The legal status is an assumption and is not a legal conclusion. Google has not performed a legal analysis and makes no representation as to the accuracy of the status listed.)
Granted
Application number
JP2008172305A
Other languages
English (en)
Other versions
JP5207044B2 (ja
Inventor
Shingo Sakamoto
慎吾 坂本
Osamu Tokuda
修 徳田
Moe Tachi
萌 舘
Current Assignee (The listed assignees may be inaccurate. Google has not performed a legal analysis and makes no representation or warranty as to the accuracy of the list.)
Sogo Printing and Packaging Co Ltd
Original Assignee
Sogo Printing and Packaging Co Ltd
Priority date (The priority date is an assumption and is not a legal conclusion. Google has not performed a legal analysis and makes no representation as to the accuracy of the date listed.)
Filing date
Publication date
Application filed by Sogo Printing and Packaging Co Ltd filed Critical Sogo Printing and Packaging Co Ltd
Priority to JP2008172305A priority Critical patent/JP5207044B2/ja
Publication of JP2010013126A publication Critical patent/JP2010013126A/ja
Application granted granted Critical
Publication of JP5207044B2 publication Critical patent/JP5207044B2/ja
Active legal-status Critical Current
Anticipated expiration legal-status Critical

Links

Images

Landscapes

  • Cartons (AREA)

Abstract

【課題】自動包装ラインで、外ケースに対して中仕切りが、円滑に且つ確実に組立固定できる外ケースと中仕切との固定構造を提供すること。
【解決手段】全体が紙材であり、上面視方形の外ケースの側壁面のうち少なくとも一面の一部又は全部を二重構造とし、前記二重構造の内壁面側のみを切除して凹部を形成すると共に、前記凹部の最上位置から凹部の前部位置にまで至る内壁面より成る受け片を設け、他方、中仕切の外側面に上記凹部と対応する凸部、及び受け片と対応する挿入片を形成し、上記の如き外ケースに中仕切を挿入すると、挿入片が受け片の根元部に当接状態に成ると同時に、上記凸部が凹部に嵌まり込んで両者が係止状態になる。
【選択図】図8

Description

この発明は、自動包装ライン対応が可能である、外ケースと中仕切との固定構造に関するものである。
外ケース内に中仕切りを嵌め込んで成る所謂組箱は、数多く市場に出回っており、中仕切の各空間部分に例えばガラス製バイアル、アンプルやビン等が差し込まれる態様で保持できるようにしてある。
ここで、上記外ケースと中仕切の関係は、外ケースに対して中仕切を固定することなく単に挿入するだけのものが一般的であり、多くはこの形態を採用している。
しかしながら、前記の如き形態のものでは、以下に示すような問題がある。
(1)自動包装ライン上で、中仕切を外ケース内に嵌め込んで固定する工程が容易には実現できない。
(2)納品時の梱包作業や輸送時の振動において、中仕切が外ケースから外れたり、外ケースからはみ出したりすることから、顧客からのクレームがでやすい。
(3)自動包装ラインでの歪みやズレが存在しやすいことから、自動包装ラインのチョコ停止が起こり、スムーズな箱の組上がり作業が困難である。
したがって、この種の業界では、自動包装ライン上で、外ケースに対して中仕切りが上下左右に移動しない外ケースと中仕切との固定構造が開発されることを待ち望んでいる。
特開2007−238103号公報(特に0002の欄)
そこで、この発明では、自動包装ライン上で、外ケースに対して中仕切りが円滑に且つ確実に固定できる、外ケースと中仕切との固定構造を提供することを課題とする。
(請求項1記載の発明)
この発明は、外ケースの底側開放部又は上側開放部から中仕切を挿入する態様で外ケース内に中仕切を固定する構造であって、全体が紙材であり、上面視方形の外ケースの側壁面のうち少なくとも一面の一部又は全部を二重構造とし、前記二重構造の内壁面側のみを切除して凹部を形成すると共に、前記凹部の最上位置から凹部の前部位置にまで至る内壁面より成る受け片を設け、他方、中仕切の外側面に上記凹部と対応する凸部、及び受け片と対応する挿入片を形成し、上記の如き外ケースに中仕切を挿入すると、挿入片が受け片の根元部に当接状態に成ると同時に、上記凸部が凹部に嵌まり込んで両者が係止状態になるになるものとしている。
(請求項2記載の発明)
この発明は、上記請求項1記載の発明に関し、凸部及び挿入片は、中仕切の外枠部上端から突出する突出片を外側に折り曲げることにより形成されるようにしてある。
(請求項3記載の発明)
この発明は、上記請求項1又は2記載の発明に関し、外ケースの開放された底部から前記中仕切の上部側を挿入すると、凸部の両側部と凹部の両側部とが、係止状態となるものとしている。
(請求項4記載の発明)
この発明は、上記請求項1乃至3のいずれかに記載の発明に関し、凹部から底側寄り周縁部は、接着されている。
(請求項5記載の発明)
この発明は、上記請求項1乃至4のいずれかに記載の発明に関し、中仕切の底片近傍には緩衝機能部材を設けてある。
(請求項6記載の発明)
この発明は、上記請求項1乃至5のいずれかに記載の発明に関し、凹部と凸部とは平面視で略同一であり、凹部に対して凸部が密嵌されるようになっている。
(請求項7記載の発明)
この発明は、上記請求項1乃至6のいずれかに記載の発明に関し、外ケース及びこれに挿入される中仕切は上面視長方形であり、凹部、凸部、受け片及び挿入片は長辺と対応する側の上面視中央に形成されている。
この発明は上記のような構成であり、次の効果を有する。
この外ケースと中仕切との固定構造であれば、自動包装ライン上で、外ケースに対して中仕切りが円滑に且つ確実に固定されているため中仕切りのズレが無く、箱の組上がりがスムーズに行なえる。
以下、この発明の外ケースと中仕切との固定構造を実施するための最良の形態を、図面に基づいて詳細に説明する。
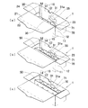
図1は外ケース1と中仕切5が固定された状態を示す斜視図、図2は外ケース1と中仕切5が固定された状態を示す断面図、図3は凸部及び挿入片を形成するための切込みライン54を示す斜視図、図4は中仕切5の断面図、図5及び図6は外ケース1と中仕切5が分離した状態の斜視図、図7は外ケース2の底開放部から中仕切5が挿入されていき、外ケース1と中仕切5が固定されるまでの状態を示す斜視図、図8は外ケース2の底開放部から中仕切5が挿入されていき、外ケース1と中仕切5が固定されるまでの状態を示す断面図、図9は外ケースの内面側に形成された凹部回りの構造についての正面図を示している。
(この外ケース1と中仕切5とを固定するための基本構成について)
この外ケース1と中仕切5との固定構造は、図7、図8に示すように、外ケース1の底側開放部から中仕切5を挿入する態様で外ケース1内に中仕切5を固定するものであり、より具体的には、前記固定が、自動包装ラインにおいて円滑に且つ確実に行なえる構造としたものである。
ここで、上記外ケース1及び中仕切5はそれぞれ全体が紙材で構成されており、図1や図2に示すように、上面視方形の外ケース1の側壁面のうち一方の長辺10側を二枚合わせた二重構造とし、前記二重構造の内壁面側のみを切除して凹部30を形成すると共に、前記凹部30の最上位置から凹部30の前部位置にまで至る二重構造の内壁により成る受け片31を設けている。他方、図4〜図6に示すように、中仕切5の外枠部50の上端から突出する突出片51を外側に折り曲げることにより上記凹部30と対応する凸部70、及び受け片31と対応する挿入片71を形成してある。
そして、前記構成により、前記外ケース1に中仕切5を挿入すると、図7、図8に示すように、挿入片71が受け片31の根元部31aに当接状態に成ると同時に、上記凸部70が凹部30に嵌まり込んで両者が係止状態になるようにしてある。
(この外ケース1の具体的構造について)
「外ケースの構成」
外ケース1は、図1に示すように、ケース本体1Aと、上蓋部1Bと、底蓋部1Cとから構成されている。
ケース本体1Aは、図1、図2、図5、図6に示すように、後側板11と、左側板12と、外前側板13及び内前側板14(内外で二重構造となっている)と、右側板15と、糊代板16とから成り、前記糊代板16と右側板15とを糊で一体化するようにして長方形の枠形状を構成している。なお、外前側板13と内前側板14は一辺で繋がっており、内前側板14を前記一辺で内側へ折り曲げるようにして内外で二重構造を構成している。また符号31で示されているのは受け片である。
ここで、このケース本体1A内に上述した如く中仕切5が収まり、前記中仕切5に例えばガラス製バイアル複数個が収容される空間部分となる。
上蓋部1Bは、図1、図5、図6に示すように、上記後側板11に連続的に一体化されている蓋板21及び差込板22と、上記左側板12と連続的に一体化されている左蓋袖板23と、上記右側板15と連続的に一体化されている右側蓋袖板24とから構成されている。
底蓋部1Cは、図1、図5、図6に示すように、上記後側板11に連続的に一体化されている外底板26と、上記左側板12と連続的に一体化されている左底板27と、上記右側板15と連続的に一体化されている右底板24と、上記外前側板23と連続的に一体化されている内底板25から構成されている。
「この外ケース1に新規に設けられた構成について」
上記した凹部30は、図2、図5、図9に示すように、下域が直線33に形成されていると共に、直線の両端から上方に向って徐々に広がるような逆台形34の如き形成され、その後の上部は更に逆台形状よりも狭い帯形状部35となる様に切り欠かれている。
また、受け片31は、図5、図6、図9に示すように、上記帯形状部35の最上部位置から逆台形34の位置まで垂れ下がるようになっている。
(この中仕切5の具体的構造について)
「中仕切5の構成」
中仕切5は、図2〜図5に示すように、外枠部50内を縦横の仕切り片52で区画してあると共にその下方に衝撃緩衝機能を有する桟53を具えてなり、全体を扁平状態に折り畳める形態のものとしてある。なお、この中仕切5を折り畳んだ状態から広げた状態にすると、仕切り片52により2列・5行の収納部が形成されると共に、僅かな隙間を設けて上記外ケース1に挿入できるようにしてある。
「中仕切5に新規に設けられた構成について」
この中仕切5の外枠部50を構成する長手側辺の中央部には、図3に示すように、台形状の突出片51を設けてあり、前記突出片51の中央部であって外枠部50の上辺より下部位置に略R状に入り込んだ切込みライン54を形成してある。前記構成から、中仕切5の外枠部50の上端から突出する突出片51を外側に折り曲げることにより上記凹部30と対応する凸部70、及び受け片31と対応する挿入片71を形成してある。なお、突出片51を外側に折り曲げることにより形成された凸部70及び挿入片71は図5や図8に示すように、外枠部50の外面から紙の厚み分だけ突出しており、また挿入片71は前記折り曲げによって生じる弾性力により下端部が少し跳ね上がった状態となっている。また、凸面70は凹部30と略一致して嵌合可能であり、この嵌合状態では挿入片71は受け片31の根元部31aに当接状態に成るような構造となっている。
(この外ケース1へと中仕切5を固定する工程1、2、3について)
「第1工程」
図7(a)及び図8(a)に示すように、外ケース1の底開放部から中仕切5を挿入していく。
「第2工程」
図7(a)及び図8(a)に示す状態から、さらに中仕切5を押し込んでいくと、図7(b)及び図8(b)に示す如き、受け片31内に挿入片71が挿入されていく。
「第3工程」
図7(b)及び図8(b)に示す状態から、さらに中仕切5を押し込んでいくと、図7(c)及び図8(c)に示す受け片31内の根元部31aに挿入片71の先端が当接し、これと同時に凹部30内に凸部70が嵌まり込む。
これにより、凹部30内への凸部70の嵌め合いにより外ケース1に対して中仕切5は移動不能状態となる。
(自動包装ラインで中仕切5を外ケース1内に係止させて固定する工程について)
(1)包装ラインの搬送方向に対して、外ケース1の底面が横向きとなる態様で当該底面を開放状態にし、前記底面開放部から中仕切5用の自動包装装置により挿入する。この際、当然のことではあるが、凹部30及び受け片31と凸部70及び挿入片71とが、共に上側にあるか下側にあるかを一致させておく。なお実施例では上側にあるものとする。
(2)外ケース1の底部側から中仕切5を徐々に挿入していくと、上述した如く凸部70及び挿入片71が外ケース1内に侵入する。
(3)前記(2)の状態から、さらに挿入量を増加させていくと、挿入片71が受け片31の根元部31aに当接状態に成り、それと同時に、凸部70と凹部30の両最下部(直線部)及びその近傍のサイド相互等が確実に係止状態になるようになる。この状態においては、外ケース1に対して中仕切5はどの方向においても移動しない状態となっており、外ケース1を開いた状態でも閉じた状態でも両者は移動しないものとなっている。
(この実施例の優れた効果について)
(1)上記した内容から、自動包装ライン上において、中仕切を外ケース内に嵌め込んで固定する工程が容易に行えることが明らかである。
(2)納品時の梱包作業や輸送時の振動があったとしても、挿入片71が受け片31の根元部31aに当接状態に成り、それと同時に、凸部70と凹部30の両最下部(直線部)及びその近傍のサイド相互等が確実に係止状態になるようになるので、中仕切が外ケースから外れたり、外ケースからはみ出したりするようなことがなく、顧客からのクレームは出にくくなる。
(3)前記(2)と同様の理由により、自動包装ラインでの歪みやズレが存在しにくいことから、自動包装ラインのチョコ停止が起こりにくく、スムーズな箱の組上がり作業ができる。
(その他)
外ケース1に形成される凹部30、受け片31及び根元部32、中仕切5に形成される突出片51、仕切り片52、桟53及び切り込みライン等は特に上記実施例に限られることはなく、前記外ケース1に中仕切5を挿入すると、図7(c)及び図8(c)に示すように、挿入片71が受け片31の根元部31aに当接状態に成ると同時に、上記凸部70と凹部30の両最下部及びその近傍のサイド相互が係止状態になるような構造となっていればよい。
上記外ケース1の凹部30、受け片31及び根元部32等は以下のような構成を採用していることが好ましい。受け片31の根元部31aの中央部に切込み31bを入れておくと共に、凹部30の下側に二本の罫線32を設け、更に前記罫線32、32相互間における外側側板13と内前側板14とを糊で接着している(接着部を符号36で示す)ことが好ましい。この構成により、外ケース1に対して中仕切5の固定をより円滑になし得る。
また中仕切5で区切られた空間に、当該空間に密に収容されるガラス製バイアル、アンプルやビン等を挿入したときに受け片31を、前記ガラス製バイアルの容器で押さえつけるように位置設定すれば、上記(この実施例の優れた効果について)の欄の(2)の効果は更に優れたものとなる。
更に、中仕切5の外枠部50の上端から突出する突出片51を外側に折り曲げることにより上記凹部30と対応する凸部70、及び受け片31と対応する挿入片71を形成しているが、他の方法を採用することが可能である。
そして、外ケース2及びこれに挿入される中仕切5は上面視長方形であり、凹部30、凸部70、受け片31及び挿入片71は長辺と対応する側の上面視中央に形成されているものとするのが好ましい。すなわち、この構成にすると、外ケース1に対する中仕切5のガタつきが少ないものとなる。
外ケースと中仕切が固定された状態を示す斜視図。 外ケースと中仕切が固定された状態を示す断面図。 凸部及び挿入片を形成するための切込みラインを示す斜視図。 中仕切の断面図。 外ケースと中仕切が分離した状態の斜視図。 外ケースと中仕切が分離した状態の斜視図。 外ケースの底開放部から中仕切が挿入されていき、外ケースと中仕切が固定されるまでの状態を示す斜視図。 外ケースの底開放部から中仕切が挿入されていき、外ケースと中仕切が固定されるまでの状態を示す断面図。 外ケースの内面側に形成された凹部廻りの構造についての正面図。
符号の説明
1 外ケース
1A 上蓋部
1B 上蓋部
1C 下蓋部
30 凹部
31 受け片
31a 根元部
33 直線
34 逆台形
35 帯形状部
5 中仕切
50 外枠部
51 突出片
52 仕切片
53 桟
54 切り込みライン
70 凸部
71 挿入片










Claims (7)

  1. 外ケースの底側開放部又は上側開放部から中仕切を挿入する態様で外ケース内に中仕切を固定する構造であって、全体が紙材であり、上面視方形の外ケースの側壁面のうち少なくとも一面の一部又は全部を二重構造とし、前記二重構造の内壁面側のみを切除して凹部を形成すると共に、前記凹部の最上位置から凹部の前部位置にまで至る内壁面より成る受け片を設け、他方、中仕切の外側面に上記凹部と対応する凸部、及び受け片と対応する挿入片を形成し、上記の如き外ケースに中仕切を挿入すると、挿入片が受け片の根元部に当接状態に成ると同時に、上記凸部が凹部に嵌まり込んで両者が係止状態になるとことを特徴とする外ケースと中仕切との固定構造。
  2. 凸部及び挿入片は、中仕切の外枠部上端から突出する突出片を外側に折り曲げることにより形成されるようにしてあることを特徴とする請求項1記載の外ケースと中仕切との固定構造。
  3. 外ケースの開放された底部から前記中仕切の上部側を挿入すると、凸部の両側部と凹部の両側部とが、係止状態となることを特徴とする請求項1又は2記載の外ケースと中仕切との固定構造。
  4. 凹部から底側寄り周縁部は、接着されていることを特徴とする請求項1乃至3のいずれかに記載の外ケースと中仕切との固定構造。
  5. 中仕切の底片近傍には緩衝機能部材を設けてあることを特徴とする請求項1乃至4のいずれかに記載の外ケースと中仕切との固定構造。
  6. 凹部と凸部とは平面視で略同一であり、凹部に対して凸部が密嵌されるようになっていることを特徴とする請求項1乃至5のいずれかに記載の外ケースと中仕切との固定構造。
  7. 外ケース及びこれに挿入される中仕切は上面視長方形であり、凹部、凸部、受け片及び挿入片は長辺と対応する側の上面視中央に形成されていることを特徴とする請求項1乃至6記載のいずれかに記載の外ケースと中仕切との固定構造。








JP2008172305A 2008-07-01 2008-07-01 外ケースと中仕切との固定構造 Active JP5207044B2 (ja)

Priority Applications (1)

Application Number Priority Date Filing Date Title
JP2008172305A JP5207044B2 (ja) 2008-07-01 2008-07-01 外ケースと中仕切との固定構造

Applications Claiming Priority (1)

Application Number Priority Date Filing Date Title
JP2008172305A JP5207044B2 (ja) 2008-07-01 2008-07-01 外ケースと中仕切との固定構造

Publications (2)

Publication Number Publication Date
JP2010013126A true JP2010013126A (ja) 2010-01-21
JP5207044B2 JP5207044B2 (ja) 2013-06-12

Family

ID=41699631

Family Applications (1)

Application Number Title Priority Date Filing Date
JP2008172305A Active JP5207044B2 (ja) 2008-07-01 2008-07-01 外ケースと中仕切との固定構造

Country Status (1)

Country Link
JP (1) JP5207044B2 (ja)

Citations (5)

* Cited by examiner, † Cited by third party
Publication number Priority date Publication date Assignee Title
JPS52171522U (ja) * 1976-06-16 1977-12-27
JPS53126873U (ja) * 1977-03-11 1978-10-07
JPH02108820U (ja) * 1988-10-24 1990-08-29
JP2006335389A (ja) * 2005-05-31 2006-12-14 Tokan Packaging System Kk 包装箱
JP2008074431A (ja) * 2006-09-20 2008-04-03 Rengo Co Ltd 包装体

Patent Citations (5)

* Cited by examiner, † Cited by third party
Publication number Priority date Publication date Assignee Title
JPS52171522U (ja) * 1976-06-16 1977-12-27
JPS53126873U (ja) * 1977-03-11 1978-10-07
JPH02108820U (ja) * 1988-10-24 1990-08-29
JP2006335389A (ja) * 2005-05-31 2006-12-14 Tokan Packaging System Kk 包装箱
JP2008074431A (ja) * 2006-09-20 2008-04-03 Rengo Co Ltd 包装体

Also Published As

Publication number Publication date
JP5207044B2 (ja) 2013-06-12

Similar Documents

Publication Publication Date Title
US12246887B2 (en) Paper container
JP5425650B2 (ja) パック収納用トレー
JP7101409B2 (ja) 包装用容器
JP6131036B2 (ja) 瓶保持体
JP2016150775A (ja) 緩衝機能付き仕切り及びこれを備えた包装用箱
JP5207044B2 (ja) 外ケースと中仕切との固定構造
JP4714717B2 (ja) 包装用緩衝材および包装箱
JP7537284B2 (ja) 瓶型容器仕切部材及び包装箱
JP2010215286A (ja) 包装箱
JP2009083864A (ja) コンテナー蓋
JP4789184B2 (ja) Snコンテナー
JP6456600B2 (ja) 瓶用収納箱
JP7346814B2 (ja) 包装容器
JP2022162904A (ja) 包装箱
JP3185873U (ja) 組仕切り、包装資材セット及び包装容器
JP7527252B2 (ja) 包装用箱
JP2014051298A (ja) 積み重ね可能なキャリーカートン
JP6903829B1 (ja) 緩衝機能付包装箱
JP7463919B2 (ja) 瓶型容器保持部材用ブランクシートおよび包装箱
JP7176452B2 (ja) 包装箱
JP2005280801A (ja) 物品包装体及びその止め具
JP6421045B2 (ja) 箱型容器
JP7075120B2 (ja) 包装用容器
KR20250000193U (ko) 포장상자
JP2023120958A (ja) 包装箱

Legal Events

Date Code Title Description
A621 Written request for application examination

Free format text: JAPANESE INTERMEDIATE CODE: A621

Effective date: 20110331

A977 Report on retrieval

Free format text: JAPANESE INTERMEDIATE CODE: A971007

Effective date: 20120906

A131 Notification of reasons for refusal

Free format text: JAPANESE INTERMEDIATE CODE: A131

Effective date: 20120911

A521 Request for written amendment filed

Free format text: JAPANESE INTERMEDIATE CODE: A523

Effective date: 20121023

TRDD Decision of grant or rejection written
A01 Written decision to grant a patent or to grant a registration (utility model)

Free format text: JAPANESE INTERMEDIATE CODE: A01

Effective date: 20130131

A61 First payment of annual fees (during grant procedure)

Free format text: JAPANESE INTERMEDIATE CODE: A61

Effective date: 20130206

FPAY Renewal fee payment (event date is renewal date of database)

Free format text: PAYMENT UNTIL: 20160301

Year of fee payment: 3

R150 Certificate of patent or registration of utility model

Ref document number: 5207044

Country of ref document: JP

Free format text: JAPANESE INTERMEDIATE CODE: R150

Free format text: JAPANESE INTERMEDIATE CODE: R150

R250 Receipt of annual fees

Free format text: JAPANESE INTERMEDIATE CODE: R250

R250 Receipt of annual fees

Free format text: JAPANESE INTERMEDIATE CODE: R250

R250 Receipt of annual fees

Free format text: JAPANESE INTERMEDIATE CODE: R250

R250 Receipt of annual fees

Free format text: JAPANESE INTERMEDIATE CODE: R250

R250 Receipt of annual fees

Free format text: JAPANESE INTERMEDIATE CODE: R250

R250 Receipt of annual fees

Free format text: JAPANESE INTERMEDIATE CODE: R250

R250 Receipt of annual fees

Free format text: JAPANESE INTERMEDIATE CODE: R250

R250 Receipt of annual fees

Free format text: JAPANESE INTERMEDIATE CODE: R250

R250 Receipt of annual fees

Free format text: JAPANESE INTERMEDIATE CODE: R250

R250 Receipt of annual fees

Free format text: JAPANESE INTERMEDIATE CODE: R250

R250 Receipt of annual fees

Free format text: JAPANESE INTERMEDIATE CODE: R250