JP2010012657A - 画像形成装置 - Google Patents

画像形成装置 Download PDF

Info

Publication number
JP2010012657A
JP2010012657A JP2008173353A JP2008173353A JP2010012657A JP 2010012657 A JP2010012657 A JP 2010012657A JP 2008173353 A JP2008173353 A JP 2008173353A JP 2008173353 A JP2008173353 A JP 2008173353A JP 2010012657 A JP2010012657 A JP 2010012657A
Authority
JP
Japan
Prior art keywords
ink
image forming
forming apparatus
supply
sub tank
Prior art date
Legal status (The legal status is an assumption and is not a legal conclusion. Google has not performed a legal analysis and makes no representation as to the accuracy of the status listed.)
Granted
Application number
JP2008173353A
Other languages
English (en)
Other versions
JP5073596B2 (ja
Inventor
Tomoki Kato
知己 加藤
Current Assignee (The listed assignees may be inaccurate. Google has not performed a legal analysis and makes no representation or warranty as to the accuracy of the list.)
Ricoh Co Ltd
Original Assignee
Ricoh Co Ltd
Priority date (The priority date is an assumption and is not a legal conclusion. Google has not performed a legal analysis and makes no representation as to the accuracy of the date listed.)
Filing date
Publication date
Application filed by Ricoh Co Ltd filed Critical Ricoh Co Ltd
Priority to JP2008173353A priority Critical patent/JP5073596B2/ja
Publication of JP2010012657A publication Critical patent/JP2010012657A/ja
Application granted granted Critical
Publication of JP5073596B2 publication Critical patent/JP5073596B2/ja
Expired - Fee Related legal-status Critical Current
Anticipated expiration legal-status Critical

Links

Images

Landscapes

  • Ink Jet (AREA)

Abstract

【課題】大流量のインク供給が要求される場合のリフィル不足を生じ、サブタンク内の負圧を適正範囲に維持できず、気泡排出性が十分でない。
【解決手段】記録ヘッド10に供給するインクを貯留するサブタンク30と、サブタンク30に液体を供給するメインタンク40と、メインタンク40からサブタンク30に液体を給送する加圧ポンプ78と、を備え、サブタンク30にはこのインク室101内の負圧が所定の値以上のときに開き、インク室101内へのインクの供給を可能とする負圧開放弁105が設けられ、負圧開放弁105をサブタンク30内の負圧と無関係に開かせる供給弁駆動部材112を有し、供給弁駆動手段112は加圧ポンプ78による加圧動作で駆動制御される。
【選択図】図8

Description

本発明は画像形成装置に関し、特に液滴を吐出する記録ヘッドを備える画像形成装置に関する。
プリンタ、ファクシミリ、複写装置、プロッタ、これらの複合機等の画像形成装置として、例えばインク液滴を吐出する記録ヘッドを用いた液体吐出記録方式の画像形成装置としてインクジェット記録装置などが知られている。この液体吐出記録方式の画像形成装置は、記録ヘッドからインク滴を、搬送される用紙に対して吐出して、画像形成(記録、印字、印写、印刷も同義語で使用する。)を行なうものであり、記録ヘッドが主走査方向に移動しながら液滴を吐出して画像を形成するシリアル型画像形成装置と、記録ヘッドが移動しない状態で液滴を吐出して画像を形成するライン型ヘッドを用いるライン型画像形成装置がある。
なお、本願において、「画像形成装置」は、紙、糸、繊維、布帛、皮革、金属、プラスチック、ガラス、木材、セラミックス等の媒体にインクを着弾させて画像形成を行う装置(単なる液体吐出装置を含む)を意味し、また、「画像形成」とは、文字や図形等の意味を持つ画像を媒体に対して付与することだけでなく、パターン等の意味を持たない画像を媒体に付与すること(単に液滴を媒体に着弾させること)をも意味する。また、「インク」とは、インクと称されるものに限らず、記録液、定着処理液、液体、DNA試料、パターニング材料などと称されるものなど、画像形成を行うことができるすべての液体の総称として用いる。また、「用紙」とは、材質を紙に限定するものではなく、上述したOHPシート、布なども含み、インク滴が付着されるものの意味であり、被記録媒体、記録媒体、記録紙、記録用紙などと称されるものを含むものの総称として用いる。
記録ヘッドとして用いる液体吐出ヘッド(液滴吐出ヘッド)としては、圧電アクチュエータ等により振動板を変位させ液室内の体積を変化させて圧力を高め液滴を吐出させる圧電型ヘッドや、液室内に通電によって発熱する発熱体を設けて、発熱体の発熱により生じる気泡によって液室内の圧力を高め、液滴を吐出させるサーマル型ヘッドが知られている。
このような液体吐出方式の画像形成装置においては、特に画像形成スループットの向上、すなわち画像形成速度の高速化が望まれており、本体据え置きの大容量のインクカートリッジ(メインタンク)からチューブを介してヘッド上部のサブタンク(ヘッドタンクともいう。)にインクを供給する方式が行なわれている。このようなチューブを用いてインクを供給する方式とすることで、キャリッジ部を軽量小型化でき、構造系、駆動系も含めて装置を大幅に小型化できる。
しかしながら、印刷スループットの更なる向上のため、ヘッドのノズル数増加、ヘッド駆動の高周波数化に伴うインク送液流量の増加や、短時間乾燥のためのインク高粘度化が進むと、チューブ流体抵抗の圧力損失によりインク供給が不足する問題が生じる。特に、大判の印刷媒体に記録を行う装置では、チューブ長が長くなるためより圧力損失が大きくなり問題は深刻である。
このような問題に対しては、特許文献1に記載されているように、ヘッドのインク供給上流側に差圧弁を設けて、サブタンク内の負圧が所定の圧力より大きい時にインクを供給するようにすることが有効である。これにより、前述のリフィル不足の問題は解決される。また、特許文献1にはさらにヘッド部の気泡排出性を向上するために、差圧弁を強制的に開くことができるメカ機構を有し、チョーククリーニングを行なう技術が開示されている。
特許第4032953号公報
その他、本願発明に関係する文献としては特許文献2、3もある。
特開2008−023789号公報 特開2008−023790号公報
しかしながら、上述した特許文献1に記載の技術では、差圧弁を開くために専用の駆動源を必要とするため、インク供給システムが複雑になるという課題がある。また、インク供給系路に混入した空気をチョーククリーニングでしか排出できないので、気泡排出性が十分でないという課題もある。
本発明は上記の課題に鑑みてなされたものであり、大流量のインク供給が要求される場合でもリフィル不足を生じることなくサブタンク内の負圧を適正範囲に維持できる共に気泡排出性を簡単な構成で実現することを目的とする。
上記の課題を解決するため、本発明に係る画像形成装置は、
液滴を吐出する記録ヘッドと、
前記記録ヘッドに供給するインクを貯留するサブタンクと、
前記サブタンクに液体を供給するメインタンクと、
前記メインタンクから前記サブタンクに前記液体を給送する液体給送手段と、を備え、
前記サブタンクにはこのサブタンク内の負圧が所定の値以上のときに開き、前記サブタンク内への液体の供給を可能とする供給弁が設けられ、
前記供給弁を前記サブタンク内の負圧と無関係に開かせる供給弁駆動手段を有し、
前記供給弁駆動手段は前記液体給送手段で駆動制御される
構成とした。
ここで、前記供給弁駆動手段は前記液体給送手段の給送圧力が所定の値よりも大きいとき駆動されて前記供給弁を開かせる構成とできる。
また、前記液体給送手段は、空気圧によって前記メインタンク内の液体を加圧して前記液体を給送する構成とできる。
また、前記サブタンクには大気と開閉自在な大気弁を有する構成とできる。
また、前記サブタンクは、少なくとも一部に第1の可撓性部材と、前記第1の可撓性部材をサブタンクの容積を拡大する方向に付勢する第1のばね部材とを有し、
前記供給弁駆動手段は、前記第1の可撓性部材に対して接離して、前記第1の可撓性部材を押圧することで前記供給弁を開かせる
構成とできる。
この場合、前記供給弁駆動手段は少なくとも一部に弾性部材からなる壁面を有する密閉空間を有し、前記密閉空間が前記液体給送手段に連通している構成とできる。
あるいは、前記供給弁駆動手段は少なくとも一部に第2の可撓性部材からなる壁面を有する密閉空間と、前記第2の可撓性部材を前記密閉空間の容積を縮小する方向に付勢する第2のばね部材を有し、前記密閉空間が前記液体給送手段に連通している構成とできる。
前記大気弁を有する構成において、
前記サブタンクは、少なくとも一部に第1の可撓性部材と、前記第1の可撓性部材をサブタンクの容積を拡大する方向に付勢する第1のばね部材とを有し、
前記大気弁は、前記第1の可撓性部材に押圧されることで開く
構成とできる。
同じく、前記大気弁を開閉する大気弁駆動手段を有し、前記大気弁駆動手段は前記液体給送手段によって駆動制御される構成とできる。
この場合、前記大気弁駆動手段は少なくとも一部に弾性部材からなる壁面を有する密閉空間を有し、前記密閉空間が前記液体給送手段に連通している構成とできる。
あるいは、前記大気弁駆動部材は少なくとも一部に第3の可撓性部材と、前記第3の可撓性部材を前記密閉空間の容積を縮小する方向に付勢する第3のばね部材とを有する構成とできる。
本発明に係る画像形成装置によれば、サブタンクにはこのサブタンク内の負圧が所定の値以上のときに開き、サブタンク内への液体の供給を可能とする供給弁が設けられ、供給弁をサブタンク内の負圧と無関係に開かせる供給弁駆動手段を有し、供給弁駆動手段は液体給送手段で駆動制御される構成としたので、記録ヘッドへの大流量供給が可能で適正な負圧を安定して維持すると共に、簡単な構成でヘッドの気泡排出性を確保して、信頼性の高い画像形成装置を得ることができる。
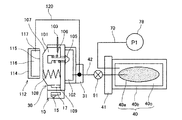
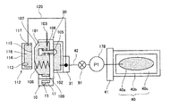
以下、本発明の実施形態について添付図面を参照して説明する。本発明に係る画像形成装置としてのインクジェット記録装置の一例について図1ないし図3を参照して説明する。なお、図1は同記録装置の概略正面説明図、図2は同じく概略平面説明図、図3は同じく概略側面説明図である。
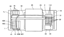
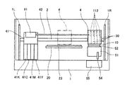
このインクジェット記録装置は、本体フレーム1に立設された左右の側板1L、1Rに横架したガイド部材であるガイドロッド2と、本体フレーム1に横架される後フレーム1Bに取付けられたガイドレール3とで、キャリッジ4を主走査方向(ガイドロッド長手方向)に摺動自在に保持し、キャリッジ4を図示しない主走査モータとタイミングベルトによってガイドロッド2の長手方向(主走査方向)に移動走査する。
このキャリッジ4には、例えば、イエロー(Y)、シアン(C)、マゼンタ(M)、ブラック(K)(以下、色を区別するときには符号にY,C,M,Kのサブ符号を付している。)の各色のインク滴を吐出する記録ヘッド10を複数のインク吐出口(ノズル)を主走査方向と交叉する方向に配列し、インク滴吐出方向を下方に向けて装着している。
ここで、記録ヘッド10は、図4に示すように発熱体基板12と液室形成部材13から構成され、ヘッドベース部材19に形成された流路から共通流路17及び液室(個別流路)16に順次供給されるインクを液滴として吐出する。この記録ヘッド10は、発熱体14の駆動によるインクの膜沸騰により吐出圧を得るサーマル方式のものであり、液室16内の吐出エネルギー作用部(発熱体部)へのインクの流れ方向とノズル15の開口中心軸とを直角となしたサイドシュータ方式の構成のものである。
なお、記録ヘッドとしては、圧電素子を用いて振動板を変形させ、また、静電力で振動板を変形させて吐出圧を得るものなど様々な方式があり、いずれの方式のものも本発明に係る画像形成装置に適用することができるが、サーマルヘッド方式はノズル密度を高密度化しやすいという利点がある一方で、原理上ヘッド内に気泡を発生しやすく、気泡排出の問題が他の方式に比べて大きいことから、本発明を適用することで大きな効果が得られる。
また、サーマル方式のヘッドの中には、他にも吐出方向が異なるエッジシュータ方式があるが、このエッジシュータ方式においては気泡が消滅する際の衝撃により発熱体14を徐々に破壊する、いわゆるキャビテーション現象の問題がある。これに対し、上述したサイドシュータ方式においては気泡が成長し、その気泡がノズル15に達すれば気泡が大気に通じることになり温度低下による気泡の収縮が起こらない。そのため、記録ヘッドの寿命が長いという長所を有する。また、発熱体14からのエネルギーをより効率良くインク滴の形成とその飛行の運動エネルギーへと変換でき、またインクの供給によるメニスカスの復帰も速いという構造上の利点を有する。したがって、本インクジェット記録装置においてはサイドシュータ方式の記録ヘッドを採用している。
一方、キャリッジ4の下方には、記録ヘッド10によって画像が形成される用紙20が主走査方向と垂直方向(副走査方向)に搬送される。図3に示すように、用紙20は、搬送ローラ21と押えコロ22で挟持されて、記録ヘッド10による画像形成領域(印字部)に搬送され、印写ガイド部材23上に送られ、排紙ローラ対24で排紙方向に送られる。
このとき、主走査方向へのキャリッジ4の走査と記録ヘッド10からのインク吐出を画像データに基づいて適切なタイミングで同調させ、用紙20に1バンド分の画像を形成する。1バンド分の画像形成が完了した後、副走査方向に用紙20を所定量送り、前述と同様の記録動作を行う。これらの動作を繰り返し行い、1ページ分の画像形成を行なう。
一方で記録ヘッド10の上部には吐出するインクを一時的に貯留するためのインク室が形成されたサブタンク(ヘッドタンク)30が一体的に接続される。ここでいう「一体的」とは、記録ヘッド10とサブタンク30がチューブ、管等で接続されることも含んでおり、どちらも一緒にキャリッジ4に搭載されているという意味である。
このサブタンク30には、装置本体側の主走査方向の一端部側に設けられたカートリッジホルダ41に着脱自在に装着される各色のインクを収容したインクカートリッジ(メインタンク)40からインク供給チューブ42を介して、各色のインクが供給される。
また、装置本体の主走査方向の他端部側には記録ヘッド10の維持回復を行う維持回復機構51が配置されている。この維持回復機構51は、記録ヘッド10のノズル面をキャッピングするキャップ部材52と、キャップ部材52内を吸引する吸引ポンプ53と、吸引ポンプ53で吸引されたインクの廃液を排出する排出経路54などを含み、排出経路54から排出される廃液は本体フレーム1側に配置された廃液タンク55に排出される。
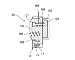
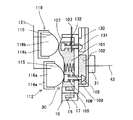
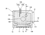
次に、サブタンク30の構成について図5ないし図7を参照して説明する。なお、図5はヘッドタンクの正面説明図、図6は図5のA−A線に沿うヘッドタンクの断面説明図、図6はその作用説明に供する断面説明図である。ここで、各図は理解を容易にするために適宜部品の記載を省略したり、部分的な断面としたりしている。また、断面を示すハッチングは省略している(以下同じ)。
サブタンク30は、図6に示すように、インク室101と加圧室102の2つの室を有している。インク室101の内部には記録ヘッド10との接続部の近傍にフィルタ109が設けられ、インクをろ過して異物などを除去したインクを記録ヘッド10に供給する構成となっている。また、サブタンク30の一壁面には第1の可撓性部材であるフィルム部材107が設けられ、ばね108によってサブタンク30の容積を拡大する方向に付勢されている。これにより、フィルム部材107は、図6に示すように、サブタンク30の外側に向けて凸状に膨らんだ形態となっている。
このフィルム部材107と近接して供給弁としての負圧連動弁105が設けられる。この負圧連動弁105は、インク室101と加圧室102の連通、非連通を制御する弁で、通常は、図6に示すように、ばね106の復元付勢力によって非連通状態を保っているが、図7に示すように、インク室101の内部のインクが消費され、フィルム部材107がインク室101内側に変位(変形)することにより、フィルム部材107で押されて開く構造を有している。つまり、負圧連動弁105は、サブタンク30の内部の負圧が所定の値より大きい場合に開き、図7に示すように、加圧室102からインク室101へのインクの流入を受容する(サブタンク内への液体の供給を可能とする)本発明における供給弁である。
また、サブタンク30の上部には、ヘッドタンク内の空気量を検知する電極ピン103a、103bで構成される空気量検知センサ103が設けられている。この空気量検知センサ103の2つの電極ピン103a、103bは、その先端が異なる高さ位置になるように設けられて、複数の液面状態を検知することができるようになっている。
また、サブタンク30の加圧室102にはインク供給ポート110が設けられる。このインク供給ポート110には図2における接続部材31が接続され、インク供給チューブ42と連通している。
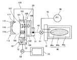
次に、本発明の第1実施形態におけるインク供給システムについて図8ないし図11をも参照して説明する。なお、図8は同インク供給システムの説明に供する説明図、図9は同じく同システムの異なる状態を説明する説明図、図10は同システムのカートリッジホルダ部分の説明図、図11は同システムの接続部材部分の説明図である。また、各図はインク供給方式の説明図のため、理解しやすいように、部材の形状、配置などはデフォルメして図示している。
インクが貯留されているインクカートリッジ(メインタンク)40は、インクが収容されたインク袋40aとインク袋40aを密閉状態で収容するケース部材40bとからなり、インク袋40aとケース部材40bの間の密閉空間40cには空気層が形成されている(以下、密閉空間40の空気層を「空気層40c」と表記して説明する。)。このインクカートリッジ40はカートリッジホルダ41に装着される。
このカートリッジホルダ41のインクカートリッジ取り付け面側には、図10に示すように、インクポート45とエアーポート44が設けられており、インクカートリッジ40が装着された状態では、図8及び図9に示すように、インクカートリッジ40のインク袋40aと液体供給チューブ(インク供給チューブ)42が連通し、空気層40cがエアー供給チューブ70に連通している。
エアー供給チューブ70には接続部材60を介して加圧ポンプ78が接続されており、インクカートリッジ40内の空気層40cに空気を出し入れすることでインク袋40aを加圧自在としている。ここで、インク袋40aはインク供給チューブ42、接続部材31を介してサブタンク30の加圧室102に連通しているので、加圧ポンプ78を駆動することで、加圧室102のインクの圧力を制御することができる。
このように、加圧ポンプ78を駆動することによってインクカートリッジ40からサブタンク30側にインクを供給することができる。ここでは、加圧ポンプ78がメインタンク(インクカートリッジ)40からサブタンク30へインクを給送する液体供給手段を構成している。
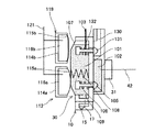
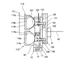
一方、サブタンク30側には供給弁105をサブタンク30内の負圧と無関係に開かせる供給弁駆動手段としての供給弁駆動部材112を、サブタンク30のフィルム部材107側に対向配置している。
この供給弁駆動部材112は、ケーシング114と弾性部材である弾性膜115によってインクを収容可能な圧力室116が形成され、圧力室116が膨張、収縮することで弾性膜115がサブタンク30のフィルム部材107に対して膨出、退出して、弾性膜115がフィルム部材107に接離し、弾性膜115が膨出してサブタンク30のフィルム部材107を押圧することで、供給弁105をサブタンク30内の負圧と無関係に開かせることができる。
この供給弁駆動部材112を液体送液手段によって駆動制御するため、サブタンク30側の接続部材31には、サブタンク30の加圧室102に連通するインク供給ポート35と供給弁駆動部材112に連通する弁連通ポート36が設けられている。インク供給ポート35と弁連通ポート36は、接続部材31によってインク供給チューブ42に連通する構造となっている。
そして、供給弁駆動部材112のケーシング114の上部に作動流体供給ポート117が設けられ、この作動流体供給ポート117は連通路120を介して接続部材31の弁連通ポート36に連通している。
したがって、液体送液手段としての加圧ポンプ78が駆動されてインクカートリッジ40からサブタンク30の加圧室102にインクが加圧供給されることにより、給送圧力が所定の値より大きい場合には、図9に示すように、供給弁駆動部材112の圧力室116が膨張して弾性膜115が膨出し、サブタンク30のフィルム部材107に当接して押圧するので、負圧連動弁105をサブタンク30のインク室101内の負圧と無関係に強制的に開かせることができる。
これに対し、加圧ポンプ78でインクを加圧していない場合や加圧力が小さい場合(給送圧力が所定の値以下の場合)は、図8に示すように、供給弁駆動部材112の圧力室116の容積は収縮し、弾性膜115はフィルム部材107から退避しているので、負圧連動弁105が閉じた状態となる。
また、インク供給チューブ42の途中には流路を開閉自在なチョーク弁91が設けられている。これにより、必要に応じてインクカートリッジ40からサブタンク30へのインクの供給を止めることができる。
次に、記録ヘッド10へのインク初期充填について、図12ないし図14を参照して説明する。
図12はインク初期充填前の状態を示している。サブタンク30のインク室101は大気圧であるので、ばね108の作用でファイル部材107は外方に推されており、負圧連動弁105はばね106により閉じた状態であり、加圧室106とインク室101の間は閉じられている。
この状態で、まず、チョーク弁91を閉じた状態とし、図13に示すように、キャップ52で記録ヘッド10のノズル面を密閉して吸引ポンプ53を駆動する。すると、インク室10内に大きな負圧(例えば−100kPa)が形成されるので、負圧連動弁105が開く。それにより、サブタンク30の加圧室102から空気が排出される。また、供給弁駆動部材112は圧力室116から空気が排出されるので、弾性膜115が図13に示すように収縮変形する。
次に、加圧ポンプ78を駆動し、インクカートリッジの40のインク袋40aを加圧する(例えば40kPa)。そして、チョーク弁91を開放する。これにより、サブタンク30の加圧室102、インク室101、記録ヘッド10にインクが充填され、また、供給弁駆動部材112の圧力室116にインクが充填され、弾性膜115はサブタンク30のフィルム部材107側に膨出して、フィルム部材107を押圧するので、供給弁105は供給弁駆動部材112によって強制的に開かれた状態(強制開放状態)が維持される。
この場合、排気されている各部位(圧力室116、加圧室102、インク室101、記録ヘッド10)の容量、吸引圧などによっては一度でインクが充填されない場合もある。そのときには、再びチョーク弁91を閉じて吸引ポンプ53を駆動して圧力を高めてからチョーク弁91を開く上述の一連の動作を複数回繰り返すことにより、所望の初期充填状態を形成することができる。
本実施形態ではインク室101の上部に空気量検知センサ103が設けられているので、充填状態の良否を簡単に検出することができる。ここで、「充填状態が良好」とは、必ずしもインク供給経路内の全ての空気がインクに置換されている状態を意味しているのではない。記録ヘッド10へのインク供給の妨げとならないレベルまで空気を排出できれば十分である。
その後、図14に示す状態から吸引ポンプ53と加圧ポンプ78を停止させる。加圧ポンプ78を停止させることにより、膨張していた供給弁駆動部材112が収縮し、図12に示すような自然状態に戻る。それにより、サブタンク30の負圧連動弁105を強制開放していた供給弁駆動部材112の弾性膜107が離間して、負圧連動弁105の強制開放状態が解除される。
このとき、インク室101内部に大きな負圧が残っているうちは、負圧連動弁105は開いているので、インクカートリッジ40からインクが供給され続け、ばね108の作用により徐々にインク室101が膨張する。そして、インク室101内の負圧が一定の値よりも小さくなると、自然に負圧連動弁105が閉じる。この時のインク室101の負圧を例えば約−500Paとするように、ばね108や負圧連動弁105のばね106が設定される。
また、印字に際しては、加圧ポンプ78を駆動してサブタンク30の加圧室102の圧力を高い状態に保持する(例えば15kPa程度)。この時の圧力は、前述した初期充填時の圧力よりは小さい圧力とし、負圧連動弁105が強制的に開かないような圧力値(例えば15kPa程度)とする。
これにより、印字によりインクが消費されインク室101が一定の負圧以上になった時に、フィルム部材107で負圧連動弁105が押されて自動的に開き、加圧されたインクが高速に加圧室102からインク室101に補充される。インク補充によりインク室101の負圧が小さくなると、フィルム部材107が負圧連動弁105から離れてばね106の復元力で自動的に負圧連動弁105が閉じるので、インクが過補充されてインク室101内の負圧が適正範囲から外れることがない。
このように、このインク供給システムでは、インクカートリッジ40を加圧ポンプ78によって加圧しているので、例えば、広幅の媒体に印字する記録装置のようにインク供給チューブ42が長くなり、チューブの流体抵抗が大きくなっても、記録ヘッド10へのインクのリフィル不足が起こることがない。
また、負圧連動弁105を設けているので、ポンプ78によってインクが過供給されることもなく、インク室101内から消費された分だけインクが自動的に補充されることになる。また、記録ヘッド10の共通流路17には適正な負圧を維持するサブタンク30(圧力調整タンク)が接続されているので、適正な負圧のもとに安定したインク吐出を行うことができる。
また、インクカートリッジ40からのインクの給送圧を少なくとも2段階以上に制御可能とし、印字時の給送圧よりも大きな給送圧でインクを加圧した時に、負圧連動弁105を強制的に開く機構を備えているので、記録ヘッド10 が吐出異常を生じた時などには加圧による回復を行うことができる。
つまり、インクジェット記録装置では印字中に何らかの原因でノズルから気泡が混入するなどしてノズルからインクが正常吐出しなくなることが時折生じる。これまでの小型のインクジェット記録装置では、その異常状態からの回復のために、記録ヘッド側からインク吸引して、ノズルからインクと一緒に気泡を排出するいわゆる吸引回復が一般的であった。しかし、高速印字化によりヘッドが大型化した際には、ノズルを完全に密閉できるキャッピングすることが困難になる。そのような場合でも、上記インク供給システムでは、加圧アシストにより高速にリフィルを実現すると共に、負圧連動弁の作用で、オンデマンドでインク補充を行いながら適正な負圧を維持して、なお且つ加圧回復を行うことが可能となる。したがって、例えば、広幅の媒体に印字する記録装置のようにインク供給チューブ42が長くなり、チューブの流体抵抗が大きくなっても、記録ヘッド10へのインクのリフィル不足が起こさないようにすることができるので、広幅の高速のインクジェット記録装置には特に好適である。
このように、サブタンクにはこのサブタンク内の負圧が所定の値以上のときに開き、サブタンク内への液体の供給を可能とする供給弁が設けられ、供給弁をサブタンク内の負圧と無関係に開かせる供給弁駆動手段を有し、供給弁駆動手段は液体給送手段で駆動制御される構成としているので、記録ヘッドへの大流量供給が可能で適正な負圧を安定して維持すると共に、簡単な構成でヘッドの気泡排出性を確保して、信頼性の高い画像形成装置を得ることができる。
また、上記実施形態のように、供給弁駆動手段112は液体給送手段(加圧ポンプ78)の給送圧力が所定の値よりも大きいとき駆動されて供給弁105を開かせることで、簡易なシステムで加圧回復を行うことができて、吐出信頼性が向上する。
また、液体給送手段として加圧ポンプ78を使用して空気圧でインク袋を加圧してインクを送液する構成とすることで、インクの供給圧制御を高速に行うことができる。また、空気圧を直接供給弁の開閉駆動源に用いれば、応答性の良い制御を行うことができる。
また、サブタンク30は、少なくとも一部に第1の可撓性部材(フィルム部材107)と、第1の可撓性部材をサブタンクの容積を拡大する方向に付勢する第1のばね部材(ばね108)とを有し、供給弁駆動手段112は、第1の可撓性部材に対して接離して、可撓性部材を押圧することで供給弁(負圧開放弁105)を開かせる構成とすることで、安定した負圧を形成できると共に、加圧による供給弁の開閉を容易に行うことができる。
この場合、供給弁駆動手段112は少なくとも一部に弾性部材(弾性膜115)からなる壁面を有する密閉空間(圧力室116)を有し、密閉空間が液体給送手段(加圧ポンプ78)に連通している構成とすることで、密閉空間へのインクの出し入れにより容易に供給弁を開閉することができる。
次に、本発明の第2実施形態におけるインク供給システムについて図15及び図16をも参照して説明する。なお、図15は同供給システムの説明に供する説明図、図16は同じくその作用説明に供する説明図である。
このインク供給システムは、前述した第1実施形態構成とインク送液圧の制御方式が異なっている。つまり、前記第1実施形態のシステムではインクカートリッジ40のインク袋40aを空気圧で加圧する方式としていたが、この実施形態のシステムでは、インク袋40aとチョーク弁91をつなぐインク供給チューブ42の中間に加圧ポンプ(送液ポンプ)178を設け、加圧ポンプ178を駆動することでサブタンク30にインクを送液して、インク供給チューブ42のインクを加圧する構成としている。
供給弁駆動部材112には圧力センサ113が設けられており、この圧力センサ113の検出結果に基づいて、通常印字時は圧力室116の圧力を15kPa程度とし、弾性膜115によって負圧連動弁105が開かない状態で加圧室102を加圧するように加圧ポンプ78を制御する。
記録ヘッド10の初期充填時や加圧回復時には加圧ポンプ178で供給弁駆動部材112に送液し、圧力室116内の圧力が40kPaとなるようにする。これにより、図16に示すように、圧力室116が膨張し、弾性膜115が膨出してフィルム部材107を介して負圧連動弁105を押すことで、負圧連動弁105を強制的に開くことができる。なお、本実施形態での加圧ポンプ178としては、チュービングポンプなど双方向に送液できる方式のものが好適である。
本実施形態によっても先の第1実施形態と同様に、チョーク弁を用いた初期充填や、自動的な負圧制御、加圧によるリフィルアシスト、加圧回復などの機能を達成することができる。
次に、本発明の第3実施形態におけるインク供給システムについて図17をも参照して説明する。なお、図17は同供給システムの説明に供する説明図である。
この実施形態におけるインク供給システムのサブタンク30は、負圧を発生するための主要構成であるフィルム部材107、ばね108、負圧連動弁105、加圧室102は前記第1実施形態で説明したものと同じであるので説明を省略する。
ここで、サブタンク30は、その上部に排気部130が設けられ、インク室101と排気部130との間の連通路を開閉する大気開放弁131が備えられ、この大気開放弁131はばね132で閉じる方向に付勢されている。排気部130には、必要に応じて高発泡樹脂や多孔質樹脂フィルム、発泡金属、金属メッシュ、多孔質セラミクスのような多孔質体を設けても良い。大気開放弁131は常閉の弁で、通常は、インク室101は密閉状態が保たれている。サブタンク30に大気と開閉自在な大気弁(大気開放弁131)を有することで、液体供給経路内の空気を容易に排出することができる。
そして、サブタンク30の外側にはフィルム部材107と対向する位置に、負圧連動弁105を強制的に開かせる供給弁駆動部材112と、大気開放弁131を強制的に開かせることが可能な大気弁駆動部材119が備えられている。
この供給弁駆動部材112は、前記第1実施形態の供給弁駆動部材112と同様な構成であり、ケーシング114aと弾性部材である弾性膜115aによってインクを収容可能な圧力室116aが形成され、圧力室116aが膨張、収縮することで弾性膜115aがサブタンク30のフィルム部材107に対して膨出、退出して、弾性膜115aがフィルム部材107に接離し、弾性膜115aが膨出してサブタンク30のフィルム部材107を押圧することで、供給弁105をサブタンク30内の負圧と無関係に開かせることができる。
大気弁駆動部材119も、前記第1実施形態の供給弁駆動部材112と同様な構成であり、ケーシング114bと弾性部材である弾性膜115bよってインクを収容可能な圧力室116bが形成され、圧力室116bが膨張、収縮することで弾性膜115bがサブタンク30のフィルム部材107に対して膨出、退出して、弾性膜115bがフィルム部材107に接離し、弾性膜115bが膨出してサブタンク30のフィルム部材107を押圧することで、大気開放弁131を開かせることができる。
そして、供給弁駆動部材112及び大気弁駆動部材119の圧力室116a、116bは、空気チューブ121とカートリッジホルダ41を介してインクカートリッジ40の空気層40cに連通している。
このインクカートリッジ40の空気層40cはエアー供給チューブ70を介して加圧ポンプ78が接続されており、加圧ポンプ78の駆動によって圧力室116a、116bを膨張、収縮させることが可能な構成としている。
この実施形態では、弾性膜115aと弾性膜115bはどちらも伸縮性に富むシリコーンゴムで構成しているが、大気弁駆動部材119を構成する弾性膜115bの厚さを、供給弁駆動部材112を構成する弾性膜115aの厚さよりも厚くしている。
次に、この実施形態における記録ヘッド10へのインク初期充填について、図18ないし図23をも参照して説明する。
まず、インク初期充填前の状態では、図18に示すように、サブタンク30のインク室101は大気圧であるので、負圧連動弁105はばね106の作用で閉じた状態である。
ここで、加圧ポンプ78を駆動し、インクカートリッジの40のインク袋40aを加圧する(例えば50kPa)と、大気弁駆動部材119と供給弁駆動部材112に空気が送られ、どちらの部材119、112も図19に示すように圧力室116b、116bが膨張して弾性膜115b、115aが膨出する。
その結果、大気弁駆動部材119が大気開放弁131を開き、供給弁駆動部材112が負圧連動弁105を開くので、加圧されたインク袋40a内のインクがインク室101内の空気をサブタンク30上部の排気部130から排気しながら、サブタンク30内に送られる。インク室101の底部にはフィルタ109があり、フィルタ109の微細メッシュのメニスカス保持力でフィルタ109をインクが通過しないので、インク室101内のインク水位が上昇する。
そして、図20に示すようにインク室101上部の空気量検知センサ103がインク液面を検知した時点で、加圧ポンプ78の加圧力を減少させる。加圧力を適切に設定する(例えば40kPa)ことで、図21に示すように、比較的厚い弾性膜115bを有し自己収縮力が大きい大気弁駆動部材119のみ、大気開放弁131から離間させて閉弁状態とし、比較的薄い弾性膜115aを有し自己収縮力が小さい供給弁駆動部材112は負圧連動弁105を開いた状態を維持させることができる。
この状態にすることで、インク室101内は加圧ポンプ78で加圧されるので、フィルタ109のメニスカスを破ってインクが記録ヘッド10に充填される。記録ヘッド10にインク充填された後に、加圧ポンプ78を停止させる。すると、圧力室116a、116bの圧力が低下するので、弾性膜115aと弾性膜115bは各々の復元力によって自然な状態に戻り、供給弁駆動部材112による負圧連動弁105の押圧は解除される。
その結果、図22に示すように、負圧連動弁105が閉じてインク室101へのインクの流入は停止する。それと同時に、ばね108がインク室101の容積を拡大する方向にフィルム部材107を押すので、インク室101内に負圧が形成され、印字動作ができる状態となる。
本実施形態においては、前述のインク供給システムと同様に負圧連動弁105と加圧ポンプ78を備えているので、印字中に加圧ポンプ78を駆動しサブタンク30の加圧室102を適圧(例えば15kPa)に保持することによって、黒ベタ画像を高速に印字するなど大流量のインク供給が必要な場合であってもリフィル不足を生じることなく安定に画像形成することができる。
また、印字時の加圧により、大気弁駆動部材119と供給弁駆動部材112の圧力室116b、116aは膨張するが、図23に示すように、大気弁駆動部材119、供給弁駆動部材112とサブタンク30の間隔を適切に設定することで、印字時の圧力では弁105、131を閉じた状態で保持する。
本実施形態では、インクカートリッジ40内のインクを加圧する加圧ポンプ78を制御し、少なくともインクの圧力を3段階に加圧するようにしている。最も低い圧力(例えば15kPa)は、印字のリフィルアシスト圧であり、この圧力では大気弁駆動部材119、供給弁駆動部材112は強制的には開放しない。次に大きい圧力(例えば40kPa)では、図21に示すように、供給弁駆動部材112によって負圧連動弁105のみ強制的に開放し、記録ヘッド10の加圧回復を達成する。一番大きい圧力(例えば50kPa)では、大気弁駆動部材119によって大気開放弁131も強制的に開放するので、インク室101内の空気を排気部130から容易に排出することができる。
なお、本実施形態では、記録ヘッド10の加圧回復を可能としているが、前述の第2実施形態と同様に吸引回復を併用しても良い。また、本実施形態では、空気圧を直接用いて大気弁駆動部材119、供給弁駆動部材112を制御するので、液体を用いる場合に比べてより応答性の良いシステムとすることができる。
また、本実施形態のようにサブタンク30は、少なくとも一部に第1の可撓性部材(フィルム部材107)と、第1の可撓性部材をサブタンクの容積を拡大する方向に付勢する第1のばね部材(ばね108)とを有し、大気弁駆動手段119は、第1の可撓性部材に対して接離して、第1の可撓性部材を押圧することで大気弁(大気開放弁131)を開かせる構成とすることで、一時的にインク室101内を大気に連通させ安定した負圧にリセットすることができるとともに、加圧による大気弁の開閉により液体供給経路内の空気を容易に排出することができる。
また、大気弁(大気開放弁131)を開閉する大気弁駆動手段119を有し、大気弁駆動手段119は液体給送手段(加圧ポンプ78)によって駆動制御されることで、記録ヘッドへの送液圧のみで大気弁を開閉できるので、簡易なシステムで液体供給経路内の空気を容易に排出することができる。
また、大気弁駆動手段119は少なくとも一部に弾性部材(弾性膜115b)からなる壁面を有する密閉空間(圧力室116b)を有し、密閉空間が液体給送手段に連通している構成とすることで、密閉空間へのインクの出し入れにより容易に大気弁を開閉することができる。
次に、本発明の第4実施形態におけるインク供給システムについて図24及び図25を参照して説明する。なお、図24は同供給システムの説明に供する説明図、図25は同じくその作用説明に供する説明図である。
本実施形態のシステムは、前記第3実施形態のシステムと大気弁駆動部材119、供給弁駆動部材112の構成のみ異なる。第3実施形態のシステムにおいては、厚みの異なる弾性膜115aと弾性膜115bを用いて膨張、収縮可能な圧力室116a、116bを形成し、同じ圧力での変形量に差を持たせ、低圧条件(給送圧力が所定の値以下)では負圧連動弁105のみ強制開放可能なシステムとしている。
これに対し、本実施形態の供給弁駆動部材112では、サブタンク30に対面する側を第2の可撓性部材であるフィルム部材155で形成し、このフィルム部材155を圧力室116aの容積を小さくする方向に付勢する第2のばね部材である引っ張りばね118aを設けている。同様に、大気弁駆動部材119では、サブタンク30に対面する側を第3の可撓性部材であるフィルム部材155で形成し、このフィルム部材155を圧力室116bの容積を小さくする方向に付勢する第3のばね部材である引っ張りばね118bを設けている。
そして、大気弁駆動部材119の引張りばね118aのばね定数を供給弁駆動部材112の引っ張りばね118bのばね定数よりも大きくしている。
したがって、供給弁駆動部材112の圧力室116a及び大気弁駆動部材119の圧力室116bに対して圧力を適正に印加することにより、図25に示すように、大気弁駆動部材119よりも供給弁駆動部材112が大きく変形して、大気開放弁131は閉じたまま、負圧連動弁105を強制開放することができる。本システムでは、引っ張りばねを用いているので大気弁駆動部材119、供給弁駆動部材112の作動圧をより自在に設定することができる。
このように、供給弁駆動手段112は少なくとも一部に第2の可撓性部材(フィルム部材155)からなる壁面を有する密閉空間(圧力室116a)と、第2の可撓性部材を密閉空間の容積を縮小する方向に付勢する第2のばね部材(ばね118a)を有し、密閉空間が液体給送手段(加圧ポンプ78)に連通している構成とすることで、所望の作動圧を容易に得ることができる。
また、大気弁駆動部材119は少なくとも一部に第3の可撓性部材(フィルム部材155)と、第3の可撓性部材を密閉空間(圧力室116b)の容積を縮小する方向に付勢する第3のばね部材(ばね118b)とを有する構成とすることで、所望の作動圧を容易に得ることができる。
次に、本発明の第5実施形態におけるインク供給システムについて図26及び図27を参照して説明する。なお、図26は同供給システムの説明に供する説明図、図27は同じくその作用説明に供する説明図である。
本実施形態のシステムは、前記第3実施形態のシステムと大気弁駆動部材119、供給弁駆動部材112の構成及び、配置が異なっている。前記第3実施形態のシステムにおいては、厚みの異なる弾性膜115aと弾性膜115bを用いて膨張、収縮特性を異ならせ、低圧条件では負圧連動弁105のみ強制開放可能なシステムとしている。
これに対し、本実施形態のシステムにおいては、弾性膜115は同じものとしており、圧力室116a、116bの変形特性は同一であるが、大気弁駆動部材119、供給弁駆動部材112とサブタンク30の間隔を異ならせている。具体的には大気弁駆動部材119を供給弁駆動部材112よりもサブタンク30から離して配置している。
これにより、加圧ポンプ78を駆動した場合の膨張量は大気弁駆動部材119と供給弁駆動部材112で差はないが、図27に示すように負圧連動弁105のみ強制開放することができる。本システムでは、大気弁駆動部材119、供給弁駆動部材112を共通部品とすることができるので、低コストのシステムとすることができる。
以上説明したように、本発明によるインク供給システムにおいては、負圧連動弁と加圧ポンプを利用してインクの大流量供給を実現しつつ、同一のポンプを流用する簡易な構成で負圧連動弁を強制開放して記録ヘッドの加圧回復を可能にすることができる。また、ヘッドタンクに大気開放弁を更に設ければ、前述の同一のポンプを更に流用してヘッドタンク内の空気を容易に排出することができる。
なお、上記各実施形態として、負圧連動弁や大気開放弁がサブタンクに備えられるもので説明したが、これらの弁はサブタンクに限定されるものではなく、インク供給経路の途中のいずれの場所にも設けることができる。また、本発明はインクを吐出する画像形成装置に限定されるものではなく、様々な液体を吐出する液滴吐出装置に適用することができる。
本発明に係る画像形成装置としてのインクジェット記録装置の一例を示す概略正面説明図である。 同じく概略平面説明図である。 同じく概略側面説明図である。 同装置の記録ヘッドの説明に供する要部拡大説明図である。 同装置のサブタンクの一例を示す正面説明図である。 図5のA−A線に沿うヘッドタンクの断面説明図である。 同じくその作用説明に供する断面説明図である。 本発明の第1実施形態におけるインク供給システムの説明に供する説明図である。 同じく同システムの異なる状態を説明する説明図である。 同システムのカートリッジホルダ部分の説明図である。 同システムの接続部材部分の説明図である。 同じくその初期充填時の作用説明に供する説明図である。 同じくその初期充填時の作用説明に供する説明図である。 同じくその初期充填時の作用説明に供する説明図である。 本発明の第2実施形態におけるインク供給システムの説明に供する説明図である。 同じくその作用説明に供する説明図である。 本発明の第3実施形態におけるインク供給システムの説明に供する説明図である。 同じくその初期充填時の作用説明に供する説明図である。 同じくその初期充填時の作用説明に供する説明図である。 同じくその初期充填時の作用説明に供する説明図である。 同じくその初期充填時の作用説明に供する説明図である。 同じくその初期充填時の作用説明に供する説明図である。 同じくその初期充填時の作用説明に供する説明図である。 本発明の第4実施形態におけるインク供給システムの説明に供する説明図である。 同じくその作用説明に供する説明図である。 本発明の第5実施形態におけるインク供給システムの説明に供する説明図である。 同じくその作用説明に供する説明図である。
符号の説明
4…キャリッジ
10…記録ヘッド
30…サブタンク
40…インクカートリッジ(メインタンク)
42…インク供給チューブ
78…加圧ポンプ
101…インク室
102…加圧室
105…負圧開放弁(供給弁)
107…フィルム部材(第1の可撓性部材)
108…ばね(第1のばね部材)
112…供給弁駆動部材(手段)
115、115a、115b…弾性膜(弾性部材)
116、116a、116b…圧力室
155…フィルム部材(第2、第3の可撓性部材)

Claims (11)

  1. 液滴を吐出する記録ヘッドと、
    前記記録ヘッドに供給するインクを貯留するサブタンクと、
    前記サブタンクに液体を供給するメインタンクと、
    前記メインタンクから前記サブタンクに前記液体を給送する液体給送手段と、を備え、
    前記サブタンクにはこのサブタンク内の負圧が所定の値以上のときに開き、前記サブタンク内への液体の供給を可能とする供給弁が設けられ、
    前記供給弁を前記サブタンク内の負圧と無関係に開かせる供給弁駆動手段を有し、
    前記供給弁駆動手段は前記液体給送手段で駆動制御される
    ことを特徴とする画像形成装置。
  2. 請求項1に記載の画像形成装置において、前記供給弁駆動手段は前記液体給送手段の給送圧力が所定の値よりも大きいとき駆動されて前記供給弁を開かせることを特徴とする画像形成装置。
  3. 請求項1又は2に記載の画像形成装置において、前記液体給送手段は、空気圧によって前記メインタンク内の液体を加圧して前記液体を給送することを特徴とする画像形成装置。
  4. 請求項1ないし3のいずれかに記載の画像形成装置において、前記サブタンクには大気と開閉自在な大気弁を有することを特徴とする画像形成装置。
  5. 請求項1ないし4のいずれかに記載の画像形成装置において、
    前記サブタンクは、少なくとも一部に第1の可撓性部材と、前記第1の可撓性部材をサブタンクの容積を拡大する方向に付勢する第1のばね部材とを有し、
    前記供給弁駆動手段は、前記第1の可撓性部材に対して接離して、前記第1の可撓性部材を押圧することで前記供給弁を開かせる
    ことを特徴とする画像形成装置。
  6. 請求項5に記載の画像形成装置において、前記供給弁駆動手段は少なくとも一部に弾性部材からなる壁面を有する密閉空間を有し、前記密閉空間が前記液体給送手段に連通していることを特徴とする画像形成装置。
  7. 請求項5に記載の画像形成装置において、前記供給弁駆動手段は少なくとも一部に第2の可撓性部材からなる壁面を有する密閉空間と、前記第2の可撓性部材を前記密閉空間の容積を縮小する方向に付勢する第2のばね部材を有し、前記密閉空間が前記液体給送手段に連通していることを特徴とする画像形成装置。
  8. 請求項4に記載の画像形成装置において、
    前記サブタンクは、少なくとも一部に第1の可撓性部材と、前記第1の可撓性部材をサブタンクの容積を拡大する方向に付勢する第1のばね部材とを有し、
    前記大気弁は、前記第1の可撓性部材に押圧されることで開く
    ことを特徴とする画像形成装置。
  9. 請求項4又は8に記載の画像形成装置において、前記大気弁を開閉する大気弁駆動手段を有し、前記大気弁駆動手段は前記液体給送手段によって駆動制御されることを特徴とする画像形成装置。
  10. 請求項9に記載の画像形成装置において、前記大気弁駆動手段は少なくとも一部に弾性部材からなる壁面を有する密閉空間を有し、前記密閉空間が前記液体給送手段に連通していることを特徴とする画像形成装置。
  11. 請求項9に記載の画像形成装置において、前記大気弁駆動部材は少なくとも一部に第3の可撓性部材と、前記第3の可撓性部材を前記密閉空間の容積を縮小する方向に付勢する第3のばね部材とを有することを特徴とする画像形成装置。
JP2008173353A 2008-07-02 2008-07-02 画像形成装置 Expired - Fee Related JP5073596B2 (ja)

Priority Applications (1)

Application Number Priority Date Filing Date Title
JP2008173353A JP5073596B2 (ja) 2008-07-02 2008-07-02 画像形成装置

Applications Claiming Priority (1)

Application Number Priority Date Filing Date Title
JP2008173353A JP5073596B2 (ja) 2008-07-02 2008-07-02 画像形成装置

Publications (2)

Publication Number Publication Date
JP2010012657A true JP2010012657A (ja) 2010-01-21
JP5073596B2 JP5073596B2 (ja) 2012-11-14

Family

ID=41699246

Family Applications (1)

Application Number Title Priority Date Filing Date
JP2008173353A Expired - Fee Related JP5073596B2 (ja) 2008-07-02 2008-07-02 画像形成装置

Country Status (1)

Country Link
JP (1) JP5073596B2 (ja)

Cited By (8)

* Cited by examiner, † Cited by third party
Publication number Priority date Publication date Assignee Title
CN102555476A (zh) * 2010-11-19 2012-07-11 精工爱普生株式会社 液体供给阀单元及液体喷射装置
JP2012162052A (ja) * 2011-02-09 2012-08-30 Seiko Epson Corp 液体噴射装置
US8657421B2 (en) 2010-08-03 2014-02-25 Ricoh Company, Ltd. Image forming apparatus including recording head for ejecting liquid droplets
JP2014108522A (ja) * 2012-11-30 2014-06-12 Brother Ind Ltd 液体吐出装置、ヘッドケース及びヘッドユニット
US8939558B2 (en) 2012-01-23 2015-01-27 Ricoh Company, Ltd. Image forming apparatus including liquid ejection head
JP2015112796A (ja) * 2013-12-11 2015-06-22 株式会社リコー 画像形成装置
CN111070895A (zh) * 2018-10-22 2020-04-28 精工爱普生株式会社 液体喷出装置以及其维护方法
US11813875B2 (en) 2020-06-22 2023-11-14 Seiko Epson Corporation Liquid ejecting system and liquid storage mechanism

Citations (1)

* Cited by examiner, † Cited by third party
Publication number Priority date Publication date Assignee Title
JP2003089217A (ja) * 2001-09-18 2003-03-25 Ricoh Co Ltd インク供給装置及びインクジェット記録装置

Patent Citations (1)

* Cited by examiner, † Cited by third party
Publication number Priority date Publication date Assignee Title
JP2003089217A (ja) * 2001-09-18 2003-03-25 Ricoh Co Ltd インク供給装置及びインクジェット記録装置

Cited By (9)

* Cited by examiner, † Cited by third party
Publication number Priority date Publication date Assignee Title
US8657421B2 (en) 2010-08-03 2014-02-25 Ricoh Company, Ltd. Image forming apparatus including recording head for ejecting liquid droplets
CN102555476A (zh) * 2010-11-19 2012-07-11 精工爱普生株式会社 液体供给阀单元及液体喷射装置
JP2012162052A (ja) * 2011-02-09 2012-08-30 Seiko Epson Corp 液体噴射装置
US8939558B2 (en) 2012-01-23 2015-01-27 Ricoh Company, Ltd. Image forming apparatus including liquid ejection head
JP2014108522A (ja) * 2012-11-30 2014-06-12 Brother Ind Ltd 液体吐出装置、ヘッドケース及びヘッドユニット
JP2015112796A (ja) * 2013-12-11 2015-06-22 株式会社リコー 画像形成装置
CN111070895A (zh) * 2018-10-22 2020-04-28 精工爱普生株式会社 液体喷出装置以及其维护方法
CN111070895B (zh) * 2018-10-22 2022-08-02 精工爱普生株式会社 液体喷出装置以及其维护方法
US11813875B2 (en) 2020-06-22 2023-11-14 Seiko Epson Corporation Liquid ejecting system and liquid storage mechanism

Also Published As

Publication number Publication date
JP5073596B2 (ja) 2012-11-14

Similar Documents

Publication Publication Date Title
JP5163286B2 (ja) 液体吐出装置及び画像投射装置
JP6019954B2 (ja) 画像形成装置
US8454136B2 (en) Ink cartridge and image forming apparatus employing the ink cartridge
JP5073596B2 (ja) 画像形成装置
JP5015200B2 (ja) 画像形成装置
JP4841349B2 (ja) 液体吐出ヘッドユニット、画像形成装置
JP5381296B2 (ja) インクカートリッジ及び画像形成装置
JP6743452B2 (ja) 液体吐出装置
JP5168031B2 (ja) 液体吐出装置及びこれを備えた画像形成装置
US8662634B2 (en) Image forming apparatus including liquid ejection head for ejecting liquid droplets
JP2005103856A (ja) 液体供給システム、流体連通構造、インク供給システムおよび前記流体連通構造を用いるインクジェット記録ヘッド
JP6255964B2 (ja) 画像形成装置
US8573759B2 (en) Droplet discharging apparatus, image forming apparatus, and bubble separating method
JP5488314B2 (ja) 画像形成装置
JP5516258B2 (ja) 画像形成装置
JP5764991B2 (ja) 画像形成装置
JP5212192B2 (ja) 画像形成装置
JP2011046109A (ja) インクジェット記録装置の空気排出方法
JP5176437B2 (ja) 液体吐出ヘッド及び画像形成装置
EP1726439B1 (en) Ink jet recording apparatus and control method thereof
JP5246599B2 (ja) 画像形成装置
JP2013173255A (ja) 液体吐出装置及び画像形成装置
JP6405773B2 (ja) ヘッドユニット及び画像形成装置
JP3901202B2 (ja) インクジェット記録装置
JP2005081744A (ja) 画像形成装置

Legal Events

Date Code Title Description
A621 Written request for application examination

Free format text: JAPANESE INTERMEDIATE CODE: A621

Effective date: 20110324

A977 Report on retrieval

Free format text: JAPANESE INTERMEDIATE CODE: A971007

Effective date: 20120626

A131 Notification of reasons for refusal

Free format text: JAPANESE INTERMEDIATE CODE: A131

Effective date: 20120703

A521 Written amendment

Free format text: JAPANESE INTERMEDIATE CODE: A523

Effective date: 20120727

TRDD Decision of grant or rejection written
A01 Written decision to grant a patent or to grant a registration (utility model)

Free format text: JAPANESE INTERMEDIATE CODE: A01

Effective date: 20120814

A01 Written decision to grant a patent or to grant a registration (utility model)

Free format text: JAPANESE INTERMEDIATE CODE: A01

A61 First payment of annual fees (during grant procedure)

Free format text: JAPANESE INTERMEDIATE CODE: A61

Effective date: 20120822

R150 Certificate of patent or registration of utility model

Ref document number: 5073596

Country of ref document: JP

Free format text: JAPANESE INTERMEDIATE CODE: R150

Free format text: JAPANESE INTERMEDIATE CODE: R150

FPAY Renewal fee payment (event date is renewal date of database)

Free format text: PAYMENT UNTIL: 20150831

Year of fee payment: 3

LAPS Cancellation because of no payment of annual fees