JP2010012178A - 内視鏡用磁気アンカー誘導装置 - Google Patents

内視鏡用磁気アンカー誘導装置 Download PDF

Info

Publication number
JP2010012178A
JP2010012178A JP2008177264A JP2008177264A JP2010012178A JP 2010012178 A JP2010012178 A JP 2010012178A JP 2008177264 A JP2008177264 A JP 2008177264A JP 2008177264 A JP2008177264 A JP 2008177264A JP 2010012178 A JP2010012178 A JP 2010012178A
Authority
JP
Japan
Prior art keywords
magnetic
magnetic anchor
endoscope
anchor
magnetic force
Prior art date
Legal status (The legal status is an assumption and is not a legal conclusion. Google has not performed a legal analysis and makes no representation as to the accuracy of the status listed.)
Granted
Application number
JP2008177264A
Other languages
English (en)
Other versions
JP5224279B2 (ja
Inventor
Hisamitsu Kobayashi
寿光 小林
Naoyuki Naito
直幸 内藤
Kunitoshi Ikeda
邦利 池田
Akiyoshi Matsubara
晃義 松原
Current Assignee (The listed assignees may be inaccurate. Google has not performed a legal analysis and makes no representation or warranty as to the accuracy of the list.)
Hoya Corp
National Cancer Center Japan
Original Assignee
Hoya Corp
National Cancer Center Japan
Priority date (The priority date is an assumption and is not a legal conclusion. Google has not performed a legal analysis and makes no representation as to the accuracy of the date listed.)
Filing date
Publication date
Application filed by Hoya Corp, National Cancer Center Japan filed Critical Hoya Corp
Priority to JP2008177264A priority Critical patent/JP5224279B2/ja
Publication of JP2010012178A publication Critical patent/JP2010012178A/ja
Application granted granted Critical
Publication of JP5224279B2 publication Critical patent/JP5224279B2/ja
Active legal-status Critical Current
Anticipated expiration legal-status Critical

Links

Images

Landscapes

  • Surgical Instruments (AREA)
  • Endoscopes (AREA)

Abstract

【課題】小型で安価な磁力発生装置を利用した場合であっても、対象物内部の磁気アンカーに磁力を確実に及ぼすことが可能で、磁気アンカーの吸引制御が容易な内視鏡用磁気アンカー誘導装置を提供する。
【解決手段】対象物B内部の対象部位を把持する把持部材40と接続する磁性材料からなる磁気アンカー30に磁力を及ぼすことにより、磁気アンカーを対象部位に対して移動させる磁気アンカー誘導装置10Aであって、内視鏡が挿通可能なオーバーチューブ11と、オーバチューブに設けた磁気アンカーを吸引する磁力を発生する磁力発生装置12と、を備える。
【選択図】図16

Description

本発明は、内視鏡観察下で病変部を切除する際に、病変部を把持した把持部材と接続する磁気アンカーを病変部に対して移動させるための内視鏡用磁気アンカー誘導装置に関する。
本出願人は、ベッドに載った患者の体内の対象部位(例えば胃などの臓器)の患部を把持した把持部材に磁性材料からなる磁気アンカーを接続し、患者の体外に配設した磁力発生装置から磁気アンカーに磁力を及ぼすことにより磁気アンカーを移動させる磁気アンカー遠隔誘導システムを提案している(特許文献1)。
磁気アンカーが患部に対して移動すると把持部材によって把持されている患部が磁気アンカー側に持ち上げられるので、処置具によって患部を簡単に切除可能になる。
特開2004−105247号公報
しかし、特許文献1では磁力発生装置を体外に配置しているため、磁力発生装置から体内の磁気アンカーまでの距離が長い。そのため、磁力発生装置が大きな磁力を発生可能なものでないと、磁力発生装置で発生した磁力が磁気アンカーに及ばなくなってしまう。
しかし、大きな磁力を発生可能とするためには磁力発生装置を大型化する必要があるので、磁力発生装置の製造コストが高くなってしまう。
さらに、磁気アンカーの吸引方向を変えるためには、患者の体位を変えたり、ベッドを移動させたりする必要があるので、術者や患者の負担が大きかった。
本発明は、小型で安価な磁力発生装置を利用した場合であっても、対象物内部の磁気アンカーに磁力を確実に及ぼすことが可能で、磁気アンカーの吸引制御が容易な内視鏡用磁気アンカー誘導装置を提供することを目的とする。
本発明の内視鏡用磁気アンカー誘導装置は、対象物内部の対象部位を把持する把持部材と接続する磁性材料からなる磁気アンカーに磁力を及ぼすことにより、該磁気アンカーを上記対象部位に対して移動させる磁気アンカー誘導装置であって、内視鏡の挿入部が挿通可能なオーバーチューブと、該オーバチューブに設けた、上記磁気アンカーを吸引する磁力を発生する磁力発生装置と、を備えることを特徴としている。
上記磁力発生装置を上記オーバーチューブに固定してもよい。
本発明の内視鏡用磁気アンカー誘導装置は、別の態様によると、対象物内部の対象部位を把持する把持部材と接続する磁性材料からなる磁気アンカーに磁力を及ぼすことにより、該磁気アンカーを上記対象部位に対して移動させる磁気アンカー誘導装置であって、内視鏡と、該内視鏡の挿入部に設けた、上記磁気アンカーを吸引する磁力を発生する磁力発生装置と、を備えることを特徴としている。
この態様では、上記磁力発生装置を上記挿入部に固定してもよい。
いずれの態様でも、上記磁力発生装置として永久磁石と電磁石のいずれも利用可能であり、永久磁石と電磁石を複数備えていてもよい。
オーバーチューブ(請求項1)または内視鏡の挿入部(請求項3)を対象物内部に位置させると磁力発生装置が磁気アンカーに接近する。このように磁力発生装置と磁気アンカーの距離が短ければ、磁力発生装置が発生する磁力が弱くても当該磁力は磁気アンカーに確実に及ぶ。そのため、本発明の内視鏡用磁気アンカー誘導装置は小型で安価な磁力発生装置を利用可能である。
また、磁力発生装置と磁気アンカーの距離が近くなるので、体外に配置した大型の磁力発生装置を用いる場合に比べて磁気アンカーの吸引制御が容易である。
さらに、磁気アンカーを磁力発生装置に吸着させた場合は、磁気アンカーの移動制御をより正確に行うことができる。
以下、本発明の一実施形態を、図1から図16を参照しながら詳しく説明する。
図1及び図2には磁気アンカー誘導装置10Aが示してある。磁気アンカー誘導装置10Aは、ゴム等の弾性材料からなりかつ筒状をなすオーバーチューブ11の先端部に、両端が開口する筒状をなす永久磁石12を固定したものである。図2に示すように、オーバーチューブ11の内周面の先端部には金属製の筒状部材である連結部材13が嵌合固定してあり、連結部材13の外周面におけるオーバーチューブ11の先端から突出した部分に永久磁石12を嵌合固定している。図示するように、永久磁石12の両端部の周縁部は面取りしてある。
図3は磁気アンカー誘導装置10Aの内部を挿通可能な内視鏡20を示している。
内視鏡20は、術者が把持する操作部21と、操作部21から延びる挿入部22と、操作部21から挿入部22と反対側に向かって延び、端部にプロセッサ(光源装置兼画像処理装置。図示略)に接続するためのコネクタ部24を有するユニバーサルチューブ23と、を具備している。図8、図9等に示すように、挿入部22の先端面25には、操作部21及び挿入部22の内部に設けた処置具挿通路26の出口開口27が設けてある。さらに先端面25には、一対の照明レンズと、直後(挿入部22の先端部内)に対物レンズと撮像素子(共に図示略)が位置する観察窓と、エア及び洗浄水を送るための送気送水孔と、が設けてある。処置具挿通路26の基端側開口部は、操作部21に突設した処置具挿通用突部28の端面に形成してあり、処置具挿通用突部28にはスリットを形成したゴムキャップ29が被せてある。
図4及び図5には、永久磁石12によって移動制御(吸引)可能な磁気アンカー30と、連結ひも(連結部材)35を介して磁気アンカー30に接続した把持装置(把持部材40、ループワイヤ49、収納筒部材50)と、が図示してある。
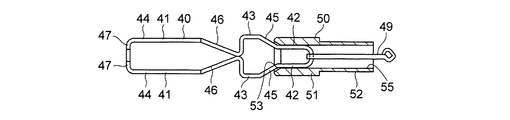
略三角錐形状をなす磁気アンカー30は強磁性体(例えば、純鉄、鉄合金のほか、プラチナマグネット、希土類磁石、テルビウム・ディスプロシウム・鉄合金などの磁石)からなるものである。磁気アンカー30の端部には、柔軟性を有しかつ全体として環状をなす連結ひも35の一部が接続(固定)してある。連結ひも35としては、例えば、手術用縫合糸、釣糸、金属製ワイヤを利用可能である。さらに、この連結ひも35には金属等の弾性材料からなる把持部材40が接続してある。
把持部材40は一対の開閉片41を具備している。一対の開閉片41は共に、略平行な基端部42と、基端部42に連なる中間部43と、中間部43に連なる先端把持部44と、を具備している。中間部43における基端部42に連なる部分は第1傾斜部45となっており、先端把持部44における中間部43に連なる部分は第2傾斜部46となっている。さらに、両先端把持部44の先端には互いに対向する把持爪47が設けてある。なお、把持部材40を3枚以上の開閉片41から構成することも可能である。
図示するように、把持部材40の一対の開閉片41の間の隙間には、全体として環状をなしかつ可撓性を有する金属製のループワイヤ49が通してある。このループワイヤ49は、所定の切断力以上の強い力で牽引したときに切断するものである。
収納筒部材50は連結ひも35、把持部材40及びループワイヤ49の一部を収納するための部材であり、両端が開口する円筒形をなしている。収納筒部材50は大径部51と小径部52を具備している。大径部51側の開口縁部はテーパ面53となっており、大径部51と小径部52に跨る部分には一本のスリット54が設けてある。さらに、収納筒部材50の内部孔55の内径はその全長にわたって一定である。この収納筒部材50は、例えばステンレスやプラスチックや超弾性合金により成形することができる。
磁気アンカー30と一体化した連結ひも35にループワイヤ49及び収納筒部材50を接続して一体化するには、まずスリット54を利用して磁気アンカー30と一体化した連結ひも35を収納筒部材50の内部に通し、テーパ面53の内側を通して収納筒部材50の外部に引き出す。そして、ループワイヤ49と一体化させた把持部材40の一対の開閉片41(把持爪47)の隙間に連結ひも35を通し、さらに収納筒部材50の小径部52側の端面開口部から紐あるいは先端にフック部を備える硬質部材からなる棒を挿入し、紐あるいはフック部を収納筒部材50のテーパ面53側の開口部から突出させる。そして最後に、この紐あるいはフック部をループワイヤ49に引っ掛け、紐あるいは棒を小径部52側の端面方向に引っ張る。すると、図4及び図5に示すように、磁気アンカー30、連結ひも35、ループワイヤ49及び収納筒部材50が一体化する。
このようにして一体化した磁気アンカー30、連結ひも35、ループワイヤ49及び収納筒部材50が図4及び図5に示す状態にあるとき、把持部材40は一対の把持爪47が互いに接触する全閉状態となる。
この状態からループワイヤ49を把持爪47と反対方向に上記切断力より小さい力で引くと、図6に示すように、把持部材40の一対の第1傾斜部45がテーパ面53に接触することにより互いに近づく方向に弾性変形し、一対の中間部43が内部孔55内に収納される。すると、一対の中間部43が内部孔55の周面に接触することにより互いに近づく方向に弾性変形するので、この動きに連動して一対の先端把持部44が開き、把持部材40は図6に示す全開状態となる。
この状態からループワイヤ49を上記切断力より小さい力でさらに引くと、図7に示すように把持部材40の一対の第2傾斜部46が収納筒部材50の内部に引き込まれる。第2傾斜部46がテーパ面53に接触することにより互いに近づく方向に弾性変形すると、図7に示すように一対の把持爪47が互いに接近するので、把持部材40は再度全閉状態となる。
図9等に示した操作装置60は、ゴムキャップ29のスリット及び内視鏡20の処置具挿通用突部28から処置具挿通路26の内部に挿入するものであり、挿入管61、挿入コイル62、規制管63及び操作ワイヤ69を具備している。
挿入管61は可撓性を有する筒状部材であり、挿入コイル62は挿入管61の内部に相対移動可能に挿入してある。規制管63は前部をなす大径部64と、後部をなしかつ挿入コイル62の先端部に嵌合固定される小径部65と、を備えている。大径部64の外径は挿入管61の内径より小さく、かつ、挿入コイル62の外径とほぼ同一に設定してある。さらに、大径部64の内径は小径部65の内径及び収納筒部材50の小径部52の外径より大きく設定してあり、大径部64の内周面と小径部65の内周面の接続部には環状段部66が形成してある。
挿入コイル62の内側には、先端にフック部材68を固定した操作ワイヤ69が相対移動可能に配設してある。さらに、挿入管61、挿入コイル62及び操作ワイヤ69の各基端部は、図示を省略した基端側操作部によって互いに軸方向に相対移動可能として結合してある。
次に、患者の病変部Xの切除要領について説明する。
まず、局所麻酔を施した患者をベッド上に横たわらせ、患者の口から内視鏡20の挿入部22を挿入し、挿入部22を臓器B内に位置させる(図8等を参照)。次いで、内視鏡20の処置具挿通用突部28から、先端部に注射針を具備するチューブ状の処置具(図示略)を挿入し、その注射針を挿入部22の出口開口27から突出させる。そして、注射針を病変部Xの周辺から臓器壁の粘膜下層に挿入して生理食塩水を注入し、病変部Xを固有筋層から浮き上がらせておく(図8等を参照)。
次いで、内視鏡20を患者の体外に引き出し、磁気アンカー誘導装置10Aの内部に内視鏡20の挿入部22を挿入し、挿入部22の手元側に磁気アンカー誘導装置10Aを装着する。さらに、内視鏡20に対して、一体化した磁気アンカー30、把持部材40、ループワイヤ49及び収納筒部材50を次の手順で取り付ける。
まず、図9に示すように、内視鏡20の処置具挿通路26に操作装置60を挿通し、挿入管61の先端部を挿入部22の出口開口27から外部に僅かに突出させ、さらに規制管63の先端部を挿入管61の先端部から僅かに突出させる。次いで、上記基端側操作部を操作することにより操作ワイヤ69の先端部に固着したフック部材68を規制管63の前方に突出させる。
次いで、フック部材68の直前にループワイヤ49を位置させ、フック部材68をループワイヤ49に引っ掛ける。そして、上記基端側操作部を操作することによりフック部材68を操作ワイヤ69の基端側に引っ張る。すると把持部材40の一対の第1傾斜部45が収納筒部材50のテーパ面53に接触するので、操作ワイヤ69の牽引力が収納筒部材50に及び、収納筒部材50の小径部52が環状段部66に当接するまで大径部64の内部に引き込まれる(図10参照)。このようにして規制管63の内部に小径部52を収納しても、収納筒部材50のスリット54の前端部は規制管63の大径部64より前方に位置するので(図10等参照)、連結ひも35をスリット54の前端部から外部へ引き出すことができる。
続いて、上記基端側操作部を操作することにより挿入コイル62及び操作ワイヤ69を基端側に引くと、図11に示すように把持部材40及び収納筒部材50が挿入管61の内部に引き込まれ、かつ磁気アンカー30の端部が挿入管61の先端部に嵌合する。
そして、最後に上記基端側操作部を操作することにより挿入管61、挿入コイル62及び操作ワイヤ69を基端側に引くと、図11に示すように磁気アンカー30が処置具挿通路26の出口開口27に嵌合するので、磁気アンカー30、把持部材40、ループワイヤ49及び収納筒部材50からなる一体物と、操作装置60とが内視鏡20と一体になる。
次いで、挿入部22の先端部及び磁気アンカー30を臓器B内に挿入し、さらに磁気アンカー誘導装置10Aを挿入部22に対してスライドさせて臓器B内に位置させる。そして、図12に示すように挿入部22の先端部を臓器Bに接近させた後に操作装置60を先端側方向に移動させて、磁気アンカー30、連結ひも35、把持部材40、ループワイヤ49、及び収納筒部材50を内視鏡20から離間させる。さらに、挿入コイル62と操作ワイヤ69を操作することによって規制管63と共に収納筒部材50を挿入管61に対して先端側に相対移動させると、この動作にともなって把持部材40が収納筒部材50と一緒に先端側に移動するので、把持部材40の先端(把持爪47)が磁気アンカー30の端面に当接する。収納筒部材50をさらに移動させると、挿入管61の先端部に嵌合している磁気アンカー30が把持部材40(把持爪47)によって押し出され(挿入管61から外れ)、かつ収納筒部材50が挿入管61の先端から突出する(図12参照)。挿入管61から外れた磁気アンカー30には永久磁石12の磁力が及ぶので、図12に示すように磁気アンカー30は永久磁石12側に吸引される。
次いで、(上記切断力より小さい力で)操作ワイヤ69を基端側に引っ張ると、ループワイヤ49及び把持部材40が収納筒部材50に対して操作ワイヤ69の基端側に相対移動するので、図6に示すように把持部材40の一対の開閉片41が全開状態になる。
次いで、挿入コイル62、規制管63及び操作ワイヤ69を一体的に移動させることにより把持部材40を病変部Xに近づけて、把持部材40の把持爪47が所望の位置に来たところで操作ワイヤ69を(上記切断力より小さい力で)挿入コイル62及び規制管63に対して相対的に基端側に移動させる。すると、図7及び図13に示すように把持部材40が全閉状態となるので、把持部材40の一対の把持爪47が病変部Xの近傍を把持する(図13参照)。
この状態で、操作ワイヤ69を上記切断力以上の強い力で引くと、図14に示すようにループワイヤ49が切断する。そのため、内視鏡20を収納筒部材50から離れる方向に移動させると、磁気アンカー30、連結ひも35、把持部材40及び収納筒部材50からなる一体物が内視鏡20から完全に分離する(図15参照)。
すると、磁気アンカー30が永久磁石12側に吸引されることにより、図15及び図16に示すように連結ひも35全体が緊張するので、病変部Xと正常組織との境界部に切除部分が形成される。図16の仮想線に示すように、術者が磁気アンカー誘導装置10A(オーバーチューブ11)の基端部側(体外に位置している部分)を操作することにより臓器B内における永久磁石12の位置を変えると、病変部Xの周辺部分の持ち上げ方向や持ち上げ量が変化するので、最も切除が容易な状態となるまで磁気アンカー誘導装置10Aを移動させる。そして、正常組織との境界部の間に十分な大きさの切除部分が形成されたら、内視鏡20の処置具挿通路26に挿入した高周波メス70の先端部71によって病変部Xを臓器Bから切除する。
切除が終わったら、内視鏡20の処置具挿通路26に(高周波メス70の代わりに)把持鉗子(図示略)を挿入し、把持鉗子によって磁気アンカー30、連結ひも35、収納筒部材50のいずれかを把持し、把持部材40を病変部Xの近傍部分から引き離す。そして、内視鏡20を患者Aの体外に引き出すことにより、磁気アンカー30、連結ひも35、把持部材40及び収納筒部材50からなる一体物を切除した病変部Xと共に患者の体外に回収する。そして最後に、切除した部分の縫合、消毒などの処置を行う。
以上説明した本実施形態によれば、臓器B内において永久磁石12を磁気アンカー30に接近させることが可能なので、永久磁石12が発生する磁力が小さくても永久磁石12によって磁気アンカー30を正確に移動(吸引)制御できる。このように本実施形態では永久磁石12を小型化できるので、磁気アンカー誘導装置10Aは安価に製造できる。
さらに、永久磁石12と磁気アンカー30の距離を近づけることができるので、体外に配置した大型の磁力発生装置を用いる場合に比べて磁気アンカー30を正確かつ容易に移動制御可能である。
しかも、磁気アンカー30の吸引方向を変えるときに、患者の体位を変えたり、ベッドを移動させる必要がないので、患者や術者の負担は小さい。
以上、本発明について上記実施形態を利用して説明したが、本発明は様々な変更を施しながら実施可能である。
例えば、図17に示すように長めの連結ひも35を利用することにより、連結ひも35を緊張させた状態で磁気アンカー30を永久磁石12に吸着させてもよい。このようにすると、臓器B内において永久磁石12と磁気アンカー30が一緒に移動するので、磁気アンカー30をより正確に移動制御できるようになる。
さらに、図18に示すような磁気アンカー誘導装置10Bとして実施することも可能である。この磁気アンカー誘導装置10Bは、内視鏡80(基本構成は内視鏡20と同じ)の挿入部22に5つの磁力発生部81を固定状態で設けたものである。磁力発生部81を構成する挿入部22の外皮の内側には挿入部22の軸線を中心とするコイル82が設けてあり、隣り合う磁力発生部81の間(径が細い部分)は湾曲可能となっている。各コイル82は内視鏡80に内臓したリード線(図示略)に接続しており、このリード線は内視鏡80に内臓した駆動電源装置(図示略)に接続している。さらに、この駆動電源装置は上記のリード線とは別のリード線に接続しており、このリード線の駆動電源装置と反対側の端部は内視鏡80の外部に位置し、該端部には商用電源に接続可能なプラグ(図示略)が設けてある。商用電源から電力を受けるとコイル82が電磁石となるので、各磁力発生部81から発生する磁力により上記実施形態と同じ作用効果が得られる。しかも、内視鏡80に設けたスイッチ(図示略)を操作することにより、5つのコイル82をそれぞれ個別に操作(電力の供給と遮断)可能なので、永久磁石12を用いる場合に比べてより幅の広い操作が可能である。
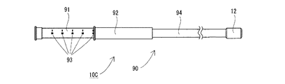
さらに、図19及び図20に示すような磁気アンカー誘導装置10Cとして実施することも可能である。
この磁気アンカー誘導装置10Cのオーバーチューブ90は、硬質材料(例えば樹脂材料)からなるベース管91と、同じく硬質材料(例えば樹脂材料)からなりベース管91の外周面にスライド自在に嵌合したスライド管92と、を備えている。ベース管91の表面には指標(目盛り)93が付してあり、かつ、ベース管91とスライド管92の間にはスライド管92がベース管91から脱落するのを防止するストッパ機構が設けてある。さらに、スライド管92の先端面には両端が開口するゴム管94の一端が固定してあり、ゴム管94の外周面の先端部には永久磁石12が固定してある。
図20に示すように、この磁気アンカー誘導装置10Cの内部に内視鏡20の挿入部22を通し、ベース管91の基端部を挿入部22の基端部(折れ止めゴム)に固定状態で嵌合すると、挿入部22の先端部が永久磁石12の先端開口部から突出する。そして、このように一体化した内視鏡20の挿入部22と磁気アンカー誘導装置10Cのゴム管94を患者の体内に挿入し、患者の体外においてスライド管92をベース管91に対してスライドさせれば、永久磁石12を所望の位置に移動させることが可能である。しかも、ベース管91に指標93を付したことにより、術者はスライド管92のベース管91に対するスライド量を把握できるので、術者は患者の体内に位置する永久磁石12を所望の位置に正確に移動させることが可能である。
また、オーバーチューブ11やゴム管94から永久磁石12を省略した上で、オーバーチューブ11やゴム管94の内部に上述したコイル、リード線、駆動電源装置等を設けたり、内視鏡の挿入部の内部に永久磁石を固定状態で埋設してもよい。
さらに、上記実施形態及び各変形例における永久磁石や電磁石(コイル)の数に制限はなく、一つでも複数でもよい。
本発明の一実施形態の磁気アンカー誘導装置の側面図である。 図1のII−II矢線に沿う断面図である。 内視鏡の全体図である。 磁気アンカーと把持装置の縦断面図である。 図4のV−V矢線に沿う把持装置の断面図である。 把持部材が全開状態にあるときの図5と同様の断面図である。 把持部材が全閉状態になったときの図5と同様の断面図である。 患者の臓器内に磁気アンカー誘導装置と内視鏡を挿入した状態を示す図である。 挿入部の先端から、挿入管、挿入コイル、及びフック部材が突出した状態を示す、内視鏡先端部の拡大縦断側面図である。 磁気アンカー及び把持装置を操作装置に接続した状態を示す拡大縦断側面図である。 磁気アンカー及び把持装置の内視鏡の挿入部への装着が完了したときの挿入部、磁気アンカー、把持装置、操作装置及び内視鏡先端部の拡大縦断側面図である。 臓器内において、磁気アンカー及び把持装置を挿入管から外部に押し出し、かつ把持部材を開いた状態を示す図11と同様の拡大縦断側面図である。 把持部材が患部を把持したときの図11と同様の拡大縦断側面図である。 ループワイヤが切断したときの図11と同様の拡大縦断側面図である。 磁気アンカー及び把持装置が内視鏡から完全に切り離されたときの臓器、磁気アンカー、及び把持装置の拡大縦断側面図である。 把持部材が臓器の内壁を把持した状態で、永久磁石の磁力によって磁気アンカーを移動させている状態を示す拡大縦断側面図である。 変形例の図16と同様の拡大縦断側面図である。 別の変形例の一部を破断して示す断面図である。 さらに別の変形例の磁気アンカー誘導装置の側面図である。 内視鏡に磁気アンカー誘導装置を装着した状態を示す側面図である。
符号の説明
10A 10B 10C 磁気アンカー誘導装置
11 オーバーチューブ
12 永久磁石(磁力発生装置)
13 連結部材
20 内視鏡
21 操作部
22 挿入部
23 ユニバーサルチューブ
24 コネクタ部
25 先端面
26 処置具挿通路
27 処置具挿通路の出口開口
28 処置具挿通用突部
29 ゴムキャップ
30 磁気アンカー
35 連結ひも(連結部材)
40 把持部材
41 開閉片
42 基端部
43 中間部
44 先端把持部
45 第1傾斜部(第1接触部)
46 第2傾斜部
47 把持爪
49 ループワイヤ
50 収納筒部材
51 大径部
52 小径部
53 テーパ面
54 スリット
55 内部孔
60 操作装置
61 挿入管
62 挿入コイル
63 規制管
64 大径部
65 小径部
66 環状段部
68 フック部材
69 操作ワイヤ(牽引部材)
70 高周波メス
71 先端部
80 内視鏡
81 磁力発生部
82 コイル(電磁石)(磁力発生装置)
90 オーバーチューブ
91 ベース管
92 スライド管
93 指標
94 ゴム管
B 臓器(対象物)
X 病変部(対象部位)

Claims (7)

  1. 対象物内部の対象部位を把持する把持部材と接続する磁性材料からなる磁気アンカーに磁力を及ぼすことにより、該磁気アンカーを上記対象部位に対して移動させる磁気アンカー誘導装置であって、
    内視鏡の挿入部が挿通可能なオーバーチューブと、
    該オーバチューブに設けた、上記磁気アンカーを吸引する磁力を発生する磁力発生装置と、
    を備えることを特徴とする内視鏡用磁気アンカー誘導装置。
  2. 請求項1記載の内視鏡用磁気アンカー誘導装置において、
    上記磁力発生装置を上記オーバーチューブに固定した内視鏡用磁気アンカー誘導装置。
  3. 対象物内部の対象部位を把持する把持部材と接続する磁性材料からなる磁気アンカーに磁力を及ぼすことにより、該磁気アンカーを上記対象部位に対して移動させる磁気アンカー誘導装置であって、
    内視鏡と、
    該内視鏡の挿入部に設けた、上記磁気アンカーを吸引する磁力を発生する磁力発生装置と、
    を備えることを特徴とする内視鏡用磁気アンカー誘導装置。
  4. 請求項3記載の内視鏡用磁気アンカー誘導装置において、
    上記磁力発生装置を上記挿入部に固定した内視鏡用磁気アンカー誘導装置。
  5. 請求項1から4のいずれか1項記載の内視鏡用磁気アンカー誘導装置において、
    上記磁力発生装置が永久磁石である内視鏡用磁気アンカー誘導装置。
  6. 請求項1から4のいずれか1項記載の内視鏡用磁気アンカー誘導装置において、
    上記磁力発生装置が電磁石である内視鏡用磁気アンカー誘導装置。
  7. 請求項5または6に記載の内視鏡用磁気アンカー誘導装置において、
    上記磁力発生装置を複数持つ内視鏡用磁気アンカー誘導装置。
JP2008177264A 2008-07-07 2008-07-07 内視鏡用磁気アンカー誘導装置 Active JP5224279B2 (ja)

Priority Applications (1)

Application Number Priority Date Filing Date Title
JP2008177264A JP5224279B2 (ja) 2008-07-07 2008-07-07 内視鏡用磁気アンカー誘導装置

Applications Claiming Priority (1)

Application Number Priority Date Filing Date Title
JP2008177264A JP5224279B2 (ja) 2008-07-07 2008-07-07 内視鏡用磁気アンカー誘導装置

Publications (2)

Publication Number Publication Date
JP2010012178A true JP2010012178A (ja) 2010-01-21
JP5224279B2 JP5224279B2 (ja) 2013-07-03

Family

ID=41698899

Family Applications (1)

Application Number Title Priority Date Filing Date
JP2008177264A Active JP5224279B2 (ja) 2008-07-07 2008-07-07 内視鏡用磁気アンカー誘導装置

Country Status (1)

Country Link
JP (1) JP5224279B2 (ja)

Cited By (2)

* Cited by examiner, † Cited by third party
Publication number Priority date Publication date Assignee Title
JP2021505219A (ja) * 2017-11-08 2021-02-18 メイヨ・ファウンデーション・フォー・メディカル・エデュケーション・アンド・リサーチ 磁気的に取り付け可能な止血クリップを使用する内視鏡的粘膜下層切除のためのシステムおよび方法
US11350946B2 (en) 2017-11-08 2022-06-07 Mayo Foundation For Medical Education And Research Systems and methods for endoscopic submucosal dissection using magnetically attachable clips

Citations (3)

* Cited by examiner, † Cited by third party
Publication number Priority date Publication date Assignee Title
JP2004105247A (ja) * 2002-09-13 2004-04-08 Pentax Corp 磁気アンカー遠隔誘導システム
JP2006263160A (ja) * 2005-03-24 2006-10-05 Olympus Medical Systems Corp 把持鉗子
JP2006280848A (ja) * 2005-04-05 2006-10-19 Olympus Medical Systems Corp 磁性体鉗子

Patent Citations (3)

* Cited by examiner, † Cited by third party
Publication number Priority date Publication date Assignee Title
JP2004105247A (ja) * 2002-09-13 2004-04-08 Pentax Corp 磁気アンカー遠隔誘導システム
JP2006263160A (ja) * 2005-03-24 2006-10-05 Olympus Medical Systems Corp 把持鉗子
JP2006280848A (ja) * 2005-04-05 2006-10-19 Olympus Medical Systems Corp 磁性体鉗子

Cited By (2)

* Cited by examiner, † Cited by third party
Publication number Priority date Publication date Assignee Title
JP2021505219A (ja) * 2017-11-08 2021-02-18 メイヨ・ファウンデーション・フォー・メディカル・エデュケーション・アンド・リサーチ 磁気的に取り付け可能な止血クリップを使用する内視鏡的粘膜下層切除のためのシステムおよび方法
US11350946B2 (en) 2017-11-08 2022-06-07 Mayo Foundation For Medical Education And Research Systems and methods for endoscopic submucosal dissection using magnetically attachable clips

Also Published As

Publication number Publication date
JP5224279B2 (ja) 2013-07-03

Similar Documents

Publication Publication Date Title
US10779809B2 (en) Method of lifting diseased part, tissue lifting system, and indwelling tool
US7169104B2 (en) Magnetic anchor remote guidance system
JP5095265B2 (ja) カテーテルおよびカテーテル付属装置を有する医療機器
JP4338440B2 (ja) 内視鏡用磁気誘導手段誘導システム
US8529435B2 (en) Magnetic scope manipulator
JP2005021576A (ja) 内視鏡用磁気アンカー遠隔誘導システム、及び磁気アンカー遠隔誘導システムを用いた内視鏡による処置方法
JP5224279B2 (ja) 内視鏡用磁気アンカー誘導装置
JP4360838B2 (ja) 内視鏡用アンカー遠隔誘導システム
JP4349850B2 (ja) 内視鏡用アンカー遠隔誘導システム
JP5106908B2 (ja) 組織の挙上システム
JP4373720B2 (ja) 内視鏡用アンカー遠隔誘導システム
JP4338437B2 (ja) 内視鏡用誘導手段遠隔誘導システム
JP4320202B2 (ja) 内視鏡用アンカー遠隔誘導システム及び内視鏡用誘導装置
JP4349847B2 (ja) 内視鏡用磁気アンカー遠隔誘導システム
JP6049583B2 (ja) 喉頭鏡及びこれを用いた医療システム
JP4505360B2 (ja) 磁性体留置具の探知及び把持装置
EP1972283B1 (en) Tissue lifting system, and indwelling tool
JP4338441B2 (ja) 内視鏡用誘導手段誘導システム、及び内視鏡用誘導装置
JP4320201B2 (ja) 内視鏡用重力誘導装置
JP4320208B2 (ja) 重力方向視認装置付き磁気誘導手段遠隔誘導システム及び重力方向視認装置付き内視鏡用磁気誘導装置
JP5224278B2 (ja) 内視鏡用アンカー付把持装置
JP4446050B2 (ja) 把持装置
JP4341739B2 (ja) 内視鏡用誘導手段誘導システム、及び内視鏡用誘導装置
JP5360753B2 (ja) 磁気アンカー誘導用磁力発生装置、磁気アンカー牽引モニタリングシステム、及び磁気牽引力自動切り替え機能付き磁気アンカーモニタリングシステム
JP4243977B2 (ja) 内視鏡用アンカー誘導システム

Legal Events

Date Code Title Description
A711 Notification of change in applicant

Free format text: JAPANESE INTERMEDIATE CODE: A712

Effective date: 20100507

A521 Request for written amendment filed

Free format text: JAPANESE INTERMEDIATE CODE: A821

Effective date: 20100712

RD02 Notification of acceptance of power of attorney

Free format text: JAPANESE INTERMEDIATE CODE: A7422

Effective date: 20100712

A621 Written request for application examination

Free format text: JAPANESE INTERMEDIATE CODE: A621

Effective date: 20110523

A521 Request for written amendment filed

Free format text: JAPANESE INTERMEDIATE CODE: A523

Effective date: 20110707

A521 Request for written amendment filed

Free format text: JAPANESE INTERMEDIATE CODE: A523

Effective date: 20110928

A131 Notification of reasons for refusal

Free format text: JAPANESE INTERMEDIATE CODE: A131

Effective date: 20121023

A521 Request for written amendment filed

Free format text: JAPANESE INTERMEDIATE CODE: A523

Effective date: 20121210

TRDD Decision of grant or rejection written
A01 Written decision to grant a patent or to grant a registration (utility model)

Free format text: JAPANESE INTERMEDIATE CODE: A01

Effective date: 20130226

A61 First payment of annual fees (during grant procedure)

Free format text: JAPANESE INTERMEDIATE CODE: A61

Effective date: 20130305

R150 Certificate of patent or registration of utility model

Free format text: JAPANESE INTERMEDIATE CODE: R150

Ref document number: 5224279

Country of ref document: JP

Free format text: JAPANESE INTERMEDIATE CODE: R150

FPAY Renewal fee payment (event date is renewal date of database)

Free format text: PAYMENT UNTIL: 20160322

Year of fee payment: 3

S531 Written request for registration of change of domicile

Free format text: JAPANESE INTERMEDIATE CODE: R313531

R350 Written notification of registration of transfer

Free format text: JAPANESE INTERMEDIATE CODE: R350

R250 Receipt of annual fees

Free format text: JAPANESE INTERMEDIATE CODE: R250

R250 Receipt of annual fees

Free format text: JAPANESE INTERMEDIATE CODE: R250

R250 Receipt of annual fees

Free format text: JAPANESE INTERMEDIATE CODE: R250

R250 Receipt of annual fees

Free format text: JAPANESE INTERMEDIATE CODE: R250

R250 Receipt of annual fees

Free format text: JAPANESE INTERMEDIATE CODE: R250

R250 Receipt of annual fees

Free format text: JAPANESE INTERMEDIATE CODE: R250

R250 Receipt of annual fees

Free format text: JAPANESE INTERMEDIATE CODE: R250

R250 Receipt of annual fees

Free format text: JAPANESE INTERMEDIATE CODE: R250

R250 Receipt of annual fees

Free format text: JAPANESE INTERMEDIATE CODE: R250