JP2010011346A - 受信装置、受信方法、および無線通信システム - Google Patents

受信装置、受信方法、および無線通信システム Download PDF

Info

Publication number
JP2010011346A
JP2010011346A JP2008171142A JP2008171142A JP2010011346A JP 2010011346 A JP2010011346 A JP 2010011346A JP 2008171142 A JP2008171142 A JP 2008171142A JP 2008171142 A JP2008171142 A JP 2008171142A JP 2010011346 A JP2010011346 A JP 2010011346A
Authority
JP
Japan
Prior art keywords
transfer function
unit
signal
radio signal
cross
Prior art date
Legal status (The legal status is an assumption and is not a legal conclusion. Google has not performed a legal analysis and makes no representation as to the accuracy of the status listed.)
Granted
Application number
JP2008171142A
Other languages
English (en)
Other versions
JP4623151B2 (ja
Inventor
Hiroaki Takahashi
宏彰 高橋
Tomoya Yamaura
智也 山浦
Shinichi Kuroda
慎一 黒田
Hiroaki Takano
裕昭 高野
Current Assignee (The listed assignees may be inaccurate. Google has not performed a legal analysis and makes no representation or warranty as to the accuracy of the list.)
Sony Corp
Original Assignee
Sony Corp
Priority date (The priority date is an assumption and is not a legal conclusion. Google has not performed a legal analysis and makes no representation as to the accuracy of the date listed.)
Filing date
Publication date
Application filed by Sony Corp filed Critical Sony Corp
Priority to JP2008171142A priority Critical patent/JP4623151B2/ja
Priority to US12/492,746 priority patent/US8270350B2/en
Publication of JP2010011346A publication Critical patent/JP2010011346A/ja
Application granted granted Critical
Publication of JP4623151B2 publication Critical patent/JP4623151B2/ja
Expired - Fee Related legal-status Critical Current
Anticipated expiration legal-status Critical

Links

Images

Classifications

    • HELECTRICITY
    • H04ELECTRIC COMMUNICATION TECHNIQUE
    • H04LTRANSMISSION OF DIGITAL INFORMATION, e.g. TELEGRAPHIC COMMUNICATION
    • H04L7/00Arrangements for synchronising receiver with transmitter
    • H04L7/04Speed or phase control by synchronisation signals
    • H04L7/041Speed or phase control by synchronisation signals using special codes as synchronising signal
    • H04L7/042Detectors therefor, e.g. correlators, state machines

Landscapes

  • Engineering & Computer Science (AREA)
  • Computer Networks & Wireless Communication (AREA)
  • Signal Processing (AREA)
  • Mobile Radio Communication Systems (AREA)
  • Synchronisation In Digital Transmission Systems (AREA)
  • Radio Transmission System (AREA)

Abstract

【課題】受信装置、受信方法、および無線通信システムを提供すること。
【解決手段】無線信号を受信する受信部と、前記無線信号の通信経路の伝達関数を推定する伝達関数推定部と、前記受信部により受信される無線信号に含まれる同期信号と、前記伝達関数推定部により推定された伝達関数が乗算された既知の同期信号との相互相関を演算する相互相関演算部と、を備える受信装置。
【選択図】図6

Description

本発明は、受信装置、受信方法、および無線通信システムに関する。
近日、IEEE(Institute of Electrical and Electronic Engineers)802.11に規定される無線通信装置が広く普及している。このような無線通信装置間における無線通信の流れを簡単に以下に示す。
(1)送信側の無線通信装置におけるRF(Radio Frequency)送信処理
(2)RF送信処理により得られた高周波信号を無線信号として無線伝送路を介して送信
(3)受信側の無線通信装置における無線信号の受信およびRF受信処理
(4)RF受信処理により得られた受信信号と、既知信号パターンとの相互相関演算
(5)相互相関が検出されたタイミングに基づく受信信号の復調、復号処理
ここで、上記(4)の相互相関演算についてより詳細に説明すると、送信側の無線通信装置は、既知信号パターンであるL−LTFを含む無線信号を送信する。そして、受信側の無線通信装置は、RF受信処理により得られた受信信号に含まれるL−LTFと、既知信号パターンであるL−LTFとの相互相関を演算することにより、同期タイミングを検出する。なお、相互相関演算については、例えば特許文献1に記載されている。
特開2007−324729号公報
しかし、RF受信処理により得られた受信信号に含まれるL−LTFは、既知信号パターンとして受信側の無線通信装置が保持しているL−LTFと異なる。これは、送信側の無線通信装置におけるRF送信処理、無線伝送路、受信側の無線通信装置におけるRF受信処理などにおいて、L−LTFに伝達関数が混入してしまうことに起因する。その結果、上記(4)の相互相関演算における相互相関の演算精度が劣化してしまうという問題があった。
そこで、本発明は、上記問題に鑑みてなされたものであり、本発明の目的とするところは、相互相関の演算精度を向上することが可能な、新規かつ改良された受信装置、受信方法、および無線通信システムを提供することにある。
上記課題を解決するために、本発明のある観点によれば、無線信号を受信する受信部と、前記無線信号の通信経路の伝達関数を推定する伝達関数推定部と、前記受信部により受信される無線信号に含まれる同期信号と、前記伝達関数推定部により推定された伝達関数が乗算された既知の同期信号との相互相関を演算する相互相関演算部と、を備える受信装置が提供される。
前記受信装置は、前記既知の同期信号を記憶している記憶部と、前記記憶部に記憶されている前記既知の同期信号に、前記伝達関数推定部により推定された伝達関数を乗算する補正部と、をさらに備えてもよい。
前記記憶部は、前記伝達関数推定部により推定された伝達関数を前記無線信号の送信元装置と対応付けて記憶し、前記補正部は、前記受信部により受信された無線信号の送信元装置の伝達関数を前記記憶部から抽出し、当該伝達関数を前記既知の同期信号に乗算してもよい。
前記受信装置は、前記既知の同期信号に、前記伝達関数推定部により推定された伝達関数を乗算する補正部と、前記補正部により前記伝達関数が乗算された前記既知の同期信号を記憶する記憶部と、をさらに備えてもよい。
前記伝達関数推定部は、以降に連続的に無線信号が送信されることを示す情報を含む第1の無線信号に基づいて前記伝達関数を推定し、前記相互相関演算部は、前記第1の無線信号の以降に連続的に送信される第2の無線信号に含まれる同期信号と、前記伝達関数推定部において前記第1の無線信号に基づいて推定された伝達関数が乗算された前記既知の同期信号との相互相関を演算してもよい。
前記通信路の伝達関数には、前記無線信号の無線伝送路の伝達関数、前記受信部の伝達関数、または前記無線信号の送信元装置の伝達関数の少なくともいずれかが含まれてもよい。
また、上記課題を解決するために、本発明の別の観点によれば、無線信号を受信する第1のステップと、前記無線信号の通信経路の伝達関数を推定する第2のステップと、無線信号を受信する第3のステップと、前記第3のステップにおいて受信した無線信号に含まれる同期信号と、前記第2のステップにおいて推定された伝達関数が乗算された既知の同期信号との相互相関を演算するステップと、を含む受信方法が提供される。
また、上記課題を解決するために、本発明の別の観点によれば、無線信号を送信する送信装置と、前記送信装置から送信された無線信号を受信する受信部、前記無線信号の通信経路の伝達関数を推定する伝達関数推定部、および前記受信部により受信される無線信号に含まれる同期信号と、前記伝達関数推定部により推定された伝達関数が乗算された既知の同期信号との相互相関を演算する相互相関演算部、を有する受信装置と、を備える無線通信システムが提供される。
以上説明したように本発明にかかる受信装置、受信方法、および無線通信システムによれば、相互相関の演算精度を向上することができる。
以下に添付図面を参照しながら、本発明の好適な実施の形態について詳細に説明する。なお、本明細書及び図面において、実質的に同一の機能構成を有する構成要素については、同一の符号を付することにより重複説明を省略する。
また、以下に示す項目順序に従って当該「発明を実施するための最良の形態」を説明する。
〔1〕本実施形態に関連する無線通信システム
〔2〕本発明の第1の実施形態
〔2−1〕本発明の第1の実施形態にかかる無線通信装置の構成
〔2−2〕本発明の第1の実施形態にかかる無線通信装置の動作
〔3〕本発明の第2の実施形態
〔4〕まとめ
〔1〕本実施形態に関連する無線通信システム
まず、本実施形態を説明する前に、本実施形態に関連する無線通信システム11について説明する。
図1は、本実施形態に関連する無線通信システム11の構成を示した説明図である。図1に示したように、無線通信システム11は、複数の無線通信装置100および100’と、無線伝送路16とを含む。また、図1においては、無線通信装置100’が送信側として機能し、無線通信装置100が受信側として機能する例を示している。
図1に示したように、無線通信装置100’は、ベースバンドの送信信号をRF送信処理して高周波信号に変換するRF送信処理部110を備える。RF送信処理部110によりRF送信処理された送信信号は、無線伝送路16を介して無線信号として送信される。ここで、無線通信装置100’から送信される無線信号の先頭には、図2に示すプリアンブルが付加される。
図2は、プリアンブルの構成例を示した説明図である。図2に示したように、プリアンブルは、L−STF(Short Traning Field)と、L−LTF(Long Traning Field)と、L−SIGと、を含み、その後にデータ(L−Data)が付加される。本明細書においては、このようにプリアンブルとデータを含む1単位をパケットと称する場合もある。
L−STF(第1の同期信号)では、周期が0.8μsである既知信号パターンが10回繰り返され、受信側ではかかるL−STFに基づいて無線信号の受信を検出する。L−LTF(第2の同期信号)では、周期が3.2μsである既知信号パターンの後半部分(1.6μs)の後に、当該信号パターンが2回繰り返される(計8μs)。すなわち、L−LTF先頭に付加される信号パターンの後半部分はガードインターバルとして機能する。
L−SIGは、当該フレームに含まれるデータの伝送速度や変調方式などの情報を含む。このようなプリアンブルは、事前に時間領域の信号として無線通信装置100’に保持されており、無線通信装置100’は、保持しているプリアンブルを送信信号の先頭に付加してもよい。
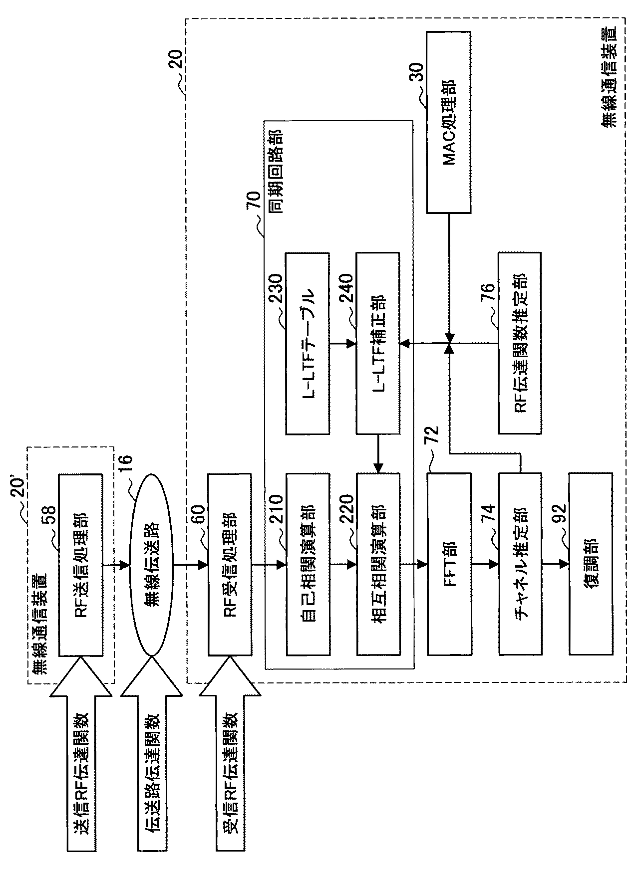
ここで、図1を参照して本実施形態に関連する無線通信システム11の説明に戻る。無線通信装置100は、RF受信処理部120、L−LTFテーブル134および相互相関演算部138を含む同期回路部130、および復調部140を備える。
RF受信処理部120は、無線伝送路16を介して無線通信装置100に到達した無線信号をRF受信処理し、ベースバンドの受信信号に変換する。L−LTFテーブル134には、図2に示したL−LTFの信号パターンが保持されており、相互相関演算部138は、受信信号に含まれるL−LTFと、L−LTFテーブル134に保持されているL−LTFとの相互相関を演算する。以下、図3を参照し、相互相関の演算について簡単に説明する。
図3は、相互相関演算を概念的に示した説明図である。上記説明したように、相互相関演算部138は、L−LTFテーブル134に保持されている3.2μs分のL−LTFと、受信信号のうちでL−LTFと推定される部分付近との相互相関を演算する。ここで、図3に示したように、受信信号に含まれるL−LTFの先頭が相互相関のピーク値となると考えられるため、相互相関演算部138は、L−LTFの先頭を相互相関のピーク値により検出することができる。なお、L−LTFにおいては、同一の信号パターンが繰り返されるためピーク値が複数現れることも想定されるが、相互相関演算部138が、図3に示したようにL−LTFの先頭のみを検出するよう構成される例を説明している。
相互相関演算部138によりL−LTFの先頭が検出されると、復調部140などにより、受信信号の復調および復号がL−LTFの先頭の検出タイミング(同期タイミング)に基づいて行なわれる。したがって、相互相関演算部138によるL−LTFの先頭の検出精度は受信信号の正確な復調および復号のために重要である。しかし、本実施形態に関連する無線通信システム11においては、L−LTFの先頭を適確に検出できない場合があった。以下、その理由を説明する。
図1に示したように、送信信号は、RF送信処理部110の伝達関数(送信RF伝達関数)が乗算され、無線伝送路の伝達関数が乗算され、RF受信処理部120の伝達関数(受信RF伝達関数)が乗算されて同期回路部130へ入力される。したがって、同期回路部130へ入力される受信信号Yは、送信信号をX、送信RF伝達関数をαtx、無線伝送路の伝達関数をαp、受信RF伝達関数をαrxとすると、以下の数式1のように表現される。
Figure 2010011346
(数式1)
このため、受信信号に含まれるL−LTFと、L−LTFテーブル134に保持されているL−LTFが一致せず、図4に示すように、相互相関演算部138がL−LTFの先頭を適確に検出できない場合が想定された。
図4は、相互相関演算の失敗例を示した説明図である。図4に示したように、受信信号に含まれるL−LTFが各伝達関数の影響を受けることにより、L−LTFの先頭においてピーク値が現れない場合が想定された。また、受信信号に含まれるL−LTFが各伝達関数の影響を受けることにより、L−LTFの先頭と異なる位置でピーク値が現れ、L−LTFの先頭が誤って検出されてしまう場合も想定された。その結果、復調部140などで正しい処理が行われず、スループットの低下やコネクションの切断などの問題が発生しかねなかった。
そこで、上記事情を一着眼点にして本実施形態にかかる無線通信装置20を創作するに至った。本実施形態にかかる無線通信装置20によれば、相互相関の演算精度を向上することにより、L−LTFの先頭をより適確に検出することが可能である。以下、このような無線通信装置20の第1の実施形態および第2の実施形態について順次に説明する。
〔2〕本発明の第1の実施形態
〔2−1〕本発明の第1の実施形態にかかる無線通信装置の構成
図5は、本発明の第1の実施形態にかかる無線通信システム1の構成、および無線通信装置20の構成を示した説明図である。図5に示したように、無線通信システム1は複数の無線通信装置20および20’を含む。なお、以下では無線通信装置20’が送信側として機能し、無線通信装置20が受信側として機能する例に重きをおいて説明するが、無線通信装置20および20’は、送信側としての機能および受信側としての機能の双方を有する。
無線通信装置20は、アンテナ12Aおよび12B、セレクタ18Aおよび18B、MAC処理部30、変調部32、送信信号処理部40、信号パターン保持部42、IFFT部52Aおよび52B、送信フィルタ54Aおよび54B、DAC56Aおよび56B、RF送信処理部58Aおよび58B、RF受信処理部60Aおよび60B、ADC62Aおよび62B、受信フィルタ64Aおよび64B、同期回路部70、FFT部72Aおよび72B、チャネル推定部74Aおよび74B、RF伝達関数推定部76、信号合成部80、および復調部92を備える。
なお、本明細書においては、同一機能を有する複数の構成の各々は、同一符号の後に異なるアルファベットを付することで区別する。しかし、同一機能を有する複数の構成の各々を特に区別する必要が無い場合、同一符号のみを付する。例えば、IFFT部52Aおよび52Bを特に区別する必要が無い場合、単にIFFT部52と総称する。
MAC(Medium Access Control)処理部30は無線通信におけるアクセス制御を行う。例えば、MAC処理部30は、送信データに対して自装置のMACアドレス、宛先装置のMACアドレスなどの制御情報を付加し、ビット列として出力する。
変調部32は、MAC処理部30から出力されたビット列を変調する。例えば、変調部32は、無線伝送路16の状況に応じ、BPSK(Binary Phase Shift Keying)、QPSK、16QAM、64QAM、256QAM、8PSKなどのいずれかの変調方式により変調を行なってもよい。また、変調部32は、OFDM(Orthogonal Frequency Division Multiplexing)方式を実現するために、各サブキャリアに割当てられたビットごとに変調してもよい。
送信信号処理部40は、変調部32から出力されたビット列のMIMO送信処理を行う。MIMO送信処理としては、例えば、各ブランチへのビット列の割り振り、ビームフォーミングなどがあげられる。
IFFT(Inverse Fast Fourier Transform)部52は、送信信号処理部40における信号処理により得られた周波数領域の信号を、高速逆フーリエ変換することにより、時間領域の送信信号(OFDM信号)に変換する。送信フィルタ54は、IFFT部52において得られた時間領域の送信信号から、所定の周波数成分を抽出する。なお、当該時間領域の送信信号にはガードインターバルが付加されていてもよい。
DAC(デジタル/アナログ変換部)56は、送信フィルタ54により抽出された周波数成分を有する送信信号を、デジタル形式からアナログ形式に変換する。そして、RF送信処理部58が、アナログ形式に変換された送信信号を例えばIQ変調し、高周波信号(例えば、5GHz帯)に変換する。
セレクタ18は、アンテナ12(受信部)と、RF送信処理部58またはRF受信処理部60のいずれかを接続する。アンテナ12とRF送信処理部58がセレクタ18により接続されると、RF送信処理部58において得られた高周波信号がアンテナ12から無線信号として送信され、無線通信装置20が送信装置として機能する。また、アンテナ12とRF受信処理部60がセレクタ18により接続されると、アンテナ12において受信された無線信号が高周波信号としてRF受信処理部60へ供給され、無線通信装置20が受信装置として機能する。
RF受信処理部60は、アンテナ12から入力される高周波信号をダウンコンバーションし、アナログ形式のベースバンド受信信号(受信信号)を生成する。
ADC(アナログ/デジタル変換部)62は、RF受信処理部60により生成されたアナログ形式のベースバンド受信信号をデジタル形式のベースバンドの受信信号に変換して出力する。受信フィルタ64は、ADC62から出力されるデジタル形式のベースバンド受信信号に含まれる所定の周波数成分を抽出する。
同期回路部70は、図2を参照して説明したL−STFを検出するための自己相関演算部210、およびL−LTFを検出するための相互相関演算部220を備え、プリアンブルに続くパケットフレームの切り出しのための同期タイミングを検出する。なお、当該同期回路部70の構成については図6を参照して後述する。
FFT部72は、同期回路部70により検出された同期タイミングに基づいてパケットフレームを切り出し、切り出したパケットフレームごとにFFT処理を行い、周波数領域の受信信号を生成する。そして、チャネル推定部74は、無線信号の伝送路である無線伝送路16の伝達関数を推定する伝達関数推定部としての機能を有する。なお、チャネル推定部74により推定される伝達関数には、送信元装置である無線通信装置20’の伝達関数が含まれてもよい。また、詳細については後述するが、RF伝達関数推定部76は、RF受信処理部60の伝達関数を推定する。
信号合成部80は、チャネル推定部74およびRF伝達関数推定部76により推定された伝達関数を考慮してMIMO受信処理を行う。例えば、信号合成部80は、チャネル推定部74から出力される信号に、チャネル推定部74およびRF伝達関数推定部76により推定された伝達関数(例えば、チャネル行列H)の逆行列を乗算してもよい。
復調部92は、信号合成部80により得られた信号を復調し、ビット列として出力する。MAC処理部30は、復調部92からビット列が入力され、ビット列に含まれる制御情報を解析するとともに、ビット列に含まれる制御情報以外の情報を上位層へ供給する。
以上、無線通信装置20が送信装置として機能するための基本構成、および受信装置として機能するための基本構成について説明した。続いて、無線通信装置20においてキャリブレーションを行なうための信号パターン保持部42およびRF伝達関数推定部76について説明する。なお、キャリブレーションの対象としては、以下に示すものがあげられ、これらを対象とするキャリブレーションの一例として、IQキャリブレーションおよびアンテナキャリブレーションについて説明する。
・送信フィルタ54、RF送信処理部58内のアナログフィルタ、RF受信処理部60内のアナログフィルタなどの周波数特性を有する構成
・DAC56、ADC62などのアパーチャ効果と関連する構成
・PA(ゲインが非線形性である構成)
・IQモジュレータ、IQデモジュレータ(IQインバランスを生じる構成)
・配長線の違い
・無線通信装置間の周波数誤差成分
(IQキャリブレーションについて)
IQキャリブレーションは、送信側のIQキャリブレーションと受信側のIQキャリブレーションに分けられる。送信側のIQキャリブレーションは、主にDAC56とRF送信処理部58内のIQモジュレータのキャリブレーションを目的としている。送信側のIQキャリブレーションに際しては、信号パターン保持部42に保持されている既定のキャリブレーションデータが送信フィルタ54Aへ供給され、RF送信処理部58内のIQモジュレータとADC62が接続される。
その結果、DAC56からIQモジュレータにキャリブレーションデータが入力されると、IQモジュレータによりキャリブレーションデータがIQ変調され、さらに整流、絶対値化されてADC62へ入力される。
RF伝達関数推定部76は、ADC62を介して帰還されたキャリブレーションデータを観測することにより、送信側のIQ振幅誤差およびIQ位相誤差を補正するための補正係数を取得することができる。
一方、受信側のIQキャリブレーションは、主にRF受信処理部60内のIQデモジュレータとADC62のキャリブレーションを目的としている。受信側のIQキャリブレーションに際しては、RF送信処理部58内のIQモジュレータとRF受信処理部60内のIQデモジュレータが接続される。
その結果、DAC56からIQモジュレータにキャリブレーションデータが入力されると、IQモジュレータによりIQ変調されたキャリブレーションデータがIQデモジュレータに入力される。IQデモジュレータは入力された信号をダウンコンバージョンし、ADC62を介してRF伝達関数推定部76に帰還させる。
ここで、送信側のIQインバランスは既に補正されているので、帰還された信号からは、受信側のIQインバランスの影響のみ観測することが可能となる。RF伝達関数推定部76は、かかる帰還された信号から受信側の伝達関数としてのIQ振幅誤差とIQ位相誤差を見積り、その誤差に応じた補正係数を取得することが可能となる。
(アンテナキャリブレーションについて)
アンテナキャリブレーションは、RF送信処理部58内のアナログフィルタやアンテナ12などの伝達関数のインバランスの解消を目的としており、通常IQキャリブレーションの後に行われる。詳細な説明は省略するが、まず、アンテナキャリブレーションにおいては、アンテナ12Aから送信したキャリブレーションデータをアンテナ12Bが受信してRF伝達関数推定部76へ帰還させる。その後、アンテナ12Bから送信したキャリブレーションデータをアンテナ12Aが受信してRF伝達関数推定部76へ帰還させる。そして、RF伝達関数推定部76が、帰還された双方のキャリブレーションデータに基づいてRF送信処理部58内のアナログフィルタやアンテナ12などの伝達関数の推定、および補正係数の算出を行なう。
(同期回路部70について)
次に、図6および図7を参照し、同期回路部70についてより詳細に説明する。
図6は、同期回路部70の詳細な構成、および無線通信装置20の一部の構成を示した機能ブロック図である。図6に示したように、同期回路部70は、自己相関演算部210と、相互相関演算部220と、L−LTFテーブル230と、L−LTF補正部240と、を備える。
自己相関演算部210は、受信信号と、所定時間遅延させた受信信号との自己相関を演算することにより、L−STFの開始、またはL−STFの終了などを検出する。例えば、自己相関演算部210は、受信信号をL−STFにおける信号パターンの繰り返し周期である0.8μs遅延させ、現在入力された受信信号と、遅延された受信信号の複素共役とを乗算してもよい。L−STFが終了すると自己相関値が減少するため、自己相関演算部210はかかる自己相関値の減少によりL−STFの終了、およびL−LTFの開始を検出することができる。
相互相関演算部220は、受信信号と、L−LTF補正部240から供給されるL−LTFとの相互相関を演算することにより、以降の処理で利用される同期タイミングを検出する。
L−LTFテーブル230は、既知信号パターンの同期信号であるL−LTFを記憶している記憶部として機能する。かかるL−LTFテーブル230は、例えば、レジスタ、不揮発性メモリ、磁気ディスク、または光ディスクなどの記憶媒体であってもよい。不揮発性メモリとしては、EEPROM(Electrically Erasable Programmable Read−Only Memory)、EPROM(Erasable Programmable ROM)などがあげられる。また、磁気ディスクとしては、ハードディスク、円盤型磁性体ディスク、MO(Magneto Optical)ディスクなどがあげられる。また、光ディスクとしては、CD(Compact Disc)、DVD(Digital Versatile Disc Recordable)およびBD(Blu−Ray Disc(登録商標))―R/BD−REなどがあげられる。
L−LTF補正部240(補正部)は、送信元装置に応じてL−LTFテーブル230に保持されているL−LTFを補正し、相互相関演算部220へ供給する。以下では、送信元装置の判別方法、および具体的な補正方法について説明する。
(送信元装置の判別方法)
送信元装置は、送信データが1パケットに収まらない場合、複数のパケットをSIFS(16μs)またはRIFS(2μs)間隔でバースト的に送信する(バースティングモード)。また、送信元装置は、バースティングモード時、パケットのMACヘッダに含まれるACKポリシーというフィールドにその旨を記載する。また、MACヘッダには、送信元装置のアドレスが記載される。
したがって、無線通信装置20のMAC処理部30は、MACヘッダに含まれるACKポリシーを参照することにより、次に受信されるパケットの送信元装置を判断することができる。
なお、ACKポリシーは、ACKパケットの送信を要求するか否かを示すフィールドである。例えば、バースト的に送信された最後のパケットでのみACKパケットの送信が要求される。このため、無線通信装置20のMAC処理部30は、あるパケット(第1の無線信号)ACKポリシーにおいてACKパケットの送信が要求されていない場合、次に受信されるパケット(第2の無線信号)の送信元装置も同一であると判断する。
(L−LTFの補正方法)
送信元装置のRF送信処理部58の伝達関数および無線伝送路16の伝達関数(以下、チャネル伝達関数と称する。)は、同一の送信元装置および同一の無線伝送路16であれば、大きな変動は無い。そこで、L−LTF補正部240は、一度受信したパケットの送信元装置と対応付けて、当該送信元装置のチャネル伝達関数を保持しておく。
そして、L−LTF補正部240は、MAC処理部30により判断された次に受信されるパケットの送信元装置に対応するチャネル伝達関数を検索する。ここで、L−LTF補正部240は、次に受信されるパケットの送信元装置に対応するチャネル伝達関数を保持していた場合、当該チャネル伝達関数およびRF伝達関数推定部76により推定された伝達関数を、L−LTFテーブル230のL−LTFに乗算する。その後、L−LTF補正部240は、乗算による補正後のL−LTFを相互相関演算部220へ供給する。
図7は、本実施形態にかかる相互相関演算の様子を模式的に示した説明図である。図7に示したように、相互相関演算部220は、チャネル伝達関数および受信RF伝達関数を考慮して補正されたL−LTFを利用して相互相関を演算する。このため、本実施形態によれば、受信されたパケットにチャネル伝達関数や受信RF伝達関数が混入していた場合であっても、相互相関演算部220における同期タイミングの検出精度の向上を図ることができる。その結果、復調部92におけるより正確な復調処理が期待されるため、スループットが低下してしまう場合や、コネクションが切断してしまう場合を防止することが可能である。
なお、「(送信元装置の判別方法)」において説明したように、MAC処理部30は、バースティングモード時に最初に受信されたパケットの送信元装置を、当該パケットの相互相関演算時に把握することは困難である。このため、L−LTF補正部240は、バースティングモード時に最初に受信されたパケットについては、送信元装置に依存しない受信RF伝達関数を利用してL−LTFを補正し、相互相関演算部220に補正後のL−LTFを供給してもよい。
また、上記では、L−LTF補正部240が送信元装置ごとにチャネル伝達関数を保持しておく例を説明したが、本発明はかかる例に限定されない。例えば、L−LTF補正部240は、チャネル伝達関数の乗算による補正後のL−LTFを送信元装置ごとに保持していてもよい。かかる構成によれば、受信時にL−LTFの補正処理を行わなくてよいため、より迅速に相互相関演算部220へ補正後のL−LTFを供給することが可能となる。
また、無線通信装置20と送信元装置との初期位相の相違により、チャネル伝達関数の推定値が正確に得られない場合がある。そこで、無線通信装置20は、初期位相が、0度、45度、90度、135度、180度、225度、270度、315度である場合の各々で自己相関値を求め、最もピークが鋭く現れる組合せを選択して同期タイミングとしてもよい。
〔2−2〕本発明の第1の実施形態にかかる無線通信装置の動作
以上、図5〜図7を参照し、本発明の第1の実施形態にかかる無線通信装置の機能を説明した。続いて、図8を参照し、本発明の第1の実施形態にかかる無線通信装置の動作を説明する。
図8は、本発明の第1の実施形態にかかる無線通信装置の動作の流れを示したフローチャートである。図8に示したように、まず、無線通信装置20のRF伝達関数推定部76は、キャリブレーションにより、RF受信処理部60やADC62などが有するRF伝達関数を推定する(S304)。続いて、無線通信装置20が無線信号を受信すると(S308)、チャネル推定部74が、送信元装置のRF送信処理部58の伝達関数および無線伝送路16の伝達関数を含むチャネル伝達関数を推定する(S312)。L−LTF補正部240は、チャネル推定部74により推定されたチャネル伝達関数を、送信元装置と対応付けて保持しておく。
その後、L−LTF補正部240は、チャネル伝達関数を保持している送信元装置から無線信号を受信する場合(S316)、L−LTFテーブル230のL−LTFを、該当するチャネル伝達関数および受信RF伝達関数を用いて補正する(S320)。そして、相互相関演算部220が、L−LTF補正部240による補正後のL−LTFと、無線信号に含まれるL−LTFとの相互相関を演算することにより同期タイミングを検出する(S324)。
一方、L−LTF補正部240は、チャネル伝達関数を保持していない送信元装置から無線信号を受信する場合(S316)、L−LTFテーブル230に保持されているL−LTFを相互相関演算部220に供給する(S328)。そして、相互相関演算部220は、L−LTFテーブルに保持されているL−LTFと、無線信号に含まれるL−LTFとの相互相関を演算することにより同期タイミングを検出する。なお、L−LTF補正部240は、チャネル伝達関数を保持していない送信元装置から無線信号を受信する場合(S316)、L−LTFテーブル230のL−LTF受信RF伝達関数を用いて補正して相互相関演算部220に供給してもよい。
〔3〕本発明の第2の実施形態
次に、図9を参照し、本発明の第2の実施形態を説明する。図9は、本発明の第2の実施形態にかかる同期回路部71の構成、および無線通信装置20のその他の構成の一部を示した機能ブロック図である。本発明の第2の実施形態にかかる無線通信装置20は、第1の実施形態と実質的に同一の機能も包含するため、以下では、第1の実施形態と異なる機能に重きをおいて説明する。
図9に示したように、本実施形態にかかる同期回路部71は、自己相関演算部210と、相互相関演算部220と、L−LTFテーブル232と、を備える。
自己相関演算部210は、受信信号と、所定時間遅延させた受信信号との自己相関を演算することにより、L−STFの開始、またはL−STFの終了などを検出する。また、相互相関演算部220は、受信信号と、L−LTFテーブル232から供給されるL−LTFとの相互相関を演算することにより、以降の処理で利用される同期タイミングを検出する。
第1の実施形態においては、無線信号の通信経路の伝達関数として、送信元装置のRF送信処理部58の伝達関数、無線伝送路16の伝達関数、RF受信処理部60などの伝達関数を利用する例を説明したが、本実施形態ではRF受信処理部60の伝達関数を利用する。
具体的には、L−LTFテーブル232は、RF受信処理部60の伝達関数を含む受信RF伝達関数による補正後のL−LTFを保持している。なお、当該補正は、L−LTF補正部242が、RF伝達関数推定部76により推定された受信RF伝達関数に基づいて行う。
かかる構成によれば、第1の実施形態よりは相互相関の演算精度が落ちるが、何の補正もされていないL−LTFを用いて相互相関演算を行なう本実施形態に関連する無線通信装置100よりは同期特性を向上することが可能である。
〔4〕まとめ
以上説明したように、本発明の第1の実施形態によれば、相互相関演算部220が、チャネル伝達関数および受信RF伝達関数を考慮して補正されたL−LTFを利用して相互相関を演算する。このため、本発明の第1の実施形態態によれば、受信された無線信号にチャネル伝達関数や受信RF伝達関数が混入していた場合であっても、相互相関演算部220における同期タイミングの検出精度の向上を図ることができる。その結果、復調部92におけるより正確な復調処理が期待されるため、スループットが低下してしまう場合や、コネクションが切断してしまう場合を防止することが可能である。
なお、第2の実施形態において説明したように、受信された無線信号に混入している伝達関数の一部を考慮してL−LTFを補正してもよい。このような本発明の第2の実施形態によれば、第1の実施形態よりは相互相関の演算精度が落ちるが、何の補正もされていないL−LTFを用いて相互相関演算を行なう本実施形態に関連する無線通信装置100よりは同期特性を向上することが可能である。
なお、添付図面を参照しながら本発明の好適な実施形態について説明したが、本発明は係る例に限定されないことは言うまでもない。当業者であれば、特許請求の範囲に記載された範疇内において、各種の変更例または修正例に想到し得ることは明らかであり、それらについても当然に本発明の技術的範囲に属するものと了解される。
例えば、上記実施形態ではチャネル推定部74およびRF伝達関数推定部76を異なる構成として説明したが、チャネル伝達関数および受信RF伝達関数を併せて推定可能な構成を無線通信装置20に設けてもよい。
また、上記第1の実施形態では、受信RF伝達関数が補正されていない状態で受信信号が同期回路部70に入力される例を説明したが、本発明はかかる例に限定されない。例えば、無線通信装置20は、受信RF伝達関数を補正した状態で受信信号を同期回路部70に入力してもよい。この場合、L−LTF補正部240は、L−LTFテーブル230のL−LTFをチャネル伝達関数を利用し、受信RF伝達関数を利用せずに補正して相互相関演算部220へ供給してもよい。
また、本明細書の無線通信装置20の処理における各ステップは、必ずしもフローチャートとして記載された順序に沿って時系列に処理する必要はない。例えば、無線通信装置20の処理における各ステップは、並列的あるいは個別に実行される処理(例えば、並列処理あるいはオブジェクトによる処理)を含んでもよい。
本実施形態に関連する無線通信システムの構成を示した説明図である。 プリアンブルの構成例を示した説明図である。 相互相関演算を概念的に示した説明図である。 相互相関演算の失敗例を示した説明図である。 本発明の第1の実施形態にかかる無線通信システムの構成、および無線通信装置の構成を示した説明図である。 同期回路部の詳細な構成、および無線通信装置の一部の構成を示した機能ブロック図である。 本発明の第1の実施形態にかかる相互相関演算の様子を模式的に示した説明図である。 本発明の第1の実施形態にかかる無線通信装置の動作の流れを示したフローチャートである。 本発明の第2の実施形態にかかる同期回路部の構成、および無線通信装置のその他の構成の一部を示した機能ブロック図である。
符号の説明
12 アンテナ
20 無線通信装置
30 MAC処理部
42 信号パターン保持部
52 IFFT部
60 RF受信処理部
62 ADC
64 受信フィルタ
70、71 同期回路部
72 FFT部
74 チャネル推定部
76 RF伝達関数推定部
92 復調部
210 自己相関演算部
220 相互相関演算部
230、232 L−LTFテーブル
240、242 L−LTF補正部

Claims (8)

  1. 無線信号を受信する受信部と;
    前記無線信号の通信経路の伝達関数を推定する伝達関数推定部と;
    前記受信部により受信される無線信号に含まれる同期信号と、前記伝達関数推定部により推定された伝達関数が乗算された既知の同期信号との相互相関を演算する相互相関演算部と;
    を備える、受信装置。
  2. 前記受信装置は、
    前記既知の同期信号を記憶している記憶部と;
    前記記憶部に記憶されている前記既知の同期信号に、前記伝達関数推定部により推定された伝達関数を乗算する補正部と;
    をさらに備える、請求項1に記載の受信装置。
  3. 前記記憶部は、前記伝達関数推定部により推定された伝達関数を前記無線信号の送信元装置と対応付けて記憶し、
    前記補正部は、前記受信部により受信された無線信号の送信元装置と対応付けられている伝達関数を前記記憶部から抽出し、当該伝達関数を前記既知の同期信号に乗算する、請求項2に記載の受信装置。
  4. 前記受信装置は、
    前記既知の同期信号に、前記伝達関数推定部により推定された伝達関数を乗算する補正部と;
    前記補正部により前記伝達関数が乗算された前記既知の同期信号を記憶する記憶部と;
    をさらに備える、請求項1に記載の受信装置。
  5. 前記伝達関数推定部は、以降に連続的に無線信号が送信されることを示す情報を含む第1の無線信号に基づいて前記伝達関数を推定し、
    前記相互相関演算部は、前記第1の無線信号の以降に連続的に送信される第2の無線信号に含まれる同期信号と、前記伝達関数推定部において前記第1の無線信号に基づいて推定された伝達関数が乗算された前記既知の同期信号との相互相関を演算する、請求項1に記載の受信装置。
  6. 前記通信路の伝達関数には、前記無線信号の無線伝送路の伝達関数、前記受信部の伝達関数、または前記無線信号の送信元装置の伝達関数の少なくともいずれかが含まれる、請求項1〜5に記載の受信装置。
  7. 無線信号を受信する第1のステップと;
    前記無線信号の通信経路の伝達関数を推定する第2のステップと;
    無線信号を受信する第3のステップと;
    前記第3のステップにおいて受信した無線信号に含まれる同期信号と、前記第2のステップにおいて推定された伝達関数が乗算された既知の同期信号との相互相関を演算するステップと;
    を含む、受信方法。
  8. 無線信号を送信する送信装置と;
    前記送信装置から送信された無線信号を受信する受信部、
    前記無線信号の通信経路の伝達関数を推定する伝達関数推定部、および、
    前記受信部により受信される無線信号に含まれる同期信号と、前記伝達関数推定部により推定された伝達関数が乗算された既知の同期信号との相互相関を演算する相互相関演算部、
    を有する受信装置と;
    を備える、無線通信システム。

JP2008171142A 2008-06-30 2008-06-30 受信装置、受信方法、および無線通信システム Expired - Fee Related JP4623151B2 (ja)

Priority Applications (2)

Application Number Priority Date Filing Date Title
JP2008171142A JP4623151B2 (ja) 2008-06-30 2008-06-30 受信装置、受信方法、および無線通信システム
US12/492,746 US8270350B2 (en) 2008-06-30 2009-06-26 Receiving apparatus, receiving method and wireless communication system

Applications Claiming Priority (1)

Application Number Priority Date Filing Date Title
JP2008171142A JP4623151B2 (ja) 2008-06-30 2008-06-30 受信装置、受信方法、および無線通信システム

Publications (2)

Publication Number Publication Date
JP2010011346A true JP2010011346A (ja) 2010-01-14
JP4623151B2 JP4623151B2 (ja) 2011-02-02

Family

ID=41447305

Family Applications (1)

Application Number Title Priority Date Filing Date
JP2008171142A Expired - Fee Related JP4623151B2 (ja) 2008-06-30 2008-06-30 受信装置、受信方法、および無線通信システム

Country Status (2)

Country Link
US (1) US8270350B2 (ja)
JP (1) JP4623151B2 (ja)

Cited By (4)

* Cited by examiner, † Cited by third party
Publication number Priority date Publication date Assignee Title
JP2011228890A (ja) * 2010-04-19 2011-11-10 Ricoh Co Ltd 無線通信装置及び受信信号処理方法
WO2012042875A1 (ja) * 2010-09-28 2012-04-05 三洋電機株式会社 受信装置
WO2013011973A1 (ja) * 2011-07-19 2013-01-24 川崎マイクロエレクトロニクス株式会社 Iqミスマッチ補正方法およびrf送受信装置
JP2017533626A (ja) * 2014-09-16 2017-11-09 クゥアルコム・インコーポレイテッドQualcomm Incorporated 混合レートワイヤレス通信ネットワークのためのフレーム構造

Families Citing this family (3)

* Cited by examiner, † Cited by third party
Publication number Priority date Publication date Assignee Title
US8116397B2 (en) * 2009-10-20 2012-02-14 Freescale Semiconductor, Inc. System and method for symbol boundary detection in orthogonal frequency divison multiplexing based data communication
JP5935044B2 (ja) 2011-01-27 2016-06-15 パナソニックIpマネジメント株式会社 受信装置
WO2016209231A1 (en) * 2015-06-25 2016-12-29 Applied Micro Circuits Corporation Calibration of high-speed interleaved arrays

Citations (3)

* Cited by examiner, † Cited by third party
Publication number Priority date Publication date Assignee Title
JPH10200503A (ja) * 1997-01-09 1998-07-31 Matsushita Electric Ind Co Ltd スペクトル拡散通信用適応等化回路
JP2005348235A (ja) * 2004-06-04 2005-12-15 Ntt Docomo Inc アレーアンテナ受信装置及び送信装置
JP2007208719A (ja) * 2006-02-02 2007-08-16 Nippon Telegr & Teleph Corp <Ntt> チャネル情報フィードバック方法、及び無線通信装置

Family Cites Families (6)

* Cited by examiner, † Cited by third party
Publication number Priority date Publication date Assignee Title
US6026130A (en) * 1997-03-04 2000-02-15 Advanced Micro Devices, Inc. System and method for estimating a set of parameters for a transmission channel in a communication system
JP2001053654A (ja) * 1999-08-16 2001-02-23 Matsushita Electric Ind Co Ltd 信号分離装置、信号分離方法及び記録媒体
US7916803B2 (en) * 2003-04-10 2011-03-29 Qualcomm Incorporated Modified preamble structure for IEEE 802.11a extensions to allow for coexistence and interoperability between 802.11a devices and higher data rate, MIMO or otherwise extended devices
JP2006050573A (ja) * 2004-06-28 2006-02-16 Sanyo Electric Co Ltd 送信方法および装置ならびに受信方法および装置
US20060203894A1 (en) * 2005-03-10 2006-09-14 Nokia Corporation Method and device for impulse response measurement
JP2007324729A (ja) 2006-05-30 2007-12-13 Sony Corp 受信方法及び受信機

Patent Citations (3)

* Cited by examiner, † Cited by third party
Publication number Priority date Publication date Assignee Title
JPH10200503A (ja) * 1997-01-09 1998-07-31 Matsushita Electric Ind Co Ltd スペクトル拡散通信用適応等化回路
JP2005348235A (ja) * 2004-06-04 2005-12-15 Ntt Docomo Inc アレーアンテナ受信装置及び送信装置
JP2007208719A (ja) * 2006-02-02 2007-08-16 Nippon Telegr & Teleph Corp <Ntt> チャネル情報フィードバック方法、及び無線通信装置

Cited By (9)

* Cited by examiner, † Cited by third party
Publication number Priority date Publication date Assignee Title
JP2011228890A (ja) * 2010-04-19 2011-11-10 Ricoh Co Ltd 無線通信装置及び受信信号処理方法
WO2012042875A1 (ja) * 2010-09-28 2012-04-05 三洋電機株式会社 受信装置
US8649454B2 (en) 2010-09-28 2014-02-11 Sanyo Electric Co., Ltd. Receiving apparatus that receives packet signal in which a known signal is placed in the beginning of packet signal
JP2016029813A (ja) * 2010-09-28 2016-03-03 パナソニックIpマネジメント株式会社 受信装置
JP5887560B2 (ja) * 2010-09-28 2016-03-16 パナソニックIpマネジメント株式会社 受信装置
WO2013011973A1 (ja) * 2011-07-19 2013-01-24 川崎マイクロエレクトロニクス株式会社 Iqミスマッチ補正方法およびrf送受信装置
JPWO2013011973A1 (ja) * 2011-07-19 2015-02-23 株式会社メガチップス Iqミスマッチ補正方法およびrf送受信装置
JP2017533626A (ja) * 2014-09-16 2017-11-09 クゥアルコム・インコーポレイテッドQualcomm Incorporated 混合レートワイヤレス通信ネットワークのためのフレーム構造
KR101904005B1 (ko) 2014-09-16 2018-10-04 퀄컴 인코포레이티드 믹싱-레이트 무선 통신 네트워크들에 대한 프레임 구조

Also Published As

Publication number Publication date
US20090323591A1 (en) 2009-12-31
US8270350B2 (en) 2012-09-18
JP4623151B2 (ja) 2011-02-02

Similar Documents

Publication Publication Date Title
KR101791987B1 (ko) 무선 통신 시스템에서 프리앰블 전송 방법 및 장치
JP5546358B2 (ja) データ処理装置及びデータ処理方法
KR102113713B1 (ko) 수신기 및 데이터 복구 방법
CN101960810B (zh) 用于接收具有定时和频率偏移的ofdm符号的系统和方法
JP4623151B2 (ja) 受信装置、受信方法、および無線通信システム
JP4409743B2 (ja) 無線通信装置及び無線通信方式
JP4816123B2 (ja) 無線通信装置及び無線通信方法
JP5287346B2 (ja) 通信装置
WO2003071724A1 (en) Symbol timing correcting circuit, receiver, symbol timing correcting method, and demodulation processing method
JP2006314110A (ja) 周波数分割多重接続基盤の無線通信システムにおけるデータ及び制御情報の多重化方法及び装置
US20090296862A1 (en) Receiving apparatus and receiving method
US9621396B2 (en) Transmitter, receiver, and controlling methods thereof
US10149263B2 (en) Techniques for transmitting/receiving portions of received signal to identify preamble portion and to determine signal-distorting characteristics
US20150071374A1 (en) Transmitter, receiver, and controlling method thereof
JP4254245B2 (ja) 通信装置
CN101521548B (zh) 噪声功率推定装置以及方法
US20100086083A1 (en) Receiving apparatus and receiving method
CN101015155A (zh) 接收方法、装置及利用它们的通信系统
JP5215704B2 (ja) 適応復調方式
JP6061155B2 (ja) 方法およびシステム
EP2159981B1 (en) OFDM signal receiving apparatus and receiving method
CN102387110B (zh) 用于生成导频序列的设备和方法
JP4766072B2 (ja) 通信装置
US7760827B2 (en) Method and apparatus for improving recovery performance of time windowed signals
JP2000358010A (ja) Ofdm復調装置

Legal Events

Date Code Title Description
A131 Notification of reasons for refusal

Free format text: JAPANESE INTERMEDIATE CODE: A131

Effective date: 20100202

A521 Request for written amendment filed

Free format text: JAPANESE INTERMEDIATE CODE: A523

Effective date: 20100329

A131 Notification of reasons for refusal

Free format text: JAPANESE INTERMEDIATE CODE: A131

Effective date: 20100713

A521 Request for written amendment filed

Free format text: JAPANESE INTERMEDIATE CODE: A523

Effective date: 20100903

TRDD Decision of grant or rejection written
A01 Written decision to grant a patent or to grant a registration (utility model)

Free format text: JAPANESE INTERMEDIATE CODE: A01

Effective date: 20101005

A01 Written decision to grant a patent or to grant a registration (utility model)

Free format text: JAPANESE INTERMEDIATE CODE: A01

A61 First payment of annual fees (during grant procedure)

Free format text: JAPANESE INTERMEDIATE CODE: A61

Effective date: 20101018

FPAY Renewal fee payment (event date is renewal date of database)

Free format text: PAYMENT UNTIL: 20131112

Year of fee payment: 3

LAPS Cancellation because of no payment of annual fees