JP2010010645A - 面発光レーザ素子、面発光レーザアレイ、光走査装置、及び画像形成装置 - Google Patents

面発光レーザ素子、面発光レーザアレイ、光走査装置、及び画像形成装置 Download PDF

Info

Publication number
JP2010010645A
JP2010010645A JP2008287123A JP2008287123A JP2010010645A JP 2010010645 A JP2010010645 A JP 2010010645A JP 2008287123 A JP2008287123 A JP 2008287123A JP 2008287123 A JP2008287123 A JP 2008287123A JP 2010010645 A JP2010010645 A JP 2010010645A
Authority
JP
Japan
Prior art keywords
layer
emitting laser
surface emitting
laser element
light
Prior art date
Legal status (The legal status is an assumption and is not a legal conclusion. Google has not performed a legal analysis and makes no representation as to the accuracy of the status listed.)
Granted
Application number
JP2008287123A
Other languages
English (en)
Other versions
JP5463650B2 (ja
Inventor
Shunichi Sato
俊一 佐藤
Naoto Jikutani
直人 軸谷
Satoru Sugawara
悟 菅原
Current Assignee (The listed assignees may be inaccurate. Google has not performed a legal analysis and makes no representation or warranty as to the accuracy of the list.)
Ricoh Co Ltd
Original Assignee
Ricoh Co Ltd
Priority date (The priority date is an assumption and is not a legal conclusion. Google has not performed a legal analysis and makes no representation as to the accuracy of the date listed.)
Filing date
Publication date
Priority to JP2008287123A priority Critical patent/JP5463650B2/ja
Application filed by Ricoh Co Ltd filed Critical Ricoh Co Ltd
Priority to CN200980104470XA priority patent/CN101939882B/zh
Priority to EP09710020.0A priority patent/EP2243203B1/en
Priority to KR1020127031497A priority patent/KR20130006705A/ko
Priority to US12/865,951 priority patent/US8594146B2/en
Priority to PCT/JP2009/052457 priority patent/WO2009102048A1/en
Priority to KR1020107017683A priority patent/KR101253396B1/ko
Priority to TW098104367A priority patent/TWI431879B/zh
Publication of JP2010010645A publication Critical patent/JP2010010645A/ja
Application granted granted Critical
Publication of JP5463650B2 publication Critical patent/JP5463650B2/ja
Active legal-status Critical Current
Anticipated expiration legal-status Critical

Links

Images

Landscapes

  • Mechanical Optical Scanning Systems (AREA)
  • Facsimile Scanning Arrangements (AREA)
  • Semiconductor Lasers (AREA)

Abstract

【課題】寿命を短くすることなく、「負のドループ特性」が抑制された面発光レーザ素子を提供する。
【解決手段】活性層105を含む共振器構造体と、該共振器構造体を挟んで設けられた下部半導体DBR103及び上部半導体DBR107とを有している。上部半導体DBR107は、Alを含む被選択酸化層の一部が酸化されて生成された酸化物を含む酸化層108aが電流通過領域108bを取り囲む酸化狭窄構造体を含んでいる。そして、被選択酸化層の厚さは28nmであり、酸化層108aにおける最も厚い部分の厚さは110nm以下であり、閾値電流が最小となる温度は約17℃である。また、パルス周期が1ms、パルス幅が500μsの方形波電流パルスを供給したとき、供給後10nsでの光出力P1、及び供給後1μsでの光出力P2を用いて、(P1−P2)/P2=−0.05である。
【選択図】図3

Description

本発明は、面発光レーザ素子、面発光レーザアレイ、光走査装置、及び画像形成装置に係り、更に詳しくは、基板に対して垂直方向に光を射出する面発光レーザ素子、該面発光レーザ素子が集積された面発光レーザアレイ、前記面発光レーザ素子あるいは前記面発光レーザアレイを有する光走査装置、該光走査装置を備える画像形成装置に関する。
近年、基板に垂直な方向にレーザ発振を生じる面発光レーザ素子(面発光型半導体レーザ素子)が、精力的に研究されている。面発光レーザ素子は、端面発光レーザ素子に比べて発振の閾値電流が低く、円形の高品質な出射ビーム形状を得ることが可能である。また、面発光レーザ素子は基板に垂直な方向にレーザ出力が取り出せることから、高密度で2次元的に集積することが容易であり、並列光インターコネクション用光源、高速で高精細の電子写真システム等への応用が検討されている。
面発光レーザ素子は、電流流入効率を高めるために狭窄構造体を有している。この狭窄構造体としては、Al(アルミニウム)の選択酸化による狭窄構造体(以下では、便宜上「酸化狭窄構造体」ともいう。例えば、非特許文献1及び非特許文献2参照)が良く用いられている。
また、非特許文献3には、780nm帯のVCSELアレイ(面発光レーザアレイ)を用いたプリンタが開示されている。
また、特許文献1には、共振器の長さで定まる発振波長と活性層の組成で定まる利得ピーク波長との差分(ディチューニング量)が所定温度で所定量あり、所定温度よりも高い温度範囲内で発振波長と利得ピーク波長が一致する面発光レーザ素子が開示されている。
また、特許文献2には、マルチスポット光源を有するマルチスポット画像形成装置が開示されている。
特開2004−319643号公報 特開平11−48520号公報 K.D.Choquette、K.L.Lear、R.P.Schneider,Jr.、K.M.Geib、「Cavity characteristics of selectively oxidized vertical−cavity lasers」、Applied Physics Letters、vol.66、No.25、pp.3413−3415、1995 K.D.Choquette、R.P.Schneider,Jr.、K.L.Lear、K.M.Geib、「Low threshold voltage vertical−cavity lasers fabricated by selective oxidation」、Electronics Letters、No.24、Vol.30、pp.2043−2044、1994 H.Nakayama、T.Nakamura、M.Funada、Y.Ohashi、M.Kato、「780nm VCSELs for Home Networks and Printers」、Electronic Components and Technology Conference Proceedings、54th、Vol.2、June、2004、pp.1371−1375
電子写真などでは、光源に駆動電流を供給したときの、光源の光出力の応答波形(光出力の時間変化、以下では、「光波形」ともいう)における立ち上がりの挙動は、画像品質に極めて大きな影響を与える。例えば、光波形における立ち上がり時間は勿論のこと、立ち上がりの初期において光出力が一定光量に達した後に、光量が僅かに変動しても画像の品質を低下させるおそれがある。
これは、光波形の立ち上がり時及び立下り時に形成されるのが、いずれも画像の輪郭部分であり、特に立ち上がり時、及び略立ち上がったとみなせる状態から暫くの間で光量が変化すると画像の輪郭が不明瞭となり、視覚的に鮮明さを欠く画質となるからである。
例えば、A4用紙幅(縦)約300mmの1ラインを走査するのに要する時間が300μsであれば、1μsの時間に約1mm幅が走査される。画像濃度の変動に対して、人の目の視覚感度が最も高くなる幅は1〜2mmであると言われている。そこで、約1mm幅において画像濃度が変動すると、その濃度変化は人の目で検出されるに十分なものとなって、輪郭が不鮮明な印象を与えることになる。
図34は、酸化狭窄構造体を有する面発光レーザ素子を、パルス幅500μs、デューティ50%(パルス周期1ms)のパルス条件で駆動したときの光波形を示したものである。図34に示されるように、比較的長い時間スケールで見ると、光出力は立ち上がり直後に一度ピークを示した後、光出力が低下し安定になっている。この光出力の変化は、面発光レーザ素子の自己発熱によるものであり、一般的に「ドループ特性」と呼ばれている。
ところで、発明者らが詳細な検討を行ったところ、図34における光波形の立ち上がり近傍を拡大した図35に示されるように、短い時間スケールで見てみると、「ドループ特性」とは異なる光出力の変化が生じているという新しい知見を得た。
図35では、光出力は、10ns経過しても立ち上がった状態とならず、約200ns経過すると略立ち上がった状態となっているが、その後1μs程度までの時間の間に次第に増加する様子が見られている。このような現象(特性)は、今回発明者らによって新たに見出されたものである。本明細書では、このような特性を「負のドループ特性」と呼ぶこととする。なお、従来の端面発光レーザ素子では、このような「負のドループ特性」は、見られることはない。
発明者らは、「負のドループ特性」に注目して、その原因を詳しく検討したところ、この現象は、酸化狭窄構造体における横モードの光閉じ込め強さと密接に関連していることがわかった。また、「負のドループ特性」が抑制された面発光レーザ素子、すなわち、「負のドループ特性」の良い面発光レーザ素子は、寿命が短い場合があることがわかった。
本発明は、上述した発明者等の得た新規知見に基づいてなされたもので、第1の観点からすると、基板に対して垂直方向に光を射出する面発光レーザ素子であって、活性層を含む共振器構造体と;前記共振器構造体を挟んで設けられ、アルミニウムを含む被選択酸化層の一部が酸化されて生成された酸化物を少なくとも含む酸化物が電流通過領域を取り囲み、注入電流と発振光の横モードを同時に閉じこめることができる狭窄構造体をその中に含む半導体分布ブラッグ反射鏡と;を備え、前記被選択酸化層の厚さは少なくとも25nmであり、前記電流通過領域を取り囲んでいる酸化物における最も厚い部分の厚さは110nm以下であり、発振の閾値電流と温度との関係において、発振の閾値電流が最小となるときの温度が25℃以下であることを特徴とする面発光レーザ素子である。
これによれば、寿命を短くすることなく、パルス周期に関係なく「負のドループ特性」を抑制することが可能となる。
本発明は、第2の観点からすると、本発明の面発光レーザ素子が集積された面発光レーザアレイである。
これによれば、本発明の面発光レーザ素子が集積されているため、寿命を短くすることなく、パルス周期に関係なく「負のドループ特性」を抑制することが可能となる。
本発明は、第3の観点からすると、光によって被走査面を走査する光走査装置であって、本発明の面発光レーザ素子を有する光源と;前記光源からの光を偏向する偏向器と;前記偏向器で偏向された光を前記被走査面上に集光する走査光学系と;を備える第1の光走査装置である。
本発明は、第4の観点からすると、光によって被走査面を走査する光走査装置であって、本発明の面発光レーザアレイを有する光源と;前記光源からの光を偏向する偏向器と;前記偏向器で偏向された光を前記被走査面上に集光する走査光学系と;を備える第2の光走査装置である。
上記各光走査装置によれば、本発明の面発光レーザ素子あるいは本発明の面発光レーザアレイを有しているため、結果として、高精度の光走査を行うことが可能となる。
本発明は、第5の観点からすると、少なくとも1つの像担持体と;前記少なくとも1つの像担持体に対して画像情報が含まれる光を走査する少なくとも1つの本発明の光走査装置と;を備える画像形成装置。
これによれば、少なくとも1つの本発明の光走査装置を備えているため、高品質の画像を形成することが可能となる。
以下、本発明の一実施形態を図1〜図29に基づいて説明する。図1には、本発明の一実施形態に係るレーザプリンタ1000の概略構成が示されている。
このレーザプリンタ1000は、光走査装置1010、感光体ドラム1030、帯電チャージャ1031、現像ローラ1032、転写チャージャ1033、除電ユニット1034、クリーニングユニット1035、トナーカートリッジ1036、給紙コロ1037、給紙トレイ1038、レジストローラ対1039、定着ローラ1041、排紙ローラ1042、排紙トレイ1043、通信制御装置1050、及び上記各部を統括的に制御するプリンタ制御装置1060などを備えている。なお、これらは、プリンタ筐体1044の中の所定位置に収容されている。
通信制御装置1050は、ネットワークなどを介した上位装置(例えばパソコン)との双方向の通信を制御する。
感光体ドラム1030は、円柱状の部材であり、その表面には感光層が形成されている。すなわち、感光体ドラム1030の表面が被走査面である。そして、感光体ドラム1030は、図1における矢印方向に回転するようになっている。
帯電チャージャ1031、現像ローラ1032、転写チャージャ1033、除電ユニット1034及びクリーニングユニット1035は、それぞれ感光体ドラム1030の表面近傍に配置されている。そして、感光体ドラム1030の回転方向に沿って、帯電チャージャ1031→現像ローラ1032→転写チャージャ1033→除電ユニット1034→クリーニングユニット1035の順に配置されている。
帯電チャージャ1031は、感光体ドラム1030の表面を均一に帯電させる。
光走査装置1010は、帯電チャージャ1031で帯電された感光体ドラム1030の表面に、上位装置からの画像情報に基づいて変調された光束を照射する。これにより、画像情報に対応した潜像が感光体ドラム1030の表面に形成される。ここで形成された潜像は、感光体ドラム1030の回転に伴って現像ローラ1032の方向に移動する。なお、この光走査装置1010の構成については後述する。
トナーカートリッジ1036にはトナーが格納されており、該トナーは現像ローラ1032に供給される。
現像ローラ1032は、感光体ドラム1030の表面に形成された潜像にトナーカートリッジ1036から供給されたトナーを付着させて画像情報を顕像化させる。ここでトナーが付着した潜像(以下では、便宜上「トナー像」ともいう)は、感光体ドラム1030の回転に伴って転写チャージャ1033の方向に移動する。
給紙トレイ1038には記録紙1040が格納されている。この給紙トレイ1038の近傍には給紙コロ1037が配置されており、該給紙コロ1037は、記録紙1040を給紙トレイ1038から1枚づつ取り出し、レジストローラ対1039に搬送する。該レジストローラ対1039は、給紙コロ1037によって取り出された記録紙1040を一旦保持するとともに、該記録紙1040を感光体ドラム1030の回転に合わせて感光体ドラム1030と転写チャージャ1033との間隙に向けて送り出す。
転写チャージャ1033には、感光体ドラム1030の表面上のトナーを電気的に記録紙1040に引きつけるために、トナーとは逆極性の電圧が印加されている。この電圧により、感光体ドラム1030の表面のトナー像が記録紙1040に転写される。ここで転写された記録紙1040は、定着ローラ1041に送られる。
定着ローラ1041では、熱と圧力とが記録紙1040に加えられ、これによってトナーが記録紙1040上に定着される。ここで定着された記録紙1040は、排紙ローラ1042を介して排紙トレイ1043に送られ、排紙トレイ1043上に順次スタックされる。
除電ユニット1034は、感光体ドラム1030の表面を除電する。
クリーニングユニット1035は、感光体ドラム1030の表面に残ったトナー(残留トナー)を除去する。残留トナーが除去された感光体ドラム1030の表面は、再度帯電チャージャ1031に対向する位置に戻る。
次に、前記光走査装置1010の構成について説明する。
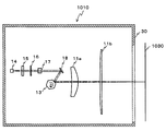
この光走査装置1010は、一例として図2に示されるように、偏向器側走査レンズ11a、像面側走査レンズ11b、ポリゴンミラー13、光源14、カップリングレンズ15、開口板16、アナモルフィックレンズ17、反射ミラー18、及び走査制御装置(図示省略)などを備えている。そして、これらは、ハウジング30の中の所定位置に組み付けられている。
なお、以下では、便宜上、主走査方向に対応する方向を「主走査対応方向」と略述し、副走査方向に対応する方向を「副走査対応方向」と略述する。
カップリングレンズ15は、光源14から射出された光束を略平行光とする。
開口板16は、開口部を有し、カップリングレンズ15を介した光束のビーム径を規定する。
アナモルフィックレンズ17は、開口板16の開口部を通過した光束を、反射ミラー18を介してポリゴンミラー13の偏向反射面近傍に副走査対応方向に関して結像する。
光源14とポリゴンミラー13との間の光路上に配置される光学系は、偏向器前光学系とも呼ばれている。本実施形態では、偏向器前光学系は、カップリングレンズ15と開口板16とアナモルフィックレンズ17と反射ミラー18とから構成されている。
ポリゴンミラー13は、一例として内接円の半径が18mmの6面鏡を有し、各鏡がそれぞれ偏向反射面となる。このポリゴンミラー13は、副走査対応方向に平行な軸の周りを等速回転しながら、反射ミラー18からの光束を偏向する。
偏向器側走査レンズ11aは、ポリゴンミラー13で偏向された光束の光路上に配置されている。
像面側走査レンズ11bは、偏向器側走査レンズ11aを介した光束の光路上に配置されている。そして、この像面側走査レンズ11bを介した光束が、感光体ドラム1030の表面に照射され、光スポットが形成される。この光スポットは、ポリゴンミラー13の回転に伴って感光体ドラム1030の長手方向に移動する。すなわち、感光体ドラム1030上を走査する。このときの光スポットの移動方向が「主走査方向」である。また、感光体ドラム1030の回転方向が「副走査方向」である。
ポリゴンミラー13と感光体ドラム1030との間の光路上に配置される光学系は、走査光学系とも呼ばれている。本実施形態では、走査光学系は、偏向器側走査レンズ11aと像面側走査レンズ11bとから構成されている。なお、偏向器側走査レンズ11aと像面側走査レンズ11bの間の光路上、及び像面側走査レンズ11bと感光体ドラム1030の間の光路上の少なくとも一方に、少なくとも1つの折り曲げミラーが配置されても良い。
光源14は、一例として図3に示されるように、面発光レーザ素子100を有している。なお、本明細書では、レーザ発振方向をZ軸方向とし、Z軸方向に垂直な面内における互いに直交する2つの方向をX軸方向及びY軸方向として説明する。
面発光レーザ素子100は、設計上の発振波長が780nm帯の面発光レーザ素子であり、基板101、バッファ層102、下部半導体DBR103、下部スペーサ層104、活性層105、上部スペーサ層106、上部半導体DBR107、コンタクト層109などを有している。
基板101は、n−GaAs単結晶基板である。
バッファ層102は、基板101の+Z側の面上に積層され、n−GaAsからなる層である。
下部半導体DBR103は、バッファ層102の+Z側に積層され、n−Al0.9Ga0.1Asからなる低屈折率層とn−Al0.3Ga0.7Asからなる高屈折率層のペアを40.5ペア有している。そして、各屈折率層の間には、電気抵抗を低減するため、一方の組成から他方の組成へ向かって組成を徐々に変化させた厚さ20nmの組成傾斜層が設けられている。なお、各屈折率層はいずれも、隣接する組成傾斜層の1/2を含んで、発振波長をλとするとλ/4の光学厚さとなるように設定されている。ところで、光学厚さとその層の実際の厚さについては以下の関係がある。光学厚さがλ/4のとき、その層の実際の厚さdは、d=λ/4N(但し、Nはその層の媒質の屈折率)である。
下部スペーサ層104は、下部半導体DBR103の+Z側に積層され、ノンドープのAl0.6Ga0.4Asからなる層である。
活性層105は、下部スペーサ層104の+Z側に積層され、Al0.15Ga0.85As/Al0.6Ga0.4Asの多重量子井戸活性層である。
上部スペーサ層106は、活性層105の+Z側に積層され、ノンドープのAl0.6Ga0.4Asからなる層である。
下部スペーサ層104と活性層105と上部スペーサ層106とからなる部分は、共振器構造体とも呼ばれており、その厚さが1波長の光学厚さとなるように設定されている。なお、活性層105は、高い誘導放出確率が得られるように、電界の定在波分布(以下では、便宜上、単に「定在波分布」ともいう)における腹に対応する位置である共振器構造体の中央に設けられている。この共振器構造体は、下部半導体DBR103と上部半導体DBR107とに挟まれている。
上部半導体DBR107は、図4に示されるように、上部スペーサ層106の+Z側に積層され、低屈折率層と高屈折率層のペアを26ペア有している。そして、各屈折率層の間には、電気抵抗を低減するため、一方の組成から他方の組成へ向かって組成を徐々に変化させた厚さ20nmの組成傾斜層が設けられている。
上部半導体DBR107における低屈折率層の1つには、p−AlAsからなる被選択酸化層108が厚さ28nmで挿入されている。この被選択酸化層108の挿入位置は、上部スペーサ層106から光学的に5λ/4離れている。そして、被選択酸化層108が含まれる低屈折率層は、隣接する組成傾斜層の1/2を含んで、3λ/4の光学厚さとなるように設定されている。
また、被選択酸化層108、及び被選択酸化層108が含まれる低屈折率層の+Z側の組成傾斜層は、ともに定在波分布の節に対応する位置となるように設定されている。
そして、上部半導体DBR107における被選択酸化層108が含まれる低屈折率層を除く各屈折率層はいずれも、隣接する組成傾斜層の1/2を含んで、λ/4の光学厚さとなるように設定されている。
被選択酸化層108の−Z側及び+Z側には、p−Al0.83Ga0.17Asからなる厚さ20nmの中間層107mが設けられている。
被選択酸化層108が含まれる低屈折率層における各中間層107mに隣接する層107c(以下では、「低屈折率層107c」という)は、p−Al0.75Ga0.25Asからなる層である。
上部半導体DBR107における被選択酸化層108が含まれる低屈折率層以外の低屈折率層107aは、p−Al0.9Ga0.1Asからなる層である。また、上部半導体DBR107における高屈折率層107bは、p−Al0.1Ga0.9Asからなる層である。
すなわち、被選択酸化層108は、上部半導体DBR107の低屈折率層の一部をなし、被選択酸化層108が含まれる低屈折率層は、被選択酸化層108に隣接する2つの中間層107mと、各中間層107mに隣接する2つの低屈折率層107cとを有している。そして、中間層107mにおけるAlの含有率は、被選択酸化層108におけるAlの含有率よりも17%小さい。また、低屈折率層107cにおけるAlの含有率は、被選択酸化層108におけるAlの含有率よりも25%小さい。
コンタクト層109は、上部半導体DBR107の+Z側に積層され、p−GaAsからなる層である。
なお、このように基板101上に複数の半導体層が積層されたものを、以下では、便宜上「積層体」ともいう。
次に、面発光レーザ素子100の製造方法について簡単に説明する。
(1)上記積層体を有機金属気相成長法(MOCVD法)あるいは分子線エピタキシャル成長法(MBE法)による結晶成長によって作成する。
ここでは、III族の原料には、トリメチルアルミニウム(TMA)、トリメチルガリウム(TMG)、トリメチルインジウム(TMI)を用い、V族の原料にはアルシン(AsH)ガスを用いている。また、p型ドーパントの原料には四臭化炭素(CBr)を用い、n型ドーパントの原料にはセレン化水素(HSe)を用いている。
(2)積層体の表面に一辺が20μmの正方形状のレジストパターンを形成する。
(3)Clガスを用いるECRエッチング法で、正方形状のレジストパターンをフォトマスクとして四角柱状のメサを形成する。ここでは、エッチングの底面は下部半導体DBR103中に位置するようにした。
(4)フォトマスクを除去する。
(5)積層体を水蒸気中で熱処理し、Alを選択的に酸化する。ここでは、被選択酸化層208及び中間層107m中のAlが選択的に酸化される。そして、メサの中央部に、酸化層108aによって囲まれた酸化されていない領域108bを残留させる。これにより、発光部の駆動電流の経路をメサの中央部だけに制限する、酸化狭窄構造体が形成される。上記酸化されていない領域108bが電流通過領域(電流注入領域)である。ここでは、種々の予備実験の結果から、電流通過領域の一辺が略4.5μmとなるように、熱処理の条件(保持温度、保持時間等)を適切に選択している。具体的には、保持温度を360℃、保持時間を33分とした。
(6)気相化学堆積法(CVD法)を用いて、SiNあるいはSiOからなる保護層111を形成する。
(7)ポリイミド112で平坦化する。
(8)メサ上部にP側電極コンタクトの窓開けを行う。ここでは、フォトレジストによるマスクを施した後、メサ上部の開口部を露光してその部分のフォトレジストを除去した後、BHFにてポリイミド112及び保護層111をエッチングして開口する。
(9)メサ上部の光出射部となる領域に一辺8μmの正方形状のレジストパターンを形成し、p側の電極材料の蒸着を行なう。p側の電極材料としてはCr/AuZn/Auからなる多層膜、もしくはTi/Pt/Auからなる多層膜が用いられる。
(10)光出射部の電極材料をリフトオフし、p側の電極113を形成する。
(11)基板101の裏側を所定の厚さ(例えば100μm程度)まで研磨した後、n側の電極114を形成する。ここでは、n側の電極114はAuGe/Ni/Auからなる多層膜である。
(12)アニールによって、p側の電極113とn側の電極114のオーミック導通をとる。これにより、メサは発光部となる。
(13)チップ毎に切断する。
このようにして製造された面発光レーザ素子100に、パルス周期が1ms、パルス幅が500μsの方形波電流パルスを供給したとき、供給後10nsでの光出力をP1、供給後1μsでの光出力をP2とすると、(P1−P2)/P2=−0.05であった。なお、以下では、(P1−P2)/P2×100の値(単位は%)を「ドループ率」ともいう。そこで、本実施形態に係る面発光レーザ素子100では、ドループ率は、−5%である。
面発光レーザ素子において、被選択酸化層108の厚さとドループ率との関係が、図5に示されている。これによると、ドループ率を−10%以上とするには、被選択酸化層108の厚さを25nm以上にする必要がある。なお、ドループ率が−10%よりも小さい面発光レーザ素子を用いると、レーザプリンタから出力される画像は、肉眼で観察したときに、高い頻度で、少なくとも一部において輪郭が不鮮明となる。また、ばらつき等を考慮すると、被選択酸化層108の厚さは28nm以上がより好ましく、30nm以上とすると画像品質に対してほとんど影響がなくなる。
ところで、発明者らは、酸化狭窄構造体を有する従来の面発光レーザ素子を、種々の方形波電流パルスで駆動したときの光波形を詳細に検討した。図6は、パルス周期1ms、デューティ50%のときの光波形であり、図7は、パルス周期100ns、デューティ50%のときの光波形である。
図6の光波形を見ると、光出力は、立ち上がった後、次第に増加し、「負のドループ特性」が現れている。また、60ns後においても、光出力が100%(1.5mW)に達していない。一方、図7の光波形では、立ち上がり後の光出力は安定し、「負のドループ特性」は見られない。
このように、従来の面発光レーザ素子に方形波電流パルスを供給したときに、同じデューティであっても、パルス周期が長い場合に「負のドループ特性」が見られ、短い場合には「負のドループ特性」は見られないことがわかった。
パルス周期が異なると、面発光レーザ素子の内部温度が異なると考えられる。つまり、パルス周期が長い場合には、発熱している時間及び冷却される時間がいずれも長いため、面発光レーザ素子の内部温度は大きく変動する。一方、パルス周期が短い場合には、連続した冷却時間を十分に取れないため、面発光レーザ素子の内部温度の変動は小さく、平均的に高めの温度で安定することになる。つまり、「負のドループ特性」が見られる駆動条件では、面発光レーザ素子の内部温度が大きく変動しており、「負のドループ特性」は面発光レーザ素子の内部温度に起因した現象であると考えることができる。
面発光レーザ素子の内部温度が変化すると、発振モードの横方向に関する電界強度分布(以下、便宜上「横モード分布」ともいう)が変化する。
面発光レーザ素子の横モード分布は、次のヘルムホルツ方程式(式(1)、式(2))から電界強度分布を計算することによって見積もることができる。
Figure 2010010645
Figure 2010010645
但し、上記(1)式及び(2)式は解析的に解くことが難しいため、通常は、計算機を用いた有限要素法による数値解析が行われる。有限要素法のソルバーとして利用できるものは種々あり、市販のVCSELシミュレータ(例えば、LASER MOD)を用いることができる。
一例として、780nm帯の面発光レーザ素子における基本横モード分布を算出する。
計算に用いた面発光レーザ素子では、活性層を厚さ8nm/8nmのAl0.12Ga0.88As/Al0.3Ga0.7Asの3重量子井戸構造とし、各スペーサ層をAl0.6Ga0.4Asとしている。また、下部半導体DBRはAl0.3Ga0.7As(高屈折率層)/AlAs(低屈折率層)の40.5ペアからなり、上部半導体DBRはAl0.3Ga0.7As(高屈折率層)/Al0.9Ga0.1As(低屈折率層)の24ペアからなっている。
そして、この面発光レーザ素子は、直径25μmの円柱メサ形状を有し、メサエッチングは、下部半導体DBRと下部スペーサ層の界面まで行われているとし、エッチングが行われた領域は大気が占めるものとした。すなわち、単純なエッチドメサ構造とした。下部半導体DBRにおけるメサエッチングされていない部分の直径は35μmであり、これが計算で考慮されている最大の横幅である。また、被選択酸化層の材料はAlAsとし、被選択酸化層の位置は、上部半導体DBRにおける光学厚さ3λ/4の低屈折率層中であって、電界強度分布に関して活性層から数えて3番目の節の位置としている。
なお、計算では活性層の利得、及び半導体材料による吸収は考慮せず、構造で決まる固有モード分布のみを求めている。そして、面発光レーザ素子の温度は300Kで均一であるとしている。また、各材料の屈折率は、図8に示した値を用いた。
そして、酸化狭窄構造体における酸化層の厚さを30nm、電流通過領域の直径(以下では、「酸化狭窄径」ともいう)を4μmとしたときの、活性層における基本横モード分布の計算結果が図9に示されている。図9における横軸xはメサの半径方向(横方向)の中心からの位置を表しており、x=0がメサの中心部に対応している。なお、以下では、便宜上、酸化狭窄構造体の酸化層を、単に「酸化層」ともいう。
酸化層の屈折率は約1.6であり、周辺の半導体層の屈折率(約3)よりも小さいため、面発光レーザ素子の内部には、横方向にいわゆる作り付けの有効屈折率差Δneffが存在する(図10参照)。
この有効屈折率差Δneffによって、基本横モード等の発振モードは横方向に閉じ込められる。このとき、発振モードの横方向の広がりは、△neffの大きさによって決まり、△neffが大きい程、横方向の広がりは小さい(図11(A)及び図11(B)参照)。
この面発光レーザ素子に電流(駆動電流)を注入すると、電流がメサ中央部分に集中し、ジュール熱や、活性層領域における非発光再結合等によって、特にメサ中央部の活性層付近の温度が周辺領域に対して局所的に上昇する。半導体材料は、温度が上昇するとバンドギャップエネルギーが減少し、屈折率が大きくなる性質を有している。このため、メサ中央部の温度が局所的に上昇すると、該中央部分の屈折率が周辺領域に対して大きくなり、横方向の光閉じ込めが強くなる。
図11(A)に示されるように、作り付けの有効屈折率差Δneffが小さい場合に、メサ中央部の温度が局所的に上昇すると、図12(A)に示されるように、有効屈折率差Δneffの変化が大きくなり、横モード分布が大きく変化する。この場合には、電流注入が行われている利得領域と横モードとの重なりが増し、横方向の光閉じ込め係数Γlが増大する。この結果、利得領域での光強度が増加し、誘導放出レートが増大し、発振の閾値電流(以下では、便宜上単に「閾値電流」ともいう)が低くなる。
このように、作り付けの有効屈折率差Δneffが小さく、室温での横方向の光閉じ込めが不十分な面発光レーザ素子では、内部温度が上昇すると、これに応じてI−L曲線は全体的に低電流側にシフトし、発光効率が向上する(図13参照)。この場合には、同じ駆動電流値における光出力は時間とともに増大し、「負のドループ特性」が見られる(図14参照)。図13には、内部温度が上昇する前の時刻t=t秒に予測されるI−L特性と、パルス状に駆動電流が供給されて内部温度が十分上昇した時刻t=t秒に予測されるI−L特性が示されている。温度上昇に伴い発光効率が向上して閾値電流が低減するので、t秒におけるI−L特性は、t秒に対して低電流側にシフトしたものになる。駆動電流の値Iopは一定であるから、t秒の場合の方が光出力は大きくなる。この場合の光波形が図14に示されている。
一方、図11(B)に示されるように、作り付けの有効屈折率差Δneffが大きい場合に、メサ中央部の温度が局所的に上昇しても、図12(B)に示されるように、有効屈折率差Δneffの変化は小さく、横モード分布はあまり変化しない。
このように、作り付けの有効屈折率差Δneffが大きく、室温での横方向の光閉じ込めが十分大きな面発光レーザ素子では、内部温度が上昇しても、横モード分布は安定しており、発光効率の変化は殆ど起こらない。この場合には、同じ駆動電流値における光出力は時間が経過してもほぼ一定であり、「負のドループ特性」は見られない。
横方向の光閉じ込めの強さを表す指標として、横方向の光閉じ込め係数(以下では、便宜上、単に「光閉じ込め係数」という)がある。この光閉じ込め係数の値が大きいほど、電界強度分布は利得領域に集中した鋭い分布になっている。言い換えると、室温での光閉じ込め係数の値が大きいほど、酸化狭窄構造体により十分に閉じ込めがなされており、利得領域の局所的な温度変化に対して横モード分布が安定であることを意味している。
ここでは、光閉じ込め係数を「面発光レーザ素子の中心を通るXY断面における電界の積分強度」に対する「電流通過領域と同じ半径領域中における電界の積分強度」の割合とし、上記のようにして算出された基本横モード分布に基づいて、次の(3)式を用いて算出した。ここで、aは電流通過領域の半径に相当する。
Figure 2010010645
上記780nm帯の面発光レーザ素子における室温での基本横モードの光閉じ込め係数を、種々の被選択酸化層の厚さ及び酸化狭窄径について計算した結果が、図15に示されている。光閉じ込め係数は、被選択酸化層の厚さ及び酸化狭窄径に依存し、被選択酸化層の厚さが厚いほど、酸化狭窄径が大きいほど、高い値をとる。
図16は、光閉じ込め係数を縦軸、被選択酸化層の厚さを横軸にして図15の計算結果を図示したものである。被選択酸化層の厚さの増加に対する光閉じ込め係数の変化を見ると、酸化狭窄径が異なっていても、被選択酸化層の厚さが25nm以下の領域でその変化が急であり、25nm以上からは飽和傾向を示すことが分かる。
実際に、被選択酸化層の厚さ及び酸化狭窄径がそれぞれ異なる複数の面発光レーザ素子を作製し、それらのドループ特性の評価を行った結果が図17に示されている。図17では、ドループ率が−10%以上となったものを「○」、−10%よりも小さくなったものを「×」として表している。
図15と図17から、室温における基本横モードの光閉じ込め係数が0.9以上となる素子構造では、−10%以上のドループ率が得られていることが分かる。また、一般的に良く用いられる酸化狭窄径は、4.0μm〜5.0μmの範囲内であり、図15に示されるように、被選択酸化層の厚さが25nm以上であれば、0.9以上の光閉じ込め係数を確保することができる。
図18には、室温における基本横モードの光閉じ込め係数が約0.983となる面発光レーザ素子の光波形が示されている。このときのドループ率は約−4.3%であった。
また、図19には、室温における基本横モードの光閉じ込め係数が約0.846となる面発光レーザ素子の光波形が示されている。このときのドループ率は約−62.8%であった。
このように、室温における基本横モードの光閉じ込め係数を0.9以上とすることで、「負のドループ特性」を抑制することができる。
以上のように、基本横モードの光閉じ込め係数は、主として酸化狭窄径と被選択酸化層の厚さの2つに依存して決まるので、酸化狭窄径と被選択酸化層の厚さの組み合わせをどのように選ぶかは重要である。
発明者らが様々なフィッティング方式を試行したところ、図15の計算結果は、酸化狭窄径(d[μm]とする)と、被選択酸化層の厚さ(t[nm]とする)を変数として、これらの2次形式で概ねフィッティングすることが可能であった。次の(4)式は、基本横モードの光閉じ込め係数(Γとする)を、酸化狭窄径dと被選択酸化層の厚さtの2次形式でフィッティングした結果であり、d、tに図15の具体的な値を代入することにより、概ね1%の誤差で図15の基本横モードの光閉じ込め係数を得ることができる。
Γ=(−2.54d−0.14t−0.998d・t+53.4d+12.9t−216) ……(4)
上記の様に、「負のドループ特性」を効果的に抑制するためには、光閉じ込め係数を0.9以上に設定する必要があるが、ここで光閉じ込め係数が0.9以上となる酸化狭窄径(d)と、被選択酸化層の厚さ(t)の組み合わせ(範囲)は、上記(4)式より求めることができる。つまり、この範囲とは、Γ(d,t)≧0.9なる不等式を満たすdとtの組み合わせであり、より具体的には次の(5)式のように表される。
−2.54d−0.14t−0.998d・t+53.4d+12.9t−216≧0.9 ……(5)
そこで、上記(5)式が成立するように酸化狭窄径(d)と、被選択酸化層の厚さ(t)を選ぶことにより、基本横モードの光閉じ込め係数は0.9以上となり、「負のドループ特性」が抑制された素子を得ることができる。
ところで、△neffがドループ特性に影響を与えることはこれまで知られておらず、本願の発明者らにより今回初めて明らかになった。
一般に、室温での有効屈折率差△neffは、被選択酸化層の厚さが厚いほど、また被選択酸化層の位置が活性層に近いほど、大きくなる。なお、これら2つの影響度を比較すると、被選択酸化層の厚さの影響度の方がはるかに大きい。
なお、Alを選択酸化する工程(上記工程(5))では、酸化は基板面に対して平行方向(ここでは、XY面内方向)のみではなく、垂直方向(ここでは、Z軸方向)へも僅かながら進行する。従って、選択酸化が終わったメサの断面を電子顕微鏡で観察すると、酸化層の厚さは一様ではなく、メサ外周部(酸化開始部)における厚さが厚く、酸化終了部が薄くなっている。但し、酸化終了部からメサの外周方向に向かって2〜3μmまでの領域では、酸化層の厚さは被選択酸化層の厚さとほぼ一致している。発振光は主に酸化終了部における有効屈折率差の影響を受けるので、上記工程(1)において被選択酸化層の厚さを所望の値(25nm以上)に制御することにより、酸化層における酸化終了部の厚さを所望の値にすることができる。
図20は、室温(27℃)における基本横モードの光閉じ込め係数が約0.788となる構造(酸化狭窄径:4μm、被選択酸化層の厚さ:20nm)の面発光レーザ素子において、自己発熱により基本横モード分布がどう変化するかを示したものである。ここで、室温状態では面発光レーザ素子の全領域で27℃であるとして計算を行っている。また、動作状態では活性層の電流注入領域の温度が顕著に上昇するものと考えられるので、共振領域(1対の半導体DBRに挟まれたスぺーサ層と活性層からなる領域)における酸化層によって規定される電流注入部(図21参照)のみが60℃であるとして計算を行っている。
その結果、共振領域の電流注入部のみの温度を60℃とした場合は、27℃の場合に比べて基本横モード分布は狭くなり大きな変化が見られた。そして、共振領域の電流注入部のみを60℃とした場合の基本横モードの光閉じ込め係数は約0.987であり、27℃の場合の基本横モードの光閉じ込め係数に対する変化率は25%である。このように、自己発熱に対して基本横モード分布が安定でないと、「負のドループ特性」が見られることになるので好ましくない。
図22は、室温における基本横モードの光閉じ込め係数が約0.973となる構造(酸化狭窄径:4μm、被選択酸化層の厚さ:30nm)の面発光レーザ素子において、自己発熱により基本横モード分布がどう変化するかを示したものである。共振領域の電流注入部のみの温度を60℃とした場合、27℃の場合に比べて基本横モード分布の変化は僅かである。そして、共振領域の電流注入部のみを60℃とした場合の横モードの光閉じ込め係数は約0.994であり、27℃の場合の基本横モードの光閉じ込め係数に対する変化率は2.2%である。
図23は、素子構造が互いに異なる複数の面発光レーザ素子に対して、室温における基本横モードの閉じ込め係数(Γl)と、共振領域の電流注入部の温度のみを60℃とした場合の基本横モードの光閉じ込め係数(Γl’)の比を計算した結果である。素子構造が互いに異なる複数の面発光レーザ素子を実際に作製し、それぞれの基本横モードの閉じ込め係数を測定したところ、Γl’/Γlの値が1.1以下(変化率10%以下)のものではドループ係数が−5%以上であり、良好な光波形を得ることができた。
一方、Γl’/Γlの値が1.1を超えるものでは、明らかに「負のドループ特性」が見られ、Γl’/Γlの値が大きくなるにつれてドループ率が小さくなる結果となった。
すなわち、室温(27℃)における基本横モードの光閉じ込め係数(Γl)に対する共振領域の電流注入部の温度のみを60℃とした場合の基本横モードの光閉じ込め係数(Γl’)の変化率を10%以内に設定することで、更に「負のドループ特性」を抑制することができる。
本実施形態に係る面発光レーザ素子100では、室温(27℃)での基本横モードの光閉じ込め係数は約0.96であった。また、共振器構造体における電流注入部の温度のみを60℃にしたときの光閉じ込め係数は約0.99であった。すなわち、光閉じ込め係数の変化率は3.0%であった。
また、面発光レーザ素子の内部温度が変化すると、ディチューニング量も変化する。そこで、次に、ディチューニング量と「負のドループ特性」との関係について説明する。
端面発光型レーザ素子では、共振縦モードが密に存在しているため、レーザ発振はゲインピーク波長λgにおいて生じる。一方、面発光レーザ素子では、通常、共振波長が1波長であり、半導体DBRの反射帯域中には単一縦モードしか存在し得ない。また、レーザ発振は共振波長λrにおいて生じるので、面発光レーザ素子の発光特性は、共振波長λrと活性層のゲインピーク波長λgの関係に依存する。
ここでは、ディチューニング量△λを次の(6)式で定義する。λrは共振波長であり、λgはゲインピーク波長である。なお、添え字0は、室温において閾値電流でCW(Continuous Wave Oscillation)駆動させた場合の値を意味している。以下、添え字0がない場合は、これ以外の場合、例えば閾値電流以上で動作させた場合の値などを意味する。
△λ=λr−λg ……(6)
図24(A)には、△λ>0の場合が示され、図24(B)には、△λ<0の場合が示されている。
発振波長は、ゲインピーク波長ではなく、共振波長により決まるため、面発光レーザ素子のレーザ特性は、△λの正負及びその値に大きく依存する。例えば、室温における閾値電流は△λの絶対値が大きいほど高くなる傾向がある。
共振波長及びゲインピーク波長は、温度上昇に伴って、いずれも長波長側に変化する。この際、共振波長の変化は共振器構造体を構成する材料の屈折率の変化によって生じ、ゲインピーク波長の変化は活性層材料のバンドギャップエネルギーの変化によって生じる。但し、バンドギャップエネルギーの変化の割合は、屈折率の変化の割合よりも約一桁大きい。そこで、温度変化時の発光特性は、主にゲインピーク波長の変化量に依存する。なお、温度に対する共振波長の変化率は約0.05nm/Kであり、実質的に、温度変化による共振波長の変化は無視することができる。
面発光レーザ素子において、注入電流の変化等によって内部温度(活性層の温度)が上昇すると、ゲインピーク波長は長波長側へシフトする。そこで、△λ>0の場合(図24(A)参照)には、△λの絶対値(離調度)は一度減少し、その後増加する。
一般に、面発光レーザ素子では、ゲインピーク波長と共振波長が一致した状態が最も発振効率(発光効率)が高くなる。
△λ>0の場合に、素子温度(環境温度)を室温から上昇させて閾値電流を計測すると、閾値電流は素子温度の上昇とともに減少し始めることになる。そして、閾値電流は、ゲインピーク波長と共振波長が一致したときに最小値となり、さらに温度を高くすると上昇し始める。すなわち、室温よりも高温側に閾値電流が最小となる温度が存在することになる。
Δλ<0の場合(図21(B)参照)には、内部温度(活性層の温度)が上昇すると、Δλの絶対値は単に増加するのみであるから、素子温度を室温から上昇させて閾値電流を計測すると、閾値電流は素子温度の上昇とともに増加するのみとなる。
この場合、素子温度を室温から低下させると、ゲインピーク波長△λgは短波長側にシフトする。そこで、素子温度を室温から低下させて閾値電流を計測すると、閾値電流は減少し始め、ゲインピーク波長と共振波長が一致したときに最小となる。そして、更に温度を下げると閾値電流は増加し始めることになる。すなわち、Δλ<0の場合には、閾値電流が最小となる温度は室温より低温側に存在している。
△λが互いに異なる(△λ<0、△λ≒0、△λ>0)3つの素子の発振閾値電流を、素子温度(環境温度)を変えて計測した結果が一例として図25に示されている。図25における縦軸は、各温度における発振閾値電流(Ith)を25℃(室温)における発振閾値電流(Ith(25℃))で規格化した値である。図25から、△λ<0の場合には室温よりも低温側で、△λ≒0の場合には室温付近で、△λ>0の場合には室温より高い温度で閾値電流が最小となっていることが実際に確認できる。
従来の面発光レーザ素子では、高温、高出力動作状態での発光特性の劣化を防ぐため、通常は室温以上の温度で閾値電流が低くなるように、△λ>0と設定されている。
しかしながら、△λ>0に設定された従来の面発光レーザ素子を方形波電流パルスで駆動した場合に、内部温度の上昇に伴いI−L特性は低電流側にシフトし、閾値電流が低下するので、同じ駆動電流値における光出力は時間とともに増大する。つまり、「負のドループ特性」が発生することになる。
一方、△λ<0の場合には、内部温度の上昇に伴いI−L特性は高電流側にシフトするので、光出力の上昇は起こらない。つまり、「負のドループ特性」は発生しない。このように、「負のドループ特性」を抑制するには、酸化層の厚さ以外に、△λ<0に設定し、室温以上の温度で閾値電流が最小とならないようにする必要がある。
λを所望の値に設定するにはゲインピーク波長λgを知る必要がある。端面発光レーザ素子では、発振波長がゲインピーク波長に一致するので、発振波長からゲインピーク波長を知ることができる。ところが、面発光レーザ素子では、共振波長は構造によって決まるので端面発光レーザ素子のようにゲインピーク波長を見積もることが難しい。
このため、(1)同じ活性層を有する端面発光レーザ素子を作製して、室温における発振波長からゲインピーク波長を見積もる方法か、あるいは(2)同じ活性層を有するダブルへテロ構造を作製し、フォトルミネッセンス波長(PL波長)からゲインピーク波長を見積もる方法か、のいずれかがとられる。
上記(1)の方法をとる場合には、一例として、同じ活性層構造を持つストライプ幅40μm、共振器長500μmの酸化膜ストライプ型の端面発光レーザ素子を作製し、該端面発光レーザ素子の室温でのCW発振の閾値電流における波長をゲインピーク波長λgとして用いる。
また、上記(2)の方法をとる場合には、レーザ発振時の波長は、PL波長に対して長波長側にシフト(波長シフト)しているので、この分の調整が必要になる。上記波長シフトは、光励起、電流励起等の励起過程の違いや、電流励起の場合に電流によって発生する発熱の影響のためである。一般的に、端面発光レーザ素子での発振波長は、PL波長λPLに対して10nm程度、長波長となる。そこで、この場合の波長シフト量を10nmとする。
従って、PL波長を基準に考えると、上記(6)式は、次の(7)式となる。
△λ=λr0−λg0=λr0−(λPL+10)=λr0−λPL−10 ……(7)
上記波長シフト量10nmは、一般的な値であるが、使用している材料系に応じて変更しても良い。
Δλがそれぞれ異なる複数の面発光レーザ素子を作製し、各面発光レーザ素子における閾値電流が最小となる温度を求めた。その結果が図26に示されている。この図26から、実際に△λが0のときに、室温において閾値電流が最小となっていることが分かる。
次に、被選択酸化層の厚さがそれぞれ異なる(30、31、34nm)複数の面発光レーザ素子を作製し、各面発光レーザ素子における閾値電流が最小となる温度とドループ率を求めた。図27には、被選択酸化層の厚さ毎に、ドループ率と閾値電流が最小になる温度との関係が示されている。
図27において、先ず、被選択酸化層の厚さが同じ面発光レーザ素子に注目する。いずれの厚さにおいても、閾値電流が最小となる温度が25℃以下の面発光レーザ素子では、ドループ率の絶対値が小さく(0に近く)、また略一定となっている。一方、閾値電流が最小となる温度が25℃以上の面発光レーザ素子では、閾値電流が最小となる温度が高くなるにつれて、ドループ率が小さくなっている。
閾値電流が最小となる温度が室温より高温側にある面発光レーザ素子とは、電流注入により活性層の温度が上昇した際に発振効率が向上する素子であるから、既に説明したように「負のドループ特性」が顕著に現れている。さらに、閾値電流が最小となる温度が高い面発光レーザ素子ほど、電流注入初期での効率が悪いので通電後の効率向上の度合いが大きく、「負のドループ特性」が顕著に現れている。
次に、図27において、被選択酸化層の厚さの違いに注目する。閾値電流が最小となる温度が25℃以下の面発光レーザ素子では、被選択酸化層の厚さが厚いほどドループ率が0に近く、「負のドループ特性」が抑制されている。これは前述したように、被選択酸化層の厚さが厚いほど、酸化層による光閉じ込め係数が大きく、温度変化に対して基本横モードが安定するからである。
図27に示されている各面発光レーザ素子は、いずれも被選択酸化層の厚さが25nm以上であるため、閾値電流が最小となる温度が25℃以下の面発光レーザ素子では、ドループ率は−10%以上となり、「負のドループ特性」が効果的に抑制されている。
このように、ディチューニング量及び光閉じ込め係数に共通して言えるのは、「負のドループ特性」を抑制するためには、活性層の温度が上昇したときに、室温のときよりも、面発光レーザ素子の効率(発光効率)が向上しないように設定することが重要であるということである。
本実施形態に係る面発光レーザ素子100では、活性層のPL波長を772nmに設定し、室温でのディチューニング量△λを−2nmとし、約17℃のときに閾値電流が最小になるようにしている。
実際に閾値電流が最小となる温度を25℃以下に設定した上で、光閉じ込め係数が互いに異なる種々の面発光レーザ素子を作製し、詳細な検討を行ったところ、光閉じ込め係数が約0.9のときに、ドループ率は−5%程度であった。光閉じ込め係数をこれより増加させると、その増加に伴って、ドループ率は大きくなる結果となった。
一方、光閉じ込め係数が0.9より小さい面発光レーザ素子では、光閉じ込め係数が小さくなるほどドループ率が小さくなる傾向が見られ、ドループ率が−70%以下の面発光レーザ素子も見られた。
従って、ディチューニング量(Δλ)及び光閉じ込め係数の両方が上記の条件を満足していることが好ましい。
図28には、被選択酸化層の厚さを20nmとした場合の、メサ外周部での酸化層の厚さとドループ率との関係が示されている。なお、図28における同一のシンボルは同じロットであることを示している。また、ここでは中間層107mは含まれておらず、低屈折率層107cはAl0.83Ga0.17Asからなる層である。図28から、同一層構成であるにもかかわらず、メサ外周部での酸化層の厚さがロット毎にばらついているとともに、ドループ率が酸化層の厚さに関係していることがわかる。そして、メサ外周部での酸化層の厚さを極端に大きくすると、被選択酸化層の厚さが25nm未満であっても、所望のドループ率とすることが可能である。
しかしながら、メサ外周部での酸化層の厚さが極端に厚くなると、素子の寿命が短くなることがわかった。酸化層の最大厚さと寿命との関係が図29に示されている。この図29は、中間層107mが含まれておらず、低屈折率層107cがAl0.83Ga0.17Asからなる層である面発光レーザ素子が集積された面発光レーザアレイを複数ロット製造し、それぞれの酸化層の最大厚さ及び寿命を測定したものである。図29におけるシンボルの違いは製造ロットの違いを示している。また、各発光部の光出力が一定となるように駆動電流をフィードバック制御し、少なくとも1つの発光部の駆動電流が最初の値の120%以上となったときの経過時間を寿命としている。
特に、メサ外周部での酸化層の厚さが125nmの場合に、劣化が早くなっていることがわかった。さらに、別の実験から、酸化層の最大厚さが60nmのときの寿命は、酸化層の最大厚さが80nmのときの寿命とほぼ同じであった。また、酸化層の厚さが110nmを超えると劣化が早まり始めることがわかった。なお、酸化層の厚さが125nmのときの寿命は一応許容範囲内であるが、ばらつきを考慮すると酸化層の厚さは110nm以下であることが好ましい。
Alを含む半導体(例えばAlAs)が酸化されてAlが生成されると、体積が収縮し、それに伴ってひずみを生じる。このひずみの大きさは、酸化層が厚いほど大きい。そして、メサ外周部での酸化層の厚さが110nmを超えると、ひずみの影響によって活性層に欠陥が生じ、素子の寿命が低下したものと思われる。
また、酸化層の厚さが厚いほどシングルモード出力は小さくなり、光発散角は広くなる傾向にある。そして、メサ外周部での酸化層の厚さが110nmを超えると、シングルモード出力及び光発散角はいずれも素子間のばらつきが大きかった。
すなわち、所望のドループ率を得るために、メサ外周部での酸化層の厚さを110nmを超える厚さにすると、素子の寿命が低下するとともに、シングルモード出力及び光発散角のばらつきが大きくなるという不都合が生じる。
本実施形態に係る面発光レーザ素子100の酸化狭窄構造体をSEM(走査型電子顕微鏡)を用いて観察した。その結果、酸化層108aでは、メサの外周部での厚さが最も厚く、その厚さは60nm〜70nmであり、素子間のばらつきは小さかった。また、電流通過領域108bは、所望の大きさの正方形状であった。そして、閾値電流、シングルモード出力、光発散角、寿命などの特性についても素子間のばらつきは小さかった。このことは、アレイ化したときに極めて有効である。
以上の説明から明らかなように、本実施形態に係る面発光レーザ素子100では、酸化層厚さを制御するために中間層107mによって第1の層が構成され、低屈折率層107cによって第2の層が構成されている。
以上説明したように、本実施形態に係る面発光レーザ素子100によると、活性層105を含む共振器構造体と、該共振器構造体を挟んで設けられた下部半導体DBR103及び上部半導体DBR107とを有している。また、上部半導体DBR107は、Alを含む被選択酸化層108の一部が酸化されて生成された酸化物を少なくとも含む酸化層108aが電流通過領域108bを取り囲み、注入電流と発振光の横モードを同時に閉じこめることができる酸化狭窄構造体を含んでいる。
そして、被選択酸化層108の厚さは28nmであり、酸化層108aにおける最も厚い部分の厚さは60nm〜70nmであり、閾値電流が最小となる温度は約17℃である。
これにより、面発光レーザ素子100は、寿命が短くなることなく、パルス周期に関係なく「負のドループ特性」を抑制することが可能となる。
また、パルス周期が1ms、パルス幅が500μsの方形波電流パルスを供給したとき、(P1−P2)/P2=−0.05であり、「負のドループ特性」を更に改善することができる。
また、面発光レーザ素子100では、室温における酸化狭窄構造体での基本横モードの光閉じ込め係数が約0.96であり、「負のドループ特性」を更に改善することができる。
また、面発光レーザ素子100では、共振器構造体における電流注入部のみを室温から60℃に変化させたとき、基本横モードの光閉じ込め係数の変化率が3.0%であり、「負のドループ特性」を更に改善することができる。
また、面発光レーザ素子100では、室温での発振閾値電流におけるゲインピーク波長が、共振器構造体の共振波長よりも2nm長いため、「負のドループ特性」を更に改善することができる。
また、被選択酸化層108は、上部半導体DBR107の低屈折率層の一部をなし、被選択酸化層108が含まれる低屈折率層は、被選択酸化層108に隣接する2つの中間層107mと、各中間層107mに隣接する2つの低屈折率層107cとを有している。そして、各中間層107mにおけるAlの含有率は、被選択酸化層108におけるAlの含有率よりも17%小さい。また、各低屈折率層107cにおけるAlの含有率は、被選択酸化層108におけるAlの含有率よりも25%小さい。
これにより、Alが選択酸化される際に、被選択酸化層108のXY面内の酸化速度、及び酸化層の厚さの制御性を向上させることができる。従って、酸化層の厚さの素子間のばらつきを小さくすることが容易となる。すなわち、製造が容易で歩留まりを大きくすることができる。そして、意図せず酸化層が厚くなることを防止でき、活性層に対するひずみの影響を低減でき、長寿命化を図ることが可能となる。
また、被選択酸化層108が含まれる低屈折率層の光学厚さが3λ/4であるため、被選択酸化層108、及び被選択酸化層108が含まれる低屈折率層の+Z側の組成傾斜層をともに定在波分布の節の位置とすることができる。これにより、被選択酸化層108による回折損失、及び高濃度ドーピングされた組成傾斜層での吸収損失をともに低減することが可能となる。ところで、被選択酸化層108が含まれる低屈折率層の光学厚さが、発振波長λ、1以上の整数nを用いて、(2n+1)λ/4であれば、被選択酸化層108、及び被選択酸化層108が含まれる低屈折率層の+Z側の組成傾斜層をともに定在波分布の節に対応する位置とすることが可能である。
本実施形態に係る光走査装置1010によると、光源14が面発光レーザ素子100を有しているため、高精度の光走査を行うことが可能となる。
本実施形態に係るレーザプリンタ1000によると、光走査装置1010を備えているため、濃度むらが低下し、高品質の画像を形成できる。また、光源14の寿命は長く再利用も可能であり環境負荷低減に有利である。
なお、上記実施形態では、中間層を被選択酸化層の上下(両方)に設ける場合について説明したが、これに限らず、酸化層108aにおける最も厚い部分の厚さを110nm以下とすることができる場合には、片側だけに設けても良い。また、各中間層107mがなくても、酸化層108aにおける最も厚い部分の厚さを110nm以下とすることができる場合には、各中間層107mはなくても良い。
また、被選択酸化層108におけるAlの含有率及び中間層107mにおけるAlの含有率は、上記実施形態に限定されるものではない。但し、被選択酸化層108におけるAlの含有率と中間層107mにおけるAlの含有率との差は、5%以上で、かつ20%以下であることが好ましい。
また、低屈折率層107cにおけるAlの含有率は、上記実施形態に限定されるものではない。但し、被選択酸化層108におけるAlの含有率と低屈折率層107cにおけるAlの含有率との差は、20%を超えることが好ましい。また、低屈折率層107cは、積層方向(ここでは、Z軸方向)への酸化を食い止めつつ、反射鏡としての反射率を高めるために、他の低屈折率層107aよりAl組成が小さい方が望ましい。
また、上記実施形態において、前記面発光レーザ素子100に代えて、一例として図30に示されるように、面発光レーザアレイ500を用いても良い。
この面発光レーザアレイ500は、複数(ここでは32個)の発光部が同一基板上に配置されている。ここでは、図30におけるM方向は主走査対応方向であり、S方向は副走査対応方向である。なお、発光部の数は32個に限定されるものではない。
面発光レーザアレイ500は、図31に示されるように、M方向からS方向に向かって傾斜した方向であるT方向に沿って8個の発光部が等間隔に配置された発光部列を4列有している。そして、これら4列の発光部列は、すべての発光部をS方向に伸びる仮想線上に正射影したときに等間隔cとなるように、S方向に等間隔dで配置されている。すなわち、32個の発光部は、2次元的に配列されている。なお、本明細書では、「発光部間隔」とは2つの発光部の中心間距離をいう。
ここでは、間隔cは3μm、間隔dは24μm、M方向の発光部間隔X(図31参照)は30μmである。
各発光部は、図31のA−A断面図である図32に示されるように、前述した面発光レーザ素子100と同様な構造を有している。そして、この面発光レーザアレイ500は、前述した面発光レーザ素子100と同様な方法で製造することができる。
このように、面発光レーザアレイ500は、前記面発光レーザ素子100が集積された面発光レーザアレイであるため、前記面発光レーザ素子100と同様な効果を得ることができる。特にアレイである場合の効果として、酸化層108aの厚さプロファイルや酸化距離の発光部間のばらつきが極めて小さいので、ドループ特性を含めた各種特性が均一であり、駆動制御しやすい。また発光部ごとの寿命のばらつきも小さく、しかも長い。
この場合に、面発光レーザアレイ500では、各発光部を副走査対応方向に延びる仮想線上に正射影したときの発光部間隔が等間隔cであるので、点灯のタイミングを調整することで感光体ドラム1030上では副走査方向に等間隔で発光部が並んでいる場合と同様な構成と捉えることができる。
そして、上記間隔cが3μmであるため、光走査装置1010の光学系の倍率を約1.8倍とすれば、4800dpi(ドット/インチ)の高密度書込みができる。もちろん、主走査対応方向の発光部数を増加したり、前記間隔dを狭くして間隔cを更に小さくするアレイ配置としたり、光学系の倍率を下げる等を行えばより高密度化でき、より高品質の印刷が可能となる。なお、主走査方向の書き込み間隔は、発光部の点灯のタイミングで容易に制御できる。
また、この場合には、レーザプリンタ1000では書きこみドット密度が上昇しても印刷速度を落とすことなく印刷することができる。また、同じ書きこみドット密度の場合には印刷速度を更に速くすることができる。
ところで、2つの発光部の間の溝は、各発光部の電気的及び空間的分離のために、5μm以上とすることが好ましい。あまり狭いと製造時のエッチングの制御が難しくなるからである。また、メサの大きさ(1辺の長さ)は10μm以上とすることが好ましい。あまり小さいと動作時に熱がこもり、特性が低下するおそれがあるからである。
なお、上記実施形態では、レーザ発振方向に直交する断面でのメサ形状が正方形の場合について説明したが、これらに限定されるものではなく、例えば円形、楕円形あるいは長方形など任意の形状とすることができる。
また、上記実施形態では、発光部の発振波長が780nm帯の場合について説明したが、これに限定されるものではない。感光体の特性に応じて、発光部の発振波長を変更しても良い。
また、面発光レーザ素子100及び面発光レーザアレイ500は、画像形成装置以外の用途に用いることができる。その場合には、発振波長は、その用途に応じて、650nm帯、850nm帯、980nm帯、1.3μm帯、1.5μm帯等の波長帯であっても良い。
また、上記実施形態において、前記面発光レーザ素子100に代えて、前記面発光レーザ素子100と同様の発光部が1次元配列された面発光レーザアレイを用いても良い。
また、上記実施形態では、画像形成装置としてレーザプリンタ1000の場合について説明したが、これに限定されるものではない。
例えば、レーザ光によって発色する媒体(例えば、用紙)に直接、レーザ光を照射する画像形成装置であっても良い。
また、像担持体として銀塩フィルムを用いた画像形成装置であっても良い。この場合には、光走査により銀塩フィルム上に潜像が形成され、この潜像は通常の銀塩写真プロセスにおける現像処理と同等の処理で可視化することができる。そして、通常の銀塩写真プロセスにおける焼付け処理と同等の処理で印画紙に転写することができる。このような画像形成装置は光製版装置や、CTスキャン画像等を描画する光描画装置として実施できる。
また、一例として図33に示されるように、複数の感光体ドラムを備えるカラープリンタ2000であっても良い。
このカラープリンタ2000は、4色(ブラック、シアン、マゼンタ、イエロー)を重ね合わせてフルカラーの画像を形成するタンデム方式の多色カラープリンタであり、ブラック用の「感光体ドラムK1、帯電装置K2、現像装置K4、クリーニングユニットK5、及び転写装置K6」と、シアン用の「感光体ドラムC1、帯電装置C2、現像装置C4、クリーニングユニットC5、及び転写装置C6」と、マゼンタ用の「感光体ドラムM1、帯電装置M2、現像装置M4、クリーニングユニットM5、及び転写装置M6」と、イエロー用の「感光体ドラムY1、帯電装置Y2、現像装置Y4、クリーニングユニットY5、及び転写装置Y6」と、光走査装置2010と、転写ベルト2080と、定着ユニット2030などを備えている。
各感光体ドラムは、図33中の矢印の方向に回転し、各感光体ドラムの周囲には、回転方向に沿って、それぞれ帯電装置、現像装置、転写装置、クリーニングユニットが配置されている。各帯電装置は、対応する感光体ドラムの表面を均一に帯電する。帯電装置によって帯電された各感光体ドラム表面に光走査装置2010により光が照射され、各感光体ドラムに潜像が形成されるようになっている。そして、対応する現像装置により各感光体ドラム表面にトナー像が形成される。さらに、対応する転写装置により、転写ベルト2080上の記録紙に各色のトナー像が転写され、最終的に定着ユニット2030により記録紙に画像が定着される。
光走査装置2010は、前記光源14と同様な光源を、色毎に有している。そこで、上記光走査装置1010と同様の効果を得ることができる。また、カラープリンタ2000は、光走査装置2010を備えているため、上記レーザプリンタ1000と同様の効果を得ることができる。
ところで、カラープリンタ2000では、各部品の製造誤差や位置誤差等によって色ずれが発生する場合がある。このような場合であっても、光走査装置2010の各光源が前記面発光レーザアレイ500と同様な面発光レーザアレイを有していると、点灯させる発光部を変更することで色ずれを低減することができる。
以上説明したように、本発明の面発光レーザ素子及び面発光レーザアレイによれば、寿命を短くすることなく、「負のドループ特性」を抑制するのに適している。また、本発明の光走査装置によれば、高精度の光走査を行うのに適している。また、本発明の画像形成装置によれば、高品質の画像を形成するのに適している。
本発明の一実施形態に係るレーザプリンタの概略構成を説明するための図である。 図1における光走査装置を示す概略図である。 図2における光源に含まれる面発光レーザ素子の概略構成を説明するための図である。 図3における上部半導体DBRの一部を拡大した図である。 25℃での面発光レーザ素子における被選択酸化層の厚さとドループ率との関係を説明するための図である。 従来の面発光レーザ素子を、パルス周期1ms、デューティ50%の方形波電流パルスで駆動したときの光波形を説明するための図である。 従来の面発光レーザ素子を、パルス周期100ns、デューティ50%の方形波電流パルスで駆動したときの光波形を説明するための図である。 計算に用いた各屈折率を説明するための図である。 計算で得られた基本横モード分布を説明するための図である。 作り付けの有効屈折率差Δneffを説明するための図(その1)である。 図11(A)及び図11(B)は、それぞれ作り付けの有効屈折率差Δneffを説明するための図(その2)である。 図12(A)及び図12(B)は、それぞれ内部温度が上昇したときの有効屈折率差Δneffを説明するための図である。 室温での横方向の光閉じ込めが不十分な面発光レーザ素子における、内部温度の上昇によるI−L曲線のシフトを説明するための図である。 図13のときの光波形を説明するための図である。 光閉じ込め係数と被選択酸化層の厚さ及び酸化狭窄径の関係を説明するための図(その1)である。 光閉じ込め係数と被選択酸化層の厚さ及び酸化狭窄径の関係を説明するための図(その2)である。 光閉じ込め係数と被選択酸化層の厚さ及び酸化狭窄径の関係を説明するための図(その3)である。 25℃での基本横モードの光閉じ込め係数が約0.983となる面発光レーザ素子の光波形を説明するための図である。 25℃での基本横モードの光閉じ込め係数が約0.846となる面発光レーザ素子の光波形を説明するための図である。 27℃での基本横モードの光閉じ込め係数が約0.788となる面発光レーザ素子において、共振領域における電流注入部のみが60℃となったときの基本横モード分布の変化を説明するための図である。 図20における発熱領域を説明するための図である。 27℃での基本横モードの光閉じ込め係数が約0.973となる面発光レーザ素子において、共振領域における電流注入部のみが60℃となったときの基本横モード分布の変化を説明するための図である。 共振領域における電流注入部のみが発熱したときの、光閉じ込め係数の変化率と被選択酸化層の厚さとの関係を説明するための図である。 図24(A)はΔλ>0を説明するための図であり、図24(B)はΔλ<0を説明するための図である。 閾値電流と測定温度との関係を説明するための図である。 ディチューニング量と閾値電流が最小となる温度との関係を説明するための図である。 ドループ率と閾値電流が最小となる温度との関係を説明するための図である。 メサ外周部での酸化層の厚さとドループ率との関係を説明するための図である。 酸化層の最大厚さと寿命との関係を説明するための図である。 面発光レーザアレイを説明するための図である。 図30における発光部の2次元配列を説明するための図である。 図31のA−A断面図である。 カラープリンタの概略構成を説明するための図である。 従来の面発光レーザ素子の光波形を説明するための図である。 図34における立ち上がり近傍を拡大した図である。
符号の説明
11a…偏向器側走査レンズ(走査光学系の一部)、11b…像面側走査レンズ(走査光学系の一部)、13…ポリゴンミラー(偏向器)、14…光源、100…面発光レーザ素子、103…下部半導体DBR(半導体分布ブラッグ反射鏡の一部)、104…下部スペーサ層(共振器構造体の一部)、105…活性層、106…上部スペーサ層(共振器構造体の一部)、107…上部半導体DBR(半導体分布ブラッグ反射鏡の一部)、107c…低屈折率層(第2の層)、107m…中間層(第1の層)、108…被選択酸化層、108a…酸化層(狭窄構造体の一部)、108b…電流通過領域(狭窄構造体の一部)、500…面発光レーザアレイ、1000…レーザプリンタ(画像形成装置)、1010…光走査装置、1030…感光体ドラム(像担持体)、2000…カラープリンタ(画像形成装置)、2010…光走査装置、K1,C1,M1,Y1…感光体ドラム(像担持体)。

Claims (13)

  1. 基板に対して垂直方向に光を射出する面発光レーザ素子であって、 活性層を含む共振器構造体と; 前記共振器構造体を挟んで設けられ、アルミニウムを含む被選択酸化層の一部が酸化されて生成された酸化物を少なくとも含む酸化物が電流通過領域を取り囲み、注入電流と発振光の横モードを同時に閉じこめることができる狭窄構造体をその中に含む半導体分布ブラッグ反射鏡と;を備え、 前記被選択酸化層の厚さは少なくとも25nmであり、 前記電流通過領域を取り囲んでいる酸化物における最も厚い部分の厚さは110nm以下であり、 発振の閾値電流と温度との関係において、発振の閾値電流が最小となるときの温度が25℃以下であることを特徴とする面発光レーザ素子。
  2. パルス周期が1ms、パルス幅が500μsの方形波電流パルスを供給したとき、 供給後10nsでの光出力P1、及び供給後1μsでの光出力P2を用いて、(P1−P2)/P2≧−0.1、の関係が満足されることを特徴とする請求項1に記載の面発光レーザ素子。
  3. 前記電流通過領域の幅d[μm]、及び該電流通過領域を取り囲む酸化物の厚さt[nm]を用いて、−2.54d−0.14t−0.998d・t+53.4d+12.9t−216≧0.9、の関係が満足されることを特徴とする請求項1又は2に記載の面発光レーザ素子。
  4. 前記被選択酸化層は、前記半導体分布ブラッグ反射鏡の低屈折率層の一部をなし、
    前記被選択酸化層が含まれる低屈折率層は、前記被選択酸化層に隣接する第1の層と、該第1の層に隣接する第2の層とを有し、前記第1の層におけるアルミニウムの含有率は、前記被選択酸化層におけるアルミニウムの含有率よりも小さく、前記第2の層におけるアルミニウムの含有率よりも大きいことを特徴とする請求項1〜3のいずれか一項に記載の面発光レーザ素子。
  5. 前記被選択酸化層が含まれる低屈折率層の光学厚さは、発振波長λ、1以上の整数nを用いて、(2n+1)λ/4であることを特徴とする請求項4に記載の面発光レーザ素子。
  6. 前記被選択酸化層におけるアルミニウムの含有率と前記第1の層におけるアルミニウムの含有率との差は、5%以上であり、かつ20%以下であることを特徴とする請求項4又は5に記載の面発光レーザ素子。
  7. 前記被選択酸化層におけるアルミニウムの含有率と前記第2の層におけるアルミニウムの含有率との差は、20%を超えていることを特徴とする請求項4〜6のいずれか一項に記載の面発光レーザ素子。
  8. 室温での発振閾値電流におけるゲインピーク波長は、前記共振器構造体の共振波長よりも長いことを特徴とする請求項1〜7のいずれか一項に記載の面発光レーザ素子。
  9. 請求項1〜8のいずれか一項に記載の面発光レーザ素子が集積された面発光レーザアレイ。
  10. 光によって被走査面を走査する光走査装置であって、
    請求項1〜8のいずれか一項に記載の面発光レーザ素子を有する光源と;
    前記光源からの光を偏向する偏向器と;
    前記偏向器で偏向された光を前記被走査面上に集光する走査光学系と;を備える光走査装置。
  11. 光によって被走査面を走査する光走査装置であって、
    請求項9に記載の面発光レーザアレイを有する光源と;
    前記光源からの光を偏向する偏向器と;
    前記偏向器で偏向された光を前記被走査面上に集光する走査光学系と;を備える光走査装置。
  12. 少なくとも1つの像担持体と;
    前記少なくとも1つの像担持体に対して画像情報が含まれる光を走査する少なくとも1つの請求項10又は11に記載の光走査装置と;を備える画像形成装置。
  13. 前記画像情報は、多色のカラー画像情報であることを特徴とする請求項12に記載の画像形成装置。
JP2008287123A 2008-02-12 2008-11-07 面発光レーザ素子、面発光レーザアレイ、光走査装置、及び画像形成装置 Active JP5463650B2 (ja)

Priority Applications (8)

Application Number Priority Date Filing Date Title
JP2008287123A JP5463650B2 (ja) 2008-05-27 2008-11-07 面発光レーザ素子、面発光レーザアレイ、光走査装置、及び画像形成装置
EP09710020.0A EP2243203B1 (en) 2008-02-12 2009-02-09 Surface emitting laser element, surface emitting laser array, optical scanning device, and image forming apparatus
KR1020127031497A KR20130006705A (ko) 2008-02-12 2009-02-09 면 발광 레이저 소자, 면 발광 레이저 어레이, 광 주사 장치, 및 화상 형성 장치
US12/865,951 US8594146B2 (en) 2008-02-12 2009-02-09 Surface emitting laser element, surface emitting laser array, optical scanning device, and image forming apparatus
CN200980104470XA CN101939882B (zh) 2008-02-12 2009-02-09 表面发射激光器元件、表面发射激光器阵列、光学扫描装置和成像设备
PCT/JP2009/052457 WO2009102048A1 (en) 2008-02-12 2009-02-09 Surface emitting laser element, surface emitting laser array, optical scanning device, and image forming apparatus
KR1020107017683A KR101253396B1 (ko) 2008-02-12 2009-02-09 면 발광 레이저 소자, 면 발광 레이저 어레이, 광 주사 장치, 및 화상 형성 장치
TW098104367A TWI431879B (zh) 2008-02-12 2009-02-11 面發光雷射元件、面發光雷射陣列、光學掃描裝置及影像形成設備

Applications Claiming Priority (3)

Application Number Priority Date Filing Date Title
JP2008138419 2008-05-27
JP2008138419 2008-05-27
JP2008287123A JP5463650B2 (ja) 2008-05-27 2008-11-07 面発光レーザ素子、面発光レーザアレイ、光走査装置、及び画像形成装置

Publications (2)

Publication Number Publication Date
JP2010010645A true JP2010010645A (ja) 2010-01-14
JP5463650B2 JP5463650B2 (ja) 2014-04-09

Family

ID=41590727

Family Applications (1)

Application Number Title Priority Date Filing Date
JP2008287123A Active JP5463650B2 (ja) 2008-02-12 2008-11-07 面発光レーザ素子、面発光レーザアレイ、光走査装置、及び画像形成装置

Country Status (1)

Country Link
JP (1) JP5463650B2 (ja)

Cited By (2)

* Cited by examiner, † Cited by third party
Publication number Priority date Publication date Assignee Title
JP2019062188A (ja) * 2017-08-28 2019-04-18 ルーメンタム オペレーションズ エルエルシーLumentum Operations LLC 垂直共振器面発光レーザのビーム広がり制御
WO2025142135A1 (ja) * 2023-12-26 2025-07-03 ソニーグループ株式会社 発光装置

Citations (9)

* Cited by examiner, † Cited by third party
Publication number Priority date Publication date Assignee Title
JPH0529716A (ja) * 1990-11-29 1993-02-05 Toshiba Corp 光半導体素子
JPH1148520A (ja) * 1997-08-05 1999-02-23 Fuji Xerox Co Ltd マルチスポット画像形成装置
JP2000022204A (ja) * 1998-06-30 2000-01-21 Toshiba Corp 半導体発光素子及びその製造方法
JP2001332812A (ja) * 2000-05-24 2001-11-30 Furukawa Electric Co Ltd:The 面発光半導体レーザ素子
JP2003198061A (ja) * 2001-12-27 2003-07-11 Ricoh Co Ltd 面発光型レーザ素子および面発光型レーザアレイおよび光インターコネクションシステムおよび光通信システム
JP2004031925A (ja) * 2002-05-07 2004-01-29 Ricoh Co Ltd n型半導体分布ブラッグ反射器および面発光半導体レーザ素子および面発光レーザアレイおよび面発光レーザモジュールおよび光インターコネクションシステムおよび光通信システム
JP2004128524A (ja) * 2004-01-29 2004-04-22 Fuji Xerox Co Ltd 面発光型半導体レーザ装置の製造方法
WO2007063806A1 (ja) * 2005-11-30 2007-06-07 Ricoh Company, Ltd. 面発光レーザ素子、それを備えた面発光レーザアレイ、電子写真システムおよび光通信システム
JP2009283888A (ja) * 2008-02-12 2009-12-03 Ricoh Co Ltd 面発光レーザ素子、面発光レーザアレイ、光走査装置、及び画像形成装置

Patent Citations (10)

* Cited by examiner, † Cited by third party
Publication number Priority date Publication date Assignee Title
JPH0529716A (ja) * 1990-11-29 1993-02-05 Toshiba Corp 光半導体素子
JPH1148520A (ja) * 1997-08-05 1999-02-23 Fuji Xerox Co Ltd マルチスポット画像形成装置
JP2000022204A (ja) * 1998-06-30 2000-01-21 Toshiba Corp 半導体発光素子及びその製造方法
JP2001332812A (ja) * 2000-05-24 2001-11-30 Furukawa Electric Co Ltd:The 面発光半導体レーザ素子
JP2003198061A (ja) * 2001-12-27 2003-07-11 Ricoh Co Ltd 面発光型レーザ素子および面発光型レーザアレイおよび光インターコネクションシステムおよび光通信システム
JP2004031925A (ja) * 2002-05-07 2004-01-29 Ricoh Co Ltd n型半導体分布ブラッグ反射器および面発光半導体レーザ素子および面発光レーザアレイおよび面発光レーザモジュールおよび光インターコネクションシステムおよび光通信システム
JP2004128524A (ja) * 2004-01-29 2004-04-22 Fuji Xerox Co Ltd 面発光型半導体レーザ装置の製造方法
WO2007063806A1 (ja) * 2005-11-30 2007-06-07 Ricoh Company, Ltd. 面発光レーザ素子、それを備えた面発光レーザアレイ、電子写真システムおよび光通信システム
JP2007318064A (ja) * 2005-11-30 2007-12-06 Ricoh Co Ltd 面発光レーザ素子、それを備えた面発光レーザアレイ、面発光レーザ素子または面発光レーザアレイを備えた電子写真システムおよび面発光レーザ素子または面発光レーザアレイを備えた光通信システム
JP2009283888A (ja) * 2008-02-12 2009-12-03 Ricoh Co Ltd 面発光レーザ素子、面発光レーザアレイ、光走査装置、及び画像形成装置

Cited By (3)

* Cited by examiner, † Cited by third party
Publication number Priority date Publication date Assignee Title
JP2019062188A (ja) * 2017-08-28 2019-04-18 ルーメンタム オペレーションズ エルエルシーLumentum Operations LLC 垂直共振器面発光レーザのビーム広がり制御
JP7514057B2 (ja) 2017-08-28 2024-07-10 ルーメンタム オペレーションズ エルエルシー 垂直共振器面発光レーザのビーム広がり制御
WO2025142135A1 (ja) * 2023-12-26 2025-07-03 ソニーグループ株式会社 発光装置

Also Published As

Publication number Publication date
JP5463650B2 (ja) 2014-04-09

Similar Documents

Publication Publication Date Title
TWI431879B (zh) 面發光雷射元件、面發光雷射陣列、光學掃描裝置及影像形成設備
JP5510899B2 (ja) 面発光レーザ素子、面発光レーザアレイ、光走査装置、及び画像形成装置
CN102983498B (zh) 激光器件及具有激光器件的阵列、设备、模块和系统
JP5532321B2 (ja) 面発光レーザ素子、面発光レーザアレイ、光走査装置及び画像形成装置
JP5261754B2 (ja) 面発光レーザ素子、面発光レーザアレイ、光走査装置及び画像形成装置
JP5669364B2 (ja) 面発光レーザ素子、面発光レーザアレイ、光走査装置、及び画像形成装置
JP5320991B2 (ja) 面発光レーザ、面発光レーザアレイ、光走査装置、画像形成装置、光伝送モジュール及び光伝送システム
JP5424617B2 (ja) 面発光レーザ、面発光レーザアレイ、光走査装置、画像形成装置、光伝送モジュール及び光伝送システム
JP5187507B2 (ja) 面発光レーザ素子、面発光レーザアレイ、光走査装置、画像形成装置、光伝送モジュール及び光伝送システム
JP2009283888A (ja) 面発光レーザ素子、面発光レーザアレイ、光走査装置、及び画像形成装置
JP5463650B2 (ja) 面発光レーザ素子、面発光レーザアレイ、光走査装置、及び画像形成装置
JP5445806B2 (ja) 面発光レーザ素子、面発光レーザアレイ、光走査装置及び画像形成装置
JP5505614B2 (ja) 面発光レーザ素子、面発光レーザアレイ、光走査装置及び画像形成装置
JP6137555B2 (ja) 面発光レーザ、光走査装置及び画像形成装置

Legal Events

Date Code Title Description
A621 Written request for application examination

Free format text: JAPANESE INTERMEDIATE CODE: A621

Effective date: 20110913

A131 Notification of reasons for refusal

Free format text: JAPANESE INTERMEDIATE CODE: A131

Effective date: 20130117

A521 Written amendment

Free format text: JAPANESE INTERMEDIATE CODE: A523

Effective date: 20130315

A02 Decision of refusal

Free format text: JAPANESE INTERMEDIATE CODE: A02

Effective date: 20130729

A521 Written amendment

Free format text: JAPANESE INTERMEDIATE CODE: A523

Effective date: 20131025

A911 Transfer to examiner for re-examination before appeal (zenchi)

Free format text: JAPANESE INTERMEDIATE CODE: A911

Effective date: 20131101

TRDD Decision of grant or rejection written
A01 Written decision to grant a patent or to grant a registration (utility model)

Free format text: JAPANESE INTERMEDIATE CODE: A01

Effective date: 20131224

A61 First payment of annual fees (during grant procedure)

Free format text: JAPANESE INTERMEDIATE CODE: A61

Effective date: 20140106

R151 Written notification of patent or utility model registration

Ref document number: 5463650

Country of ref document: JP

Free format text: JAPANESE INTERMEDIATE CODE: R151