JP2010010487A - 固体撮像装置及び電子機器 - Google Patents

固体撮像装置及び電子機器 Download PDF

Info

Publication number
JP2010010487A
JP2010010487A JP2008169447A JP2008169447A JP2010010487A JP 2010010487 A JP2010010487 A JP 2010010487A JP 2008169447 A JP2008169447 A JP 2008169447A JP 2008169447 A JP2008169447 A JP 2008169447A JP 2010010487 A JP2010010487 A JP 2010010487A
Authority
JP
Japan
Prior art keywords
photodiode
solid
state imaging
imaging device
gate electrode
Prior art date
Legal status (The legal status is an assumption and is not a legal conclusion. Google has not performed a legal analysis and makes no representation as to the accuracy of the status listed.)
Granted
Application number
JP2008169447A
Other languages
English (en)
Other versions
JP4788742B2 (ja
Inventor
Soichiro Itonaga
総一郎 糸長
Current Assignee (The listed assignees may be inaccurate. Google has not performed a legal analysis and makes no representation or warranty as to the accuracy of the list.)
Sony Corp
Original Assignee
Sony Corp
Priority date (The priority date is an assumption and is not a legal conclusion. Google has not performed a legal analysis and makes no representation as to the accuracy of the date listed.)
Filing date
Publication date
Application filed by Sony Corp filed Critical Sony Corp
Priority to JP2008169447A priority Critical patent/JP4788742B2/ja
Priority to TW101143787A priority patent/TW201310631A/zh
Priority to TW098118585A priority patent/TWI404200B/zh
Priority to US12/491,740 priority patent/US8169523B2/en
Priority to KR1020090056815A priority patent/KR20100002184A/ko
Priority to CN201210120959.XA priority patent/CN102683370B/zh
Priority to CN2009101422372A priority patent/CN101615621B/zh
Publication of JP2010010487A publication Critical patent/JP2010010487A/ja
Application granted granted Critical
Publication of JP4788742B2 publication Critical patent/JP4788742B2/ja
Priority to US13/408,393 priority patent/US8593553B2/en
Expired - Fee Related legal-status Critical Current
Anticipated expiration legal-status Critical

Links

Images

Classifications

    • HELECTRICITY
    • H10SEMICONDUCTOR DEVICES; ELECTRIC SOLID-STATE DEVICES NOT OTHERWISE PROVIDED FOR
    • H10FINORGANIC SEMICONDUCTOR DEVICES SENSITIVE TO INFRARED RADIATION, LIGHT, ELECTROMAGNETIC RADIATION OF SHORTER WAVELENGTH OR CORPUSCULAR RADIATION
    • H10F39/00Integrated devices, or assemblies of multiple devices, comprising at least one element covered by group H10F30/00, e.g. radiation detectors comprising photodiode arrays
    • H10F39/80Constructional details of image sensors
    • H10F39/803Pixels having integrated switching, control, storage or amplification elements
    • H10F39/8037Pixels having integrated switching, control, storage or amplification elements the integrated elements comprising a transistor
    • HELECTRICITY
    • H10SEMICONDUCTOR DEVICES; ELECTRIC SOLID-STATE DEVICES NOT OTHERWISE PROVIDED FOR
    • H10FINORGANIC SEMICONDUCTOR DEVICES SENSITIVE TO INFRARED RADIATION, LIGHT, ELECTROMAGNETIC RADIATION OF SHORTER WAVELENGTH OR CORPUSCULAR RADIATION
    • H10F39/00Integrated devices, or assemblies of multiple devices, comprising at least one element covered by group H10F30/00, e.g. radiation detectors comprising photodiode arrays
    • H10F39/10Integrated devices
    • H10F39/12Image sensors
    • H10F39/18Complementary metal-oxide-semiconductor [CMOS] image sensors; Photodiode array image sensors
    • HELECTRICITY
    • H10SEMICONDUCTOR DEVICES; ELECTRIC SOLID-STATE DEVICES NOT OTHERWISE PROVIDED FOR
    • H10FINORGANIC SEMICONDUCTOR DEVICES SENSITIVE TO INFRARED RADIATION, LIGHT, ELECTROMAGNETIC RADIATION OF SHORTER WAVELENGTH OR CORPUSCULAR RADIATION
    • H10F39/00Integrated devices, or assemblies of multiple devices, comprising at least one element covered by group H10F30/00, e.g. radiation detectors comprising photodiode arrays
    • H10F39/80Constructional details of image sensors
    • H10F39/802Geometry or disposition of elements in pixels, e.g. address-lines or gate electrodes
    • HELECTRICITY
    • H10SEMICONDUCTOR DEVICES; ELECTRIC SOLID-STATE DEVICES NOT OTHERWISE PROVIDED FOR
    • H10FINORGANIC SEMICONDUCTOR DEVICES SENSITIVE TO INFRARED RADIATION, LIGHT, ELECTROMAGNETIC RADIATION OF SHORTER WAVELENGTH OR CORPUSCULAR RADIATION
    • H10F39/00Integrated devices, or assemblies of multiple devices, comprising at least one element covered by group H10F30/00, e.g. radiation detectors comprising photodiode arrays
    • H10F39/80Constructional details of image sensors
    • H10F39/806Optical elements or arrangements associated with the image sensors
    • HELECTRICITY
    • H10SEMICONDUCTOR DEVICES; ELECTRIC SOLID-STATE DEVICES NOT OTHERWISE PROVIDED FOR
    • H10FINORGANIC SEMICONDUCTOR DEVICES SENSITIVE TO INFRARED RADIATION, LIGHT, ELECTROMAGNETIC RADIATION OF SHORTER WAVELENGTH OR CORPUSCULAR RADIATION
    • H10F39/00Integrated devices, or assemblies of multiple devices, comprising at least one element covered by group H10F30/00, e.g. radiation detectors comprising photodiode arrays
    • H10F39/80Constructional details of image sensors
    • H10F39/813Electronic components shared by multiple pixels, e.g. one amplifier shared by two pixels

Landscapes

  • Solid State Image Pick-Up Elements (AREA)
  • Transforming Light Signals Into Electric Signals (AREA)

Abstract

【課題】MOS型固体撮像装置における読み出し特性の改善を図る。
【解決手段】単位画素内に、第1のフォトダイオード64と、第2のフォトダイオード65とからなる光電変換部43を有し、第2のフォトダイオード65が、転送ゲート電極72近傍に位置し、第1のフォトダイオード64よりも高い不純物濃度を有している。
【選択図】図4

Description

本発明は、固体撮像装置、及びこの固体撮像装置を備えた電子機器に関する。
固体撮像装置は、CCD(Charge Coupled Device)イメージセンサに代表される電荷転送型固体撮像装置と、CMOS(Complementary Metal Oxide Semiconductor)等のMOS型イメージセンサに代表される増幅型固体撮像装置とに大別される。CCDイメージセンサとMOS型イメージセンサとを比較した場合、CCDイメージセンサでは、信号電荷の転送に高い駆動電圧を必要とするため、MOS型イメージセンサに比べて電源電圧が高くならざるを得ない。
従って、近年、カメラ付携帯電話やPDA(Personal Digital Assistant)などのモバイル機器に搭載されている固体撮像装置としては、CCDイメージセンサに比べて電源電圧が低く、消費電力の観点などから、CCDイメージセンサよりも有利なMOS型イメージセンサが多く用いられている。
MOS型イメージセンサは、単位画素が光電変換部であるフォトダイオードと複数のMOSトランジスタで形成され、この複数の単位画素がアレイ状に配列された撮像領域と、周辺回路領域を有して構成される。
図15に、従来、一般的なMOSイメージセンサの画素の電荷読み出し部分の要部を示す。画素では、半導体基板101に光電変換部となるフォトダイオード102と、フォトダイオード102の信号電荷が読み出されるn型半導体領域、すなわちフローティングディフージョン部103が形成される。このフォトダイオード102及びフローティングディフージョン部103との間にゲート絶縁膜104を介してゲート電極(いわゆる転送ゲート電極)105を形成してなる転送トランジスタTr1が形成され、ここに電荷読み出し部分が構成される。
フォトダイオード102は、電荷蓄積領域となるn型半導体領域107と、その表面の界面部分に形成したp型半導体領域、いわゆるp型アキュミュレーション(accumulation)層108とを有した埋め込み型フォトダイオードとして構成されている。このフォトダイオード102は、いわゆるHAD(Hole Accumulation Diode)センサとして構成される。ゲート電極105の側壁には、絶縁層によるサイドウォール106が形成される。
電荷蓄積期間では、ゲート電極105に0Vを印加し、転送トランジスタTr1をオフ状態にしてフォトダイオード102に信号電荷を蓄積させる。読み出し時には、ゲート電極105に正の電圧を印加してフォトダイオード102に蓄積された信号電荷をフローティングディフージョン部103へ転送するようになされる。
フォトダイオード102では、電荷蓄積期間において、入射光量に応じた信号電荷と、光が入射しないが場合でもフォトダイオード102に流入する暗電流成分(暗電子)とが蓄積される。暗電子は、ゲート電極105下の絶縁膜−シリコン領域界面から湧き出る電子であって、固定パターン雑音となり、白点発生の原因となっている。
これを改善する技術として、特許文献1に示す、電荷蓄積期間において転送トランジスタのゲート電極に負電圧を印加することで暗電流を低減するMOSイメージセンサが提案されている。このMOSイメージセンサは、図16に示すように、電荷蓄積期間に転送トランジスタTr1のゲート電極105に負電圧−Vを印加するようにした構成である。この構成では、ゲート電極105に負電圧−Vを印加することにより、ゲート電極105の直下にホール(正孔)hを誘起して転送トランジスタTr1をオフ状態にし、同時にゲート電極105の近傍のサイドウォール106直下にもフリンジ容量によりホールhを誘起している。すなわち、ゲート電極105直下及びゲート電極105近傍のサイドウォール106直下は、電気的にホールピニング状態を作り出している。これにより、ゲート絶縁膜104及びその近傍のサイドウォール106とシリコン領域との界面で湧き出す電子をホールhと再結合させて白点を抑制するようにしている。
また、特許文献2には、転送トランジスタのゲート電極を、真性半導体に対して仕事関数差をもつp型ポリシリコンで形成し、負電圧を導入しなくても、転送ゲート界面からの暗電流の発生を抑制するようにしたMOSイメージセンサが提案されている。
ところで、フォトダイオード102の信号電荷をフローティングディフージョン部103へ読み出す場合、p型アキュミュレーション層108がゲート電極105に近づいてくると、転送トランジスタTr1の読み出し電圧Vtgが高くなり、読み出し難くなる。図3に信号電荷の読み出し前のポテンシャル分布と読み出し時のポテンシャル分布を示す。図15の通常の電荷読み出し部分の構成においては、転送トランジスタTr1のゲート電極105に読み出し電圧を印加して、読み出し前のポテンシャルaを変調させてフォトダイオード102の信号電荷を読み出すようにしている。このとき、読み出し電圧が低いと、図3に示すように、サイドウォール106直下にポテンシャルバリアcが形成され信号電荷が読み出し難くなる。信号電荷を読み出し易くするためには、このポテシャルバリアcを潰すだけの高い読み出し電圧が必要となる。なお、図3(A)が従来例の読み出し部分に対応する。
近年のMOS固体撮像装置においては、読み出し特性の改善が望まれている。
信号電荷を読み出し易くするためには、高濃度のp型アキュミュレーション層108をゲート電極105から離すことが考えられるが、そうすると白点を誘発する。白点発生を抑制するために、p型アキュミュレーション層108をゲート電極105近傍まで近づけると、読み出し電圧が高くなる。読み出し特性を良くすることと、白点発生を抑制することとは、相反する関係にある。
読み出し特性と、フォトダイオードの飽和電荷量(最大取扱電荷量)Qsとの関係をみると、フォトダイオードのn型半導体領域の濃度を高くするとQsは高くなるが、読み出し難くなる。このn型半導体領域の濃度を高くすると白点の増加を招く。
特開2002−217397号公報 特開2006−32681号公報
本発明は、上述の点に鑑み、読み出し特性の改善を図った固体撮像装置、及びこの固体撮像装置を備えた電子機器を提供するものである。
本発明に係る固体撮像装置は、光電変換部と、フローティングディフージョン部と、n型半導体による転送ゲート電極と、転送ゲート電極の光電変換部側に絶縁膜を介して形成されたn型半導体によるサイドウォールと、転送ゲート電極のフローティングディフージョン部側に形成された絶縁層によるサイドウォールとを有する。
本発明の固体撮像装置では、n型半導体による転送ゲート電極の光電変換部側に、絶縁膜を介してn型半導体によるサイドウォールが形成されているので、転送ゲート電極に読み出し電圧が印加されると、カップリング容量によりn型半導体によるサイドウォールにも読み出し電圧が印加される。このため、サイドウォール直下の光電変換部のポテンシャルがバリアを形成せずになだらかに変調し、低電圧での信号電荷の読み出しができる。また、この構成では、電荷蓄積時には、n型の転送ゲート電極下、及びn型のサイドウォール直下の領域はホールピンニング状態となり、白点発生が抑制される。
本発明に係る固体撮像装置は、単位画素内に、第1のフォトダイオードと、第2のフォトダイオードとからなる光電変換部を有し、第2のフォトダイオードが、転送ゲート電極近傍に位置し、第1のフォトダイオードよりも高い不純物濃度を有している。
本発明の固体撮像装置では、光電変換部が第1のフォトダイオードと第2のフォトダイオードにより構成され、第2のフォトダイオードが第1のフォトダイオードより高い不純物濃度を有し、かつ転送ゲート電極近傍に形成されている。この構成により、信号電荷は転送ゲート電極近傍の第2のフォトダイオードに蓄積されるので、信号電荷の読み出しがし易くなる。また、この構成では、高不純物濃度の第2のフォトダイオードを有するので、飽和電荷量Qsを上げることができる。
本発明に係る電子機器は、固体撮像装置と、固体撮像装置の光電変換部に入射光を導く光学系と、固体撮像装置の出力信号を処理する信号処理回路を備え、固体撮像装置を上記本発明のいずれかの固体撮像装置で構成する。
本発明の電子機器では、上記本発明に係る固体撮像装置を備えることにより、信号電荷の低電圧読み出しが可能になる。また、白点発生の抑制を可能にし、あるいは飽和電荷量の向上を可能にすることができる。
本発明に係る固体撮像装置によれば、信号電荷の読み出し特性を改善することができる。
本発明に係る電子機器によれば、固体撮像装置における信号電荷の読み出し特性を改善することができる。
以下、図面を参照して本発明の実施の形態を説明する。
図1に、本発明に適用される固体撮像装置、すなわちMOS型固体撮像装置の一例の概略構成を示す。本例の固体撮像装置1は、半導体基板11例えばシリコン基板に複数の光電変換素子を含む画素2が規則的に2次元的に配列された画素部(いわゆる撮像領域)3と、周辺回路部とを有して構成される。画素2は、光電変換素子となる例えばフォトダイオードと、複数の画素トランジスタ(いわゆるMOSトランジスタ)を有して成る。複数の画素トランジスタは、例えば転送トランジスタ、リセットトランジスタ及び増幅トランジスタの3つのトランジスタで構成することができる、その他、例えば選択トランジスタを追加して4つのトランジスタで構成することもできる。これら単位画素の等価回路は通常と同様であるので、詳細説明を省略する。
周辺回路部は、垂直駆動回路4と、カラム信号処理回路5と、水平駆動回路6と、出力回路7と、制御回路8などを有して構成される。
制御回路8は、垂直同期信号、水平同期信号及びマスタクロックに基いて、垂直駆動回路4、カラム信号処理回路5及び水平駆動回路6などの動作の基準となるクロック信号や制御信号を生成し、これらの信号を垂直駆動回路4、カラム信号処理回路5及び水平駆動回路6等に入力する。
垂直駆動回路4は、例えばシフトレジスタによって構成され、画素部3の各画素2を行単位で順次垂直方向に選択走査し、垂直信号線9を通して各画素2の光電変換素子となる例えばフォトダイオードにおいて受光量に応じて生成した信号電荷に基く画素信号をカラム信号処理回路5に供給する。
カラム信号処理回路5は、画素2の例えば列ごとに配置されており、1行分の画素2から出力される信号を画素列ごとに黒基準画素(有効画素領域の周囲に形成される)からの信号によってノイズ除去などの信号処理を行う。すなわちカラム信号処理回路5は、画素2固有の固定パターンノイズを除去するための、例えばS/H(サンプルホールド)回路及びCDS(Correlated Double Sampling:相関二重サンプリング)回路や、信号増幅等の信号処理を行う。カラム信号処理回路5の出力段には水平選択スイッチ(図示せず)が水平信号線10との間に接続されて設けられる。
水平駆動回路6は、例えばシフトレジスタによって構成され、水平走査パルスを順次出力することによって、カラム信号処理回路5の各々を順番に選択し、カラム信号処理回路5の各々から画素信号を水平信号線10に出力させる。
出力回路7は、カラム信号処理回路5の各々から水平信号線10を通して順次に供給される信号に対し、信号処理を行って出力する。
画素部3及び周辺回路部が形成された基板11の上方には、層間絶縁膜を介して多層配線層が形成される。また、画素部3では、多層配線層の上に平坦化膜を介してオンチップカラーフィルタ、さらにその上にオンチップマイクロレンズが形成される。撮像領域の画素部以外の領域、より詳しくは、周辺回路部と撮像領域のフォトダイオード(いわゆる受光部)を除く他部領域とに遮光膜が形成される。この遮光膜は、例えば多層配線層の最上層の配線層で形成することができる。
次に、上述の単位画素2における光電変換部、フローティングディフージョン部及び転送トランジスタを含む、いわゆる読み出し部分に適用される本発明の実施の形態を説明する。
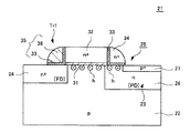
図2に、本発明に係る固体撮像装置の第1実施の形態、特にその読み出し部分の第1実施の形態を示す。本実施の形態に係る固体撮像装置21は、第1導電型、本例ではp型の半導体基板22の各単位画素の領域に、光電変換部となるフォトダイオード(PD)23と、第1導電型のn型の半導体領域からなるフローティングディフージョン部(FD)24と、転送トランジスタTr1とからなる読み出し部分25が形成される。
フォトダイオード23は、第2導電型であるn型の半導体領域26とその表面にp型アキュミュレーション層27とを有した埋め込み型フォトダイオードで形成される。転送トランジスタTr1は、フォトダイオード23とフローティングディフージョン部24との間の基板表面にゲート絶縁膜31を介してn型の半導体すなわちポリシリコンによる転送ゲート電極(以下、n+ゲート電極という)32を形成して構成される。この転送トランジスタTr1では、フォトダイオード23がソース領域となり、フローティングディフージョン部24がドレイン領域となる。ゲート絶縁膜31は、例えばシリコン酸化膜などで形成される。
さらに、n+ゲート電極32のフォトダイオード23側には、絶縁膜33、例えばシリコン酸化膜を介してn型の半導体すなわちポリシリコンによるサイドウォール(以下、n+ポリサイドウォールという)34が形成される。n+ゲート電極32のフローティングディフージョン部24側には、絶縁層によるサイドウォール(以下、絶縁サイドウォールという)35が形成される。この絶縁サイドウォール35は、本例では2層構造を有し、例えばシリコン酸化膜33とシリコン窒化層36の2層で形成される。絶縁サイドウォール35は、1層構造、あるいは2層以上の多層構造で形成することもできる。
n+ポリサイドウォール34はフォトダイオード23のn型半導体領域26に対応して形成される。n型半導体領域26は、一部がn+ゲート電極32に重なるように形成され、p+アキュミュレーション層27は、一部がn+ポリサイドウォール34に重なるように形成される。フローティングディフージョン部24は、一部が絶縁サイドウォール35下を通りn+ゲート電極32の一部と重なるように形成される。
第1実施の形態に係る固体撮像装置21によれば、フォトダイオード23からフローティングディフージョン部24へ信号電荷を読み出す、電荷読み出し時においては、n+ゲート電極32に正電圧が印加される。この正電圧は、カップリング容量によりn+ポリサイドウォール34にも印加される。n+ポリサイドウォール34にゲート電圧が印加されることにより、その直下のフォトダイオード23のn型半導体領域26のポテンシャルが変調される。このポテンシャル変調は、図3(C)における読み出し時のポテンシャル分布bに示すように、n+ポリサイドウォール34直下ではポテンシャルバリアcが潰されて、なだらかな勾配を有するように変調される。なお、図3(B)が本実施の形態の読み出し部分25に対応する。このなだらかな勾配のポテンシャル分布bによって、読み出し易くなり、低電圧での信号電荷の読み出しができる。すなわち、読み出し特性が改善される。
信号電荷の蓄積期間ではn+ゲート電極32に負電圧が印加される。この負電圧はカップリング容量によりn+ポリサイドウォール34にも印加されるので、n+ポリサイドウォール34直下のフォトダイオード23のn型半導体領域26の表面にホールhが誘起される。すなわち、n+ポリサイドウォール34直下のn型半導体領域26の表面が、いわゆるホールピニング状態となる。同時に、n+ゲート電極32直下のチャネル表面もホールピニング状態となる。チャネル表面及びn+ポリサイドウォール34直下のフォトダイオード23のn型半導体領域26表面がホールピニングされるので、絶縁膜界面から湧き出た電子はホールhと再結合し、白点の発生を抑制することができる。
フローティングディフージョン部24側のサイドウォール35が絶縁サイドウォールで形成されるので、フローティングディフージョン部24の容量を低下させ、変換効率を向上することができる。この場合のフローティングディフージョン部24の容量とは、フローティングディフージョン部24とサイドウォール35とのオーバラップ容量であり、例えばこのサイドウォール35をフォトダイオード23側と同様にポリサイドウォールで形成した場合にはオーバラップ容量が大きくなり、変換効率が低下する。
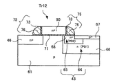
図4に、本発明に係る固体撮像装置の第2実施の形態、特にその読み出し部分の第2実施の形態を示す。図4は、図5の画素レイアウト及び図6(図5の要部の拡大図)のA−A線上の断面図である。
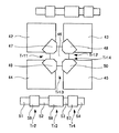
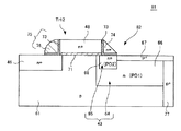
まず、図5を用いて画素レイアウトについて説明する。本実施の形態に係る固体撮像装置の画素レイアウトは、4つの光電変換部に対して所要の画素トランジスタを共有させた、いわゆる4画素共有を1単位とした画素レイアウトである。この固体撮像装置では、図5に示すように、4つの光電変換部42、43、44及び45が2列2行に配置される。この4つの光電変換部42〜45に囲まれた中央部の共通する1つのフローティングディフージョン部46が配置される。
各4つの光電変換部42〜45のそれぞれの角部とフローティングディフージョン部46との間に、略三角形状の転送ゲート電極47、48,49及び50が形成され、各対応する転送トランジスタTr11、Tr12、Tr13及びTr14が形成される。転送ゲート電極47〜50は、それぞれ光電変換部42〜45側を底辺とし、フローティングディフージョン部46側が頂部とする略三角形状に形成される。
4つの光電変換部42〜45の群の例えば下側に4つの光電変換部42〜45に対して共通の画素トランジスタ、すなわちリセットトランジスタTr2、増幅トランジスタTr3及び選択トランジスタTr4が配置される。リセットトランジスタTr2は、対のソース・ドレイン領域51及び52と、ゲート絶縁膜を介して形成したリセットゲート電極55とにより構成される。増幅トランジスタTr3は、対のソース・ドレイン領域52及び53と、ゲート絶縁膜を介して形成した増幅ゲート電極56とにより構成される。選択トランジスタTr4は、対のソース・ドレイン領域53及び54と、ゲート絶縁膜を介して形成した選択ゲート電極57とにより構成される。
図6に、図5における1つの読み出し部分の拡大した詳細構成を示す。図4は、図6のA−A線上の断面図に相当する。
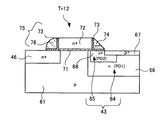
第2実施の形態に係る固体撮像装置41は、図4に示すように、第1導電型、本例ではp型の半導体基板61の各単位画素(共有画素を構成する各画素)の領域に、光電変換部43と、第1導電型のn型の半導体領域からなるフローティングディフージョン部(FD)46と、転送トランジスタTr12とからなる読み出し部分63が形成される。
転送トランジスタTr12は、光電変換部43とフローティングディフージョン部46との間の基板表面にゲート絶縁膜71を介してn+ゲート電極48を形成して構成される。転送トランジスタTr12では、光電変換部43がソース領域となり、フローティングディフージョン部46がドレイン領域となる。ゲート絶縁膜71は、例えばシリコン酸化膜などで形成される。
n+ゲート電極48の光電変換部43側には、絶縁膜73、例えばシリコン酸化膜を介してn+ポリサイドウォール74が形成される。n+ゲート電極48のフローティングディフージョン部47側には、絶縁サイドウォール75が形成される。絶縁サイドウォール75は、本例では2層構造を有し、例えばシリコン酸化膜73とシリコン窒化層76の2層で形成される。絶縁サイドウォール75は1層構造、あるいは2層以上の多層構造で形成することもできる。
そして、本実施の形態では、特に、光電変換部43を第1のフォトダイオード(PD1)64と第2のフォトダイオード(PD2)65とから構成される。第1のフォトダイオード64は、第2導電型であるn型の半導体領域66と、その表面にp型アキュミュレーション層67とを有した埋め込み型フォトダイオードで形成される。第2のフォトダイオード65は、第2導電型であるn型の半導体領域68と、その表面がn+ポリサイドウォール74でホールピニングされた領域を有するフォトダイオードで形成される。
すなわち、第2のフォトダイオード65は、表面に後述で明らかになる転送ゲート電極の電界、あるいはポリサイドウォールにより信号電荷と逆の電荷が励起されるフォトダイオードで形成される。
第1のフォトダイオード64は、光電変換部43を形成する領域にわたって形成される。第2のフォトダイオード65は、第1のフォトダイオード64より浅く、第1のフォトダイオード64の不純物濃度より高い不純物濃度を有し、かつn+ゲート電極48近傍に形成される。すなわち、第2のフォトダイオード65では、そのn型半導体領域68が第1のフォトダイオード64のn型半導体領域66より浅く形成される。さらに、n型半導体領域68は、その不純物濃度が、第1のフォトダイオード64のn型半導体領域66の不純物濃度より高く設定され、かつn+ゲート電極48近傍に形成されるようになす。
第1のフォトダイオード64のp型アキュミュレーション層67は、第2のフォトダイオード65のn型半導体領域68上まで延長して形成されるも、n+ポリサイドウォール74直下には形成されない。p型アキュミュレーション層67は、n+ポリサイドウォール74直下に僅かに入り込んで形成してもよい。
本例では、第1のフォトダイオード64のn型半導体領域66は、一部がn+ゲート電極48と重なるように、n+ゲート電極48直下に入り込んで形成される。また、第2のフォトダイオード65のn型半導体領域68は、第1のフォトダイオード64のn型半導体領域66内に存し、その一部がn+ゲート電極48と重なるようにn+ゲート電極48直下に入り込んで形成される。素子分離部77は、第2導電型半導体層、本例ではp型半導体層で形成される。
n+ポリサイドウォール74側のシリコン酸化膜73は、絶縁サイドウォール75のシリコン酸化膜73より薄く形成される。n+ポリサイドウォール74は、図示の例では45度に傾斜した三角形状、すなわちテーパー角θ1が45度の三角形状に形成される。n+ポリサイドウォール74におけるテーパー角θ1としては、40度〜50度が好ましい。なお、n+ポリサイドウォール74は、絶縁サイドウォール75と同じように丸型状に形成してもよい。
本実施の形態における読み出し部分63の形成は、全てセルファラインで形成される。すなわち、n+ゲート電極48を形成した後、n+ゲート電極48と第1フォトレジストマスクを介して、イオン注入により第1のフォトダイオード64のn型半導体領域66を形成する。また、n+ゲート電極48と第2フォトレジストマスクを介して、イオン注入によりフローティングディフージョン部46を形成する。n+ゲート電極48と第3フォトレジストマスクを介して、イオン注入により第2のフォトダイオード65のn型半導体領域68を形成する。さらに、絶縁サイドウォール75及び絶縁膜73を含むn+ポリサイドウォール74を形成した後、n+ポリサイドウォール74と第4フォトレジストマスクを介して、第1のフォトダイオード64のp型アキュミュレーション層67を形成する。
第2実施の形態に係る固体撮像装置によれば、電荷蓄積期間に第1及び第2のフォトダイオード64及び65で光電変換して生成された信号電荷(この例では電子)は、不純物濃度が高い第2のフォトダイオード65のn型半導体領域68に蓄積される。つまり、n+ゲート電極48に近い領域に信号電荷が蓄積される。
信号電荷の読み出し時には、信号電荷がn+ゲート電極48に近くかつ浅い領域の第2のフォトダイオード65に蓄積されているので、読み出し電圧が印加されたときに直ぐに第2のフォトダイオード65のポテンシャルが変調され易くなり、信号電荷の読み出しがし易くなる。さらに、第2のフォトダイオード65の表面にp型アキュミュレーション層がなく、またn+ポリサイドウォール74の電位でn+ポリサイドウォール74直下にはポテンシャルバリアが発生しないので信号電荷が読み出しやすい。すなわち、電荷読み出し時、n+ゲート電極48に正電圧が印加されて転送トランジスタTr12がオンする。このオン時にも、前述の第1実施の形態と同様に、カップリング容量でn+ポリサイドウォール74の電位が変調され、n+ポリサイドウォール74直下ではポテンシャルバリアの無いなだらかな勾配のポテンシャルに変調される。従って、上記の事象がと相俟って、さらに、信号電荷が読み出し易くなる。すなわち、低電圧での信号電荷の読み出しができ、読み出し特性が改善される。
n+ポリサイドウォール74側の絶縁膜(例えばシリコン酸化膜)73の膜厚が、絶縁サイドウォール75のシリコン酸化膜73の膜厚より薄く形成されている。これによって、n+ゲート電極48とn+ポリサイドウォール74間のカップリング容量が増加し、カップリングされ易く、またn+ポリサイドウォール74による第2のフォトダイオード65表面への電位変調がかけ易くなる。
n+ポリサイドウォール74側の絶縁膜73の膜厚は、上記カップリング容量、電位変調などのn+ポリサイドウォールの効果をコントロールするパラメータとなる。尚、n+ポリサイドウォールの効果を制御するパラメータは、n+ポリサイドウォール74の不純物濃度、絶縁膜73、n+ポリサイドウォール74のフォトダイオード(PD)側への張り出し寸法がある。さらに、転送トランジスタのゲート電極近傍のSi基板中の不純物プロファイルとn+ポリサイドウォールとの相互作用で、上記n+ポリサイドウォールの効果を制御できる。
第2実施の形態では、n型半導体領域68の不純物濃度が高い第2のフォトダイオード65を設けたことにより、飽和電荷量Qsを上げることができる。本実施の形態の固体撮像装置は、飽和電荷量Qsが大きいにも拘わらず、信号電荷の読み出し易い構成となっている。
電荷蓄積期間では、n+ゲート電極48に負電圧が印加される。この負電圧はカップリング容量によりn+ポリサイドウォール74にも印加されるので、n+ポリサイドウォール74直下の第2のフォトダイオード65のn型半導体領域68の表面にホールhが誘起される。すなわち、図7に示すように、n+ポリサイドウォール74直下のn型半導体領域68の表面に、n+ポリサイドウォール74からの電界で誘起されたホールhによるアキュミュレーション領域が形成される。n型半導体領域68の表面がホールピニング状態となる。同時に、n+ゲート電極48直下のチャネル表面もホールピニング状態となる。チャネル表面及びn+ポリサイドウォール74直下の第2のフォトダイオード65のn型半導体領域68表面がホールピニングされるので、絶縁膜界面から湧き出た電子はホールhと再結合し、白点の発生を抑制することができる。
n+ゲート電極48及びn+ポリサイドウォール74を有する構成を有するので、第1実施の形態と同様の効果も奏する。
転送トランジスタTr12及び第1、第2のフォトダイオード64、65を含む、読み出し部分63が全てセルファラインで形成されるので、画素が微細化されても、読み出し部分63を精度良く形成することができ、本実施の形態の固体撮像装置を高精度で製造することができる。
n+ポリサイドウォール74を三角形状にすることにより、次のような効果がある。n+ポリサイドウォール74を形成した後に、必要の無い場所のn+ポリサイドウォールを除去する必要がある。たとえば、周辺回路ではn+ポリサイドウォールを残存させるとトランジスタ特性が劣化するので、n+ポリサイドウォールを除去する必要がある。除去した後に、絶縁サイドウォールを形成する場合、n+ポリサイドウォールを残存させた場所では、n+ポリサイドウォールの外側に絶縁サイドウォールが形成されてしまう。意図しない場所に不完全なサイドウォールが形成されてしまい、形がコントロールデキズ、特性バラツキを引き起こす。
これに対し、n+ポリサイドウォール74を三角形状にすれば、絶縁サイドウォールはn+サイドウォール74の外側に形成させずに済むため、形がコントロールでき、特性バタツキを引き起こさない。
ただし、形状がコントロールできるならば、絶縁サイドウォールが残ってもよい。その場合、n+ポリサイドウォール74の形状は三角形状以外の形状でもよい。また、周辺回路のソース・ドレインのイオン注入をn+ポリサイドウォールとゲート電極をマスクにして行い、その後、不必要部分のn+ポリサイドウォールを除去して、絶縁サイドウォール形成工程を無しにすることも可能である。
図8〜図10に、前述の第2実施の形態の変形例、すなわち、第3実施の形態、第4実施の形態、第5実施の形態を示す。
第3実施の形態に係る固体撮像装置81は、図8に示すように、第2実施の形態と同様に、第1のフォトダイオード(PD1)64及び第2のフォトダイオード(PD2)65からなる光電変換部43と、フローティングディフージョン部46と、転送トランジスタTr12とにより、読み出し部分82が構成される。
そして、本実施の形態では、第2のフォトダイオード65がn+ポリサイドウォール74直下に形成される。すなわち、第2のフォトダイオード65のn型半導体領域68がn+ポリサイドウォール74直下に形成される。第1のフォトダイオード64のp型アキュミュレーション層67は、第2のフォトダイオード65のn型半導体領域68に重ならない構成とされる。
その他の構成は、図4の第2実施の形態と同様であるので、図4と対応する部分には同一符号を付して重複説明を省略する。
第3実施の形態に係る固体撮像装置81によれば、第2のフォトダイオード65が、第2実施の形態よりさらに領域が狭く形成されるので、蓄積電荷はよりn+ゲート電極48に近づき、信号電荷を読み出し易くしている。その他、第2実施の形態で説明したと同様の効果を奏する。
第4実施の形態に係る固体撮像装置83は、図9に示すように、第2実施の形態と同様に、第1のフォトダイオード(PD1)64及び第2のフォトダイオード(PD2)65からなる光電変換部43と、フローティングディフージョン部46と、転送トランジスタTr12とにより、読み出し部分84が構成される。
そして、本実施の形態では、第2のフォトダイオード65のn型半導体領域68の一部が第1のフォトダイオード64のn型半導体領域66を越えてn+ゲート電極48側に延長するように形成される。このn型半導体領域68に形成は、例えば斜めイオン注入で形成することができる。第2のフォトダイオード65のn型半導体領域68の他部は、第1のフォトダイオード64のn型半導体領域66内に形成される。第1のフォトダイオード64のp型アキュミュレーション層67は、n+ポリサイドウォール74直下まで形成される。p型アキュミュレーション層67は、n+ポリサイドウォール74直下には形成しない構成とすることもできる。
その他の構成は、図4の第2実施の形態と同様であるので、図4と対応する部分には同一符号を付して重複説明を省略する。
第4実施の形態に係る固体撮像装置83によれば、第2のフォトダイオード65が、第1のフォトダイオード64から一部がn+ゲート電極48側に延長して形成される。この構成で、第2のフォトダイオード65がフローティングディフージョン部46により近づき、第2フォトダイオード65のn+ゲート電極48で変調される領域が増えることになり、信号電荷がさらに読み出し易くなる。その他、第2実施の形態で説明したと同様の効果を奏する。
第5実施の形態に係る固体撮像装置85は、図10に示すように、第2実施の形態と同様に、第1のフォトダイオード(PD1)64及び第2のフォトダイオード(PD2)65からなる光電変換部43と、フローティングディフージョン部46と、転送トランジスタTr12とにより、読み出し部分86が構成される。
そして、本実施の形態では、第1のフォトダイオード64及び第2のフォトダイオード65が前述の図4の第2実施の形態と同様の位置関係で形成され、n+ポリサイドウォール74直下の第2のフォトダイオード65表面にp型低不純濃度領域87が形成される。即ち、第2のフォトダイオード65のn+ポリサイドウォール74直下のn型半導体領域68の表面に、第1フォトダイオード64のp型アキュミュレーション層67より低濃度のp型低不純物濃度領域87、いわゆる低濃度p−アキュミュレーション層が形成される。
その他の構成は、図4の第2実施の形態と同様であるので、図4と対応する部分には同一符号を付して重複説明を省略する。
第5実施の形態に係る固体撮像装置85によれば、p−アキュミュレーション層となるp型半導体領域87が形成されているので、n+ポリサイドウォール74による第2のフォトダイオード65表面のホール誘起と相俟って、さらに白点発生を抑制することができる。その他、信号電荷の読み出し易さ、飽和電荷量を増やすことができるなど、前述の第2実施の形態と同様の効果を奏する。
上述の第1のフォトダイオード64及び第2フォトダイオード65からなる光電変換部43を有する固体撮像装置においては、転送トランジスタのゲート電極及びサイドウォールの構成として、図11〜図13に示す構成を採り得る。
図11の例では、図4で説明したと同様に、転送トランジスタの転送ゲート電極がn+ゲート電極72で形成される。光電変換部43側のサイドウォールは、絶縁膜(例えばシリコン酸化膜)73を含むn+ポリサイドウォール74で形成される。フローティングディフージョン部46側のサイドウォールは、絶縁サイドウォール75、本例ではシリコン酸化膜73及びシリコン窒化膜76により2層で形成される。
図12の例では、転送トランジスタの転送ゲート電極がp+ゲート電極88で形成される。光電変換部43側のサイドウォールは、絶縁膜(例えばシリコン酸化膜)73を含むp+ポリサイドウォール89で形成される。フローティングディフージョン部46側のサイドウォールは、絶縁サイドウォール75、本例ではシリコン酸化膜73及びシリコン窒化膜76により2層で形成される。光電変換部43側のサイドウォールは、絶縁膜(例えばシリコン酸化膜)73を含むn+ポリサイドウォール89で形成することもできる。
図12に示すp+ゲート電極88及びp+ポリサイドウォール89を有する構成の場合は、n+との仕事関数差の効果でゲート電圧を0Vにしても、p+ポリサイドウォール89直下をピンニング状態とすることができる。
図13の例では、転送トランジスタの転送ゲート電極90がp+ゲート電極またはn+ゲート電極による所要導電型のゲート電極で形成される。光電変換部43側のサイドウォール及びフローティングディフージョン部側のサイドウォールは、共に絶縁サイドウォール75、本例ではシリコン酸化膜73及びシリコン窒化膜76により2層で形成される。
この例では、転送ゲート電極90による電界で第2のフォトダイオード65表面がホールピニング状態になる。
さらに、転送トランジスタのゲート電極及びサイドウォールの構成としては、図示しないが、上記図11〜図13の構成において、フローティングディフージョン部46側の絶縁サイドウォール75を無くした構成とすることもできる。
第1及び第2のフォトダイオード64及び65からなる光電変換部43の構成は、前述の図8〜図10のいずれかの構成とすることもできる。
なお、上述した実施の形態では、信号電荷を電子として構成したが、信号電荷を正孔(ホール)として構成することもできる。この場合、各半導体領域の導電型は上例とは逆の導電型で構成される。
本発明の固体撮像装置は、画素が行列上に2次元配列されたエリアイメージセンサへの適用に限られるものではなく、画素が直線上に1次元配列されたリニアイメージセンサにも同様に適用可能である。
本発明に係る固体撮像装置は、固体撮像装置を備えたカメラ、カメラ付き携帯機器、固体撮像装置を備えたその他の機器、等の電子機器に適用することができる。
図14に、本発明の電子機器の一例としてカメラに適用した実施の形態を示す。本実施の形態に係るカメラ95は、光学系(光学レンズ)96と、固体撮像装置97と、信号処理回路98とを備えてなる。固体撮像装置97は、上述した各実施の形態のいずれか1つの固体撮像装置が適用される。光学系96は、被写体からの像光(入射光)を固体撮像装置97の撮像面上に結像させる。これにより、固体撮像装置97の光電変換素子において一定期間信号電荷が蓄積される。信号処理回路98は、固体撮像装置97の出力信号に対して種々の信号処理を施して出力する。本実施の形態のカメラ95は、光学系96、固体撮像装置97、信号処理回路98がモジュール化したカメラモジュールの形態を含む。
本発明は、図14のカメラ、あるいはカメラモジュールを備えた例えば携帯電話に代表されるカメラ付き携帯機器などを構成することができる。
さらに、図14の構成は、光学系96、固体撮像装置97、信号処理回路98がモジュール化した撮像機能を有するモジュール、いわゆる撮像機能モジュ−ルとして構成することができる。本発明は、このような撮像機能モジュールを備えた電子機器を構成することができる。
本実施の形態に係る電子機器によれば、固体撮像装置における読み出し特性に優れ、画素特性が優れており、低電圧読み出しを可能にする。また、白点発生を抑制し、あるいは飽和電荷量を上げることができる等、高画質の電子機器を提供することができる。
本発明が適用されるMOS型固体撮像装置の一例を示す概略構成図である。 本発明に係る固体撮像装置の第1実施の形態を示す構成図である。 A、B及びC 従来の読み出し部分の断面図、本発明の第1実施の形態の読み出し部分の断面図及び読み出し前と読み出し時のポテンシャル分布図である。 本発明に係る固体撮像装置の第2実施の形態を示す構成図である。 本発明に適用される画素レイアウトの一例を示す平面図である。 図5の要部の拡大平面図である。 本発明に係る第2実施の形態の固体撮像装置の説明に供する断面図である。 本発明に係る固体撮像装置の第3実施の形態を示す構成図である。 本発明に係る固体撮像装置の第4実施の形態を示す構成図である。 本発明に係る固体撮像装置の第5実施の形態を示す構成図である。 本発明に係る固体撮像装置の転送ゲート電極例を示す構成図である。 本発明に係る固体撮像装置の転送ゲート電極例を示す構成図である。 本発明に係る固体撮像装置の転送ゲート電極例を示す構成図である。 本発明に係る電子機器の概略構成図である。 従来例に係る固体撮像装置の読み出し部分の構成図である。 他の従来例に係る固体撮像装置の読み出し部分の構成図である。
符号の説明
21・・固体撮像装置、22・・半導体基板、23・・光電変換部、24・・フローティングディフージョン部、25・・読み出し部分、Tr1・・転送トランジスタ、26・・n型半導体領域、27・・p型アキュミュレーション層、31・・ゲート絶縁膜、32・・転送ゲート電極(n+ゲート電極)、33・・絶縁膜(シリコン酸化膜)、34・・n+ポリサイドウォール、25・・絶縁サイドウォール、36・・シリコン窒化層、h・・ホール、41・・固体撮像装置、46・・フローティングディフージョン部、47・・光電変換部、61・・半導体基板、63・・読み出し部分、64・・第1のフォトダイオード、65・・第2のフォトダイオード、66、68・・n型半導体領域、67・・p型アキュミュレーション層、71・・ゲート絶縁膜、72・・n+ゲート電極、73・・絶縁膜(シリコン酸化膜)、74・・n+ポリサイドウォール、75・・絶縁サイドウォール、76・・シリコン窒化層、77・・素子分離部

Claims (9)

  1. 光電変換部と、
    フローティングディフージョン部と、
    n型半導体による転送ゲート電極と、
    前記転送ゲート電極の前記光電変換部側に絶縁膜を介して形成されたn型半導体によるサイドウォールと、
    前記転送ゲート電極の前記フローティングディフージョン部側に形成された絶縁層によるサイドウォールと
    を有する固体撮像装置。
  2. 電荷蓄積時に、前記n型半導体によるサイドウォール下の前記光電変換部の表面が、ゲート電圧により、信号電荷と逆の電荷でピニングされる
    請求項1記載の固体撮像装置。
  3. 単位画素内に、
    第1のフォトダイオードと、第2のフォトダイオードとからなる光電変換部を有し、
    前記第2のフォトダイオードが、転送ゲート電極近傍に位置し、前記第1のフォトダイオードよりも高い不純物濃度を有している
    固体撮像装置。
  4. 前記第1のフォトダイオードは、表面に電荷蓄積領域とは逆導電型のアキュムレーション領域が形成された埋め込み型フォトダイオードで形成され、
    前記第2のフォトダイオードは、表面に転送ゲート電極による電界、もしくは転送ゲート電極に絶縁膜を介して形成された半導体によるサイドウォールにより、信号電荷と逆の電荷が励起されるフォトダイオードで形成される
    請求項3記載の固体撮像装置。
  5. 転送ゲート電極の前記第2のフォトダイオード側に所要導電型半導体によるサイドウォールが形成される
    請求項4記載の固体撮像装置。
  6. 固体撮像装置と、
    前記固体撮像装置の光電変換部に入射光を導く光学系と、
    前記固体撮像装置の出力信号を処理する信号処理回路を備え、
    前記固体撮像装置は、
    光電変換部と、
    フローティングディフージョン部と、
    n型半導体による転送ゲート電極と、
    前記転送ゲート電極の前記光電変換部側に絶縁膜を介して形成されたn型半導体によるサイドウォールと、
    前記転送ゲート電極の前記フローティングディフージョン部側に形成された絶縁層によるサイドウォールと
    を有する電子機器。
  7. 前記固体撮像装置において、電荷蓄積時、前記n型半導体によるサイドウォール下の前記光電変換部の表面が、ゲート電圧により、信号電荷と逆の電荷でピニングされる
    請求項6記載の電子機器。
  8. 固体撮像装置と、
    前記固体撮像装置の光電変換部に入射光を導く光学系と、
    前記固体撮像装置の出力信号を処理する信号処理回路を備え、
    前記固体撮像装置は、単位画素内に、第1のフォトダイオードと、第2のフォトダイオードとからなる光電変換部を有し、
    前記第2のフォトダイオードが、転送ゲート電極近傍に位置し、前記第1のフォトダイオードよりも高い不純物濃度を有している
    電子機器。
  9. 前記固体撮像装置において、
    前記第1のフォトダイオードは、表面に電荷蓄積領域とは逆導電型のアキュムレーション領域が形成された埋め込み型フォトダイオードで形成され、
    前記第2のフォトダイオードは、表面に転送ゲート電極による電界、もしくは転送ゲート電極に絶縁膜を介して形成された半導体によるサイドウォールにより、信号電荷と逆の電荷が励起されるフォトダイオードで形成される
    請求項8記載の電子機器。
JP2008169447A 2008-06-27 2008-06-27 固体撮像装置及び電子機器 Expired - Fee Related JP4788742B2 (ja)

Priority Applications (8)

Application Number Priority Date Filing Date Title
JP2008169447A JP4788742B2 (ja) 2008-06-27 2008-06-27 固体撮像装置及び電子機器
TW098118585A TWI404200B (zh) 2008-06-27 2009-06-04 Solid-state imaging devices and electronic machines
TW101143787A TW201310631A (zh) 2008-06-27 2009-06-04 固體攝像裝置及電子機器
KR1020090056815A KR20100002184A (ko) 2008-06-27 2009-06-25 고체 촬상 장치 및 전자 기기
US12/491,740 US8169523B2 (en) 2008-06-27 2009-06-25 Solid-state imaging device and electronic apparatus
CN201210120959.XA CN102683370B (zh) 2008-06-27 2009-06-26 固体摄像装置及其制造方法以及电子装置
CN2009101422372A CN101615621B (zh) 2008-06-27 2009-06-26 固体摄像装置和电子装置
US13/408,393 US8593553B2 (en) 2008-06-27 2012-02-29 Solid-state imaging device and electronic apparatus

Applications Claiming Priority (1)

Application Number Priority Date Filing Date Title
JP2008169447A JP4788742B2 (ja) 2008-06-27 2008-06-27 固体撮像装置及び電子機器

Related Child Applications (1)

Application Number Title Priority Date Filing Date
JP2010145456A Division JP5083380B2 (ja) 2010-06-25 2010-06-25 固体撮像装置及び電子機器

Publications (2)

Publication Number Publication Date
JP2010010487A true JP2010010487A (ja) 2010-01-14
JP4788742B2 JP4788742B2 (ja) 2011-10-05

Family

ID=41446919

Family Applications (1)

Application Number Title Priority Date Filing Date
JP2008169447A Expired - Fee Related JP4788742B2 (ja) 2008-06-27 2008-06-27 固体撮像装置及び電子機器

Country Status (5)

Country Link
US (2) US8169523B2 (ja)
JP (1) JP4788742B2 (ja)
KR (1) KR20100002184A (ja)
CN (2) CN102683370B (ja)
TW (2) TW201310631A (ja)

Cited By (6)

* Cited by examiner, † Cited by third party
Publication number Priority date Publication date Assignee Title
JP2011239070A (ja) * 2010-05-07 2011-11-24 Sony Corp 固体撮像装置、および、その製造方法、電子機器
CN105990387A (zh) * 2015-03-19 2016-10-05 精工爱普生株式会社 固体摄像元件及其制造方法
JP2016178145A (ja) * 2015-03-19 2016-10-06 セイコーエプソン株式会社 固体撮像素子及びその製造方法
JP2016178144A (ja) * 2015-03-19 2016-10-06 セイコーエプソン株式会社 固体撮像素子及びその製造方法
JP2017199855A (ja) * 2016-04-28 2017-11-02 国立大学法人静岡大学 絶縁ゲート型半導体素子及び固体撮像装置
JP2019140637A (ja) * 2018-02-15 2019-08-22 キヤノン株式会社 撮像装置及び撮像システム

Families Citing this family (12)

* Cited by examiner, † Cited by third party
Publication number Priority date Publication date Assignee Title
JP5029624B2 (ja) * 2009-01-15 2012-09-19 ソニー株式会社 固体撮像装置及び電子機器
JP5535685B2 (ja) * 2010-02-26 2014-07-02 パナソニック株式会社 固体撮像装置及び駆動方法
JP5539029B2 (ja) * 2010-05-28 2014-07-02 キヤノン株式会社 固体撮像装置の製造方法
JP2012244125A (ja) * 2011-05-24 2012-12-10 Toshiba Corp 固体撮像装置及びその製造方法
CN102214696B (zh) * 2011-05-27 2016-06-22 上海华虹宏力半导体制造有限公司 功率mos器件及功率mos器件制造方法
CN102324430B (zh) * 2011-09-20 2013-04-24 天津大学 电荷快速转移的四管有源像素及其制作方法
US9970862B2 (en) 2014-07-16 2018-05-15 International Business Machines Corporation Reflective tag and polarized light sensor for transmitting information
JP6623594B2 (ja) * 2015-07-22 2019-12-25 セイコーエプソン株式会社 固体撮像素子及びその製造方法
TWI731026B (zh) 2016-01-15 2021-06-21 新加坡商海特根微光學公司 半導體器件
KR102679205B1 (ko) * 2019-07-02 2024-06-28 에스케이하이닉스 주식회사 이미지 센싱 장치
WO2021053940A1 (ja) * 2019-09-17 2021-03-25 ソニーセミコンダクタソリューションズ株式会社 撮像素子及び撮像装置
DE112021001693T5 (de) * 2020-03-18 2023-02-16 Sony Semiconductor Solutions Corporation Bildgebungsvorrichtung und elektronische einrichtung

Citations (6)

* Cited by examiner, † Cited by third party
Publication number Priority date Publication date Assignee Title
JPH11284167A (ja) * 1998-03-31 1999-10-15 Toshiba Corp 半導体装置およびその製造方法および固体撮像装置
JP2000091552A (ja) * 1998-09-11 2000-03-31 Toshiba Corp 固体撮像装置
JP2002217397A (ja) * 2001-01-15 2002-08-02 Sony Corp 固体撮像装置及びその駆動方法
JP2003101004A (ja) * 2001-09-25 2003-04-04 Toshiba Corp 固体撮像装置及びその製造方法
JP2004273640A (ja) * 2003-03-06 2004-09-30 Sony Corp 固体撮像素子及びその製造方法
JP2008166607A (ja) * 2006-12-28 2008-07-17 Sony Corp 固体撮像装置とその製造方法、並びに半導体装置とその製造方法

Family Cites Families (15)

* Cited by examiner, † Cited by third party
Publication number Priority date Publication date Assignee Title
US5889315A (en) * 1994-08-18 1999-03-30 National Semiconductor Corporation Semiconductor structure having two levels of buried regions
JP4200545B2 (ja) * 1998-06-08 2008-12-24 ソニー株式会社 固体撮像素子およびその駆動方法、並びにカメラシステム
JP2004014911A (ja) * 2002-06-10 2004-01-15 Renesas Technology Corp 半導体装置およびその製造方法
US7105793B2 (en) * 2003-07-02 2006-09-12 Micron Technology, Inc. CMOS pixels for ALC and CDS and methods of forming the same
US7232712B2 (en) * 2003-10-28 2007-06-19 Dongbu Electronics Co., Ltd. CMOS image sensor and method for fabricating the same
JP4341421B2 (ja) * 2004-02-04 2009-10-07 ソニー株式会社 固体撮像装置
KR101105617B1 (ko) * 2004-02-27 2012-01-18 고쿠리츠다이가쿠호진 도호쿠다이가쿠 고체 촬상 장치, 라인 센서, 광 센서 및 고체 촬상 장치의동작 방법
JP2006032681A (ja) 2004-07-16 2006-02-02 Sony Corp 半導体装置および物理情報取得装置並びに半導体装置の駆動方法
KR100674986B1 (ko) * 2005-08-05 2007-01-29 삼성전자주식회사 이미지센서 및 그 제조방법
US7795655B2 (en) * 2006-10-04 2010-09-14 Sony Corporation Solid-state imaging device and electronic device
JP2008103644A (ja) * 2006-10-20 2008-05-01 Toshiba Corp 半導体装置およびその製造方法
JP2008166677A (ja) * 2006-12-08 2008-07-17 Sony Corp 固体撮像装置とその製造方法並びにカメラ
KR100836507B1 (ko) * 2006-12-27 2008-06-09 동부일렉트로닉스 주식회사 씨모스 이미지 센서의 제조방법
KR100880528B1 (ko) * 2007-06-01 2009-01-28 매그나칩 반도체 유한회사 Cmos 이미지 센서
US7759756B2 (en) * 2008-02-04 2010-07-20 Sharp Laboratories Of America, Inc. Dual-pixel full color CMOS imager

Patent Citations (6)

* Cited by examiner, † Cited by third party
Publication number Priority date Publication date Assignee Title
JPH11284167A (ja) * 1998-03-31 1999-10-15 Toshiba Corp 半導体装置およびその製造方法および固体撮像装置
JP2000091552A (ja) * 1998-09-11 2000-03-31 Toshiba Corp 固体撮像装置
JP2002217397A (ja) * 2001-01-15 2002-08-02 Sony Corp 固体撮像装置及びその駆動方法
JP2003101004A (ja) * 2001-09-25 2003-04-04 Toshiba Corp 固体撮像装置及びその製造方法
JP2004273640A (ja) * 2003-03-06 2004-09-30 Sony Corp 固体撮像素子及びその製造方法
JP2008166607A (ja) * 2006-12-28 2008-07-17 Sony Corp 固体撮像装置とその製造方法、並びに半導体装置とその製造方法

Cited By (20)

* Cited by examiner, † Cited by third party
Publication number Priority date Publication date Assignee Title
US10720458B2 (en) 2010-05-07 2020-07-21 Sony Semiconductor Solutions Corporation Solid-state imaging device, method of manufacturing solid-state imaging device, and electronic apparatus
US10355037B2 (en) 2010-05-07 2019-07-16 Sony Semiconductor Solutions Corporation Solid-state imaging device, method of manufacturing solid-state imaging device, and electronic apparatus
US11671721B2 (en) 2010-05-07 2023-06-06 Sony Semiconductor Solutions Corporation Solid-state imaging device, method of manufacturing solid-state imaging device, and electronic apparatus
US10978506B2 (en) 2010-05-07 2021-04-13 Sony Semiconductor Solutions Corporation Solid-state imaging device, method of manufacturing solid-state imaging device, and electronic apparatus
JP2011239070A (ja) * 2010-05-07 2011-11-24 Sony Corp 固体撮像装置、および、その製造方法、電子機器
US9923005B2 (en) 2010-05-07 2018-03-20 Sony Corporation Solid-state imaging device, method of manufacturing solid-state imaging device, and electronic apparatus
US10050073B2 (en) 2010-05-07 2018-08-14 Sony Semiconductor Solutions Corporation Solid-state imaging device, method of manufacturing solid-state imaging device, and electronic apparatus
US9653499B2 (en) 2010-05-07 2017-05-16 Sony Semiconductor Solutions Corporation Solid-state imaging device, method of manufacturing solid-state imaging device, and electronic apparatus
US10177184B2 (en) 2010-05-07 2019-01-08 Sony Semiconductor Solutions Corporation Solid-state imaging device, method of manufacturing solid-state imaging device, and electronic apparatus
US9438833B2 (en) 2010-05-07 2016-09-06 Sony Semiconductor Solutions Corporation Solid-state imaging device, method of manufacturing solid-state imaging device, and electronic apparatus
US9818789B2 (en) 2015-03-19 2017-11-14 Seiko Epson Corporation Solid-state imaging device and manufacturing method thereof
US9520436B2 (en) 2015-03-19 2016-12-13 Dexerials Corporation Solid-state imaging device and manufacturing method thereof
JP2016178144A (ja) * 2015-03-19 2016-10-06 セイコーエプソン株式会社 固体撮像素子及びその製造方法
JP2016178143A (ja) * 2015-03-19 2016-10-06 セイコーエプソン株式会社 固体撮像素子及びその製造方法
CN105990387B (zh) * 2015-03-19 2021-03-30 精工爱普生株式会社 固体摄像元件及其制造方法
JP2016178145A (ja) * 2015-03-19 2016-10-06 セイコーエプソン株式会社 固体撮像素子及びその製造方法
CN105990387A (zh) * 2015-03-19 2016-10-05 精工爱普生株式会社 固体摄像元件及其制造方法
JP2017199855A (ja) * 2016-04-28 2017-11-02 国立大学法人静岡大学 絶縁ゲート型半導体素子及び固体撮像装置
JP2019140637A (ja) * 2018-02-15 2019-08-22 キヤノン株式会社 撮像装置及び撮像システム
JP7108421B2 (ja) 2018-02-15 2022-07-28 キヤノン株式会社 撮像装置及び撮像システム

Also Published As

Publication number Publication date
US8169523B2 (en) 2012-05-01
CN101615621A (zh) 2009-12-30
KR20100002184A (ko) 2010-01-06
US20090322919A1 (en) 2009-12-31
US20120154657A1 (en) 2012-06-21
CN102683370A (zh) 2012-09-19
CN102683370B (zh) 2015-02-25
CN101615621B (zh) 2012-06-27
JP4788742B2 (ja) 2011-10-05
TW201010069A (en) 2010-03-01
US8593553B2 (en) 2013-11-26
TWI404200B (zh) 2013-08-01
TW201310631A (zh) 2013-03-01

Similar Documents

Publication Publication Date Title
JP4788742B2 (ja) 固体撮像装置及び電子機器
US11817473B2 (en) Solid-state imaging device, drive method thereof and electronic apparatus
US11710753B2 (en) Solid-state imaging device and method of manufacturing the same, and imaging apparatus
JP5471174B2 (ja) 固体撮像装置とその製造方法、及び電子機器
JP4224036B2 (ja) フォトダイオード領域を埋め込んだイメージセンサ及びその製造方法
JP5493430B2 (ja) 固体撮像装置とその製造方法、及び電子機器
KR20090056846A (ko) 고체 촬상 소자 및 카메라
JP2012199489A (ja) 固体撮像装置、固体撮像装置の製造方法、及び電子機器
CN103024295A (zh) 固体拍摄装置及拍摄机
JP2009277798A (ja) 固体撮像装置及び電子機器
US20200219912A1 (en) Image sensor
JP2011159758A (ja) 固体撮像装置とその製造方法、並びに電子機器
JP5083380B2 (ja) 固体撮像装置及び電子機器
US11569279B2 (en) Solid-state imaging device, method of manufacturing solid-state imaging device, and electronic apparatus
WO2025134543A1 (ja) 光検出装置
JP2013211295A (ja) 固体撮像装置及びその製造方法、電子機器

Legal Events

Date Code Title Description
A977 Report on retrieval

Free format text: JAPANESE INTERMEDIATE CODE: A971007

Effective date: 20100416

A131 Notification of reasons for refusal

Free format text: JAPANESE INTERMEDIATE CODE: A131

Effective date: 20100427

A521 Request for written amendment filed

Free format text: JAPANESE INTERMEDIATE CODE: A523

Effective date: 20100625

TRDD Decision of grant or rejection written
A01 Written decision to grant a patent or to grant a registration (utility model)

Free format text: JAPANESE INTERMEDIATE CODE: A01

Effective date: 20110621

A01 Written decision to grant a patent or to grant a registration (utility model)

Free format text: JAPANESE INTERMEDIATE CODE: A01

A61 First payment of annual fees (during grant procedure)

Free format text: JAPANESE INTERMEDIATE CODE: A61

Effective date: 20110704

FPAY Renewal fee payment (event date is renewal date of database)

Free format text: PAYMENT UNTIL: 20140729

Year of fee payment: 3

R250 Receipt of annual fees

Free format text: JAPANESE INTERMEDIATE CODE: R250

LAPS Cancellation because of no payment of annual fees