JP2010010035A - 合体コネクタ - Google Patents

合体コネクタ Download PDF

Info

Publication number
JP2010010035A
JP2010010035A JP2008170188A JP2008170188A JP2010010035A JP 2010010035 A JP2010010035 A JP 2010010035A JP 2008170188 A JP2008170188 A JP 2008170188A JP 2008170188 A JP2008170188 A JP 2008170188A JP 2010010035 A JP2010010035 A JP 2010010035A
Authority
JP
Japan
Prior art keywords
connector
housing
wall
connector housings
housings
Prior art date
Legal status (The legal status is an assumption and is not a legal conclusion. Google has not performed a legal analysis and makes no representation as to the accuracy of the status listed.)
Granted
Application number
JP2008170188A
Other languages
English (en)
Other versions
JP5182933B2 (ja
Inventor
Etsuro Suzuki
悦郎 鈴木
Atsushi Ishikawa
淳 石川
Current Assignee (The listed assignees may be inaccurate. Google has not performed a legal analysis and makes no representation or warranty as to the accuracy of the list.)
Yazaki Corp
Original Assignee
Yazaki Corp
Priority date (The priority date is an assumption and is not a legal conclusion. Google has not performed a legal analysis and makes no representation as to the accuracy of the date listed.)
Filing date
Publication date
Application filed by Yazaki Corp filed Critical Yazaki Corp
Priority to JP2008170188A priority Critical patent/JP5182933B2/ja
Publication of JP2010010035A publication Critical patent/JP2010010035A/ja
Application granted granted Critical
Publication of JP5182933B2 publication Critical patent/JP5182933B2/ja
Expired - Fee Related legal-status Critical Current
Anticipated expiration legal-status Critical

Links

Images

Landscapes

  • Connector Housings Or Holding Contact Members (AREA)

Abstract

【課題】コネクタハウジング相互の係脱時に、ハウジングの外側壁に隣接する端子収容室が変形するおそれの無い信頼性の高い合体コネクタを提供すること。
【解決手段】コネクタハウジング3A,3Bには、ハウジング本体上面側外壁4A,4Bの両側部から上方に延出されたガイド側壁5A,5Bを有し、ガイド側壁5A,5Bそれぞれにはガイド方向に沿って弾性係合片13が設けられ、ガイド側壁5A,5Bそれぞれの下方に位置したハウジング本体外側壁6A,6Bには他方のコネクタハウジング3Bの下に重ねられる一方のコネクタハウジング3Aのガイド側壁5Aの弾性係合片13が係合する係止突起11が設けられている。これにより、弾性係合片基部への応力集中がなく、コネクタハウジング3A,3Bの変形が防止される。
【選択図】図1

Description

本発明は、複数の端子を収容するコネクタハウジング相互が重ね合わされた状態で連結されて、複数のコネクタハウジング相互が合体した形態で使用される合体コネクタに関する。
図8〜図10は、複数のコネクタハウジング相互が重ね合わされた状態で合体する合体コネクタの従来例を示したものである。
ここに示した合体コネクタ101は、下記特許文献1に開示された雄型の圧接コネクタで、最下段に配置される最下段用コネクタハウジング103と、中段に配置される中段用コネクタハウジング105と、最上段に配置される最上段用コネクタハウジング107とから構成されている。
最下段用コネクタハウジング103は、図8に示すように、その上面が、中段用コネクタハウジング105や最上段用コネクタハウジング107と重ね合わされる合わせ面103aに設定されている。
一方、中段用コネクタハウジング105は、その下面が最下段用コネクタハウジング103又は別の中段用コネクタハウジング105と重ね合わされる合わせ面105aに設定されると共に、上面が最上段用コネクタハウジング107又は別の中段用コネクタハウジング105と重ね合わされる合わせ面105bに設定されている。
また、最上段用コネクタハウジング107は、その下面が、中段用コネクタハウジング105又は最下段用コネクタハウジング103と重ね合わされる合わせ面107aに設定されている。
これらのコネクタハウジング103,105,107は、それぞれの後端側から挿入された雌型の端子109を収容保持する複数個の端子収容室111が、単層に並設されている。また、端子収容室11への端子109の挿入を容易にするために、各端子収容室111は、その上面の後半部分を開放した形状に形成されていて、その開放部111aは、図10に示すように、上に重ねられる他のコネクタハウジング、又はカバー113によって覆われるようになっている。
互いの合わせ面同士を重ね合わせたコネクタハウジング相互は、一方のコネクタハウジング上の係止突起(ロックビーク)121と他方のコネクタハウジング上の弾性係合片(ロックアーム)123との係合により連結されて、図9に示すように、複数のコネクタハウジング103,105,107が合体した形態となる。
この従来例の場合、係止突起121は、各中段用コネクタハウジング105および最上段用コネクタハウジング107において、合わせ面の両側の外側面上で、後端寄り、かつ下部寄りの領域に突設されている。
一方、弾性係合片123は、最下段用コネクタハウジング103および中段用コネクタハウジング105において、上方に重ねられるコネクタハウジングの外側面に重なるように合わせ面の両側の外側面上の後端寄りの位置から上方に突出して形成された板状の本体123aに、係止突起121が係合する係合孔123bを設けた構成である。
以上のコネクタハウジング103,105,107は、ハウジングの後端位置および前端位置が揃うように、図8に矢印Aで示す方向に、対応する合わせ面同士を接近させていくと、下側に位置するコネクタハウジング上の弾性係合片123が上側に位置するコネクタハウジング上の係止突起121の上に弾性変形しながら乗り上げて、対応する合わせ面同士が突き合わさった状態になると、係止突起121が弾性係合片123の係合孔123bに嵌入すると同時に、弾性係合片123の弾性変形が解除されて、重なり合ったコネクタハウジング相互が連結・合体された状態になる。
各コネクタハウジング103,105,107の合体が完了した合体コネクタ101は、図10に示すように、雌型コネクタ131の嵌合フード133内に嵌合挿着される。
実開平05−065073号公報
ところが、上記の合体コネクタ101を構成する各コネクタハウジング103,105,107では、弾性係合片123が積層方向(上下方向)に沿って延びているために、必然的に長さが短く、係脱時に弾性係合片123の基部にかかる応力が大きい。
そのため、ハウジング相互を連結合体させる操作時、あるいは合体を解除する操作時に、係脱する弾性係合片123と係止突起121との間に作用する力で、これらの弾性係合片123や係止突起121の周辺のハウジング外側壁が変形してしまう。そして、このハウジング外側壁の変形に伴い、ハウジング外側壁に隣接する端子収容室111が変形して、そこに収容されている端子109を壊してしまうおそれがあった。特に、コネクタハウジング103,105,107を薄型化した場合には、変形の問題が大きい。
また、車両のワイヤハーネスの接続等に使用される合体コネクタの場合は、コンパクト化が重要な課題となっていて、合体コネクタにおいてコネクタハウジング相互を連結するロック部等の突出によって外形寸法が大型化しないように配慮することが求められている。
本発明の目的は上記課題を解消することに係り、コネクタハウジング相互を連結する弾性係合片や係止突起が装備されている各コネクタハウジングの外側壁等の変形を防止することができ、従って、コネクタハウジング相互の係脱時に、前記外側壁に隣接する端子収容室の変形によって収容している端子が壊れるおそれの無い信頼性の高い合体コネクタであって、更に、コネクタハウジング相互のロック部等が外部に突出して大型化を招くことも無い合体コネクタを提供することにある。
本発明の上記目的は、下記構成により達成される。
(1) 少なくとも2つのコネクタハウジングを備え、互いの合わせ面同士を重ね合わせた前記少なくとも2つのコネクタハウジング相互が、前記少なくとも2つのコネクタハウジングのうちの一方のコネクタハウジングに設けられた係止突起と他方のコネクタハウジングに設けられた弾性係合片との係合により連結されて、前記少なくとも2つのコネクタハウジングが合体した形態で使用される合体コネクタであって、
前記少なくとも2つのコネクタハウジング各々は、ハウジング本体を有し、
前記ハウジング本体の端子収容室の上部隔壁となるハウジング本体上面側外壁の表面が、前記一方のコネクタハウジングの上に前記他方のコネクタハウジングを重ねた際の前記一方のコネクタハウジングの合わせ面となっていて、
前記少なくとも2つのコネクタハウジング各々は、前記ハウジング本体上面側外壁の両側部から上方に延出されたガイド側壁を更に有し、
前記ガイド側壁それぞれには該ガイド側壁によるガイド方向に沿って前記弾性係合片が設けられ、そして前記ガイド側壁それぞれの下方に位置した前記ハウジング本体外側壁には前記他方のコネクタハウジングの下に重ねられる前記一方のコネクタハウジングの前記ガイド側壁の前記弾性係合片が係合する前記係止突起が設けられ、
前記他方のコネクタハウジングの合わせ面の後端側部分を前記一方のコネクタハウジングの合わせ面の前端側部分に重ね合わせた後、前記少なくとも2つのコネクタハウジングそれぞれの合わせ面の後端位置が揃うように前記少なくとも2つのコネクタハウジング相互を合わせ面に沿ってスライド移動させることで、前記弾性係合片が前記係止突起の前端部に係合して、前記係合突起の前端側への移動を規制することを特徴とする合体コネクタ。
(2) 前記少なくとも2つのコネクタハウジング各々は、前記弾性係合片と前記係止突起との係合状態をロックするロック壁を有し、
前記ロック壁は、前記ガイド側壁の後端から内側に突出して設けられ、前記少なくとも2つのコネクタハウジングが連結合体される際に、前記一方のコネクタハウジングの前記ガイド側壁の間に挿入された前記他方のコネクタハウジングの前記ハウジング本体の外側壁後端に当接することにより、前記係合突起の後端側への移動を規制して、前記弾性係合片と前記係止突起との係合状態をロックし、
前記ロック壁が当接する前記ハウジング本体外側壁後端には、当接した前記ロック壁が前記ハウジング本体の平面視輪郭内に収まるように、前記ロック壁の厚さ分だけ端面位置が後退した逃げ部が確保されていることを特徴とする前記(1)に記載の合体コネクタ。
(3) 前記ロック壁が当接する前記ハウジング本体の外側壁は、端子収容室の側壁を兼ねていて、前記少なくとも2つのコネクタハウジングが連結合体された際に前記逃げ部に位置した前記一方のコネクタハウジングのロック壁が、前記他方のコネクタハウジングの端子収容室の側壁として機能することを特徴とする前記(2)に記載の合体コネクタ。
上記(1)の構成によれば、ハウジング本体上面側外壁の両側部から上方に延出されたガイド側壁それぞれには該ガイド側壁によるガイド方向に沿って弾性係合片が設けられ、そしてガイド側壁それぞれの下方に位置したハウジング本体外側壁には他方のコネクタハウジングの下に重ねられる一方のコネクタハウジングのガイド側壁の弾性係合片が係合する係止突起が設けられているので、弾性係合片として基部に応力が集中しない範囲で必要な長さを十分にとることができ、長さを任意に調整することができる。従って、従来のような弾性係合片が短いことによる弾性係合片基部への応力集中がない。
従って、コネクタハウジング相互の係脱時に、弾性係合片や係止突起に作用する力によって弾性係合片基部が設けられたガイド側壁やその近傍の両外側壁が変形することを防止でき、前記両外側壁に隣接する端子収容室の変形を防止することができる。
従って、前記両外側壁に隣接する端子収容室の変形によって収容している端子が壊れるおそれの無い信頼性の高い合体コネクタを提供することができる。
また、コネクタハウジングを薄型化しても、弾性係合片の長さに影響がないので、コネクタハウジングの端子収容室の変形なく、合体コネクタ全体を薄型化することができる。
また、上記(2)の構成によれば、前記弾性係合片と前記係止突起との係合状態をロックするロック壁は、弾性係合片が装備されるガイド側壁の後端から内側に突出して設けられていて、更に、コネクタハウジング相互の連結合体時には、相手コネクタハウジングの外側壁後端に確保されている逃げ部に収まる状態で、相手のコネクタハウジングの外側壁後端に当接するため、コネクタハウジングの外方にロック部が突出して大型化を招くことも無く、コンパクト化が要求される車載コネクタ等への用途にも有利になる。
上記(3)の構成によれば、コネクタハウジング相互を連結合体させたときに、一方のコネクタハウジングの外側壁後端に確保されている逃げ部は、他方のコネクタハウジングのガイド側壁の後端から内側に突設されたロック壁によって埋まり、逃げ部を埋めたロック壁が、そこに隣接している端子収容室の側壁として機能するため、逃げ部を設けたことによって端子の保護性能が低下することも無い。
本発明による合体コネクタによれば、ハウジング本体上面側外壁の両側部から上方に延出されたガイド側壁それぞれには該ガイド側壁によるガイド方向に沿って弾性係合片が設けられ、そしてガイド側壁それぞれの下方に位置したハウジング本体外側壁には他方のコネクタハウジングの下に重ねられる一方のコネクタハウジングのガイド側壁の弾性係合片が係合する係止突起が設けられているので、弾性係合片として基部に応力が集中しない範囲で必要な長さを十分にとることができ、長さを任意に調整することができる。従って、従来のような弾性係合片が短いことによる弾性係合片基部への応力集中がない。
従って、コネクタハウジング相互の係脱時に、弾性係合片や係止突起に作用する力によって弾性係合片基部が設けられたガイド側壁やその近傍の両外側壁が変形することを防止でき、前記両外側壁に隣接する端子収容室の変形を防止することができる。
従って、前記両外側壁に隣接する端子収容室の変形によって収容している端子が壊れるおそれの無い信頼性の高い合体コネクタを提供することができる。
また、コネクタハウジングを薄型化しても、弾性係合片の長さに影響がないので、コネクタハウジングの端子収容室の変形なく、合体コネクタ全体を薄型化することができる。
また、コネクタハウジングの外方にロック部が突出して大型化を招くことも無く、コネクタハウジングのコンパクト化が可能となる。
以下、本発明に係る合体コネクタの好適な実施形態について、図面を参照して詳細に説明する。
図1は本発明に係る合体コネクタの一実施形態の分解斜視図、図2は図1に示した合体コネクタを構成するコネクタハウジング相互を合体させるときの操作を説明する側面図、図3は図1に示した合体コネクタの合体状態の側面図、図4は図1に示した合体コネクタの合体状態の斜視図、図5は図3のB−B断面図、図6は図5のD部拡大図、図7は図6に示したロック壁に対応する相手側コネクタハウジングの逃がし部の説明図である。
この一実施形態の合体コネクタ1は、同一構造の複数個のコネクタハウジング3A,3B‥を、上下に重ね合わせた状態で互いに連結して、合体させた形態を得る。
各コネクタハウジング3A,3Bのハウジング本体の上面は、その上に他のコネクタハウジング3A,3Bを重ね合わせる際の合わせ面3Aa,3Baに設定されている。また、各コネクタハウジング3A,3Bのハウジング本体の下面は、他のコネクタハウジング3A,3Bの上に重ね合わせる際の合わせ面3Ab,3Bbに設定されている。
即ち、コネクタハウジング3A,3Bのハウジング本体の上下の面が、それぞれ、他のコネクタハウジングを連結する際の合わせ面3Aa,3Ab,3Ba,3Bbに設定されている。
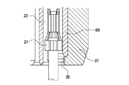
コネクタハウジング3A,3Bには、図1に示すように、それぞれの後端側から挿入された雌型の端子21を収容保持した複数個の端子収容室23が、単層に並設されている。
また、図4に示すように、コネクタハウジング3A,3Bのハウジング本体内には、端子収容室23に収容された端子同士を導通接続するバスバー25が組み込まれている。
バスバー25は、雌型の端子21の先端に接触するタブ端子部25aを、端子収容室23の配列ピッチで、連設したものである。
本実施形態の場合、各コネクタハウジング3A,3Bのハウジング本体上面である合わせ面3Aa,3Baは、端子収容室23の上部隔壁を兼ねた上面側外壁4A,4Bの表面である。
上下に重ね合わせたコネクタハウジング3A,3B相互の連結は、一方のコネクタハウジング3A上の係止突起11と他方のコネクタハウジング3B上の弾性係合片13との係合により実現される。
各コネクタハウジング3A,3B‥では、ハウジング本体の上面側外壁4A,4Bの両側部からそれぞれ上方に延出する一対のガイド側壁5A,5Bに弾性係合片13がガイド側壁5A,5Bによるガイド方向(スライド方向)に沿って延在するように設けられている。
更に、各コネクタハウジング3A,3B‥では、ハウジング本体のガイド側壁5A,5Bの下方に位置したハウジング本体の外側面6A,6Bに、そのコネクタハウジングの下面側の前記合わせ面3Ab,4Bbに重ね合わされる他のコネクタハウジング上のガイド側壁5A,5B上の弾性係合片13が係合する係止突起11が設けられている。
各コネクタハウジング3A,3B‥において、係止突起11及び弾性係合片13は、図2及び図3に示すように、コネクタハウジング3A,3Bのハウジング本体の両外側の後端寄りの領域に、上下に位置をずらして装備されている。更に詳述すれば、係止突起11は各ハウジング本体の両外側の下縁寄りに装備され、弾性係合片13は各ハウジング本体の両外側の上縁寄りに装備されている。
本実施形態の合体コネクタ1の場合、図2に示すように、一方(図では、下段側)のコネクタハウジング3Aの合わせ面3Aaの前端側に他方(図では、上段側)のコネクタハウジング3Bの合わせ面3Bbの後端側を重ね合わせた後、それぞれのコネクタハウジング3A,3Bの合わせ面の後端位置が揃うように、コネクタハウジング3A,3B相互を合わせ面に沿って図の矢印C方向にスライド移動させることで、係止突起11と弾性係合片13とが互いに係合するように、これらの係止突起11および弾性係合片13の配置が設定されている。
更に、本実施形態の場合、弾性係合片13が装備されたガイド側壁5A,5Bの上縁には、ガイドリブ27が、内側に突出して設けられている。
各コネクタハウジング3A,3B‥において、ハウジング本体の上面両側から上方に延出する一対のガイド側壁5A,5Bは、合わせ面3Aa,3Baの上に重ね合わされる他のコネクタハウジングの両外側面6A,6Bを挟むように装備されている。そして、ガイドリブ27は、重ね合わされる相手コネクタハウジングの係止突起11の上を覆って、コネクタハウジング相互のスライド操作時に、外側壁6Bの移動方向を規制する。
また、図1に示すように、本実施形態のコネクタハウジング3A,3Bでは、ハウジング本体前端側の上部の領域には、コネクタハウジング3A,3B相互のスライド方向に沿って延在するガイド溝31が設けられている。ガイド溝31は、開口部を上方に向けた構造で、ハウジングの両側に設けられている。
更に、コネクタハウジング3A,3Bのハウジング本体前端側の下部の領域には、2つのコネクタハウジング3A,3B相互を合体操作して、それぞれのコネクタハウジング3A,3Bの係止突起11と弾性係合片13とが係合するときに、前述のガイド溝31に係合して、コネクタハウジング3A,3B相互間におけるガイド溝31の溝幅方向への振れの発生を規制する振れ防止突起33が設けられている。
振れ防止突起33は、下方に突出したリブ状に形成されており、ガイド溝31と同様にハウジングの両側に設けられている。
また、本実施形態の各コネクタハウジング3A,3B‥では、端子収容室23の上部領域には、開放部は設定されていない。即ち、各コネクタハウジング3A,3B‥における端子収容室23の上部領域は、弾性係合片13や係止突起11の装備位置に対応する領域(即ち、ハウジングの後端寄りの領域)だけでなく、全域が、ハウジングの外側壁5A,5A間(又は5B,5B間)を連結する上面側外壁4A(又は4B)で覆われている。
また、連結合体させる各コネクタハウジング3A,3B‥には、弾性係合片13及び係止突起11の他に、これらの弾性係合片13と係止突起11との係合状態をロックするロック壁28がハウジング本体に備えられている。
本実施形態の場合、例えば連結合体させる2つのコネクタハウジング3A,3B間で、下側に位置するコネクタハウジング3Aの弾性係合片13は、上側のコネクタハウジング3Bの合わせ面3Bbの後端側部分を下側のコネクタハウジング3Aの合わせ面3Aaの前端側部分に重ね合わせた後、これらの2つのコネクタハウジングそれぞれの合わせ面3Aa,3Bbの後端位置が揃うように2つのコネクタハウジング3A,3B相互を合わせ面3Aa,3Bbに沿ってスライド移動させることで、図3に示すように係止突起11の前端部に係合して、係止突起11の前端側への移動を規制する。
前述のロック壁28は、図1及び図6に示すように、ガイド側壁5A,5Bの後端から内側に突出して設けられており、例えば図2に示すように一対のガイド側壁5Aの内側に挿入された相手側のコネクタハウジング3Bのハウジング本体の一対の外側壁6B,6Bの後端に当接することにより、係止突起11の後端側への移動を規制して、弾性係合片13と係止突起11との係合状態をロックする。
本実施形態の各コネクタハウジング3A,3B‥では、図7に示すように、ロック壁28が当接するコネクタハウジングの外側壁6A,6Bの後端には、その後端に当接したロック壁28がそのコネクタハウジング本体の平面視輪郭内に収まるように、ロック壁28の厚さ分Tだけ端面位置が後退した逃げ部29が確保されている。
また、本実施形態の各コネクタハウジング3A,3B‥では、ロック壁28が当接するコネクタハウジング本体の外側壁6B,6Bは、図7にも示したように隣接する端子収容室23の側壁を兼ねている。そして、コネクタハウジング相互の連結合体により逃げ部29に位置したロック壁28は、図6に示すように、相手側コネクタハウジングの端子収容室23の側壁(即ち、外側壁6B,6Bの延長部)として機能して、収容された端子21の保護を行う。
以上に説明した合体コネクタ1の構成によれば、コネクタハウジング3A,3B相互を合体させる操作は、互いの合わせ面3Aa,3Bbの端同士を図2に示すように重ね合わせて、合わせ面3Aa,3Bbの方向に沿って互いのコネクタハウジング3A,3Bをスライド移動させるもので、例えば上側に位置する一方のコネクタハウジング3Bの係止突起11を装備している一対の外側面6B,6Bが、下側に位置している他方のコネクタハウジング3Aの一対のガイド側壁5A,5Aの内側に入り、前記一対の外側面6B,6Bが前記一対のガイド側壁5A,5A上のガイドリブ27により位置規制される。
そのため、スライド操作時に、上側のコネクタハウジング3Bが下側のコネクタハウジング3Aから浮き上がって傾くことを防止でき、両コネクタハウジング3A,3Bの連結操作時に、相互の合わせ面3Aa,3Bbを平行に維持して、係止突起11と弾性係合片13とが係合するまでのスライド動作を円滑にすることができる。
そして、上記合体コネクタ1の構成によれば、弾性係合片13が、ハウジング本体上面側外壁4A,4Bの両側部から上方に延出されたガイド側壁5A,5Bに、ガイド方向(スライド方向)に沿って延在するように設けられているので、弾性係合片13の長さを十分にとることができ、弾性係合片13の変形時に弾性係合片13の基部に大きな応力がかかることがなく、ガイド側壁5A,5Bや外側面6B,6Bの変形が防止され、コネクタハウジング3A,3Bの変形が防止される。
従って、コネクタハウジング3A,3B互の係脱時に、弾性係合片13や係止突起11に作用する力によって両外側壁6A,6Aや両外側壁6B,6Bが変形することを防止でき、これらの外側壁6A,6Bに隣接する端子収容室23の変形を防止することができる。
従って、外側壁6A,6Bに隣接する端子収容室23の変形によって収容している端子21が壊れるおそれの無い信頼性の高い合体コネクタを提供することができる。
また、上記の合体コネクタ1の構成によれば、弾性係合片13と係止突起11との係合状態をロックするロック壁28は、図6にも示したように弾性係合片13が装備されるガイド側壁5A,5Bの後端から内側に突出して設けられていて、更に、コネクタハウジング相互の連結合体時には、相手コネクタハウジングの外側壁後端に確保されている逃げ部29に収まる状態で、相手のコネクタハウジングの外側壁6B,6Bの後端に当接するため、コネクタハウジングの外方に係合部が突出して大型化を招くことも無く、コンパクト化が要求される車載コネクタ等への用途にも有利になる。
更に、上記の合体コネクタ1の構成によれば、コネクタハウジング相互を連結合体させたときに、一方のコネクタハウジングの外側壁後端に確保されている逃げ部29は、他方のコネクタハウジングのガイド側壁5A,5Bの後端から内側に突設されたロック壁28によって埋まり、逃げ部29を埋めたロック壁28が、そこに隣接している端子収容室23の側壁として機能するため、逃げ部29を設けたことによって端子21の保護性能が低下することも無い。
また、本実施形態の合体コネクタ1では、合体したコネクタハウジング3A,3B相互間において、係止突起11と弾性係合片13との連結部から離れたそれぞれのコネクタハウジング3A,3Bの前端側は、一方のコネクタハウジング3Aに設けられたガイド溝31と他方のコネクタハウジング3Bに設けられた振れ防止突起33との係合により、ガイド溝31の溝幅方向への振れが防止される。
これによって、合体させたコネクタハウジング3A,3B相互間において、外力の作用によっていずれか一方のコネクタハウジングが傾くことを防止する効果が向上し、いずれか一方のコネクタハウジングの傾きによってコネクタハウジング3A,3B相互の連結が外れることを防止することができる。
更に、本実施形態の合体コネクタ1の場合、各コネクタハウジング3A,3B‥3A,3Bには、挿入された端子を収容保持する複数個の端子収容室23と、端子収容室23に収容された端子同士を導通接続するバスバー25とが、備えられている。
そのため、合体させるコネクタハウジング3A,3Bの数量を増減することで、バスバー25を介して分岐接続される回路数を増減することが簡単に実現でき、当該合体コネクタ1を介して分岐接続する回路数の変更等への対応が容易になる。
また、本実施形態の合体コネクタ1は、合体させるコネクタハウジング3A,3Bが同一構造であるため、コネクタハウジングの種類が増えることを抑止することができる。
但し、合体させるそれぞれのコネクタハウジング相互は、必ずしも同一構造とする必要はなく、本発明の趣旨を逸脱しない範囲で、別構造にしてもよい。
なお、本実施形態の各コネクタハウジング3A,3B‥では、端子収容室23の上部領域の全域が、端子収容室23の上部隔壁を兼ねる上面側外壁4A,4Bによって覆われている。しかし、端子収容室23の上部領域の内、少なくとも弾性係合片13や係止突起11の装備位置に対応する領域(即ち、ハウジングの後端寄りの領域)だけ、ハウジングの外側壁間を連結する上面側外壁4A(又は4B)で覆う構造としていても、各コネクタハウジングの外側壁の剛性を強化する目的を達成することができる。
従って、各コネクタハウジングの両外側壁間を連結する上面側外壁4A,4Bは、少なくとも弾性係合片13や係止突起11の装備位置に対応する領域に設けておいてもよく、それ以外の領域においては、軽量化や、端子の装着性向上などの目的に応じて、端子収容室23の上方を開放する構造としても良い。
本発明に係る合体コネクタの一実施形態の分解斜視図である。 図1に示した合体コネクタを構成するコネクタハウジング相互を合体させるときの操作を説明する側面図である。 図1に示した合体コネクタの合体状態の側面図である。 図1に示した合体コネクタの合体状態の斜視図である。 図3のB−B断面図である。 図5のD部拡大図である。 図6に示したロック壁に対応する相手側コネクタハウジングの逃がし部の説明図である。 従来の合体コネクタの分解斜視図である。 図8に示した合体コネクタの合体状態の斜視図である。 図9に示した合体コネクタの縦断面図である。
符号の説明
1 合体コネクタ
3A,3B コネクタハウジング
3Aa,3Ab,3Ba,3Bb 合わせ面
4A,4B 上面側外壁
5A,5B ガイド側壁
6A,6B 外側壁
11 係止突起
13 弾性係合片
21 雌型の端子
23 端子収容室
25 バスバー
27 ガイドリブ
28 ロック壁
29 逃げ部
31 ガイド溝
33 振れ防止突起

Claims (3)

  1. 少なくとも2つのコネクタハウジングを備え、互いの合わせ面同士を重ね合わせた前記少なくとも2つのコネクタハウジング相互が、前記少なくとも2つのコネクタハウジングのうちの一方のコネクタハウジングに設けられた係止突起と他方のコネクタハウジングに設けられた弾性係合片との係合により連結されて、前記少なくとも2つのコネクタハウジングが合体した形態で使用される合体コネクタであって、
    前記少なくとも2つのコネクタハウジング各々は、ハウジング本体を有し、
    前記ハウジング本体の端子収容室の上部隔壁となるハウジング本体上面側外壁の表面が、前記一方のコネクタハウジングの上に前記他方のコネクタハウジングを重ねた際の前記一方のコネクタハウジングの合わせ面となっていて、
    前記少なくとも2つのコネクタハウジング各々は、前記ハウジング本体上面側外壁の両側部から上方に延出されたガイド側壁を更に有し、
    前記ガイド側壁それぞれには該ガイド側壁によるガイド方向に沿って前記弾性係合片が設けられ、そして前記ガイド側壁それぞれの下方に位置した前記ハウジング本体外側壁には前記他方のコネクタハウジングの下に重ねられる前記一方のコネクタハウジングの前記ガイド側壁の前記弾性係合片が係合する前記係止突起が設けられ、
    前記他方のコネクタハウジングの合わせ面の後端側部分を前記一方のコネクタハウジングの合わせ面の前端側部分に重ね合わせた後、前記少なくとも2つのコネクタハウジングそれぞれの合わせ面の後端位置が揃うように前記少なくとも2つのコネクタハウジング相互を合わせ面に沿ってスライド移動させることで、前記弾性係合片が前記係止突起の前端部に係合して、前記係合突起の前端側への移動を規制することを特徴とする合体コネクタ。
  2. 前記少なくとも2つのコネクタハウジング各々は、前記弾性係合片と前記係止突起との係合状態をロックするロック壁を有し、
    前記ロック壁は、前記ガイド側壁の後端から内側に突出して設けられ、前記少なくとも2つのコネクタハウジングが連結合体される際に、前記一方のコネクタハウジングの前記ガイド側壁の間に挿入された前記他方のコネクタハウジングの前記ハウジング本体の外側壁後端に当接することにより、前記係合突起の後端側への移動を規制して、前記弾性係合片と前記係止突起との係合状態をロックし、
    前記ロック壁が当接する前記ハウジング本体外側壁後端には、当接した前記ロック壁が前記ハウジング本体の平面視輪郭内に収まるように、前記ロック壁の厚さ分だけ端面位置が後退した逃げ部が確保されていることを特徴とする請求項1に記載の合体コネクタ。
  3. 前記ロック壁が当接する前記ハウジング本体の外側壁は、端子収容室の側壁を兼ねていて、前記少なくとも2つのコネクタハウジングが連結合体された際に前記逃げ部に位置した前記一方のコネクタハウジングのロック壁が、前記他方のコネクタハウジングの端子収容室の側壁として機能することを特徴とする請求項2に記載の合体コネクタ。
JP2008170188A 2008-06-30 2008-06-30 合体コネクタ Expired - Fee Related JP5182933B2 (ja)

Priority Applications (1)

Application Number Priority Date Filing Date Title
JP2008170188A JP5182933B2 (ja) 2008-06-30 2008-06-30 合体コネクタ

Applications Claiming Priority (1)

Application Number Priority Date Filing Date Title
JP2008170188A JP5182933B2 (ja) 2008-06-30 2008-06-30 合体コネクタ

Publications (2)

Publication Number Publication Date
JP2010010035A true JP2010010035A (ja) 2010-01-14
JP5182933B2 JP5182933B2 (ja) 2013-04-17

Family

ID=41590257

Family Applications (1)

Application Number Title Priority Date Filing Date
JP2008170188A Expired - Fee Related JP5182933B2 (ja) 2008-06-30 2008-06-30 合体コネクタ

Country Status (1)

Country Link
JP (1) JP5182933B2 (ja)

Cited By (3)

* Cited by examiner, † Cited by third party
Publication number Priority date Publication date Assignee Title
JP2012169157A (ja) * 2011-02-15 2012-09-06 Yazaki Corp 合体型コネクタおよび合体型コネクタシステム
JP2013051050A (ja) * 2011-08-30 2013-03-14 Yazaki Corp コネクタ及び、コネクタの支持部材への固定構造
JP2016173963A (ja) * 2015-03-18 2016-09-29 矢崎総業株式会社 ワイヤハーネス、及び、分岐構造

Citations (2)

* Cited by examiner, † Cited by third party
Publication number Priority date Publication date Assignee Title
JP2000252002A (ja) * 1999-03-01 2000-09-14 Yazaki Corp 合体コネクタ
JP2002359042A (ja) * 2001-03-30 2002-12-13 Sumitomo Wiring Syst Ltd ジョイントコネクタ

Patent Citations (2)

* Cited by examiner, † Cited by third party
Publication number Priority date Publication date Assignee Title
JP2000252002A (ja) * 1999-03-01 2000-09-14 Yazaki Corp 合体コネクタ
JP2002359042A (ja) * 2001-03-30 2002-12-13 Sumitomo Wiring Syst Ltd ジョイントコネクタ

Cited By (4)

* Cited by examiner, † Cited by third party
Publication number Priority date Publication date Assignee Title
JP2012169157A (ja) * 2011-02-15 2012-09-06 Yazaki Corp 合体型コネクタおよび合体型コネクタシステム
JP2013051050A (ja) * 2011-08-30 2013-03-14 Yazaki Corp コネクタ及び、コネクタの支持部材への固定構造
CN103959570A (zh) * 2011-08-30 2014-07-30 矢崎总业株式会社 连接器和用于将连接器固定到支承部件的固定结构
JP2016173963A (ja) * 2015-03-18 2016-09-29 矢崎総業株式会社 ワイヤハーネス、及び、分岐構造

Also Published As

Publication number Publication date
JP5182933B2 (ja) 2013-04-17

Similar Documents

Publication Publication Date Title
US8007298B2 (en) Electrical connector
US10109954B2 (en) Lever-type connector
JP3320986B2 (ja) 合体コネクタ
US9287652B2 (en) Cover-fitted connector
US11031732B2 (en) Lever-type connector
CN103682742B (zh) 连接器
JP5182933B2 (ja) 合体コネクタ
CN101202391B (zh) 连接器
JP5116566B2 (ja) 合体コネクタ
CN101635412A (zh) 插座连接器
JP2012094289A (ja) 電線カバー及びコネクタ
CN108604752B (zh) 连接器单元
JP2020087675A (ja) コネクタ
JP2006100237A (ja) コネクタ
JP4655997B2 (ja) コネクタ
JP6838883B2 (ja) コネクタ装置
JP6015628B2 (ja) コネクタ
WO2013027353A1 (en) Cover-fitted connector
JP5071732B2 (ja) 電線カバー付きコネクタ
CN114830458B (zh) 连接器
JP2020126826A (ja) ハウジング及びコネクタ
JP2021018910A (ja) コネクタ
JP2001006801A (ja) コネクタ
JP5394696B2 (ja) コネクタ
JP4668955B2 (ja) コネクタハウジング

Legal Events

Date Code Title Description
A621 Written request for application examination

Free format text: JAPANESE INTERMEDIATE CODE: A621

Effective date: 20110428

A977 Report on retrieval

Free format text: JAPANESE INTERMEDIATE CODE: A971007

Effective date: 20120927

A131 Notification of reasons for refusal

Free format text: JAPANESE INTERMEDIATE CODE: A131

Effective date: 20121002

TRDD Decision of grant or rejection written
A01 Written decision to grant a patent or to grant a registration (utility model)

Free format text: JAPANESE INTERMEDIATE CODE: A01

Effective date: 20121218

A61 First payment of annual fees (during grant procedure)

Free format text: JAPANESE INTERMEDIATE CODE: A61

Effective date: 20130111

R150 Certificate of patent or registration of utility model

Ref document number: 5182933

Country of ref document: JP

Free format text: JAPANESE INTERMEDIATE CODE: R150

FPAY Renewal fee payment (event date is renewal date of database)

Free format text: PAYMENT UNTIL: 20160125

Year of fee payment: 3

R250 Receipt of annual fees

Free format text: JAPANESE INTERMEDIATE CODE: R250

R250 Receipt of annual fees

Free format text: JAPANESE INTERMEDIATE CODE: R250

R250 Receipt of annual fees

Free format text: JAPANESE INTERMEDIATE CODE: R250

R250 Receipt of annual fees

Free format text: JAPANESE INTERMEDIATE CODE: R250

R250 Receipt of annual fees

Free format text: JAPANESE INTERMEDIATE CODE: R250

R250 Receipt of annual fees

Free format text: JAPANESE INTERMEDIATE CODE: R250

R250 Receipt of annual fees

Free format text: JAPANESE INTERMEDIATE CODE: R250

S531 Written request for registration of change of domicile

Free format text: JAPANESE INTERMEDIATE CODE: R313531

R350 Written notification of registration of transfer

Free format text: JAPANESE INTERMEDIATE CODE: R350

R250 Receipt of annual fees

Free format text: JAPANESE INTERMEDIATE CODE: R250

LAPS Cancellation because of no payment of annual fees