JP2010008143A - 光線路監視装置及び光線路監視システム - Google Patents

光線路監視装置及び光線路監視システム Download PDF

Info

Publication number
JP2010008143A
JP2010008143A JP2008165761A JP2008165761A JP2010008143A JP 2010008143 A JP2010008143 A JP 2010008143A JP 2008165761 A JP2008165761 A JP 2008165761A JP 2008165761 A JP2008165761 A JP 2008165761A JP 2010008143 A JP2010008143 A JP 2010008143A
Authority
JP
Japan
Prior art keywords
measurement
optical line
measurement data
optical
unit
Prior art date
Legal status (The legal status is an assumption and is not a legal conclusion. Google has not performed a legal analysis and makes no representation as to the accuracy of the status listed.)
Granted
Application number
JP2008165761A
Other languages
English (en)
Other versions
JP5458515B2 (ja
Inventor
Yoshihito Amakawa
善仁 天川
Current Assignee (The listed assignees may be inaccurate. Google has not performed a legal analysis and makes no representation or warranty as to the accuracy of the list.)
Yokogawa Electric Corp
Original Assignee
Yokogawa Electric Corp
Priority date (The priority date is an assumption and is not a legal conclusion. Google has not performed a legal analysis and makes no representation as to the accuracy of the date listed.)
Filing date
Publication date
Application filed by Yokogawa Electric Corp filed Critical Yokogawa Electric Corp
Priority to JP2008165761A priority Critical patent/JP5458515B2/ja
Priority to US12/489,024 priority patent/US8264677B2/en
Publication of JP2010008143A publication Critical patent/JP2010008143A/ja
Application granted granted Critical
Publication of JP5458515B2 publication Critical patent/JP5458515B2/ja
Active legal-status Critical Current
Anticipated expiration legal-status Critical

Links

Images

Classifications

    • GPHYSICS
    • G01MEASURING; TESTING
    • G01MTESTING STATIC OR DYNAMIC BALANCE OF MACHINES OR STRUCTURES; TESTING OF STRUCTURES OR APPARATUS, NOT OTHERWISE PROVIDED FOR
    • G01M11/00Testing of optical apparatus; Testing structures by optical methods not otherwise provided for
    • G01M11/30Testing of optical devices, constituted by fibre optics or optical waveguides
    • G01M11/31Testing of optical devices, constituted by fibre optics or optical waveguides with a light emitter and a light receiver being disposed at the same side of a fibre or waveguide end-face, e.g. reflectometers
    • G01M11/3109Reflectometers detecting the back-scattered light in the time-domain, e.g. OTDR
    • G01M11/3145Details of the optoelectronics or data analysis

Landscapes

  • Physics & Mathematics (AREA)
  • Engineering & Computer Science (AREA)
  • Microelectronics & Electronic Packaging (AREA)
  • Optics & Photonics (AREA)
  • Chemical & Material Sciences (AREA)
  • Analytical Chemistry (AREA)
  • General Physics & Mathematics (AREA)
  • Optical Communication System (AREA)
  • Testing Of Optical Devices Or Fibers (AREA)

Abstract

【課題】デッドタイムを従来よりも短縮することにより、短期的な異常現象における異常個所をより確実に特定する。
【解決手段】監視対象である光線路に光パルスを照射すると共に当該光パルスによって得られる後方散乱光に基づいて測定データを生成する測定部3と、該測定部3の動作を制御すると共に、当該測定部3から取得した測定データに所定の演算処理を施すことにより光線路の異常個所を特定する演算処理部(4,5,6)とを備え、演算処理部(4,5,6)は、測定部3から測定データを取得すると、測定部3に次の測定の開始を指示する。
【選択図】図2

Description

本発明は、光ファイバ等の光線路の状態を監視する光線路監視装置及び光線路監視システムに関する。
周知のように、光パルス試験器(OTDR:Optical Time Domain Reflectometer)は、光線路に測定光として出射した光パルスの後方散乱光を検出することにより光線路の光伝送特性や異常個所を特定する装置である。この光パルス試験器は、光線路の測定装置あるいは監視装置として利用されている。
また、近年、このような光パルス試験器と光パワーメータ(OPM:Optical Power Meter)とパーソナルコンピュータとを組み合わせた光線路監視システムが実用化されている。この光線路監視システムは、光パルス試験器と光パワーメータとをパーソナルコンピュータによって制御するものであり、光通信用の光線路に適用されるものである。すなわち、この光線路監視システムは、パーソナルコンピュータによる制御の下で、光パワーメータが光線路から受光される光通信信号のレベルを検出し、この光信号レベルが異常な場合に光パルス試験器が光線路の異常個所を特定するものである。
例えば下記特許文献1には、上記光パルス試験器の詳細が開示されている。
特開2008−020229号公報
しかしながら、上記従来の光線路監視システムでは、パーソナルコンピュータが光パワーメータの検出結果に基づいて光通信信号レベルの異常を判定した後に光パルス試験器に測定開始指示を出力して異常個所を特定させるので、パーソナルコンピュータによる異常判定から光パルス試験器による測定開始の間がデッドタイムとなる。そして、このデッドタイム内に光線路の異常が解消してしまうような短期的な異常現象(何らかの原因による光線路の瞬断等であって、例えば異常が1ms程度しか継続しない現象)について、従来の光線路監視システムでは異常個所を特定することができない。
また、光パルス試験器は、複数の光パルスに関する後方散乱光の波形を信号処理によって平均化することにより測定信号を取得し、この測定信号に基づいて異常個所の特定及び画像化を行うものなので、測定時間が比較的長く、上述した短期的な異常現象における異常個所を特定する際の障害となる。したがって、従来の光線路監視システムでは、短期的な異常現象における異常個所を特定することができず、実用性に欠ける。
本発明は、上述した事情に鑑みてなされたものであり、デッドタイムを従来よりも短縮することにより、短期的な異常現象における異常個所をより確実に特定することが可能な光線路監視装置及び光線路監視システムを提供することを目的とする。
上記目的を達成するために、本発明では、光線路監視装置に係る第1の解決手段として、監視対象である光線路に光パルスを照射すると共に当該光パルスによって得られる後方散乱光に基づいて測定データを生成する測定部と、該測定部の動作を制御すると共に、当該測定部から取得した測定データに所定の演算処理を施すことにより光線路の異常個所を特定する演算処理部とを備え、演算処理部は、測定部から測定データを取得すると、測定部に次の測定の開始を指示する、という手段を採用する。
光線路監視装置に係る第2の解決手段として、上記第1の手段において、演算処理部は、測定部における測定時間内に前記演算処理を行う、という手段を採用する。
光線路監視装置に係る第3の解決手段として、上記第1または第2の手段において、演算処理部は、光線路が健全なときに得られた測定データである基準データと監視時において得られた測定データとの差分データにおいて所定のしきい値を超える箇所を異常箇所として特定する、という手段を採用する。
また、本発明では、光線路監視システムに係る第1の解決手段として、光線路測定装置と、コンピュータと、光線路測定装置とコンピュータとを通信可能に接続する通信線とを備え、光線路測定装置は、監視対象である光線路に光パルスを照射すると共に当該光パルスによって得られる後方散乱光に基づいて測定データを生成し、コンピュータは、光線路測定装置から測定データを取得し、測定データに所定の演算処理を施すことにより光線路の異常個所を特定する、という手段を採用する。
光線路監視システムに係る第2の解決手段として、上記第1の手段において、演算装置は、光線路測定装置から取得した測定データを測定データファイルに格納して保存し、外部からの指示に基づいて測定データファイル内の測定データに所定の演算処理を施すことにより光線路の異常個所を特定する、という手段を採用する。
本発明によれば、演算処理部は、測定部から測定データを取得すると、測定部に次の測定の開始を指示するので、デッドタイムを従来よりも短縮することが可能であり、よって短期的な異常現象における異常個所をより確実に特定することが可能である。
また、光線路測定装置は、監視対象である光線路に光パルスを照射すると共に当該光パルスによって得られる後方散乱光に基づいて測定データを生成し、コンピュータは、光線路測定装置から測定データを取得し、測定データに所定の演算処理を施すことにより光線路の異常個所を特定するので、つまり光線路測定装置とコンピュータとで測定処理と当該測定処理によって得られた測定データに対する演算処理とを分散処理するので、光線路測定装置の処理速度が遅い場合であっても、短期的な異常現象の異常個所を確実に特定することが可能である。
以下、図面を参照して、本発明の一実施形態について説明する。
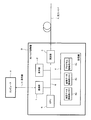
図1は、本実施形態に係る光線路監視システムの機能構成を示すシステム構成図である。本光線路監視システムは、図示するようにコンピュータA、光パルス試験機B(OTDR:Optical Time Domain Reflectometer)及び通信線Cから構成されている。
コンピュータAは、通信機能を備えた例えばパーソナルコンピュータ(PC)であり、通信線Cを介して光パルス試験機Bと通信を行うことにより光パルス試験機Bを制御する制御装置である。このコンピュータAには通信線Cを介して光パルス試験機Bを制御するための制御プログラムが予め搭載されている。コンピュータAは、上記制御プログラムに基づいて光パルス試験機Bと通信を行うことにより、当該光パルス試験機Bの動作を制御する。なお、コンピュータAの通信仕様は、後述する光パルス試験機Bの通信部1の通信仕様に合致したものであり、例えば信速度が100Mbps以上の高速イーサネット(登録商標)である。
光パルス試験機Bは、図示するように、通信部1、表示部2、測定部3、記憶部4及びCPU(Central Processing Unit)5がシステムバス6によって相互接続された光線路測定装置である。これら構成要素のうち、記憶部4、CPU5及びシステムバス6は、演算処理部を構成している。通信部1は、CPU5による制御下で、所定の通信仕様に基づいてコンピュータAと通信を行う。通信部1の通信仕様は、上述したように信速度が100Mbps以上の高速イーサネット(登録商標)である。
表示部2は、例えば液晶ディスプレイであり、CPU5による制御下で測定部3における測定波形や光パルス試験機Bの動作状態等を表示する。測定部3は、CPU5による制御下で、監視対象である光ファイバXの異常個所を特定する。この光ファイバXは所定の長さを有する光線路であり、測定部3は、このような光ファイバXに光パルスを順次出射して得られる後方散乱光の波形を測定データ(波形データ)として取得する。
記憶部4は、上記測定データを記憶するための測定データ格納用メモリ4a、測定データに対応する基準データを記憶する基準データ格納用メモリ4b及び監視プログラムが予め記憶されたプログラム格納用メモリ4c等を備えている。これら各メモリのうち、測定データ格納用メモリ4aはRAM(Random Access Memory)であり、基準データ格納用メモリ4b及びプログラム格納用メモリ4cはROM(Read Only Memory)である。
上記基準データは、光ファイバXの健全性が保障されているとき(例えば光ファイバXの敷設初期状態)に測定部3が光ファイバXから取得した後方散乱光の測定データ(波形データ)である。このような基準データは、予め取得されて基準データ格納用メモリ4bに記憶されている。
CPU5は、例えば64ビットCISC(Complex Instruction Set Computer)プロセッサであり、上記監視プログラムを実行することにより、システムバス6を介して上記通信部1、表示部2、測定部3及び記憶部4を統括的に制御する。システムバス6は、例えばPCI(Peripheral Component Interconnect)バスであり、通信部1、表示部2、測定部3、記憶部4及びCPU5を通信可能に相互接続する。
また、通信線Cは、上記通信部1及びコンピュータAの通信仕様に準拠したものであり、例えばイーサネット(登録商標)の通信仕様に準拠したシリアル通信線である。なお、コンピュータA及び光パルス試験機Bの通信部1の通信仕様については、イーサネット(登録商標)に代えて、高速USB(Universal Serial Bus)等、他の通信仕様であっても良い。
次に、このように構成された本光線路監視システムの動作について、図2に示すフローチャートに沿って詳しく説明する。なお、このフローチャートは、監視プログラムに基づくCPU5の処理手順(光パルス試験機Bの動作)を示すものである。
本光線路監視システムにおいて、光パルス試験機Bは、測定開始要求(監視開始要求)を示す信号をコンピュータAから通信線Cを介して受信すると、監視プログラムに基づいて一連の監視動作を開始する。すなわち、光パルス試験機Bにおいて、通信部1は、測定開始要求をコンピュータAから受信すると、この測定開始要求をシステムバス6を介してCPU5に出力する。CPU5は、このようにして測定開始要求が入力されると(ステップS1)、リアルタイム測定開始指示をシステムバス6を介して測定部3に出力する(ステップS2)。
この結果、測定部3は、光ファイバXに光パルスを順次出射し、各パルスの後方散乱光を取得して平均化することにより測定データ(波形データ)を生成する。そして、測定部3は、上記測定データの生成、つまり光ファイバXの測定が完了すると、当該測定完了を示す割込み(測定完了割込み)をシステムバス6を介してCPU5に出力する。
CPU5は、上記測定完了割込みが入力されると(ステップS3)、測定部3の測定データを記憶部4の測定データ格納用メモリ4aに転送させる(ステップS4)。すなわち、CPU5は、システムバス6を介して測定部3から測定データを読み出して測定データ格納用メモリ4aに記憶させる。そして、このような測定データの転送が完了すると、CPU5は、システムバス6を介して次のリアルタイム測定開始指示を測定部3に出力する(ステップS5)。この結果、測定部3は2回目の測定を介して次の測定データを生成するが、これとは別に、CPU5は、ステップS5以下の処理を行う。
このような測定部3の測定動作と並行して、測定データ格納用メモリ4aの測定データ(リニアデータ)をdBデータ(対数データ)に変換する(ステップS6)。このdBデータは、後方散乱光の波形レベル(振幅)を対数値つまりdB(デシベル)で示す波形データである。このようなdBデータの生成が終了すると、CPU5は、dBデータに白色ノイズを除去する波形フィルタ処理を施し(ステップS7)、この波形フィルタ処理後のdBデータ(測定波形)と基準データ(基準波形)との差分である差分データ(差分波形)を生成する(ステップS8)。そして、CPU5は、この差分データにおいて、測定波形と基準波形との差が所定のしきい値を越える箇所を探索し光ファイバXの異常個所として特定する(ステップS9)。
図3は、上記異常個所の特定処理を示す模式図であり、(a)は測定波形の模式図、(b)は差分波形の模式図である。図3(a)に示すように、光パルス試験機Bにおける測定波形は、距離に応じて応じて徐々にレベルが低下する異常個所におい波形レベルが急峻に変化するものとなる。基準波形は、異常が発生していない状態における測定波形なので、波形レベルの急峻な変化が存在しないものである。したがって、このような測定波形と基準波形との差分である差分波形は、図3(b)に示すように、異常個所以外では平坦であり、異常個所においてのみ波形レベルが急峻に変化するものとなる。このような差分波形をしきい値Refによって評価することにより、差分波形においてしきい値Refを越える箇所として異常個所を特定することができる。
ここで、上記ステップS3〜S9の一連の処理は、測定部3の測定時間、つまり測定部3がリアルタイム測定開始指示を受信してから測定データを生成して測定完了割込みをCPU5に出力するまでの間にCPU5によって実行される。このような測定部3の測定時間は、例えば200msであり、測定部3が2回に亘る波形の平均化処理を行うのに必要な時間である。すなわち、CPU5は、次のリアルタイム測定開始指示に基づいて測定部3から次の測定完了割込みが入力されるまでに、ステップS3〜S9の処理を200ms内で完了する。
このような本実施形態によれば、CPU5は、測定データを測定部3から測定データ格納用メモリ4aに転送させると速やかに次の測定の開始指示を測定部3に出力して次の測定を開始させるので、デッドタイムを従来よりも短縮することが可能であり、よって短期的な異常現象における異常個所をより確実に特定することが可能である。
本実施形態によれば、例えば200ms毎に光ファイバXの測定が繰り返されることになるので、例えば異常が1秒程度しか継続しない短期的な異常現象について異常個所を十分に特定することが可能であり、よって従来の光線路監視システムよりも実用的な光線路監視装置及び光線路監視システムを提供することができる。
次に、本実施形態における処理動作の変形例について説明する。
上記動作説明では、測定データに基づくステップ4〜S9の処理を光パルス試験機BのCPU5が実行することを述べたが、CPU5の処理速度が遅い場合には、ステップS3〜S9の一連の処理を上述した200msの間に実行することができない場合が考えられる。本変形例は、このような状況に対処するために、測定データ格納用メモリ4aに記憶された測定データを通信線Cを介してコンピュータAに転送し、測定データに基づくステップ4〜S9の処理をコンピュータAで実行するものである。
図4は、本変形例における光パルス試験機Bの動作を示すフローチャートである。なお、このフローチャートにおいて、ステップS1a〜S5aまでの処理は、図2に示したフローチャートにおけるステップS1〜S5までの処理と同一であり、ここでは説明を省略する。
本変形例において、光パルス試験機BのCPU5は、次のリアルタイム測定開始指示を測定部3に出力すると(ステップS5a)、データ更新フラグを「ON」に設定する(ステップS6a)。また、CPU5は、コンピュータAから受信した通信要求割込みがシステムバス6を介して通信部1から入力されると(ステップS7a)、システムバス6を介して通信部1に制御指令を出力することにより、測定データ格納用メモリ4aに記憶された測定データを通信線Cを介してコンピュータAに転送させる(ステップS8a)。すなわち、通信部1は、制御指令がシステムバス6を介してCPU5から入力されると、測定データ格納用メモリ4aから測定データを読み出し、通信線Cを介してコンピュータAに送信する。
そして、CPU5は、測定データのコンピュータAへの転送が完了すると、上述したデータ更新フラグを「OFF」に設定する(ステップS9a)。すなわち、本変形例におけるデータ更新フラグは、測定データ格納用メモリ4aに記憶された測定データが既にコンピュータAに転送されたものであるか、あるいはコンピュータAに未転送のものであるかを示すものである。
図5は、このような光パルス試験機Bの動作に対するコンピュータAの動作を示すフローチャートである。コンピュータAは、測定開始要求を光パルス試験機Bに送信すると(ステップSb1)、データ更新フラグの参照要求を通信線Cを介して光パルス試験機Bに送信してデータ更新フラグの設定状態を確認することにより測定データの更新状態(ステップSb2)。の上記データ更新フラグを参照することにより、光パルス試験機Bの測定データ格納用メモリ4aにおける測定データの更新状態を判断する(ステップSb2)。そして、コンピュータAは、測定データが更新されている場合には、通信線Cを介して測定データの転送要求を光パルス試験機Bに送信することにより、測定データ格納用メモリ4aの測定データを取得する(ステップSb3)。
そして、コンピュータAは、測定データ(リニアデータ)をdBデータ(対数データ)に変換し(ステップSb4)、dBデータに白色ノイズを除去する波形フィルタ処理を施し(ステップSb5)、波形フィルタ処理後のdBデータ(つまり測定データ)と基準データとの差分データを生成する(ステップSb6)。そして、コンピュータAは、この差分データに基づいて、測定波形と基準波形との差が所定のしきい値以上の箇所を探索して光ファイバXの異常個所として特定する(ステップSb7)。
このような変形例によれば、コンピュータAと光パルス試験機Bとが処理を分散するので、光パルス試験機BのCPU5の処理速度が遅い場合であっても異常個所を十分に特定することが可能であり、よって従来の光線路監視システムよりも実用的な光線路監視装置及び光線路監視システムを提供することができる。
なお、動作速度が遅いために、コンピュータAが図5に示した一連の処理を光パルス試験機Bにおける測定周期を阻害しない時間内に実行し得ないことも考えられる。このような場合には、コンピュータAは、図5におけるステップS4b〜S7bの処理を割愛することにより光パルス試験機Bで更新された測定データを順次取得してハードディスク装置等の記憶装置に測定データファイルとして順次記憶させる。そして、コンピュータAは、ユーザから入力された操作指示に基づいて光パルス試験機Bにおける測定動作とは切り離された別の時間で測定データファイルから測定データを読み出して異常個所の特定を行う。
すなわち、異常個所の特定は、光ファイバXの監視中に必ずしもリアルタイムで行う必要はない場合がある。上述したように記憶装置に保存された測定データファイルを監視終了後に読み出して短期的な異常現象の発生と異常個所を特定することによっても十分に意義のある光ファイバXの監視を実現することができる。
また、上述したコンピュータAの場合と同様に、光パルス試験機Bにおいても図2に示したステップS5〜S9の処理を割愛し、光パルス試験機BのCPU5が測定部3から取得した測定データを測定データ格納用メモリ4aに測定データファイルとして順次記憶させ、監視が終了した後で測定データファイルから測定データを読み出してステップS5〜S9の処理を行うようにしても良い。
本発明の一実施形態に係わる光線路監視システムの機能構成を示すシステム構成図である。 本発明の一実施形態における光パルス試験機Bの動作を示すフローチャートである。 本発明の一実施形態における異常個所の特定処理を示す模式図である。 本発明の一実施形態の変形例における光パルス試験機Bの動作を示すフローチャートである。 本発明の一実施形態の変形例におけるコンピュータAの動作を示すフローチャートである。
符号の説明
A…コンピュータ、B…光パルス試験機、C…通信線、1…通信部、2…表示部、3…測定部、4…記憶部、4a…測定データ格納用メモリ、4b…基準データ格納用メモリ、4c…プログラム格納用メモリ、5…CPU、6…システムバス

Claims (5)

  1. 監視対象である光線路に光パルスを照射すると共に当該光パルスによって得られる後方散乱光に基づいて測定データを生成する測定部と、
    該測定部の動作を制御すると共に、当該測定部から取得した前記測定データに所定の演算処理を施すことにより前記光線路の異常個所を特定する演算処理部とを備え、
    前記演算処理部は、前記測定部から前記測定データを取得すると、前記測定部に次の測定の開始を指示することを特徴とする光線路監視装置。
  2. 前記演算処理部は、前記測定部における測定時間内に前記演算処理を行うことを特徴とする請求項1記載の光線路監視装置。
  3. 前記演算処理部は、光線路が健全なときに得られた測定データである基準データと監視時において得られた測定データとの差分データにおいて所定のしきい値を超える箇所を異常箇所として特定することを特徴とする請求項1または2記載の光線路監視装置。
  4. 光線路測定装置と、コンピュータと、前記光線路測定装置と前記コンピュータとを通信可能に接続する通信線とを備え、
    前記光線路測定装置は、監視対象である光線路に光パルスを照射すると共に当該光パルスによって得られる後方散乱光に基づいて測定データを生成し、
    前記コンピュータは、前記光線路測定装置から測定データを取得し、前記測定データに所定の演算処理を施すことにより前記光線路の異常個所を特定する
    ことを特徴とする光線路監視システム。
  5. 前記演算装置は、前記光線路測定装置から取得した測定データを測定データファイルに格納して保存し、外部からの指示に基づいて前記測定データファイル内の測定データに所定の演算処理を施すことにより前記光線路の異常個所を特定する
    ことを特徴とする請求項4記載の光線路監視システム。
JP2008165761A 2008-06-25 2008-06-25 光線路監視装置 Active JP5458515B2 (ja)

Priority Applications (2)

Application Number Priority Date Filing Date Title
JP2008165761A JP5458515B2 (ja) 2008-06-25 2008-06-25 光線路監視装置
US12/489,024 US8264677B2 (en) 2008-06-25 2009-06-22 Optical path monitoring device and optical path monitoring system

Applications Claiming Priority (1)

Application Number Priority Date Filing Date Title
JP2008165761A JP5458515B2 (ja) 2008-06-25 2008-06-25 光線路監視装置

Publications (2)

Publication Number Publication Date
JP2010008143A true JP2010008143A (ja) 2010-01-14
JP5458515B2 JP5458515B2 (ja) 2014-04-02

Family

ID=41446994

Family Applications (1)

Application Number Title Priority Date Filing Date
JP2008165761A Active JP5458515B2 (ja) 2008-06-25 2008-06-25 光線路監視装置

Country Status (2)

Country Link
US (1) US8264677B2 (ja)
JP (1) JP5458515B2 (ja)

Cited By (5)

* Cited by examiner, † Cited by third party
Publication number Priority date Publication date Assignee Title
EP2357007A2 (en) 2010-01-18 2011-08-17 Seiko Epson Corporation Liquid for discharge, method for discharging biospecimen, and compound
JP2012167935A (ja) * 2011-02-10 2012-09-06 Anritsu Corp 光パルス試験器イベント検出方法及び装置並びに光パルス試験装置
JP2013040815A (ja) * 2011-08-12 2013-02-28 Yokogawa Electric Corp 光パルス試験器
JP2016516218A (ja) * 2013-05-24 2016-06-02 ▲ホア▼▲ウェイ▼技術有限公司Huawei Technologies Co.,Ltd. 光分岐アセンブリ、受動光ネットワーク、および光送信方法
US20210278314A1 (en) * 2020-03-09 2021-09-09 Verizon Patent And Licensing Inc. Systems and methods for determining fiber cable geographic locations

Families Citing this family (5)

* Cited by examiner, † Cited by third party
Publication number Priority date Publication date Assignee Title
CN102723989A (zh) * 2012-07-04 2012-10-10 慈溪市供电局 一种光缆问题的分级告警方法及装置
US9429467B2 (en) * 2014-04-11 2016-08-30 Lockheed Martin Corporation System for non-contact optical-power measurement
CN111884709B (zh) * 2020-07-20 2021-09-14 中铁第四勘察设计院集团有限公司 一种铁路通信光缆在线监测系统及方法
US12244337B2 (en) * 2021-08-28 2025-03-04 Subcom, Llc Methods, mediums, and systems for testing fiber optic telecommunication systems
US11870488B2 (en) * 2022-02-25 2024-01-09 Ciena Corporation Fast fiber transient locating systems and methods

Citations (2)

* Cited by examiner, † Cited by third party
Publication number Priority date Publication date Assignee Title
JPH01141331A (ja) * 1987-11-27 1989-06-02 Anritsu Corp 光パルス試験器
JPH08163033A (ja) * 1994-12-06 1996-06-21 Nippon Telegr & Teleph Corp <Ntt> 光線路試験方法

Family Cites Families (2)

* Cited by examiner, † Cited by third party
Publication number Priority date Publication date Assignee Title
JP2008020229A (ja) 2006-07-11 2008-01-31 Yokogawa Electric Corp 光パルス試験器
JP2008122108A (ja) * 2006-11-08 2008-05-29 Anritsu Corp 光パルス試験装置

Patent Citations (2)

* Cited by examiner, † Cited by third party
Publication number Priority date Publication date Assignee Title
JPH01141331A (ja) * 1987-11-27 1989-06-02 Anritsu Corp 光パルス試験器
JPH08163033A (ja) * 1994-12-06 1996-06-21 Nippon Telegr & Teleph Corp <Ntt> 光線路試験方法

Non-Patent Citations (1)

* Cited by examiner, † Cited by third party
Title
JPN6013061551; 佐藤 泰史、江間 伸明、播磨 洋介、佐藤 直人: '「光ファイバの敷設・保守用新型OTDR AQ7260シリーズ」' 横河技報 Vol. 49, No. 2, 20050420, p. 55-58 *

Cited By (7)

* Cited by examiner, † Cited by third party
Publication number Priority date Publication date Assignee Title
EP2357007A2 (en) 2010-01-18 2011-08-17 Seiko Epson Corporation Liquid for discharge, method for discharging biospecimen, and compound
JP2012167935A (ja) * 2011-02-10 2012-09-06 Anritsu Corp 光パルス試験器イベント検出方法及び装置並びに光パルス試験装置
JP2013040815A (ja) * 2011-08-12 2013-02-28 Yokogawa Electric Corp 光パルス試験器
JP2016516218A (ja) * 2013-05-24 2016-06-02 ▲ホア▼▲ウェイ▼技術有限公司Huawei Technologies Co.,Ltd. 光分岐アセンブリ、受動光ネットワーク、および光送信方法
US9791628B2 (en) 2013-05-24 2017-10-17 Huawei Technologies Co., Ltd. Optical branching assembly, passive optical network, and optical transmission method
US20210278314A1 (en) * 2020-03-09 2021-09-09 Verizon Patent And Licensing Inc. Systems and methods for determining fiber cable geographic locations
US11802810B2 (en) * 2020-03-09 2023-10-31 Verizon Patent And Licensing Inc. Systems and methods for determining fiber cable geographic locations

Also Published As

Publication number Publication date
JP5458515B2 (ja) 2014-04-02
US8264677B2 (en) 2012-09-11
US20090323050A1 (en) 2009-12-31

Similar Documents

Publication Publication Date Title
JP5458515B2 (ja) 光線路監視装置
EP2787442B1 (en) Controller, information processing apparatus, and program
WO2017071519A1 (zh) 多平台通用测试方法、装置和系统
JP6998781B2 (ja) 故障診断システム
EP2767906A1 (en) Controller, information processing apparatus, and program
EP3637082A1 (en) Otdr method targeting identified event
TW201506611A (zh) 主機板測試系統及方法
TW201423385A (zh) 電腦測試系統及方法
US20190041826A1 (en) Tool management system, tool management method, and computer-readable storage medium storing computer program for allowing computer to act as tool management system
JP2017532660A5 (ja)
JP6275009B2 (ja) 試験装置及び試験プログラム
JP2006040122A (ja) プログラマブルコントローラ
CN113485898A (zh) 振动测点显示方法、装置、设备及存储介质
CN110888809B (zh) 一种测试任务的风险预测方法及装置
JP2019162254A5 (ja)
US11422544B2 (en) Failure diagnosis system
CN107992406A (zh) 一种软件测试方法、相关系统及计算机可读存储介质
JPWO2019049199A1 (ja) データ表示システム、表示装置およびデータ表示方法
CN116627747A (zh) 服务器压力测试巡检方法、系统、电子设备及存储介质
JP2018092403A (ja) 診断装置、および、診断方法
CN113375807A (zh) 一种主板温度检测方法、装置、存储介质和设备
JPWO2023119359A5 (ja)
JP2022087765A5 (ja)
CN106979794B (zh) 传感器测试方法及装置
CN114880178B (zh) 一种测试方法、系统及装置

Legal Events

Date Code Title Description
A621 Written request for application examination

Free format text: JAPANESE INTERMEDIATE CODE: A621

Effective date: 20110311

A977 Report on retrieval

Free format text: JAPANESE INTERMEDIATE CODE: A971007

Effective date: 20130717

A131 Notification of reasons for refusal

Free format text: JAPANESE INTERMEDIATE CODE: A131

Effective date: 20130723

A521 Written amendment

Free format text: JAPANESE INTERMEDIATE CODE: A523

Effective date: 20130821

TRDD Decision of grant or rejection written
A01 Written decision to grant a patent or to grant a registration (utility model)

Free format text: JAPANESE INTERMEDIATE CODE: A01

Effective date: 20131217

A61 First payment of annual fees (during grant procedure)

Free format text: JAPANESE INTERMEDIATE CODE: A61

Effective date: 20131230

R150 Certificate of patent or registration of utility model

Ref document number: 5458515

Country of ref document: JP

Free format text: JAPANESE INTERMEDIATE CODE: R150

Free format text: JAPANESE INTERMEDIATE CODE: R150