JP2010008020A - 熱交換器 - Google Patents

熱交換器 Download PDF

Info

Publication number
JP2010008020A
JP2010008020A JP2008170497A JP2008170497A JP2010008020A JP 2010008020 A JP2010008020 A JP 2010008020A JP 2008170497 A JP2008170497 A JP 2008170497A JP 2008170497 A JP2008170497 A JP 2008170497A JP 2010008020 A JP2010008020 A JP 2010008020A
Authority
JP
Japan
Prior art keywords
plate
tank body
tank
heat exchanger
header
Prior art date
Legal status (The legal status is an assumption and is not a legal conclusion. Google has not performed a legal analysis and makes no representation as to the accuracy of the status listed.)
Granted
Application number
JP2008170497A
Other languages
English (en)
Other versions
JP5070144B2 (ja
Inventor
Seiji Matsushima
誠二 松島
Current Assignee (The listed assignees may be inaccurate. Google has not performed a legal analysis and makes no representation or warranty as to the accuracy of the list.)
Resonac Holdings Corp
Original Assignee
Showa Denko KK
Priority date (The priority date is an assumption and is not a legal conclusion. Google has not performed a legal analysis and makes no representation as to the accuracy of the date listed.)
Filing date
Publication date
Application filed by Showa Denko KK filed Critical Showa Denko KK
Priority to JP2008170497A priority Critical patent/JP5070144B2/ja
Publication of JP2010008020A publication Critical patent/JP2010008020A/ja
Application granted granted Critical
Publication of JP5070144B2 publication Critical patent/JP5070144B2/ja
Expired - Fee Related legal-status Critical Current
Anticipated expiration legal-status Critical

Links

Images

Landscapes

  • Details Of Heat-Exchange And Heat-Transfer (AREA)

Abstract

【課題】製造の際の工程数を減少することができるとともに、ブラケットの位置ずれを防止しうる熱交換器を提供する。
【解決手段】熱交換器を適用したガスクーラは、ヘッダタンク2と、熱交換管4と、ブラケット7とを備えている。ヘッダタンク2を、タンク本体8と管接続用プレート9とにより構成する。管接続用プレート9の通風方向の両側縁部に、タンク本体8側に突出した突出壁25を形成する。タンク本体8の通風方向の両側縁部に、タンク本体8の厚さ方向外面および通風方向両側面に開口し、かつタンク本体8の厚さ方向にのびる凹溝34,35を形成する。ブラケット7にタンク本体8の凹溝34,35に嵌る爪44,45を設ける。ブラケット7の爪44,45をタンク本体8の凹溝34,35内に嵌め入れて管接続用プレート9の突出壁25により通風方向内側に押さえた状態で、ブラケット7をヘッダタンク2にろう付する。
【選択図】図3

Description

この発明は、熱交換器に関し、さらに詳しくは、たとえばCOなどの超臨界冷媒が用いられる超臨界冷凍サイクルに使用される熱交換器に関する。
この明細書において、「超臨界冷凍サイクル」とは、高圧側において、冷媒が臨界圧力を超えた超臨界状態となる冷凍サイクルを意味するものとし、「超臨界冷媒」とは、超臨界冷凍サイクルに用いられる冷媒を意味するものとする。
たとえば、圧縮機、ガスクーラ、エバポレータ、減圧器、およびガスクーラから出てきた冷媒とエバポレータから出てきた冷媒とを熱交換させる中間熱交換器を備えた超臨界冷凍サイクルのガスクーラに用いられる熱交換器として、互いに間隔をおいて配置された1対のヘッダタンクと、両ヘッダタンク間に並列状に配置されかつ両端部がそれぞれ両ヘッダタンクに接続された複数の熱交換管と、ヘッダタンクに接合されたブラケットとを備えており、各ヘッダタンクが、タンク本体と、タンク本体における熱交換管側を向いた面を覆うとともにタンク本体に接合された管接続用プレートとにより構成され、タンク本体が、外側に位置する第1プレートと、第1プレートと管接続用プレートとの間に介在させられるとともに両プレートにろう付された第2プレートとよりなり、管接続用プレートの通風方向の両側縁部に、タンク本体側に突出し、タンク本体の通風方向の両側面の全体を覆う側面被覆壁が形成されるとともに、側面被覆壁の先端に第1プレート外面の通風方向の両側縁部に係合する係合壁が側面被覆壁の全長にわたって設けられ、ブラケットが、ヘッダタンクを通風方向の両側から挟持する挟持部を有しており、挟持部によりヘッダタンクを挟持した状態で、ブラケットがヘッダタンクに接合されている熱交換器が知られている(特許文献1参照)。
ところで、特許文献1記載の熱交換器の製造は、各部品を組み立てて仮止めした後、各部品を一括してろう付することにより行われるが、各部品を組み立てて仮止めする際に、管接続用プレートの係合壁は、側面被覆壁に真っ直ぐに連なった係合壁形成部の状態となされており、タンク本体用の第1プレートおよび第2プレートと、管接続用プレートを重ね合わせた後、係合壁形成部が屈曲されて第1プレート外面の通風方向の両側縁部に係合する係合壁が形成されることにより3つのプレートが仮止めされる。また、各部品を組み立てて仮止めする際に、ブラケットは、上述した3つのプレートが仮止めされた後、挟持部により3つのプレートを両側から挟持することによりブラケットが仮止めされるようになっている。
しかしながら、特許文献1記載の熱交換器においては、製造の際に、3つのプレートの仮止めと、ブラケットの仮止めを別の工程で行う必要があり、工程数が増えて製造コストが高くなるという問題がある。また、ブラケットの3つのプレートへの仮止めの際に、ブラケットが3つのプレートの長さ方向にずれるおそれがある。
特開2004−301419号公報
この発明の目的は、上記問題を解決し、製造の際の工程数を減少することができるとともに、ブラケットの位置ずれを防止しうる熱交換器を提供することにある。
本発明は、上記目的を達成するために以下の態様からなる。
1)互いに間隔をおいて配置された1対のヘッダタンクと、両ヘッダタンク間に並列状に配置されかつ両端部がそれぞれ両ヘッダタンクに接続された複数の熱交換管と、ヘッダタンクに接合されたブラケットとを備えており、各ヘッダタンクが、タンク本体と、タンク本体における熱交換管側を向いた面を覆うとともにタンク本体に接合された管接続用プレートとにより構成され、管接続用プレートの通風方向の両側縁部に、タンク本体側に突出し、タンク本体の通風方向の両側面に沿う突出壁が形成されている熱交換器において、
タンク本体の通風方向の少なくとも一側縁部に、タンク本体の厚さ方向外面および通風方向両側面に開口し、かつタンク本体の厚さ方向にのびる凹溝が形成され、ブラケットにタンク本体の凹溝に嵌る爪が設けられ、ブラケットの爪がタンク本体の凹溝内に嵌め入れられるとともに、管接続用プレートの突出壁により通風方向内側に押さえられた状態で、ブラケットがヘッダタンクに接合されている熱交換器。
2)タンク本体の凹溝およびブラケットの爪が、それぞれ通風方向の両側部分に設けられている上記1)記載の熱交換器。
3)タンク本体の凹溝が、隣り合う熱交換管どうしの間に形成されている上記1)または2)記載の熱交換器。
4)タンク本体の凹溝が、タンク本体の厚さ方向外面から同内面までのびている上記1)〜3)のうちのいずれかに記載の熱交換器。
5)管接続用プレートの突出壁がタンク本体の通風方向の両側面の全体を覆っており、突出壁の突出端縁に、通風方向内方に突出し、かつタンク本体の外面に係合する係合爪が形成され、係合爪がタンク本体外面に接合されている上記1)〜4)のうちのいずれかに記載の熱交換器。
6)タンク本体が、外側に位置する第1プレートと、第1プレートと管接続用プレートとの間に介在させられるとともに両プレートにろう付された第2プレートとよりなり、凹溝が第1プレートから第2プレートにかけて形成されている上記1)〜5)のうちのいずれかに記載の熱交換器。
上記1)の熱交換器によれば、タンク本体の通風方向の少なくとも一側縁部に、タンク本体の厚さ方向外面および通風方向両側面に開口し、かつタンク本体の厚さ方向にのびる凹溝が形成され、ブラケットにタンク本体の凹溝に嵌る爪が設けられ、ブラケットの爪がタンク本体の凹溝内に嵌め入れられるとともに、管接続用プレートの突出壁により通風方向内側に押さえられた状態で、ブラケットがヘッダタンクに接合されているので、製造時に各部品を組み立てて仮止めする際に、ブラケットの爪を凹溝内に嵌め入れた後、管接続用プレートの突出壁を両側から通風方向の内側に押圧することにより、管接続用プレートをタンク本体に仮止めすることが可能になるとともに、ブラケットをタンク本体および管接続用プレートに仮止めすることが可能になる。したがって、製造時の工程数を減少することができる。また、ブラケットの爪がタンク本体の凹溝内に嵌め入れられた状態で、ブラケットがタンク本体および管接続用プレートに仮止めされるので、ブラケットのタンク本体の長さ方向への位置ずれが防止される。
上記2)の熱交換器によれば、タンク本体の凹溝およびブラケットの爪が、それぞれ通風方向の両側部分に設けられているので、製造時のブラケットのタンク本体および管接続用プレートへの仮止めが強固に行われる。
上記3)の熱交換器によれば、タンク本体の凹溝が、隣り合う熱交換管どうしの間に形成されているので、ヘッダタンクの耐圧性の低下が防止される。すなわち、上記1)の熱交換器においては、通常、管接続用プレートにおけるヘッダタンクの冷媒流路と対応する部分に、複数の管挿入穴が管接続用プレートの長さ方向に間隔をおいて貫通状に形成されるとともに、熱交換管の端部が管挿入穴に挿入されて管接続用プレートにろう付され、タンク本体に管接続用プレートの管挿入穴をヘッダ部の冷媒流路内に通じさせる連通穴が形成されるので、熱交換管と対応する位置にタンク本体の凹溝が形成されていると、タンク本体と管接続用プレートとの接合面積が減少して耐圧性が低下する。
上記5)の熱交換器によれば、製造時のタンク本体と管接続用プレートとの仮止めの際には、係合爪を突出壁に真っ直ぐに連なった係合爪形成用突片の状態としておき、タンク本体と管接続用プレートとを組み合わせた後に係合爪形成用突片を通風方向内側に曲げることにより、タンク本体と管接続用プレートとを仮止めすることができるので、両者の仮止めを強固に行うことができる。しかも、係合爪形成用突片の通風方向内側への曲げは、管接続用プレートの突出壁を両側から通風方向の内側に押圧するのと同時に行うことができる。
以下、この発明の実施形態を、図面を参照して説明する。この実施形態は、この発明による熱交換器を、超臨界冷凍サイクルのガスクーラに適用したものである。
なお、以下の説明において、通風方向下流側(図1に矢印Xで示す方向)を前、これと反対側を後というものとし、図1および図2の上下、左右をそれぞれ上下、左右というものとする。
さらに、以下の説明において、「アルミニウム」という用語には、純アルミニウムの他にアルミニウム合金を含むものとする。
図1および図2はこの発明による熱交換器を適用したガスクーラの全体構成を示し、図3はその要部の構成を示す。また、図4はガスクーラを製造する方法の一部の工程を示す。
図1〜図3において、超臨界冷媒、たとえばCOを使用する超臨界冷凍サイクルのガスクーラ(1)は、左右方向に間隔をおいて配置されかつ上下方向にのびる2つのヘッダタンク(2)(3)と、両ヘッダタンク(2)(3)間に、上下方向に間隔をおくとともに幅方向を前後方向に向けて配置された複数の扁平状熱交換管(4)と、隣接する熱交換管(4)どうしの間の通風間隙、および上下両端の熱交換管(4)の外側に配置されて熱交換管(4)にろう付されたコルゲートフィン(5)と、上下両端のコルゲートフィン(5)の外側にそれぞれ配置されてコルゲートフィン(5)にろう付されたアルミニウム製サイドプレート(6)と、各ヘッダタンク(2)(3)にろう付されかつガスクーラ(1)を車両に取り付けるのに用いられるブラケット(7)とを備えている。なお、この実施形態において、右側のヘッダタンク(2)を第1ヘッダタンク、左側のヘッダタンク(3)を第2ヘッダタンクというものとする。
第1ヘッダタンク(2)は、アルミニウム製タンク本体(8)と、両面にろう材層を有するブレージングシート、ここではアルミニウムブレージングシートから形成され、かつタンク本体(8)の左側面を覆うようにタンク本体(8)にろう付された管接続用プレート(9)とを備えており、内部が冷媒流路(13a)となった入口ヘッダ部(13A)および内部が冷媒流路(13b)となった出口ヘッダ部(13B)が上下に並んで設けられている。
タンク本体(8)は、両面にろう材層を有するブレージングシート、ここではアルミニウムブレージングシートから形成され、かつ右側(外側)に配置された第1プレート(8A)と、金属ベア材、ここではアルミニウムベア材からなり、かつ第1プレート(8A)と管接続用プレート(9)との間に介在させられて両プレート(8A)(9)にろう付された第2プレート(8B)とにより構成されている。第1プレート(8A)の前後方向の中央部に、左側(第2プレート(8B)側)に開口した横断面略U字状の外方屈曲部(8a)が全長にわたって形成されており、外方屈曲部(8a)の左側を向いた開口は第2プレート(8B)により塞がれている。また、第1プレート(8A)の外方屈曲部(8a)の前後両側部分はそれぞれ同一平面内に位置する平坦部(8b)となっている。タンク本体(8)の上下両端部および上下方向の中央部に、第1プレート(8A)の外方屈曲部(8a)内の上下方向にのびかつ上下両端が開口した内部空間(11)を塞ぐ仕切板(12)が、両プレート(8A)(8B)に跨って配置されている。そして、内部空間(11)の上下両端開口が仕切板(12)により閉鎖されるとともに、内部空間(11)が上下方向の中央部において仕切板(12)により上下両側部分(11A)(11B)に区画されている。
第1プレート(8A)の前側縁部における上下方向の中央部よりも若干下方の部分に、全厚にわたる2つの切り欠き(14)が上下方向に間隔をおいて形成されている。また、第1プレート(8A)の後側縁部における上下方向の中央部よりも若干下方の部分で、かつ前側縁部の2つの切り欠き(14)間の部分に、全厚にわたる1つの切り欠き(15)が形成されている。さらに、第1プレート(8A)の上下両端部および上下方向の中央部に、それぞれ前後方向に長くかつ一方の平坦部(8b)から他方の平坦部(8b)に至る貫通穴(16)が形成されている。
第1プレート(8A)の外方屈曲部(8a)の頂部における上端部の貫通穴(16)よりも若干下方の位置に冷媒入口(17)が形成されており、第1プレート(8A)の外面に、冷媒入口(17)に通じる冷媒流入路(19)を有する金属製、ここではアルミニウムベア材製の直方体状入口部材(18)が、第1プレート(8A)外面のろう材を利用してろう付されている。また、外方屈曲部(8a)の頂部における下端部の貫通穴(16)よりも若干上方の位置に冷媒出口(21)が形成されており、第1プレート(8A)の外面に、冷媒出口(21)に通じる冷媒流出路(23)を有する金属製、ここではアルミニウムベア材製の直方体状出口部材(22)が、第1プレート(8A)外面のろう材を利用してろう付されている。第1プレート(8A)は、両面にろう材層を有するアルミニウムブレージングシートにプレス加工を施することにより形成されている。
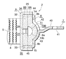
第1ヘッダタンク(2)の管接続用プレート(9)には、前後方向に長い複数の貫通状管挿入穴(24)が、上下方向に間隔をおいて形成されている。上半部の複数の管挿入穴(24)は、タンク本体(8)の第1プレート(8A)の内部空間(11)における上側部分(11A)の上下方向の範囲内に形成され、同じく下半部の複数の管挿入穴(24)は、タンク本体(8)の第1プレート(8A)の内部空間(11)における下側部分(11B)の上下方向の範囲内に形成されている。管挿入穴(24)の前後方向の長さは、外方屈曲部(8a)の前後方向の幅よりも若干長く、管挿入穴(24)の前後両端部は外方屈曲部(8a)の前後両側縁よりも外方に突出している。さらに、管接続用プレート(9)の前後両側縁部に、それぞれ右方に突出して先端が第1プレート(8A)の外面まで至り、かつタンク本体(8)、すなわち第1プレート(8A)および第2プレート(8B)の前後両側面の全体を覆う突出壁(25)が一体に形成され、第1プレート(8A)および第2プレート(8B)の前後両側面にろう付されている。各突出壁(25)の突出端縁の上下両端部および上下方向中央部、すなわち各貫通穴(16)と対応する位置に、それぞれ前後方向内方に突出しかつ外側プレート(8)の外面に係合する係合爪(26)が一体に形成され、係合爪(26)が外側プレート(8)にろう付されている。係合爪(26)は、外側プレート(8)の貫通穴(16)の前後両端部を覆っている。なお、図4に実線で示すように、係合爪(26)は、3つのプレート(8A)(8B)(9)を組み合わせる前の状態では、突出壁(25)に真っ直ぐに連なって左右方向外方にのびている。真っ直ぐな係合爪形成用突片を(26A)で示す。管接続用プレート(9)は、両面にろう材層を有するアルミニウムブレージングシートにプレス加工を施すことにより形成されている。
第1ヘッダタンク(2)のタンク本体(8)の第2プレート(8B)には、前後方向に長くかつ管接続用プレート(9)の管挿入穴(24)をタンク本体(8)の第1プレート(8A)の内部空間(11)の上下両側部分(11A)(11B)内に通じさせる複数の連通穴(27)が貫通状に形成されている。各連通穴(27)は管挿入穴(24)よりも一回り大きくなっている。また、内部空間(11)の上側部分(11A)内に通じるすべての連通穴(27)は、それぞれ第2プレート(8B)における隣り合う連通穴(27)間の部分の前後方向中央部を切除することにより形成された連通部(28)により連通させられており、上側部分(11A)内に通じるすべての連通穴(27)の前後方向中央部、およびこれらの連通穴(27)を連通させる連通部(28)によって、第2プレート(8B)に、冷媒が上下方向に流れる冷媒流通部(29)が形成されている。また、内部空間(11)の下側部分(11B)内に通じるすべての連通穴(27)は、それぞれ第2プレート(8B)における隣り合う連通穴(27)間の部分の前後方向中央部を切除することにより形成された連通部(28)により連通させられており、下側部分(11B)内に通じるすべての連通穴(27)の前後方向中央部、およびこれらの連通穴(27)を連通させる連通部(28)によって、第2プレート(8B)に、冷媒が上下方向に流れる冷媒流通部(31)が形成されている。
第1ヘッダタンク(2)のタンク本体(8)の第2プレート(8B)の前後両側縁部における第1プレート(8A)の各切り欠き(14)(15)と対応する位置に、それぞれ全厚にわたる切り欠き(32)(33)が形成されている。そして、第1プレート(8A)の切り欠き(14)(15)と、第2プレート(8B)の切り欠き(32)(33)とによって、タンク本体(8)の前後両側縁部に、タンク本体(8)の左右方向外面(厚さ方向外面)および前後両側面(通風方向両側面)に開口し、かつ左右方向(タンク本体(8)の厚さ方向)にのびる凹溝(34)(35)が形成されている。
タンク本体(8)の第2プレート(8B)の上下両端部および上下方向の中央部に、第1プレート(8A)の貫通穴(16)と対応するように、それぞれ前後方向に長くかつ貫通穴(16)と同一の幅および長さを有する貫通穴(36)が形成されている。第1プレート(8A)の貫通穴(16)と第2プレート(8B)の貫通穴(36)とによって、タンク本体(8)に、貫通状の仕切板挿入穴(37)が両プレート(8A)(8B)に跨るように形成されている。各仕切板挿入穴(37)内に仕切板(12)が挿入されることによって、タンク本体(8)の第1プレート(8A)および第2プレート(8B)の上下両端部および上下方向の中央部に仕切板(12)が配置されている。
仕切板(12)は両面にろう材層を有するアルミニウムブレージングシートにより形成されたものであって、仕切板挿入穴(37)内に、外側縁部が第1プレート(8A)の外面と面一となるように挿入され、この状態で、仕切板(12)の前後両側縁部が第1プレート(8A)および第2プレート(8B)にろう付され、同じく左右方向内側縁部が管接続用プレート(9)にろう付され、仕切板(12)の上下両面が第1プレート(8A)および第2プレート(8B)にろう付されている。
第1ヘッダタンク(2)の入口ヘッダ部(13A)は、タンク本体(8)および管接続用プレート(9)、すなわち第1プレート(8A)、第2プレート(8B)および管接続用プレート(9)における上下方向中央部の仕切板(12)よりも上側の部分により形成され、同じく出口ヘッダ部(13B)は、タンク本体(8)および管接続用プレート(9)、すなわち第1プレート(8A)、第2プレート(8B)および管接続用プレート(9)における上下方向中央部の仕切板(12)よりも下側の部分により形成されている。第1ヘッダタンク(2)の入口ヘッダ部(13A)および出口ヘッダ部(13B)の冷媒流路(13a)(13b)は、第1プレート(8A)の内部空間(11)の上下両側部分(11A)(11B)と、第2プレート(8B)の上下の冷媒流通部(29)(31)とからなる。
ブラケット(7)は、第1プレート(8A)の外方屈曲部(8a)の前後方向中央部から右方に伸びかつガスクーラ(1)を車体に取り付けるためのボルト、ねじなどの締結具を通す貫通穴(41)があけられた取付本体部(40)と、取付本体部(40)の左側縁部の上下両端部に一体に形成され、かつ第1プレート(8A)外面の前側半部にろう付された2つの第1ベース部(42)と、取付本体部(40)の左側縁部における上下の第1ベース部(42)間に一体に形成され、かつ第1プレート(8A)外面の後側半部にろう付された1つの第2ベース部(43)とよりなる。各第1ベース部(42)は、第1プレート(8A)の外方屈曲部(8a)の前半部および前側平坦部(8b)の外面にろう付され、第2ベース部(43)は、第1プレート(8A)の外方屈曲部(8a)の後半部および後側平坦部(8b)の外面にろう付されている。ブラケット(7)の各第1ベース部(42)の前端部に、タンク本体(8)の前側の凹溝(34)内に嵌め入れられる爪(44)が一体に形成されている。ブラケット(7)の第2ベース部(43)の前端部の上下方向の中央部に、タンク本体(8)の後側の凹溝(35)内に嵌め入れられる爪(45)が一体に形成されている。各爪(44)(45)は、管接続用プレート(9)の突出壁(25)により前後方向外側から前後方向内側に押さえられた状態で、第1プレート(8A)、第2プレート(8B)および管接続用プレート(9)にろう付されている。
図2に示すように、第2ヘッダタンク(3)は、第1ヘッダタンク(2)とほぼ同様な構成であり、同一物および同一部分に同一符号を付す。両ヘッダタンク(2)(3)は、管接続用プレート(9)どうしが対向するように配置されている。
第2ヘッダタンク(3)の第1プレート(8A)および第2プレート(8B)には上下両端部のみに仕切板(12)が配置されており、タンク本体(8)の第1プレート(8A)の内部空間(11)は、上下両端開口のみが仕切板(12)により閉鎖され、上下には区画されていない。また、第2ヘッダタンク(3)の管接続用プレート(9)のすべての管挿入穴(24)は、第1プレート(8A)の内部空間(11)の上下の範囲内に形成されており、管接続用プレート(9)のすべての管挿入穴(24)は、第2プレート(8B)のすべての連通穴(27)を介して、タンク本体(8)の第1プレート(8A)の内部空間(11)内に通じさせられている。第2プレート(8B)のすべての連通穴(27)は、第2プレート(8B)における隣り合う連通穴(27)間の部分の前後方向中央部を切除することにより形成された連通部(28)により連通させられている。その結果、連通部(28)、および連通穴(27)の前後方向中央部によって、第2プレート(8B)に冷媒が上下方向に流れる冷媒流通部(46)が形成されている。したがって、第2ヘッダタンク(3)には、第1ヘッダタンク(2)の入口ヘッダ部(13A)および出口ヘッダ部(13B)に跨るように、内部が冷媒流路(47a)となった1つの中間ヘッダ部(47)が形成されている。第2ヘッダタンク(3)の中間ヘッダ部(47)は、第1プレート(8A)、管接続用プレート(9)および第2プレート(8B)の全体により形成されている。中間ヘッダ部(47)の冷媒流路(47a)は、タンク本体(8)の第1プレート(8A)の内部空間(11)における上下両端の仕切板(12)間の部分と、第2プレート(8B)の冷媒流通部(46)とからなる。
なお、第2ヘッダタンク(3)の第1プレート(8A)の外方屈曲部(8)に冷媒入口および冷媒出口が形成されていない。
また、第2ヘッダタンク(3)の上端部に、ブラケット(7)が、第1ヘッダタンク(2)のブラケット(7)と同様にしてろう付されている。
熱交換管(4)は、金属、ここではアルミニウム製押出形材からなり、前後方向に幅広の扁平状で、その内部に長さ方向にのびる複数の冷媒通路(4a)が並列状に形成されている。熱交換管(4)の両端部は、それぞれ両ヘッダタンク(2)(3)の管挿入穴(24)に挿入された状態で、管接続用プレート(9)のろう材層を利用して管接続用プレート(9)にろう付されている。なお、熱交換管(4)の両端は第2プレート(8B)の厚さ方向の中間部まで連通穴(27)内に入り込んでおり、入口ヘッダ部(13A)、出口ヘッダ部(13B)および中間ヘッダ部(47)の冷媒流路(13a)(13b)(47a)内に位置している。すべての熱交換管(4)は、右端部が第1ヘッダタンク(2)の入口ヘッダ部(13A)の冷媒流路(13a)に通じるとともに左端部が第2ヘッダタンク(3)の中間ヘッダ部(47)の冷媒流路(47a)の上半部に通じる複数の熱交換管(4)からなる熱交換管群と、右端部が第1ヘッダタンク(2)の出口ヘッダ部(13B)の冷媒流路(13b)に通じるとともに左端部が第2ヘッダタンク(3)の中間ヘッダ部(47)の冷媒流路(47a)の下半部に通じる複数の熱交換管(4)からなる熱交換管群とに分けられている。
ガスクーラ(1)はすべての部品を組み合わせて適当な手段で仮止めし、一括ろう付することにより製造される。
以下、ガスクーラ(1)の製造時における3つのプレート(8A)(8B)(9)の仮止め、仕切板(12)の仮止めおよびブラケット(7)の仮止めについて、図4を参照して述べる。なお、仮止め前の管接続用プレート(9)には、曲がった係合爪(26)は形成されておらず、突出壁(25)に真っ直ぐに連なった係合爪形成用突片(26A)が形成されている。
まず、3つのプレート(8A)(8B)(9)を積層状に組み合わせる。ついで、第1および第2プレート(8A)(8B)の貫通穴(16)(36)からなる仕切板挿入穴(37)内に仕切板(12)を外側から挿入するとともに、第1および第2プレート(8A)(8B)の切り欠き(14)(32)および(15)(33)からなる凹溝(34)(35)内にブラケット(7)の爪(44)(45)を外側から嵌め入れる。ついで、管接続用プレート(9)の両突出壁(25)を前後方向内側に押圧して爪(42)(43)を両突出壁(25)と第1および第2プレート(8A)(8B)により挟着することによってブラケット(7)を仮止めし、これと同時に真っ直ぐな係合爪形成用突片(26A)を前後方向内方に曲げて係合爪(26)を形成することによって3つのプレート(8A)(8B)(9)を仮止めするとともに、仕切板(12)を仮止めする。こうして、3つのプレート(8A)(8B)(9)の仮止め、仕切板(12)の仮止めおよびブラケット(7)の仮止めが行われる。
その後は、適当な方法により熱交換管(4)と、コルゲートフィン(5)と、サイドプレート(6)と、入口部材(18)と、出口部材(22)とを組み合わせて適当な手段で仮止めし、これらを一括ろう付することによりガスクーラ(1)が製造される。
ガスクーラ(1)は、圧縮機、エバポレータ、減圧器およびガスクーラから出てきた冷媒とエバポレータから出てきた冷媒とを熱交換させる中間熱交換器とともに超臨界冷凍サイクルを構成し、カーエアコンとして車両、たとえば自動車に搭載される。
上述したガスクーラ(1)において、圧縮機を通過したCO が、入口部材(18)の冷媒流入路(19)を通って冷媒入口(17)から第1ヘッダタンク(2)の入口ヘッダ部(13A)内の冷媒流路(13a)に入り、冷媒流路(13a)内を下方に流れながら分流して上側熱交換管群の熱交換管(4)の冷媒通路(4a)内に流入する。冷媒通路(4a)内に流入したCOは、冷媒通路(4a)内を左方に流れて第2ヘッダタンク(3)の中間ヘッダ部(47)内の冷媒流路(47a)の上半部に流入する。中間ヘッダ部(47)内の冷媒流路(47a)の上半部に流入したCOは、冷媒流路(47a)内を下方に流れ、分流して下側熱交換管群の熱交換管(4)の冷媒通路(4a)内に流入し、流れ方向を変えて冷媒通路(4a)内を右方に流れて第1ヘッダタンク(2)の出口ヘッダ部(13B)内の冷媒流路(13b)に入る。その後、COは、出口ヘッダ部(13B)の冷媒流路(13b)内を下方に流れ、冷媒出口(21)および出口部材(22)の冷媒流出路(23)を通って流出する。そして、COが熱交換管(4)の冷媒通路(4a)内を流れる間に、通風間隙を図1に矢印Xで示す方向に流れる空気と熱交換し、冷却される。
上記実施形態においては、ヘッダタンク(2)(3)は3枚のプレート(8A)(8B)(9)により形成されているが、管接続用プレート(9)と第2プレート(8B)との間に、さらに1枚以上のプレートが介在させられていてもよい。当該プレートは、第2プレート(8B)と同様な構成である。
また、上記の実施形態においては、超臨界冷凍サイクルの超臨界冷媒として、COが使用されているが、これに限定されるものではなく、エチレン、エタン、酸化窒素などが使用可能である。
また、上記の実施形態においては、熱交換管(4)は、アルミニウム押出形材からなるが、これに両面にろう材層を有するアルミニウムブレージングシートからなる管製造用金属板を曲げた折り曲げ体からなるものであってもよい。
さらに、上記の実施形態においては、この発明の熱交換器が超臨界冷凍サイクルのガスクーラに適用されているが、これに限定されるものではなく、他の熱交換器、たとえば超臨界冷凍サイクルのエバポレータに適用することも可能である。
この発明の熱交換器を適用したガスクーラの全体構成を示す斜視図である。 図1のガスクーラの後方から前方を見た一部省略垂直断面図である。 図2のA−A線拡大断面図である。 ガスクーラを製造する方法の一工程の概略を示す部分斜視図である。
符号の説明
(1):ガスクーラ(熱交換器)
(2)(3):ヘッダタンク
(4):熱交換管
(7):ブラケット
(8):タンク本体
(8A):第1プレート
(8B):第2プレート
(9):管接続用プレート
(25):突出壁
(26):係合爪
(34)(35):凹溝
(44)(45):爪

Claims (6)

  1. 互いに間隔をおいて配置された1対のヘッダタンクと、両ヘッダタンク間に並列状に配置されかつ両端部がそれぞれ両ヘッダタンクに接続された複数の熱交換管と、ヘッダタンクに接合されたブラケットとを備えており、各ヘッダタンクが、タンク本体と、タンク本体における熱交換管側を向いた面を覆うとともにタンク本体に接合された管接続用プレートとにより構成され、管接続用プレートの通風方向の両側縁部に、タンク本体側に突出し、タンク本体の通風方向の両側面に沿う突出壁が形成されている熱交換器において、
    タンク本体の通風方向の少なくとも一側縁部に、タンク本体の厚さ方向外面および通風方向両側面に開口し、かつタンク本体の厚さ方向にのびる凹溝が形成され、ブラケットにタンク本体の凹溝に嵌る爪が設けられ、ブラケットの爪がタンク本体の凹溝内に嵌め入れられるとともに、管接続用プレートの突出壁により通風方向内側に押さえられた状態で、ブラケットがヘッダタンクに接合されている熱交換器。
  2. タンク本体の凹溝およびブラケットの爪が、それぞれ通風方向の両側部分に設けられている請求項1記載の熱交換器。
  3. タンク本体の凹溝が、隣り合う熱交換管どうしの間に形成されている請求項1または2記載の熱交換器。
  4. タンク本体の凹溝が、タンク本体の厚さ方向外面から同内面までのびている請求項1〜3のうちのいずれかに記載の熱交換器。
  5. 管接続用プレートの突出壁がタンク本体の通風方向の両側面の全体を覆っており、突出壁の突出端縁に、通風方向内方に突出し、かつタンク本体の外面に係合する係合爪が形成され、係合爪がタンク本体外面に接合されている請求項1〜4のうちのいずれかに記載の熱交換器。
  6. タンク本体が、外側に位置する第1プレートと、第1プレートと管接続用プレートとの間に介在させられるとともに両プレートにろう付された第2プレートとよりなり、凹溝が第1プレートから第2プレートにかけて形成されている請求項1〜5のうちのいずれかに記載の熱交換器。
JP2008170497A 2008-06-30 2008-06-30 熱交換器 Expired - Fee Related JP5070144B2 (ja)

Priority Applications (1)

Application Number Priority Date Filing Date Title
JP2008170497A JP5070144B2 (ja) 2008-06-30 2008-06-30 熱交換器

Applications Claiming Priority (1)

Application Number Priority Date Filing Date Title
JP2008170497A JP5070144B2 (ja) 2008-06-30 2008-06-30 熱交換器

Publications (2)

Publication Number Publication Date
JP2010008020A true JP2010008020A (ja) 2010-01-14
JP5070144B2 JP5070144B2 (ja) 2012-11-07

Family

ID=41588731

Family Applications (1)

Application Number Title Priority Date Filing Date
JP2008170497A Expired - Fee Related JP5070144B2 (ja) 2008-06-30 2008-06-30 熱交換器

Country Status (1)

Country Link
JP (1) JP5070144B2 (ja)

Cited By (3)

* Cited by examiner, † Cited by third party
Publication number Priority date Publication date Assignee Title
WO2019207838A1 (ja) * 2018-04-27 2019-10-31 日立ジョンソンコントロールズ空調株式会社 冷媒分配器、熱交換器および空気調和機
WO2019207806A1 (ja) * 2018-04-27 2019-10-31 日立ジョンソンコントロールズ空調株式会社 冷媒分配器、熱交換器および空気調和機
WO2024018833A1 (ja) * 2022-07-19 2024-01-25 サンデン株式会社 熱交換器

Citations (3)

* Cited by examiner, † Cited by third party
Publication number Priority date Publication date Assignee Title
JP2002168584A (ja) * 2000-11-30 2002-06-14 Toyo Radiator Co Ltd 熱交換器のブラケット取付構造
JP2005061708A (ja) * 2003-08-11 2005-03-10 Calsonic Kansei Corp 熱交換器のヘッダタンクへのブラケット取付構造
JP2008020174A (ja) * 2006-06-12 2008-01-31 Showa Denko Kk 熱交換器

Patent Citations (3)

* Cited by examiner, † Cited by third party
Publication number Priority date Publication date Assignee Title
JP2002168584A (ja) * 2000-11-30 2002-06-14 Toyo Radiator Co Ltd 熱交換器のブラケット取付構造
JP2005061708A (ja) * 2003-08-11 2005-03-10 Calsonic Kansei Corp 熱交換器のヘッダタンクへのブラケット取付構造
JP2008020174A (ja) * 2006-06-12 2008-01-31 Showa Denko Kk 熱交換器

Cited By (5)

* Cited by examiner, † Cited by third party
Publication number Priority date Publication date Assignee Title
WO2019207838A1 (ja) * 2018-04-27 2019-10-31 日立ジョンソンコントロールズ空調株式会社 冷媒分配器、熱交換器および空気調和機
WO2019207806A1 (ja) * 2018-04-27 2019-10-31 日立ジョンソンコントロールズ空調株式会社 冷媒分配器、熱交換器および空気調和機
CN112005074A (zh) * 2018-04-27 2020-11-27 日立江森自控空调有限公司 制冷剂分配器、热交换器以及空调机
JPWO2019207838A1 (ja) * 2018-04-27 2020-12-10 日立ジョンソンコントロールズ空調株式会社 冷媒分配器、熱交換器および空気調和機
WO2024018833A1 (ja) * 2022-07-19 2024-01-25 サンデン株式会社 熱交換器

Also Published As

Publication number Publication date
JP5070144B2 (ja) 2012-11-07

Similar Documents

Publication Publication Date Title
JP4724433B2 (ja) 熱交換器
JP2010139088A (ja) 熱交換器
JP6002421B2 (ja) 熱交換器
JP4972488B2 (ja) 熱交換器
JP5002798B2 (ja) 熱交換器
WO2011049015A1 (ja) エバポレータ
JP4774238B2 (ja) 冷凍サイクルの冷媒流通部接続構造
JP5070144B2 (ja) 熱交換器
JP2010054066A (ja) 熱交換器
JP5002796B2 (ja) 熱交換器
JP2008249241A (ja) 熱交換器
JP2009257719A (ja) 熱交換器
JP2009287907A (ja) 熱交換器
JP2009008347A (ja) 熱交換器
JP5514611B2 (ja) 熱交換器およびその製造方法
JP2009299923A (ja) 熱交換器
JP2008008603A (ja) 熱交換器
JP2010019436A (ja) 熱交換器
JP5525805B2 (ja) 熱交換器
JP2010121794A (ja) 熱交換器
JP2008281270A (ja) 熱交換器
JP2008089188A (ja) 熱交換器
JP4922712B2 (ja) 熱交換器
JP2008020174A (ja) 熱交換器
JP2009008371A (ja) 熱交換器

Legal Events

Date Code Title Description
A621 Written request for application examination

Free format text: JAPANESE INTERMEDIATE CODE: A621

Effective date: 20110301

A977 Report on retrieval

Free format text: JAPANESE INTERMEDIATE CODE: A971007

Effective date: 20120717

TRDD Decision of grant or rejection written
A01 Written decision to grant a patent or to grant a registration (utility model)

Free format text: JAPANESE INTERMEDIATE CODE: A01

Effective date: 20120724

A01 Written decision to grant a patent or to grant a registration (utility model)

Free format text: JAPANESE INTERMEDIATE CODE: A01

A61 First payment of annual fees (during grant procedure)

Free format text: JAPANESE INTERMEDIATE CODE: A61

Effective date: 20120820

FPAY Renewal fee payment (event date is renewal date of database)

Free format text: PAYMENT UNTIL: 20150824

Year of fee payment: 3

R150 Certificate of patent or registration of utility model

Free format text: JAPANESE INTERMEDIATE CODE: R150

S111 Request for change of ownership or part of ownership

Free format text: JAPANESE INTERMEDIATE CODE: R313113

R350 Written notification of registration of transfer

Free format text: JAPANESE INTERMEDIATE CODE: R350

R250 Receipt of annual fees

Free format text: JAPANESE INTERMEDIATE CODE: R250

R250 Receipt of annual fees

Free format text: JAPANESE INTERMEDIATE CODE: R250

R250 Receipt of annual fees

Free format text: JAPANESE INTERMEDIATE CODE: R250

LAPS Cancellation because of no payment of annual fees