JP2010007310A - 両開きドアの召し合わせ部の防火シール装置 - Google Patents

両開きドアの召し合わせ部の防火シール装置 Download PDF

Info

Publication number
JP2010007310A
JP2010007310A JP2008166167A JP2008166167A JP2010007310A JP 2010007310 A JP2010007310 A JP 2010007310A JP 2008166167 A JP2008166167 A JP 2008166167A JP 2008166167 A JP2008166167 A JP 2008166167A JP 2010007310 A JP2010007310 A JP 2010007310A
Authority
JP
Japan
Prior art keywords
shielding member
guide groove
summing
door
elastic member
Prior art date
Legal status (The legal status is an assumption and is not a legal conclusion. Google has not performed a legal analysis and makes no representation as to the accuracy of the status listed.)
Granted
Application number
JP2008166167A
Other languages
English (en)
Other versions
JP5354645B2 (ja
Inventor
Katsuaki Takahashi
克明 高橋
Katsuo Kawanaka
勝男 川中
Current Assignee (The listed assignees may be inaccurate. Google has not performed a legal analysis and makes no representation or warranty as to the accuracy of the list.)
Shibutani Co Ltd
Original Assignee
Shibutani Co Ltd
Priority date (The priority date is an assumption and is not a legal conclusion. Google has not performed a legal analysis and makes no representation as to the accuracy of the date listed.)
Filing date
Publication date
Application filed by Shibutani Co Ltd filed Critical Shibutani Co Ltd
Priority to JP2008166167A priority Critical patent/JP5354645B2/ja
Publication of JP2010007310A publication Critical patent/JP2010007310A/ja
Application granted granted Critical
Publication of JP5354645B2 publication Critical patent/JP5354645B2/ja
Active legal-status Critical Current
Anticipated expiration legal-status Critical

Links

Images

Landscapes

  • Special Wing (AREA)
  • Specific Sealing Or Ventilating Devices For Doors And Windows (AREA)

Abstract

【課題】火災による昇温時において、遮蔽部材を両開きドアの召し合わせ面間を完全に遮蔽する位置まで確実に移動させることができるようにした両開きドアの召し合わせ部の防火シール装置を提供する。
【解決手段】両開きドア3a、3bの召し合わせ面における少なくとも一方に上下方向に延びる案内溝8を設け、その案内溝内に組込まれた上下方向に長い耐熱性を有する遮蔽部材15を他方のドアの召し合わせ面に向けて移動自在に支持する。遮蔽部材15を第1の弾性部材23によって案内溝8の閉塞端に向けて付勢する。形状記憶合金からなり、雰囲気温度がその形状記憶合金の変態点に達すると形状回復して遮蔽部材15を第1の弾性部材23の弾性に抗して両開きドアの召し合わせ面間の隙間を閉塞する位置まで押圧移動させる第2の弾性部材24を設ける。遮蔽部材15として上下方向に長く延びる帯板を用いる。
【選択図】図4

Description

この発明は、両開きドアの召し合わせ部の防火シール装置に関するものである。
両開きドアの召し合わせ部の防火シール装置として、特許文献1に記載されたものが従来から知られている。この防火シール装置においては、両開きドアの召し合わせ面に上下方向に延びる溝を形成し、その溝内に上下方向に長く延びる案内部材を嵌合してねじ止めし、その案内部材の召し合わせ面に形成された案内溝内に耐熱性を有する遮蔽部材を組込んで他方のドアの召し合わせ面に向けて移動自在に支持し、その遮蔽部材を第1の弾性部材により案内溝の閉塞端に向けて付勢し、上記遮蔽部材の背部に形状記憶合金からなる第2の弾性部材を設け、火災の発生により雰囲気温度が上昇し、その雰囲気温度が上記形状記憶合金の変態点(変態温度)に達したとき、第2の弾性部材を形状回復させ、その第2の弾性部材で遮蔽部材を第1の弾性部材に抗して他方のドアの召し合わせ面に向けて押圧移動させて、両開きドアの召し合わせ面間の隙間を遮蔽し、火炎が上記召し合わせ面間から漏れて延焼するのを防止するようにしている。
特許第3609529号公報
ところで、上記従来の両開きドアの召し合わせ部の防火シール装置においては、遮蔽部材が断面コの字形とされた形鋼からなり、その遮蔽部材を案内部材の案内溝内に少しの余裕をもってスライド可能に嵌合した構成であるため、火災時の熱により案内部材がドアの戸先側と共に屋内外方向に弓状に変形すると、遮蔽部材は一側面における上下両端部と他側面における長さ方向の中央部が案内溝の対向内面に3点で接触し、その接触部の摩擦抵抗により突出性が阻害され、第2の弾性部材の押圧力だけでは両開きドアの召し合わせ面間を完全に遮蔽する位置まで移動させることができない場合が生じる可能性があり、改善すべき点が残されている。
この発明の課題は、火災による昇温時において、形状記憶合金からなる弾性部材の弾性力によって遮蔽部材を両開きドアの召し合わせ面間の隙間を完全に遮蔽する位置まで確実に移動させることができるようにした両開きドアの召し合わせ部の防火シール装置を提供することである。
上記の課題を解決するために、この発明においては、両開きドアの召し合わせ面における少なくとも一方に上下方向に延びる案内溝を設け、その案内溝内に組込まれた上下方向に長い耐熱性を有する遮蔽部材を他方のドアの召し合わせ面に向けて移動自在に支持し、その遮蔽部材を第1の弾性部材によって前記案内溝の閉塞端に向けて付勢し、形状記憶合金からなり、雰囲気温度がその形状記憶合金の変態点に達すると形状回復して前記遮蔽部材を前記第1の弾性部材の弾性に抗して両開きドアの召し合わせ面間の隙間を閉塞する位置まで押圧移動させる第2の弾性部材を設けた両開きドアの召し合わせ部の防火シール装置において、前記遮蔽部材として前記案内溝の上下方向に長く延びる帯板を用いた構成を採用したのである。
上記のように、遮蔽部材として帯板を採用することにより、火災の発生による熱によって両開きドアの戸先側が屋内外方向に弓状に変形した場合、帯板からなる遮蔽部材はその長さ方向の中央部または両端部が案内溝の対向内面と接触することになり、その接触部に作用する摩擦抵抗は小さいため、形状記憶合金からなる第2の弾性部材の押圧力によって遮蔽部材を両開きドアの召し合わせ面間に形成された隙間を完全に遮蔽する位置まで確実に移動させることができる。
ここで、案内溝の開口部内に、第2の弾性部材を形成する形状記憶合金の変態点と略等しい温度で発泡して遮蔽部材の先端部と案内溝の開口端部の対向面間をシールする熱発泡膨張材を取付けておくと、その熱発泡膨張材の発泡によって第2の弾性部材の押圧により閉鎖状態とされた遮蔽部材の先端部と案内溝の開口端部の対向面間をシールすることができるため、火炎のもれをより確実に防止することができる。
上記のように、この発明においては、遮蔽部材を帯板としたことにより、火災の発生による熱によって両開きドアの戸先側が屋内外方向に弓状に変形した場合に、帯板からなる遮蔽部材はその長さ方向の中央部の一点または両端部の二点で案内溝の内側面と接触することになり、その接触部に作用する摩擦抵抗は小さいため、形状記憶合金からなる第2の弾性部材の押圧力によって遮蔽部材を両開きドアの召し合わせ面間を完全に遮蔽する位置まで確実に移動させることができる。
以下、この発明の実施の形態を図面に基づいて説明する。図1に示すように、出入口枠1の開口部2に設けられた2枚のドア3a、3bは、上記出入口枠1の縦枠4に取り付けたヒンジ5を中心にして開閉自在に支持されている。
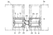
図4および図5に示すように、各ドア3a、3bの召し合わせ面のそれぞれには上下方向に長く延びる溝6が形成され、各溝6に案内部材7が嵌合されている。
図2および図3に示すように、案内部材7は上下方向に長く延び、その召し合わせ面には長手方向に延びる案内溝8が設けられている。また、案内部材7には案内溝8の閉塞端壁に複数の開口9が上下方向に間隔をおいて形成され、各開口9は溝6の閉塞端面に形成された開口10と一致し、その一致する開口9、10
にコの字形の支持枠11が案内溝8側から挿入されている。
図3に示すように、支持枠11は、溝6の閉塞端面および案内溝8の閉塞端面に衝合される外向きの折曲げ片12を両端に有し、その折曲げ片12の端部がねじ13の締め付けによる手段を介して案内部材7に固定されている。また、折曲げ片12はねじ14の締め付けによる手段を介して溝6の閉塞端面に固定され、その固定によって案内部材7は略全体が溝6内に納まる取付けとされている。
図4に示すように、案内部材7の案内溝8内には遮蔽部材15が組込まれている。遮蔽部材15は耐熱性を有する金属製の帯板からなり、一方のドア3aの案内溝8に組込まれた遮蔽部材15と他方のドア3bの案内溝8に組込まれた遮蔽部材15とは屋内外方向に位置がずれる組込みとされている。
遮蔽部材15には案内溝8の閉塞端壁と対向する一側縁に上記各支持枠11と同数のガイド板16がその支持枠11に対向して設けられている。そのガイド板16の取付けに際し、ここでは、図6および図7に示すように、ガイド板16の外周一辺に遮蔽部材15の一側面に衝合される衝合片17と、その衝合片17の上下に遮蔽部材15の他側面に衝合される一対の係合片18とを設け、各係合片18に設けた半球状の係合突部19を遮蔽部材15に形成された係合孔20に係合している。
図3に示すように、ガイド板16は支持枠11に突設されたガイド軸21に沿ってスライド自在に支持され、そのスライド自在の支持により遮蔽部材15は他方のドアの案内溝8内に先端部が配置される位置まで移動自在とされている。
図3および図4に示すように、ガイド軸21の先端部にはばね座22が固定され、そのばね座22とガイド板16間に組込まれた第1の弾性部材23は遮蔽部材15を案内溝8の閉塞端に向けて付勢している。
また、ガイド板16と支持枠11との間には第2の弾性部材24が組込まれている。第2の弾性部材24は形状記憶合金からなり、雰囲気温度がその形状記憶合金の変態点(変態温度)以上に上昇すると形状回復して、遮蔽部材15を第1の弾性部材23の弾性に抗してその先端部が他方のドアの案内溝8内に嵌り込む位置まで押圧移動させるようになっている。
図3および図5に示すように、各ドア3a、3bの溝6に取り付けられた一対の案内部材7のうち、一方のドア3aの溝6に取り付けられた案内部材7の案内溝8の開口部にはシール支持体25が組込まれている。また、他方のドア3bの溝6に取り付けられた案内部材7の案内溝8の開口部にはシール受け部材26が組み込まれている。
シール支持体25およびシール受け部材26のそれぞれは上下方向に長く延び、案内溝8の閉塞端に突設された支持軸27によって支持されている。シール支持体25のシール受け部材26に対する対向面にはシール部材28が取り付けられている。シール部材28はドア3a、3bを閉じたとき、シール受け部材26のシール支持体25に対する対向面に弾性接触してその対向面間を密封するようになっている。
実施の形態で示す両開きドアの召し合わせ部の防火シール装置は上記の構造からなり、図4および図5はドア3a、3bを閉じた状態を示し、シール部材28はシール受け部材26のシール支持体25に対する対向面に弾性接触してドア3a、3bの召し合わせ部間を密封している。
また、遮蔽部材15は、第1の弾性部材23の押圧により案内部材7の案内溝8内に収容された状態に保持されている。
ここで、火災が発生し、雰囲気温度が第2の弾性部材24を形成する形状記憶合金の変態点を超えると、第2の弾性部材24が形状回復して遮蔽部材15を押圧する。その押圧により遮蔽部材15が第1の弾性部材23の弾性に抗して案内溝8の開口から突出する方向に移動して、図8に示すように、先端部が対向する案内部材7の案内溝8内に侵入し、ドア3a、3bの召し合わせ部間の隙間を閉塞する。
このように、火災が発生し、その雰囲気温度が第2の弾性部材24を形成する形状記憶合金の変態点以上になると、遮蔽部材15が突出してドア3a、3bの召し合わせ部間の隙間を閉塞するため、火炎の漏れを防止することができる。
ここで、ドア3a、3bは閉鎖状態において施錠されていると、火災による温度上昇によって案内部材7がドア3a、3bの戸先側端部と共に屋内外方向に弓状に変形する場合がある。このとき、遮蔽部材15が案内部材7の案内溝8に少しの余裕をもってスライド自在に嵌合された構成であると、前述のように、案内部材7の弓状の変形により、遮蔽部材15は一側面の両端部と他側面の長さ方向の中央部の3点で案内溝8の対向内側面と接触し、その接触部の摩擦抵抗により突出性が阻害され、ドア3a、3bの召し合わせ部間の隙間を閉塞することができない可能性が生じる。
しかし、実施の形態では、遮蔽部材15を帯板として、案内溝8の対向内側面との間に大きな間隔が確保されるようにしているため、火災の発生による熱によって案内部材7がドア3a、3bの戸先側端部と共に屋内外方向に弓状に変形する場合、帯板からなる遮蔽部材15はその長さ方向の中央部または両端部が案内溝8の対向内面と接触することになり、その接触部に作用する摩擦抵抗は小さい。このため、形状記憶合金からなる第2の弾性部材24の押圧力によって遮蔽部材15を両開きドア3a、3bの召し合わせ面間を閉じる遮蔽位置まで確実に移動させることができ、火炎の漏れを確実に防止することができる。
図4および図5に示すように、案内部材7における案内溝8の開口部における一側面に加熱により発泡し、その発泡温度が第2の弾性部材24を形成する形状記憶合金の変態点より少し高い温度とされた熱発泡膨張材29を取り付けておくと、火災による温度上昇により遮蔽部材15がドア3a、3bの召し合わせ部間の隙間を閉じた後に熱発泡膨張材29が発泡して、図8に示すように、遮蔽部材15の先端部と案内溝8の開口端部の対向面間をシールするため、火炎の漏れをより効果的に防止することができる。
実施の形態では、両開きドア3a、3bの召し合わせ面に設けられた溝6のそれぞれに案内部材7を組み込み、各案内部材7の案内溝8に遮蔽部材15を組み込むようにしたが、一方の案内溝8にのみ遮蔽部材15を組込むようにしてもよい。
この発明に係る両開きドアの召し合わせ部の防火シール装置の実施の形態を示す正面図 両開きドアの召し合わせ部に組込まれた案内部材の正面図 図2の一部分を示す断面図 図3のIV−IV線に沿った断面図 図3のV−V線に沿った断面図 遮蔽部材とガイド板の連結部を示す断面図 遮蔽部材の一部とガイド板とを示す分解斜視図 遮蔽部材が両開きドアの召し合わせ部間に形成された隙間を閉塞した状態の断面図
符号の説明
3a ドア
3b ドア
8 案内溝
15 遮蔽部材
23 第1の弾性部材
24 第2の弾性部材

Claims (2)

  1. 両開きドアの召し合わせ面における少なくとも一方に上下方向に延びる案内溝を設け、その案内溝内に組込まれた上下方向に長い耐熱性を有する遮蔽部材を他方のドアの召し合わせ面に向けて移動自在に支持し、その遮蔽部材を第1の弾性部材によって前記案内溝の閉塞端に向けて付勢し、形状記憶合金からなり、雰囲気温度がその形状記憶合金の変態点に達すると形状回復して前記遮蔽部材を前記第1の弾性部材の弾性に抗して両開きドアの召し合わせ面間の隙間を閉塞する位置まで押圧移動させる第2の弾性部材を設けた両開きドアの召し合わせ部の防火シール装置において、
    前記遮蔽部材が、前記案内溝の上下方向に長く延びる帯板からなることを特徴とする両開きドアの召し合わせ部の防火シール装置。
  2. 前記案内溝の開口部内に、前記形状記憶合金の変態点と略等しい温度で発泡して前記遮蔽部材の先端部と案内溝の開口端部の対向面間をシールする熱発泡膨張材を取付けた請求項1に記載の両開きドアの召し合わせ部の防火シール装置。
JP2008166167A 2008-06-25 2008-06-25 両開きドアの召し合わせ部の防火シール装置 Active JP5354645B2 (ja)

Priority Applications (1)

Application Number Priority Date Filing Date Title
JP2008166167A JP5354645B2 (ja) 2008-06-25 2008-06-25 両開きドアの召し合わせ部の防火シール装置

Applications Claiming Priority (1)

Application Number Priority Date Filing Date Title
JP2008166167A JP5354645B2 (ja) 2008-06-25 2008-06-25 両開きドアの召し合わせ部の防火シール装置

Publications (2)

Publication Number Publication Date
JP2010007310A true JP2010007310A (ja) 2010-01-14
JP5354645B2 JP5354645B2 (ja) 2013-11-27

Family

ID=41588108

Family Applications (1)

Application Number Title Priority Date Filing Date
JP2008166167A Active JP5354645B2 (ja) 2008-06-25 2008-06-25 両開きドアの召し合わせ部の防火シール装置

Country Status (1)

Country Link
JP (1) JP5354645B2 (ja)

Cited By (3)

* Cited by examiner, † Cited by third party
Publication number Priority date Publication date Assignee Title
KR101899040B1 (ko) * 2018-02-14 2018-09-14 황영민 가변 문턱 기반의 방화문 장치
GB2582412A (en) * 2019-01-10 2020-09-23 Fsi ltd Fire seal
CN119330195A (zh) * 2024-09-09 2025-01-21 上海三菱电梯有限公司 防火电梯层门

Citations (3)

* Cited by examiner, † Cited by third party
Publication number Priority date Publication date Assignee Title
JPS6066354U (ja) * 1983-10-11 1985-05-11 トステム株式会社 防火用扉
JPS615991U (ja) * 1984-06-15 1986-01-14 鹿島建設株式会社 両開き防火戸の召合せ部
JP3609529B2 (ja) * 1996-04-09 2005-01-12 株式会社シブタニ 両開きドアの召合わせ部の防火構造

Patent Citations (3)

* Cited by examiner, † Cited by third party
Publication number Priority date Publication date Assignee Title
JPS6066354U (ja) * 1983-10-11 1985-05-11 トステム株式会社 防火用扉
JPS615991U (ja) * 1984-06-15 1986-01-14 鹿島建設株式会社 両開き防火戸の召合せ部
JP3609529B2 (ja) * 1996-04-09 2005-01-12 株式会社シブタニ 両開きドアの召合わせ部の防火構造

Cited By (3)

* Cited by examiner, † Cited by third party
Publication number Priority date Publication date Assignee Title
KR101899040B1 (ko) * 2018-02-14 2018-09-14 황영민 가변 문턱 기반의 방화문 장치
GB2582412A (en) * 2019-01-10 2020-09-23 Fsi ltd Fire seal
CN119330195A (zh) * 2024-09-09 2025-01-21 上海三菱电梯有限公司 防火电梯层门

Also Published As

Publication number Publication date
JP5354645B2 (ja) 2013-11-27

Similar Documents

Publication Publication Date Title
JP6238597B2 (ja) 遮炎断熱スチールドア
KR102012013B1 (ko) 단열형 창호 구조물
JP5354645B2 (ja) 両開きドアの召し合わせ部の防火シール装置
KR101589054B1 (ko) 단열 방화문 설치구조
KR20200001031U (ko) 방화문의 투시창 프레임 구조
KR20190055668A (ko) 슬라이딩 방식 방화문
KR101009746B1 (ko) 3중 밀폐형 방화문
JP5969780B2 (ja) 防火戸におけるガラス板保持構造
KR101592149B1 (ko) 도어 장치
JP2016056558A (ja) 建具
JP2015200458A (ja) 冷却貯蔵庫
KR200390271Y1 (ko) 방화문
JP6640058B2 (ja) 建具
JP6700076B2 (ja) 風止め板付窓装置
JPH064778Y2 (ja) 仏壇用厨子
JP2016056555A (ja) 建具
JP6498254B2 (ja) 遮炎断熱スチールドア
JP5608910B2 (ja) サッシ
JP3609529B2 (ja) 両開きドアの召合わせ部の防火構造
JP2023129624A (ja) 複合建具
JP2016204868A (ja) 建具
JPH0430308Y2 (ja)
JP2016204870A (ja) 建具
JP6478659B2 (ja) ショーケース
KR100722289B1 (ko) 방화셔터용 비상탈출문 경첩

Legal Events

Date Code Title Description
A621 Written request for application examination

Free format text: JAPANESE INTERMEDIATE CODE: A621

Effective date: 20110114

A977 Report on retrieval

Free format text: JAPANESE INTERMEDIATE CODE: A971007

Effective date: 20120626

A131 Notification of reasons for refusal

Free format text: JAPANESE INTERMEDIATE CODE: A131

Effective date: 20121016

A521 Request for written amendment filed

Free format text: JAPANESE INTERMEDIATE CODE: A523

Effective date: 20121207

TRDD Decision of grant or rejection written
A01 Written decision to grant a patent or to grant a registration (utility model)

Free format text: JAPANESE INTERMEDIATE CODE: A01

Effective date: 20130730

A61 First payment of annual fees (during grant procedure)

Free format text: JAPANESE INTERMEDIATE CODE: A61

Effective date: 20130822

R150 Certificate of patent or registration of utility model

Ref document number: 5354645

Country of ref document: JP

Free format text: JAPANESE INTERMEDIATE CODE: R150

Free format text: JAPANESE INTERMEDIATE CODE: R150

R250 Receipt of annual fees

Free format text: JAPANESE INTERMEDIATE CODE: R250

R250 Receipt of annual fees

Free format text: JAPANESE INTERMEDIATE CODE: R250

R250 Receipt of annual fees

Free format text: JAPANESE INTERMEDIATE CODE: R250

R250 Receipt of annual fees

Free format text: JAPANESE INTERMEDIATE CODE: R250

R250 Receipt of annual fees

Free format text: JAPANESE INTERMEDIATE CODE: R250

R250 Receipt of annual fees

Free format text: JAPANESE INTERMEDIATE CODE: R250

R250 Receipt of annual fees

Free format text: JAPANESE INTERMEDIATE CODE: R250

R250 Receipt of annual fees

Free format text: JAPANESE INTERMEDIATE CODE: R250

R250 Receipt of annual fees

Free format text: JAPANESE INTERMEDIATE CODE: R250

R250 Receipt of annual fees

Free format text: JAPANESE INTERMEDIATE CODE: R250