JP2010006509A - 電子部品の自動分類機におけるノズルヘッドの作動機構 - Google Patents

電子部品の自動分類機におけるノズルヘッドの作動機構 Download PDF

Info

Publication number
JP2010006509A
JP2010006509A JP2008165957A JP2008165957A JP2010006509A JP 2010006509 A JP2010006509 A JP 2010006509A JP 2008165957 A JP2008165957 A JP 2008165957A JP 2008165957 A JP2008165957 A JP 2008165957A JP 2010006509 A JP2010006509 A JP 2010006509A
Authority
JP
Japan
Prior art keywords
arm
nozzle head
servo motor
pivot
swing arm
Prior art date
Legal status (The legal status is an assumption and is not a legal conclusion. Google has not performed a legal analysis and makes no representation as to the accuracy of the status listed.)
Granted
Application number
JP2008165957A
Other languages
English (en)
Other versions
JP5630949B2 (ja
Inventor
Takeshi Yamauchi
威 山内
Current Assignee (The listed assignees may be inaccurate. Google has not performed a legal analysis and makes no representation or warranty as to the accuracy of the list.)
NIPPON GAATAA KK
Original Assignee
NIPPON GAATAA KK
Priority date (The priority date is an assumption and is not a legal conclusion. Google has not performed a legal analysis and makes no representation as to the accuracy of the date listed.)
Filing date
Publication date
Application filed by NIPPON GAATAA KK filed Critical NIPPON GAATAA KK
Priority to JP2008165957A priority Critical patent/JP5630949B2/ja
Priority to TW97128863A priority patent/TWI342260B/zh
Priority to CN2008102100155A priority patent/CN101612620B/zh
Publication of JP2010006509A publication Critical patent/JP2010006509A/ja
Application granted granted Critical
Publication of JP5630949B2 publication Critical patent/JP5630949B2/ja
Expired - Fee Related legal-status Critical Current
Anticipated expiration legal-status Critical

Links

Images

Landscapes

  • Specific Conveyance Elements (AREA)
  • Spray Control Apparatus (AREA)
  • Manipulator (AREA)
  • Nozzles (AREA)

Abstract

【課題】より高速でのノズルヘッドの移動を可能にし、しかも構造が簡単で、より小型化を可能とした、電子部品の自動分類機におけるノズルヘッドの作動機構を提供する。
【解決手段】ノズルヘッドの作動機構は、長リンクに相当する旋回アーム(2)及びリンクロッド(3)と、短リンクに相当し、旋回アーム及びリンクロッドの近位端間及び遠位端間をピボットを介して結ぶ一対の揺動アーム(8、9)と、を含む平行四辺形リンク機構(10)と、旋回アーム及びリンクロッドの遠位端間を結ぶ一方の揺動アームに、その延長線上において設けられたノズルヘッド(11)と、旋回アーム及び他方の揺動アームの近位端のピボットが共通の定置軸線(12)を有し、平行四辺形リンク機構を機能させるべく旋回アーム及び他方の揺動アームをそれらの共通の定置軸線を中心に別々に回転させるためのサーボモータ(13、14)と、を含む。
【選択図】図1

Description

本発明は、電子部品をその性能測定結果ランクに基づいて分類するための電子部品の分類機、特に、電子部品をそのランク別にピンボックスに投入するためのノズルヘッドの作動機構に関する。
この種の自動分類機は、電子部品の性能を測定するためのテスタと関連して用いられ、テスタが、電子部品の種々の性能を測定し、その測定結果をランク付けし、ランク付けされた電子部品は、自動分類機によってランク別に仕分けられて分類される。そのため、自動分類機は、縦横に配列され、ランクの数に相当する数の受け口管と、その下に出し入れ可能に群として位置し、受け口管と連絡チューブを介して連結されるようになった多数のピンボックスと、受け口管の上をXY方向に移動するように制御されるノズルヘッドと、を含む。ノズルヘッダーは、テスタから延びる送出チューブに接続されていて、受け口管の1つと対峙したとき、検査後の電子部品を受け口管及び連絡チューブを通してピンボックスに投入するためのノズルを有する。
近年、電子部品の性能測定をより高速で行なうテスタが求められているが、このような要求を満たすためには、分類機の機能の高速化が不可欠である。しかし、上述したようなノズルヘッドのXY移動方式では、その駆動部分をどのように設計してもノズルヘッドの移動速度には限度があって意図する分類機の高速化は達成されないことが分かった。また、XY移動方式では、駆動部分が複雑になり、かつ駆動部分の占める空間が大きく、そのため分類機の小型化にも限度があった。
本発明の目的は、より高速でのノズルヘッドの移動を可能にし、しかも構造が簡単で、より小型化を可能とした、電子部品の自動分類機におけるノズルヘッドの作動機構を提供することにある。
本発明のこの目的は、長リンクに相当する旋回アーム及びリンクロッドと、短リンクに相当し、旋回アーム及びリンクロッドの近位端間及び遠位端間をピボットを介して結ぶ一対の揺動アームと、を含む平行四辺形リンク機構と、旋回アーム及びリンクロッドの遠位端間を結ぶ一方の揺動アームに、その延長線上において設けられたノズルヘッドと、旋回アーム及び他方の揺動アームの近位端のピボットが共通の軸線を有し、ノズルヘッドを、縦横に配列された多数の受け口管の選択された1つに対峙させるために、平行四辺形リンク機構を機能させるべく旋回アーム及び他方の揺動アームをそれらの共通の軸線を中心に別々に回転させるためのサーボモータと、を含む、電子部品の自動分類機におけるノズルヘッドの作動機構を提供することによって達成される。
本発明の好ましい実施形態では、一方のサーボモータによる旋回アームの回転は、水平となす可変角度で90度まで行われ、他方のサーボモータによる他方の揺動アームの回転は、リンクロッドを介して一方の揺動アーム、従ってノズルヘッドを旋回アームの遠位端のピボットを中心に可変角度回転させるべくそれと等しい可変角度で行われる。
本発明のさらなる実施形態では、一方のサーボモータは、固定ベースに設置され、旋回アームは、サーボモータの出力部に固定して取り付けられ、他方のサーボモータは、旋回アームに固定して取り付けられた支持枠に設置され、他方の揺動アームは、他方のサーボモータの出力部に固定して取り付けられる。
本発明の更に別の実施形態では、一方のサーボモータは、ダイレクトドライブモータからなり、且つ固定ベースに設置され、旋回アームは、サーボモータの出力部に固定して取り付けられ、且つ一端が旋回アームに固定され、そして固定ベースの下までサーボモータを貫いて延びる中空軸を有し、他方のサーボモータは、中空軸にキー止め且つ固定された支持枠で支持され、且つ中空軸と同軸の出力部を有し、この出力部に他方の揺動アームが固定して取り付けられる。
本発明によるノズルヘッドの作動機構では、ノズルヘッドを、その下に配置された多数の受け口管のうちの特定の1つに向かわせる又は対峙させようとする度に、2つのモータにそれぞれ特定の電気信号を与えてモータをそれぞれ所定角度回転させ、それによって平行四辺形機構を作動する。
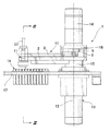
今、本発明によるノズルヘッドの作動機構の詳細を添付図面を参照して説明する。図1、2、及び3に示すように、電子部品の自動分類機におけるノズルヘッドの作動機構1は、長リンクに相当する旋回アーム2及びリンクロッド3と、短リンクに相当し、旋回アーム2及びリンクロッド3の近位端間及び遠位端間をピボット4、5、6、7を介して結ぶ一対の揺動アーム8、9と、を含む平行四辺形リンク機構10を含む。ノズルヘッド11が、旋回アーム2及びリンクロッド3の遠位端間を結ぶ一方の揺動アーム9に、その延長線上において設けられている。旋回アーム2及び他方の揺動アーム8の近位端のピボット4は共通の軸線12を有する。2つのサーボモータ13、14が上下に対向して設けられ、かつ出力部15、16をそれぞれ有している。一方のサーボモータ13は、固定ベース17に設置され、旋回アーム2は、サーボモータ13の出力部15に固定して取り付けられる。他方のサーボモータ14は、旋回アーム2に固定して取り付けられた支持枠18に設置され、その出力部16に他方の揺動アーム8が固定して取り付けられる。
図4は、平行四辺形リンク機構10の動作を線図的に示している。この図から分かるように、一方のサーボモータ13による旋回アーム2の回転は、水平となす可変角度αで90度まで行われ、他方のサーボモータ14による他方の揺動アーム8の回転は、リンクロッド3を介して一方の揺動アーム9、従ってノズルヘッド11を旋回アーム2の遠位端のピボットを中心に可変角度β回転させるべく、それと等しい可変角度で行われる。
かくして、2つのサーボモータ13、14は、ノズルヘッド11を、その下で固定ベース17に縦横配列状態(縦列AないしLで、横列1ないし11で指示)にして固定された、電子部品の測定結果のランクの数に相当する多数の受け口管19の任意の1つに対峙させるために、平行四辺形リンク機構10を機能させるべく旋回アーム2及び他方の揺動アーム8をそれらの共通の定置軸線12を中心に別々に可変角度α、β回転させるように電気的に作動される。これら2つのサーボモータ13、14は同時に作動されるが、他方のサーボモータ14も、先に述べたように、これが旋回アーム2に固定して取り付けられた支持枠18に設置されているため、サーボモータ13の作動により、旋回アーム2と一緒に共通の定置軸線12を中心に回転することに気づくであろう。
図5、6及び7は、平行四辺形リンク機構の機能によりノズルヘッド11を受け口管19の意図する1つに対峙させている様子を示している。図5では、ノズルヘッド11は[Cと1]で特定される受け口に(以下、「例1」という。)、図6では、[Hと7]で特定される受け口に(以下、「例2」という。)、図7では、[Kと11]で特定される受け口に(以下、「例3」という。)対峙している。例1の場合には、旋回アームの可変角度αは53.455度、揺動アームの可変角度βは35.641度、例2の場合には、旋回アームの可変角度αは70.344度、揺動アームの可変角度βは73.323度、例3の場合には、旋回アームの可変角度αは82.733度、揺動アームの可変角度βは104.082度、である。勿論、すべての受け口について旋回アーム及び揺動アームの可変角度α、βが予め割り当てられることは明らかである。
図8ないし10は本発明の別の実施形態を示し、この実施形態では、一方のサーボモータ13は、ダイレクトドライブモータ13’からなり、固定ベース17に固定され、旋回アーム2は、サーボモータの出力部15’に固定して取り付けられる。ダイレクトドライブモータ13’は、一端が旋回アーム2に固定され、そして固定ベース17の下までサーボモータ13’を貫いて延びる中空軸20を有している。他方のサーボモータ14は、中空軸20にキー止め且つ固定21された支持枠22で支持され、且つ中空軸20と同軸の出力軸の形態の出力部16’を有し、旋回アームより上でこの出力部16’に他方の揺動アーム8が固定して取り付けられる。かくして、サーボモータ13、14は、旋回アーム2及び他方の揺動アーム8をそれらの共通の定置軸線12を中心に別々に回転させるように作動される。
この実施形態においても、本発明の第1の実施形態におけると同様に、一方のサーボモータ13による旋回アーム2の回転は、水平となす可変角度αで90度まで行われ、他方のサーボモータ14による他方の揺動アーム8の回転は、リンクロッド3を介して一方の揺動アーム9、従ってノズルヘッド11を旋回アーム2の遠位端のピボットを中心に可変角度β回転させるべく、それと等しい可変角度で行われる。
いずれの実施形態においても、2つのモータは、平行四辺形機構10の作動でノズルヘッド11を、その下に配置された多数の受け口管19のうちの特定の1つに向かわせる又は対峙させようとする度に、その特定の受け口管19に対応して予め決定されたそれぞれ特定の電気信号を受けてそれぞれ所定角度α、β回転するようになっていることはサーボモータに携わる当業者において容易に理解されよう。
上述したように、自動分類機のノズルヘッダー11は、テスタ(図示せず)から延びる送出チューブ23に接続されていて、上述した方法で受け口管19の1つと対峙したとき、検査後の電子部品を受け口管19を通して、その下に出し入れ可能に位置する多数のピンボックス(図示せず)に投入する。
以上の記載から分かるように、本発明によるノズルヘッドの作動機構では、ノズルヘッドを上下に配置された2つのサーボモータとこれによって作動される平行四辺形リンク機構の組み合わせにより受け口管に対して位置の制御を行うようにしたので、在来のXY方向移動方式のものに比してノズルヘッドをより高速で移動させることができ、加えて、機構全体をよりコンパクトにすることができる。
本発明によるノズルヘッドの作動機構の平面図である。 図1のノズルヘッドの作動機構の側面図である。 図2の3−3線における断面図である。 平行四辺形リンク機構の動作によるノズルヘッドと受け口の関係を示す線図である。 ノズルヘッドを意図する受け口管に臨ませている、作動機構の動作状態を示す図1と同様の図である。 ノズルヘッドを意図する他の受け口管に臨ませている、作動機構の動作状態を示す図1と同様の図である。 ノズルヘッドを意図するさらに他の受け口管に臨ませている、作動機構の動作状態を示す図1と同様の図である。 本発明によるノズルヘッドの作動機構の他の実施形態を示す平面図である。 図8のノズルヘッドの作動機構のIX−IX線における断面図である。 図8のノズルヘッドの作動機構の一部断面の右側面図である。
符号の説明
1 ノズルヘッドの作動機構
2 旋回アーム
3 リンクロッド
4 ピボット
5 ピボット
6 ピボット
7 ピボット
8 揺動アーム
9 揺動アーム
10 平行四辺形リンク機構
11 ノズルヘッド
12 共通の定置軸線
13 サーボモータ
14 サーボモータ
15 出力部
16 出力部
17 固定ベース
18 支持枠
19 受け口管
20 中空軸
22 支持枠

Claims (4)

  1. 長リンクに相当する旋回アーム及びリンクロッドと、短リンクに相当し、旋回アーム及びリンクロッドの近位端間及び遠位端間をピボットを介して結ぶ一対の揺動アームと、を含む平行四辺形リンク機構と、旋回アーム及びリンクロッドの遠位端間を結ぶ一方の揺動アームに、その延長線上において設けられたノズルヘッドと、旋回アーム及び他方の揺動アームの近位端のピボットが共通の定置軸線を有し、ノズルヘッドを、縦横に配列された多数の受け口管の任意の1つに対峙させるために、平行四辺形リンク機構を機能させるべく旋回アーム及び他方の揺動アームをそれらの共通の定置軸線を中心に別々に回転させるためのサーボモータと、を含む、電子部品の自動分類機におけるノズルヘッドの作動機構。
  2. 一方のサーボモータによる旋回アームの回転は、水平となす可変角度で90度まで行われ、他方のサーボモータによる他方の揺動アームの回転は、リンクロッドを介して一方の揺動アーム、従ってノズルヘッドを旋回アームの遠位端のピボットを中心に可変角度回転させるべくそれと等しい可変角度で行われる、請求項1に記載のノズルヘッド作動機構。
  3. 一方のサーボモータは、固定ベースに固定され、旋回アームは、サーボモータの出力部に固定して取り付けられ、他方のサーボモータは、旋回アームに固定して取り付けられた支持台に固定され、他方の揺動アームは、他方のサーボモータの出力部に固定して取り付けられる、請求項1に記載のノズルヘッド作動機構。
  4. 一方のサーボモータは、ダイレクトドライブモータからなり、且つ固定ベースに設置され、旋回アームは、サーボモータの出力部に固定して取り付けられ、且つ一端が旋回アームに固定され、そして固定ベースの下までサーボモータを貫いて延びる中空軸を有し、他方のサーボモータは、中空軸にキー止め且つ固定された支持枠で支持され、且つ中空軸と同軸の出力部を有し、この出力部に他方の揺動アームが固定して取り付けられる、請求項1に記載のノズルヘッド作動機構。
JP2008165957A 2008-06-25 2008-06-25 電子部品の自動分類機におけるノズルヘッドの作動機構 Expired - Fee Related JP5630949B2 (ja)

Priority Applications (3)

Application Number Priority Date Filing Date Title
JP2008165957A JP5630949B2 (ja) 2008-06-25 2008-06-25 電子部品の自動分類機におけるノズルヘッドの作動機構
TW97128863A TWI342260B (en) 2008-06-25 2008-07-30 A mechanism for operation of a mozzle head in an automatic sorter for electronic parts
CN2008102100155A CN101612620B (zh) 2008-06-25 2008-08-22 电子部件的自动分类机中的喷头动作机构

Applications Claiming Priority (1)

Application Number Priority Date Filing Date Title
JP2008165957A JP5630949B2 (ja) 2008-06-25 2008-06-25 電子部品の自動分類機におけるノズルヘッドの作動機構

Publications (2)

Publication Number Publication Date
JP2010006509A true JP2010006509A (ja) 2010-01-14
JP5630949B2 JP5630949B2 (ja) 2014-11-26

Family

ID=41492604

Family Applications (1)

Application Number Title Priority Date Filing Date
JP2008165957A Expired - Fee Related JP5630949B2 (ja) 2008-06-25 2008-06-25 電子部品の自動分類機におけるノズルヘッドの作動機構

Country Status (3)

Country Link
JP (1) JP5630949B2 (ja)
CN (1) CN101612620B (ja)
TW (1) TWI342260B (ja)

Cited By (1)

* Cited by examiner, † Cited by third party
Publication number Priority date Publication date Assignee Title
CN106607340A (zh) * 2015-10-23 2017-05-03 万润科技股份有限公司 电子元件分类方法及装置

Families Citing this family (6)

* Cited by examiner, † Cited by third party
Publication number Priority date Publication date Assignee Title
JP3161942U (ja) * 2010-06-04 2010-08-12 日本ガーター株式会社 電子部品の分類装置
CN102398775A (zh) * 2010-09-15 2012-04-04 深圳市华腾半导体设备有限公司 一种分料机构
CN103041998B (zh) * 2012-12-20 2014-12-17 广东志成华科光电设备有限公司 Led分光机的分料机构
CN109661297B (zh) * 2016-09-23 2021-07-23 雅马哈发动机株式会社 机器人
CN106629034A (zh) * 2016-11-16 2017-05-10 北京融安汇智科技有限公司 一种抵押品自助提取系统
CN108354833B (zh) * 2017-07-03 2024-04-19 温州机汇科技有限公司 一种包衣机的喷枪调节机构

Citations (5)

* Cited by examiner, † Cited by third party
Publication number Priority date Publication date Assignee Title
JPS5978093U (ja) * 1982-11-18 1984-05-26 ぺんてる株式会社 多関節ロボット
JPS6377674A (ja) * 1986-09-22 1988-04-07 株式会社東芝 産業用ロボツト
JPS6440294A (en) * 1987-08-05 1989-02-10 Mitsubishi Electric Corp Power transmission mechanism
JPH0241886A (ja) * 1988-07-29 1990-02-13 Pentel Kk ダイレクトドライブロボット
JPH02113398U (ja) * 1989-02-27 1990-09-11

Family Cites Families (6)

* Cited by examiner, † Cited by third party
Publication number Priority date Publication date Assignee Title
DE2214416C3 (de) * 1972-03-24 1979-05-03 Philips Patentverwaltung Gmbh, 2000 Hamburg Vorrichtung zum automatischen Sortieren von Einzelteilen
JPH07291428A (ja) 1994-04-26 1995-11-07 Harrison Denki Kk キャップ状物の供給装置
JP2000118702A (ja) * 1998-10-09 2000-04-25 Kubota Corp ディスク移送装置及びディスク処理装置
KR100996809B1 (ko) * 2003-08-25 2010-11-25 라이트하우스 원 피티와이 엘티디, 에즈 트러스티 오브 더 라이트하우스 유닛 트러스트 분류장치 및 방법
TW587964B (en) * 2003-10-06 2004-05-21 Mu-Shan Liau Device for testing and classifying electronic components
JP2007014925A (ja) * 2005-07-11 2007-01-25 Si Seiko Co Ltd 農産物選別装置

Patent Citations (5)

* Cited by examiner, † Cited by third party
Publication number Priority date Publication date Assignee Title
JPS5978093U (ja) * 1982-11-18 1984-05-26 ぺんてる株式会社 多関節ロボット
JPS6377674A (ja) * 1986-09-22 1988-04-07 株式会社東芝 産業用ロボツト
JPS6440294A (en) * 1987-08-05 1989-02-10 Mitsubishi Electric Corp Power transmission mechanism
JPH0241886A (ja) * 1988-07-29 1990-02-13 Pentel Kk ダイレクトドライブロボット
JPH02113398U (ja) * 1989-02-27 1990-09-11

Cited By (1)

* Cited by examiner, † Cited by third party
Publication number Priority date Publication date Assignee Title
CN106607340A (zh) * 2015-10-23 2017-05-03 万润科技股份有限公司 电子元件分类方法及装置

Also Published As

Publication number Publication date
TWI342260B (en) 2011-05-21
CN101612620A (zh) 2009-12-30
TW201000275A (en) 2010-01-01
CN101612620B (zh) 2012-11-07
JP5630949B2 (ja) 2014-11-26

Similar Documents

Publication Publication Date Title
JP5630949B2 (ja) 電子部品の自動分類機におけるノズルヘッドの作動機構
CN101894593B (zh) 反应堆压力容器检查机的探头扫查装置
WO1980002492A1 (fr) Appareil d'entrainement de moteurs a impulsions pour un systeme automatique d'essais
CN202393744U (zh) 压力容器封头组合焊缝tofd和相控阵成像扫查器
CN109176456A (zh) 一种多功能巡检机器人
SE461273B (sv) Anordning foer glasformningsapparat
CN201146177Y (zh) 一种灯丝切断装置
CN108195692A (zh) 一种星上电缆弯折疲劳试验机构
CN209578612U (zh) 手机摄像头模组焊接固定装置
CN115793874B (zh) 一种虚拟现实远程交互设备
CN108274114B (zh) 激光烧蚀远心稳定机构
CN204666350U (zh) 一种适用于锁胆的扭力测试设备
CN205151166U (zh) 一种平移设备的摇摆驱动结构
CN104157205B (zh) 一种多自由度机械手教具
CN212218333U (zh) 光学显微镜机台托盘调节高度用的辅助工具
CN201792125U (zh) 五轴钢管相贯线切割机摆动消隙机构
JP2007099506A (ja) フィード装置
CN115014195B (zh) 一种可检测不同尺寸晶圆的检测机构
CN116873590B (zh) 旋转结构及半导体轨道
US537667A (en) beardsley
JPH06307978A (ja) 風洞試験模型支持装置
CN111054654A (zh) 基于光谱技术的球状农产品内部品质检测分级设备
CN101499402B (zh) 一种灯丝切断装置
CN118455823B (zh) 一种风管安装用电气焊具设备
CN115540325B (zh) 一种空调器送风调节装置

Legal Events

Date Code Title Description
RD02 Notification of acceptance of power of attorney

Free format text: JAPANESE INTERMEDIATE CODE: A7422

Effective date: 20101025

RD04 Notification of resignation of power of attorney

Free format text: JAPANESE INTERMEDIATE CODE: A7424

Effective date: 20101028

A621 Written request for application examination

Free format text: JAPANESE INTERMEDIATE CODE: A621

Effective date: 20110325

A131 Notification of reasons for refusal

Free format text: JAPANESE INTERMEDIATE CODE: A131

Effective date: 20130219

A977 Report on retrieval

Free format text: JAPANESE INTERMEDIATE CODE: A971007

Effective date: 20130221

A521 Written amendment

Free format text: JAPANESE INTERMEDIATE CODE: A523

Effective date: 20130416

A131 Notification of reasons for refusal

Free format text: JAPANESE INTERMEDIATE CODE: A131

Effective date: 20131015

A521 Written amendment

Free format text: JAPANESE INTERMEDIATE CODE: A523

Effective date: 20131205

A02 Decision of refusal

Free format text: JAPANESE INTERMEDIATE CODE: A02

Effective date: 20140507

A521 Written amendment

Free format text: JAPANESE INTERMEDIATE CODE: A523

Effective date: 20140728

A911 Transfer to examiner for re-examination before appeal (zenchi)

Free format text: JAPANESE INTERMEDIATE CODE: A911

Effective date: 20140804

TRDD Decision of grant or rejection written
A01 Written decision to grant a patent or to grant a registration (utility model)

Free format text: JAPANESE INTERMEDIATE CODE: A01

Effective date: 20140909

A61 First payment of annual fees (during grant procedure)

Free format text: JAPANESE INTERMEDIATE CODE: A61

Effective date: 20141007

R150 Certificate of patent or registration of utility model

Ref document number: 5630949

Country of ref document: JP

Free format text: JAPANESE INTERMEDIATE CODE: R150

S533 Written request for registration of change of name

Free format text: JAPANESE INTERMEDIATE CODE: R313533

R350 Written notification of registration of transfer

Free format text: JAPANESE INTERMEDIATE CODE: R350

R250 Receipt of annual fees

Free format text: JAPANESE INTERMEDIATE CODE: R250

LAPS Cancellation because of no payment of annual fees