JP2010006475A - フェルト針パッケージ - Google Patents

フェルト針パッケージ Download PDF

Info

Publication number
JP2010006475A
JP2010006475A JP2009120415A JP2009120415A JP2010006475A JP 2010006475 A JP2010006475 A JP 2010006475A JP 2009120415 A JP2009120415 A JP 2009120415A JP 2009120415 A JP2009120415 A JP 2009120415A JP 2010006475 A JP2010006475 A JP 2010006475A
Authority
JP
Japan
Prior art keywords
felt needle
lid
felt
package according
needle package
Prior art date
Legal status (The legal status is an assumption and is not a legal conclusion. Google has not performed a legal analysis and makes no representation as to the accuracy of the status listed.)
Granted
Application number
JP2009120415A
Other languages
English (en)
Other versions
JP5042273B2 (ja
Inventor
Johannes Bruske
ブルシュケ ヨハネス
Hans Haeussler
ハウスラー ハンス
Stefan Drope
ドローペ シュテファン
Hans-Joachim Halamoda
ハラモーダ ハンス−ヨアキム
Current Assignee (The listed assignees may be inaccurate. Google has not performed a legal analysis and makes no representation or warranty as to the accuracy of the list.)
Groz Beckert KG
Original Assignee
Groz Beckert KG
Priority date (The priority date is an assumption and is not a legal conclusion. Google has not performed a legal analysis and makes no representation as to the accuracy of the date listed.)
Filing date
Publication date
Application filed by Groz Beckert KG filed Critical Groz Beckert KG
Publication of JP2010006475A publication Critical patent/JP2010006475A/ja
Application granted granted Critical
Publication of JP5042273B2 publication Critical patent/JP5042273B2/ja
Active legal-status Critical Current
Anticipated expiration legal-status Critical

Links

Images

Classifications

    • BPERFORMING OPERATIONS; TRANSPORTING
    • B65CONVEYING; PACKING; STORING; HANDLING THIN OR FILAMENTARY MATERIAL
    • B65DCONTAINERS FOR STORAGE OR TRANSPORT OF ARTICLES OR MATERIALS, e.g. BAGS, BARRELS, BOTTLES, BOXES, CANS, CARTONS, CRATES, DRUMS, JARS, TANKS, HOPPERS, FORWARDING CONTAINERS; ACCESSORIES, CLOSURES, OR FITTINGS THEREFOR; PACKAGING ELEMENTS; PACKAGES
    • B65D85/00Containers, packaging elements or packages, specially adapted for particular articles or materials
    • B65D85/20Containers, packaging elements or packages, specially adapted for particular articles or materials for incompressible or rigid rod-shaped or tubular articles
    • B65D85/24Containers, packaging elements or packages, specially adapted for particular articles or materials for incompressible or rigid rod-shaped or tubular articles for needles, nails or like elongate small articles
    • BPERFORMING OPERATIONS; TRANSPORTING
    • B65CONVEYING; PACKING; STORING; HANDLING THIN OR FILAMENTARY MATERIAL
    • B65DCONTAINERS FOR STORAGE OR TRANSPORT OF ARTICLES OR MATERIALS, e.g. BAGS, BARRELS, BOTTLES, BOXES, CANS, CARTONS, CRATES, DRUMS, JARS, TANKS, HOPPERS, FORWARDING CONTAINERS; ACCESSORIES, CLOSURES, OR FITTINGS THEREFOR; PACKAGING ELEMENTS; PACKAGES
    • B65D25/00Details of other kinds or types of rigid or semi-rigid containers
    • B65D25/02Internal fittings
    • B65D25/04Partitions
    • BPERFORMING OPERATIONS; TRANSPORTING
    • B65CONVEYING; PACKING; STORING; HANDLING THIN OR FILAMENTARY MATERIAL
    • B65DCONTAINERS FOR STORAGE OR TRANSPORT OF ARTICLES OR MATERIALS, e.g. BAGS, BARRELS, BOTTLES, BOXES, CANS, CARTONS, CRATES, DRUMS, JARS, TANKS, HOPPERS, FORWARDING CONTAINERS; ACCESSORIES, CLOSURES, OR FITTINGS THEREFOR; PACKAGING ELEMENTS; PACKAGES
    • B65D25/00Details of other kinds or types of rigid or semi-rigid containers
    • B65D25/02Internal fittings
    • B65D25/10Devices to locate articles in containers
    • B65D25/101Springs, elastic lips, or other resilient elements to locate the articles by pressure
    • BPERFORMING OPERATIONS; TRANSPORTING
    • B65CONVEYING; PACKING; STORING; HANDLING THIN OR FILAMENTARY MATERIAL
    • B65DCONTAINERS FOR STORAGE OR TRANSPORT OF ARTICLES OR MATERIALS, e.g. BAGS, BARRELS, BOTTLES, BOXES, CANS, CARTONS, CRATES, DRUMS, JARS, TANKS, HOPPERS, FORWARDING CONTAINERS; ACCESSORIES, CLOSURES, OR FITTINGS THEREFOR; PACKAGING ELEMENTS; PACKAGES
    • B65D43/00Lids or covers for rigid or semi-rigid containers
    • B65D43/02Removable lids or covers
    • DTEXTILES; PAPER
    • D04BRAIDING; LACE-MAKING; KNITTING; TRIMMINGS; NON-WOVEN FABRICS
    • D04HMAKING TEXTILE FABRICS, e.g. FROM FIBRES OR FILAMENTARY MATERIAL; FABRICS MADE BY SUCH PROCESSES OR APPARATUS, e.g. FELTS, NON-WOVEN FABRICS; COTTON-WOOL; WADDING ; NON-WOVEN FABRICS FROM STAPLE FIBRES, FILAMENTS OR YARNS, BONDED WITH AT LEAST ONE WEB-LIKE MATERIAL DURING THEIR CONSOLIDATION
    • D04H18/00Needling machines
    • D04H18/02Needling machines with needles
    • BPERFORMING OPERATIONS; TRANSPORTING
    • B65CONVEYING; PACKING; STORING; HANDLING THIN OR FILAMENTARY MATERIAL
    • B65DCONTAINERS FOR STORAGE OR TRANSPORT OF ARTICLES OR MATERIALS, e.g. BAGS, BARRELS, BOTTLES, BOXES, CANS, CARTONS, CRATES, DRUMS, JARS, TANKS, HOPPERS, FORWARDING CONTAINERS; ACCESSORIES, CLOSURES, OR FITTINGS THEREFOR; PACKAGING ELEMENTS; PACKAGES
    • B65D81/00Containers, packaging elements, or packages, for contents presenting particular transport or storage problems, or adapted to be used for non-packaging purposes after removal of contents
    • B65D81/24Adaptations for preventing deterioration or decay of contents; Applications to the container or packaging material of food preservatives, fungicides, pesticides or animal repellants
    • B65D81/26Adaptations for preventing deterioration or decay of contents; Applications to the container or packaging material of food preservatives, fungicides, pesticides or animal repellants with provision for draining away, or absorbing, or removing by ventilation, fluids, e.g. exuded by contents; Applications of corrosion inhibitors or desiccators
    • B65D81/266Adaptations for preventing deterioration or decay of contents; Applications to the container or packaging material of food preservatives, fungicides, pesticides or animal repellants with provision for draining away, or absorbing, or removing by ventilation, fluids, e.g. exuded by contents; Applications of corrosion inhibitors or desiccators for absorbing gases, e.g. oxygen absorbers or desiccants
    • B65D81/268Adaptations for preventing deterioration or decay of contents; Applications to the container or packaging material of food preservatives, fungicides, pesticides or animal repellants with provision for draining away, or absorbing, or removing by ventilation, fluids, e.g. exuded by contents; Applications of corrosion inhibitors or desiccators for absorbing gases, e.g. oxygen absorbers or desiccants the absorber being enclosed in a small pack, e.g. bag, included in the package

Landscapes

  • Engineering & Computer Science (AREA)
  • Mechanical Engineering (AREA)
  • Textile Engineering (AREA)
  • Food Science & Technology (AREA)
  • Packaging Of Annular Or Rod-Shaped Articles, Wearing Apparel, Cassettes, Or The Like (AREA)
  • Nonwoven Fabrics (AREA)
  • Details Of Rigid Or Semi-Rigid Containers (AREA)
  • Superconductors And Manufacturing Methods Therefor (AREA)
  • Dental Preparations (AREA)
  • Organic Insulating Materials (AREA)
  • Wrappers (AREA)

Abstract

【課題】フェルト針を経済的にパッケージし、容易に取り出すことができ、怪我をするリスクが最小化されるパッケージを提供する。
【解決手段】フェルト針パッケージは並行六面体の形状を有する容器からなり、当該容器の内部空間は隔壁11で分割され、当該壁は側壁に対して対角線上に延びる一方、底面9に対しては直角に延びる。隔壁11は一以上の切欠き、例えば掴むための開口部12のようなものを有してもよい。追加の隔壁が設けられてもよい。隔壁11はパッケージ中に楔形の、即ちプリズム型の部分空間20,21を形成し、当該部分空間20,21は、同様に楔型をしたフェルト針の束を収納するよう配置される。
【選択図】図2

Description

本発明はフェルト針パッケージに関する。
フェルト製造では大量のフェルト針が必要となる。フェルト針は磨耗する補充部品であり必要な時にすぐ使用できるよう保管しておくため購入されるものである。そのために、針の製造者は、針が粗雑に扱われ長期間保管された場合でもパッケージが傷まないような方法でフェルト針を経済的にパッケージするという問題に対処しなければならない。しかしながらその場合、また当該針は使用者がパッケージからフェルト針を容易に取り出すことができるような方法で、パッケージされるべきである。これは怪我をするリスクが最小化されることを意味する。
フェルト針は長く延びた作業部分と曲がったフット(足)を持つ保持部分とからなり、当該保持部分は当該作業部分の延長部である。一般に、作業部分は保持部分に比べより小さな径を持つ。フェルト針が隣同士並べられてお互いに平行にかつ圧縮されて配列されたときは、楔形の束が形成されることとなる。
この点に関し、特許文献1はフェルト針を整列して保持することのできる楔形の針パッケージを提案している。この楔形のパッケージは長方形の外箱内に収納できる。これに関し、前記特許文献1は又、内部空間の有効利用のため外箱内の空間に二つの楔形のパッケージが反対方向に並べられた配置を提案している。外箱の残りの空きスペースはフォーム材あるいは同様なもので充填されている。
他のパッケージが、例えば縫い針などで知られている。これに関しては、特許文献2を参照されたい。特許文献2は平たい長方形の針パッケージを示している。当該パッケージはたたんで広げることができ、蓋に対角線上に設けられた留め口(クランプリップ)を有する箱からなる。これらの留め口はパッケージ内の所定位置に当該針を固定するためにパッケージの底に対し縫い針を押さえ付けるためのものである。
独国特許出願公開第10 2005 036 329号明細書 国際公開第02/059016号
これに鑑み、本発明の目的は簡単で整った構成で、針の使用者のみならず針の製造者にとっても簡単に取り扱える、空間を節約できるフェルト針パッケージを創作することである。
この目的は請求項1によるフェルト針パッケージにより達成される。
本発明によるフェルト針パッケージは、底面とそこから立ち上がる壁とを有する容器からなり、当該壁は、蓋と共にフェルト針を収納する内部空間を囲む。内部空間内には、側壁に対して鋭角に位置する、少なくとも一の隔壁が設けられる。この隔壁は容器の内部空間を2以上のフェルト針の収納部分に分割しており、当該収納部分はほぼ同じ大きさを有する。上部から見て、すなわち、容器を覗くとこの隔壁は四隅のうちの二つの間にほぼ対角線上に配置されている。隔壁の高さは基本的には容器の高さと等しいかあるいはそれより少し低い。対角線上に配置された隔壁により、容器の内部空間はいくつかの基本的に楔型の区画に分けられ、それにより楔形はフェルト針の先細の形状に適合する。
本発明によるフェルト針パッケージでは、フェルト針は好ましくは内部空間のそれぞれ区分された部分に同じ方向に向けられる。各区画の針の作業部分は第一の方向を指す。保持部分は第2の、反対の方向を指す。隔壁で区分された他の収納部分の針束の針は好ましくは反対の方向を向く。
好ましくは、隔壁には中心に位置し、例えば、当該壁の上端から底面へ延びるような少なくとも一の切欠きを備える。この切欠きあるいはより小さな切欠きはパッケージからのフェルト針の取り出しを容易にしてそして使用者が中央部分で針を掴むことを助ける。作業部分は針の終端部に位置するので、これはよくある非常に尖ったあるいは鋭利な作業部分に触れた時に怪我をするリスクを減らす。
要求があれば、追加の部品、例えば、ブラケットとして作られたものを、収納部分のそのそれぞれの先端を短くするために、容器内に設置することができる。この方法は、例えば、より短い針に適合させるために用いられる。
好ましくは、隔壁は少なくとも側壁そして/または底面と、そしてさらに好ましくは、側壁とも底面とも結合して、容器内で隔壁が安定して位置決めされるようにする。個別のケースでは又、一あるいは他の折り曲げ方向に柔軟性を持たせるよう、底面とだけあるいは側壁とだけ結合する方が都合がよいかもしれない。
隔壁そして/またはブラケットは容器と、その底面そして/または少なくとも該容器の一の壁と一体に継ぎ目なく結合していてもよい。この場合、容器は一体物として制作される。
好ましくは、容器とその蓋は同じプラスチック材料から作られる。また、隔壁も好ましくは同じプラスチック材料で作られ、例えば残余の容器と一体に継ぎ目なく結合される。前述のブラケットあるいは他のいかなる挿入部品も好ましくは同様に同じプラスチック材料で作られる。このやり方は再生利用を後押しする。好ましくは容器とその蓋は、例えば、ポリスチレンやABSのようなリサイクル容易なプラスチック材料で作られる。
好ましくは、蓋は多機能蓋として設計される。従って、容器のアングル継ぎ手に、それに沿って容器と蓋がお互い容器の端の部分で係合するよう、固定してもよい。封止を改善するために、柔らかいガスケットを蓋にあるいは同様に容器の上部の端に設けてもよい。容器外側の周囲の粘着テープの別個の帯は省略しうる。
蓋は容器の縁に係止する形で固定できる。好ましくは、破棄することによってのみ開けることのできる係止手段あるいはクリップを設けることが可能である。
さび止めを入れる収納部を設けることもできる。この収納部は蓋かあるいは、それに代えて、また容器の他の場所に設けてもよい。好ましくは、デポー製剤が自動化に適した形のさび止めである。例えば、錠剤や、ジェルまたは小さな粉末の小袋、含浸した紙、厚紙片またはフェルト片等々で供せられる。好ましくは、再生利用に先立ち取り外せるよう、収納部は接着でのみ該蓋の部分あるいは容器に接合される。
容器は平行六面体の外形を有するものの、その内部空間は楔形の室に分かれる。室の数は2以上である。室の基本領域は三角形または台形(不等辺四辺形、先端を切り落とした三角形)であって、室は上に向かって開いている容器の内部空間に一以上の隔壁により形成される。隔壁は、容器の側壁と同様、好ましくは底面に対して垂直に、すなわち直角に延びている。
針を所定位置に保持するために、蓋に係止されたバネが用いられる。このバネはプラスチック材料の板か帯、あるいは他の似たような部材で、一端または両端が蓋に係止され、当該板または帯は針の方へ、すなわち容器の内部空間の方へ膨らむ。
更に、容器内の針の接触を良くするために、リブあるいは他の突起が容器の側壁そして/またはその底面に設けられてもよい。
本発明の効果的な実施態様の更なる詳細は図面、請求項あるいは記載から明らかとなる。記載は本発明の本質的な特徴と多岐にわたる状況に限定されている。図面は補助として参照されるべきものである。それらには追加の詳細が開示されている。
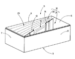
閉じた状態のフェルト針パッケージの斜視図である。 蓋を外した状態の図1のフェルト針パッケージの斜視図である。 図1あるいは図2のパッケージから出したフェルト針の概略を示す側面図である。 図2のフェルト針パッケージの容器の概略を示す平面図である。 図4の容器の、図4でV−V線に沿った断面図である。 フェルト針パッケージの、蓋と容器との間の接合に沿った断面図である。 フェルト針パッケージの、蓋と容器との間の接合に沿った別の断面図である。 図1の針パッケージの、変更された実施例の縦の断面である。
図1は長方形の箱として構成されたフェルト針パッケージ1を示す。これは容器2と、容器2を上方で閉じる蓋3からなる。蓋3と容器2は分割継ぎ目4に沿って互いに当接する。
図2は容器2を更に詳細に示す。これは長方形の内部空間を区切る四つの側壁5,6,7,8からなる。好ましくは、該壁は底面9から90°の角度で立ち上がる。例として図5には対応する90°の角度αが示されている。底面9と各側壁5,6,7,8の各々は、同じ素材からなりその縁に沿って隙間や継ぎ目のない様に互いに当接する、直角の、薄い、好ましくは基本的に平面で板状の要素である。容器2は、例えば、プラスチック材料の射出成形部材からなる。
容器2により囲われた内部空間10は隔壁11により対角線状に分割されている。隔壁11は好ましくは容器2と一体の部材である。この場合、同様に、隔壁11は、側壁5,6,7,8の一つと同様底面9と隙間なくそして継ぎ目なく結合している。隔壁11は、底面9に延び、そのため該隔壁を二つの隔壁部分13,14に分割するような中央開口12を備えてもよい。好ましくはそれらはお互いに一直線上で、従って本質的に共通平面(図4参照)あるいは共通線上に位置する。この平面あるいは線は対立する側壁5,7と交差し、少なくとも底面9で規定される長方形の対角線に近接して位置する。このため、隔壁11と隔壁部分13は小さな方の側壁7と境を接する。同様に、これは小さな方の側壁5に接する隔壁部分14にも当てはまる。好ましくは大きな側壁6,8は隔壁とは境を接しない。隔壁部分13と側壁7は90°よりも小さな角度βをなす。長い方の側壁8と隔壁部分13もまた90°よりも小さな角度γをなす。二つの角度βとγの合計は90°である。全体としての隔壁11、特に、隔壁部分14あるいは13と底面9とは直角δをなす(図5参照)。
実質的に平面の隔壁部分13には隔壁部分13の剛性を増す、角のある縁15をその開口12に面する側に設けてもよい。加えて、隔壁部分13にはその縁15に、側壁6,8に面する溝を規定する平行なビード(半円筒形の部分)を備えてもよい。この溝は、例えばブラケットのような形をした間座17を収納するために利用される。その二つの面18,19は、好ましくは直角をなし、同じ幾何学形状そして/または長さをもつ。間座17は隔壁部分13と長い方の側壁8との間に上から中間部の空間に挿入され、それにより部分18の面がビードに入り込み部分19の平面側が側壁8に当接する。
図4に示すように、隔壁11は内部空間10を二つの内部空間部分20,21に分割する。その各々はほぼ三角形の基本領域を有する。仮に隔壁11が隅22,23に当接しているとすれば、各内部空間部分20,21は正確に三角形となる。そうでなければ、当該内部空間部分は台形(不等辺四角形)の形を有する。その長さは、各種の長さのフェルト針に適合できるよう間座17により変更できる。
図3はフェルト針パッケージにより多数収納されることとなるタイプのフェルト針24を示す。当該フェルト針は一端の先に作業部分25を有し、他端に作業部分25とまっすぐ延長した形で繋がった太めの軸26を有し、そしてまっすぐ延長した形で順に軸26とつながった、軸26よりもさらに太い保持部分27を有する。保持部分27の端はフット(足)28を形成するために曲げられていてもよい。互いに並べて置かれたときこのようなフェルト針は楔形をした束29を形作る。図2においてそのような束は単純にいくつかの線で概略的に描かれている。束29は内部空間部分20をほとんど埋めている。内部空間部分21は、図2中には詳細に示されていないが、同様に楔形をした、反対方向に向いたフェルト針24の束を収納する。
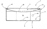
フェルト針パッケージ1の蓋3と容器2の間の接合は好ましくは防湿である。このため、分割継ぎ目4は、図6と図7に描かれているように、特にアングル継ぎ手として構成されてもよい。これは継ぎ目が、各々が少なくとも一の、好ましくはいくつかの、線30,31上に角度を有するいくつかの面からなることを意味する。結果として蓋3は、例えば、容器2の端の突起34が中に入り込む溝33を有してもよい。図6と図7に概略的に示されるように、蓋3または、それに代えて、同様に容器2にはそのしかるべき場所に、分割継ぎ目4に沿って周囲にガスケット35が設けられる。ガスケット35は容器2あるいは蓋3の凹みに設けられ、注入され、あるいは他のやり方では固定されてもよい。ガスケットは、蓋3と容器2とを防湿接合する、エラストマーあるいは同様な粘着物質からなる。
さらに、図7は蓋3と容器2と間で効果的な戻り止め手段36を示す。この手段は、例えば、お互いに噛み合う弾性的な回復力のあるもので形成される。これらは、例えば、蓋3に設けられた突起37とこれと連繋する縁の突起34の拘束開口部38である。好ましくはこの戻り止め手段36は容器2と蓋3各々の周縁の部分上にのみ延在する。
図に示すように、蓋3は、その機能が単に内部空間10を閉じるだけの単純なフード状の蓋として構成してもよい。が、当該蓋は他の追加の機能、例えば、フェルト針24を所定のところに保持する機能を果たすこともできる。図8に示すようにこれはバネ材39を蓋3に備えることで達成される。このバネ材はプラスチック素材の帯でよく、おおよそ当該蓋の幅を占めそして、例えば、一方の狭い側の端40から反対側の狭い側の端41に延びる。バネ材39の端42,43は蓋3の内部に設けられた対応する窪みに収まり、バネ材がその窪みに当接する。例えば、バネ材39は内部空間10内に突き出すように湾曲した屈曲バネである。バネ材39はその両端を受ける窪み内で長さ方向にゆるくずれることも可能であるし、あるいは他の支持手段で支持されることもできる。さらに、バネ材39は、他端は束縛されない一方、一端で蓋3と取り外せないように結合されてもよい。
内部空間10には一以上の部分に、当該フェルト針が保管されている間にフェルト針に作用することを意図したさび止め、防腐剤あるいは他の手段用の各種収納部44,45,46,47を設けてもよい。これらの収納部は好ましくはフェルト針パッケージ1の内部空間10内の底面9に、側壁の一つ、例えば側壁5に、分離壁11に、蓋3にそして/またはバネ材39に、あるいは他の場所に、フェルト針パッケージ1をプラスチック再生利用に持ち込むため、必要ならば取り外しできるような形で設けられる。
フェルト針パッケージ1は以下のように使用される。
充填の際、内部空間部分21,22はフェルト針24の束29で詰められる。それらは例えば紙テープで提供されるか、あるいは又ばらばらでもよい。その場合、束29と図示されていない他の束は反対方向を向く。一旦これが終わると、蓋3は閉じられる。このようにして、容器2は閉じられそして外部に対しフェルト針24を密閉封止する。
フェルト針24は箱にきつく詰められる。それらが互いに側面で接触している限り、好ましくはその作業部分25の鋭い先端は外壁5,7に当接しない。加えて、間座17がフェルト針24の作業部分25をさらに保護する。図4から明らかなように、容器2には、例えば、その側壁の内側に沿ってフェルト針の保持を改善するリブあるいはその他の突起8a,8bが付加的に設けられてもよい。
フェルト針パッケージ1は閉じた状態で配送され保管される。必要な時は、当該パッケージが開けられ、それにより戻り止め手段36が外れる。好ましくは、それらはある種破棄されるような形に、フェルト針パッケージ1がもはや恒久的に固く閉じられないように設計される。これは原封止が手を付けられていないことを保証するために使われる。フェルト針24は個別にあるいは束で取り出されうる。開口12は内部空間10からの取り出しを容易にする。
本発明のフェルト針パッケージ1は並行六面体の形をもつ容器からなり、当該容器の内部空間は隔壁11で区切られ、当該壁は側壁に対角線状に延び、底面10に対しては直角に延在する。隔壁11は、例えば握りのための開口のような、一以上の途切れを有していてもよい。追加の隔壁が設けられてもよい。平面図において、隔壁はパッケージ内を楔形すなわちプリズム型の部分空間に分割し、当該部分空間は同様に楔形をしたフェルト針の束を収納するように配置されている。
1 フェルト針パッケージ
2 容器
3 蓋
4 分割継ぎ目
5,6,7,8 側壁
8a, 8b 突起、リブ
9 底面
α 角度
10 内部空間
11 隔壁
12 開口
13,14 隔壁部分
β,γ,δ 角度
15 縁
16 溝
17 間座
18,19 面
20,21 内部空間部分、針収納部分、室
22,23 隅
24 フェルト針
25 作業部分
26 軸
27 保持部分
28 フット(足)
29 束
30,31,32 線
33 溝
34 突起
35 ガスケット
36 戻り止め手段
37 突起
38 拘束開口部
39 バネ材、押さえ
40,41,42,43 端
44,45,46,47 収納部

Claims (15)

  1. 底面(9)と該底面(9)から上方に延びる壁(5,6,7,8)とを有する容器(2)からなり、該壁は蓋(3)と共にフェルト針(24)を収納するための内部空間(10)を囲み、
    近傍の側壁(5,7)に対し鋭角(β)をなして方向づけられた少なくとも一の隔壁(11)が内部空間(10)内に設けられた、
    フェルト針パッケージ(1)。
  2. 少なくとも一の針の収納空間(20,21)が前記隔壁(11)の二つの側面のそれぞれに設けられ、当該空間は一方を側壁(6,8)で、反対側を前記隔壁(11)で規定される
    ことを特徴とする請求項1に記載のフェルト針パッケージ。
  3. 前記隔壁(11)は前記内部空間(10)内に楔形の室(20,21)を構成する
    ことを特徴とする請求項1に記載のフェルト針パッケージ。
  4. 前記隔壁(11)は前記底面(9)そして/または少なくとも一の側壁(7)と結合している
    ことを特徴とする請求項1に記載のフェルト針パッケージ。
  5. 前記底面(9)は長方形である
    ことを特徴とする請求項1に記載のフェルト針パッケージ。
  6. 前記側壁(5,6,7,8)の各々は前記底面(9)と直角(α)
    をなす
    ことを特徴とする請求項1に記載のフェルト針パッケージ。
  7. 前記隔壁(11)は、二つの前記側壁(7、8)が互いに当接する一隅(22)から、あるいは一隅近傍の側壁(7)の領域から延在するか、対抗する隅(23)あるいは前記側壁(5)から始まる
    ことを特徴とする請求項1に記載のフェルト針パッケージ。
  8. 前記隔壁(11)は少なくとも一の切欠き(12)を有する
    ことを特徴とする請求項1に記載のフェルト針パッケージ。
  9. 前記切欠き(12)は前記隔壁(11)の中央部分で切れ目として設けられている
    ことを特徴とする請求項8に記載のフェルト針パッケージ。
  10. 前記蓋(3)は前記側壁(5,6,7,8)にアングル継ぎ手(4)を介して結合する
    ことを特徴とする請求項1に記載のフェルト針パッケージ。
  11. 前記蓋(3)と前記側壁(5,6,7,8)とは互いに少なくとも一の戻り止め手段(36)を介して当接する
    ことを特徴とする請求項1に記載のフェルト針パッケージ。
  12. 前記蓋(3)そして/または前記側壁(5,6,7,8)とは一体化されたガスケット(35)により当接する
    ことを特徴とする請求項1に記載のフェルト針パッケージ。
  13. 処理用薬剤あるいは防腐材の収納部が前記蓋(3)そして/または前記底面(9)そして/または前記側壁(5,6,7,8)そして/または前記隔壁(11)に設けられている
    ことを特徴とする請求項1に記載のフェルト針パッケージ。
  14. 前記蓋(3)には押さえ(39)が設けられている
    ことを特徴とする請求項1に記載のフェルト針パッケージ。
  15. 前記押さえ(39)は二つの端(42,43)を持つ曲ったバネからなり、当該端は共に前記蓋(3)に係止される
    ことを特徴とする請求項1に記載のフェルト針パッケージ。
JP2009120415A 2008-05-21 2009-05-18 フェルト針パッケージ Active JP5042273B2 (ja)

Applications Claiming Priority (2)

Application Number Priority Date Filing Date Title
EP20080156671 EP2123574B1 (de) 2008-05-21 2008-05-21 Filznadelverpackung
EP08156671.3 2008-05-21

Publications (2)

Publication Number Publication Date
JP2010006475A true JP2010006475A (ja) 2010-01-14
JP5042273B2 JP5042273B2 (ja) 2012-10-03

Family

ID=39529773

Family Applications (1)

Application Number Title Priority Date Filing Date
JP2009120415A Active JP5042273B2 (ja) 2008-05-21 2009-05-18 フェルト針パッケージ

Country Status (13)

Country Link
US (1) US8038005B2 (ja)
EP (1) EP2123574B1 (ja)
JP (1) JP5042273B2 (ja)
KR (1) KR101097032B1 (ja)
CN (1) CN101585438B (ja)
AT (1) ATE486799T1 (ja)
BR (1) BRPI0901538B1 (ja)
DE (1) DE502008001714D1 (ja)
ES (1) ES2355424T3 (ja)
PL (1) PL2123574T3 (ja)
PT (1) PT2123574E (ja)
RU (1) RU2420444C2 (ja)
TW (1) TWI370091B (ja)

Citations (2)

* Cited by examiner, † Cited by third party
Publication number Priority date Publication date Assignee Title
FR1157155A (fr) * 1956-08-03 1958-05-27 Boîte distributrice d'épingles
JP2007039134A (ja) * 2005-07-29 2007-02-15 Groz-Beckert Kg フェルティング針(feltingneedles)用包装

Family Cites Families (20)

* Cited by examiner, † Cited by third party
Publication number Priority date Publication date Assignee Title
US1674352A (en) * 1926-05-25 1928-06-19 Adjustable Gun Case Corp Gun case
US1799776A (en) * 1927-07-20 1931-04-07 Scovill Manufacturing Co Package for pins
US2417331A (en) * 1946-02-08 1947-03-11 Glenn L Martin Co Gun storage container
US3410391A (en) * 1967-07-06 1968-11-12 Hanson Whitney Company Storage and shipping container
US3491909A (en) * 1968-04-25 1970-01-27 Gerald S Ikelheimer Partitioned carrying case
US3758020A (en) * 1971-10-19 1973-09-11 Corrugated Prod Ltd Pack for articles
SU1406060A1 (ru) 1986-12-02 1988-06-30 Производственное Объединение "Полимер" Герметична тара
JPH01130969A (ja) 1987-11-16 1989-05-23 Fuji Kagakushi Kogyo Co Ltd シリアル型熱転写プリント方法
SU1745622A1 (ru) 1989-10-23 1992-07-07 Пензенский Филиал Научно-Исследовательского И Конструкторско-Технологического Института Местной Промышленности Коробка
DE9209580U1 (de) * 1992-07-17 1992-11-12 Theodor Groz & Söhne & Ernst Beckert Nadelfabrik KG, 7470 Albstadt Verpackungs- und Aufbewahrungsbehältnis für Strickmaschinennadeln
DE20006093U1 (de) 2000-04-01 2000-09-14 Jokey Plastik Gummersbach GmbH, 51645 Gummersbach Kunststoffbehälter mit einrastbarem Deckel
US20020094942A1 (en) 2000-09-06 2002-07-18 The Procter & Gamble Company Fabric additive articles and package therefor
JP2002146616A (ja) * 2000-11-10 2002-05-22 Kobun Shoin:Kk 小型裁縫箱
DE10103130B4 (de) * 2001-01-24 2005-12-15 Groz-Beckert Kg Nadelverpackung
US20040211822A1 (en) * 2003-04-22 2004-10-28 Mao-Chia Lin Shoe box
JP4584659B2 (ja) * 2003-09-30 2010-11-24 株式会社リコー 画像形成用粉体を内包する易変形性容器用容器収納箱
RU50521U1 (ru) 2004-01-19 2006-01-20 Дмитрий Александрович Шинкарюк Герметичный пакет для мелкоштучных, готовых к употреблению маслянистых продуктов
KR20060000132A (ko) 2004-06-28 2006-01-06 (주)이우테크놀로지 환자의 주의사항 및 처방전을 자동으로 인쇄하여 제공하는방법 및 프로그램
US20060124712A1 (en) * 2004-12-14 2006-06-15 Weimer Charles P Jr Shipping and display tray
CN201031017Y (zh) 2007-03-09 2008-03-05 孟娇 一种瓶盖

Patent Citations (2)

* Cited by examiner, † Cited by third party
Publication number Priority date Publication date Assignee Title
FR1157155A (fr) * 1956-08-03 1958-05-27 Boîte distributrice d'épingles
JP2007039134A (ja) * 2005-07-29 2007-02-15 Groz-Beckert Kg フェルティング針(feltingneedles)用包装

Also Published As

Publication number Publication date
BRPI0901538B1 (pt) 2019-03-19
EP2123574B1 (de) 2010-11-03
KR20090121226A (ko) 2009-11-25
PT2123574E (pt) 2011-01-24
PL2123574T3 (pl) 2011-04-29
EP2123574A1 (de) 2009-11-25
CN101585438B (zh) 2015-06-24
BRPI0901538A2 (pt) 2010-01-26
BRPI0901538A8 (pt) 2018-07-31
CN101585438A (zh) 2009-11-25
US8038005B2 (en) 2011-10-18
RU2009119166A (ru) 2010-11-27
TWI370091B (en) 2012-08-11
JP5042273B2 (ja) 2012-10-03
ES2355424T3 (es) 2011-03-25
ATE486799T1 (de) 2010-11-15
TW201016564A (en) 2010-05-01
KR101097032B1 (ko) 2011-12-22
DE502008001714D1 (de) 2010-12-16
US20090288975A1 (en) 2009-11-26
RU2420444C2 (ru) 2011-06-10

Similar Documents

Publication Publication Date Title
CN102556464B (zh) 包装盒
RU2524897C2 (ru) Контейнер с двумя противостоящими крышками
JPH0632347A (ja) 長い品物を収容するためのパッケージ
JP5042273B2 (ja) フェルト針パッケージ
KR200434315Y1 (ko) 다중 실링 파우치
KR20130001785U (ko) 포장 파우치
JP3194118U (ja) 梱包材
JP2015224052A (ja) 梱包箱
KR101255677B1 (ko) 전시용 포장박스의 포장방법
JP7031146B2 (ja) 軟包装袋と詰替え先容器との嵌合構造及びこれらのセット
CN216735622U (zh) 吸塑包装容器
KR20110126234A (ko) 종이접이형 화장소모품 수납박스
JP4200694B2 (ja) 包装箱
JP3593475B2 (ja) グロメットの梱包箱
JPH10236456A (ja) 組立箱
KR100442327B1 (ko) 벽걸이형 선풍기의 포장구조
KR101294637B1 (ko) 포장용 상자
JP6990370B2 (ja) 物品収容ケース
EA043713B1 (ru) Внутренний каркас
KR200455193Y1 (ko) 아이롱 고데기용 포장박스
JP2025066558A (ja) 陳列用包装箱
JP2020023346A (ja) 包装用トレイ
JP2024087726A5 (ja)
JP2022172533A (ja) 包装用箱
JP2022088799A (ja) 包装ケース

Legal Events

Date Code Title Description
A977 Report on retrieval

Free format text: JAPANESE INTERMEDIATE CODE: A971007

Effective date: 20111104

A131 Notification of reasons for refusal

Free format text: JAPANESE INTERMEDIATE CODE: A131

Effective date: 20111206

RD04 Notification of resignation of power of attorney

Free format text: JAPANESE INTERMEDIATE CODE: A7424

Effective date: 20111201

RD03 Notification of appointment of power of attorney

Free format text: JAPANESE INTERMEDIATE CODE: A7423

Effective date: 20120127

A521 Request for written amendment filed

Free format text: JAPANESE INTERMEDIATE CODE: A523

Effective date: 20120306

TRDD Decision of grant or rejection written
A01 Written decision to grant a patent or to grant a registration (utility model)

Free format text: JAPANESE INTERMEDIATE CODE: A01

Effective date: 20120703

A01 Written decision to grant a patent or to grant a registration (utility model)

Free format text: JAPANESE INTERMEDIATE CODE: A01

A61 First payment of annual fees (during grant procedure)

Free format text: JAPANESE INTERMEDIATE CODE: A61

Effective date: 20120710

R150 Certificate of patent or registration of utility model

Ref document number: 5042273

Country of ref document: JP

Free format text: JAPANESE INTERMEDIATE CODE: R150

Free format text: JAPANESE INTERMEDIATE CODE: R150

FPAY Renewal fee payment (event date is renewal date of database)

Free format text: PAYMENT UNTIL: 20150720

Year of fee payment: 3

FPAY Renewal fee payment (event date is renewal date of database)

Free format text: PAYMENT UNTIL: 20150720

Year of fee payment: 3

RD04 Notification of resignation of power of attorney

Free format text: JAPANESE INTERMEDIATE CODE: R3D04

R250 Receipt of annual fees

Free format text: JAPANESE INTERMEDIATE CODE: R250

R250 Receipt of annual fees

Free format text: JAPANESE INTERMEDIATE CODE: R250

R250 Receipt of annual fees

Free format text: JAPANESE INTERMEDIATE CODE: R250

R250 Receipt of annual fees

Free format text: JAPANESE INTERMEDIATE CODE: R250

R250 Receipt of annual fees

Free format text: JAPANESE INTERMEDIATE CODE: R250

R250 Receipt of annual fees

Free format text: JAPANESE INTERMEDIATE CODE: R250

R250 Receipt of annual fees

Free format text: JAPANESE INTERMEDIATE CODE: R250

R250 Receipt of annual fees

Free format text: JAPANESE INTERMEDIATE CODE: R250

R250 Receipt of annual fees

Free format text: JAPANESE INTERMEDIATE CODE: R250

R250 Receipt of annual fees

Free format text: JAPANESE INTERMEDIATE CODE: R250

R250 Receipt of annual fees

Free format text: JAPANESE INTERMEDIATE CODE: R250