JP2010005740A - 工作機械 - Google Patents

工作機械 Download PDF

Info

Publication number
JP2010005740A
JP2010005740A JP2008168391A JP2008168391A JP2010005740A JP 2010005740 A JP2010005740 A JP 2010005740A JP 2008168391 A JP2008168391 A JP 2008168391A JP 2008168391 A JP2008168391 A JP 2008168391A JP 2010005740 A JP2010005740 A JP 2010005740A
Authority
JP
Japan
Prior art keywords
cutting fluid
tool
spindle
main shaft
fluid nozzle
Prior art date
Legal status (The legal status is an assumption and is not a legal conclusion. Google has not performed a legal analysis and makes no representation as to the accuracy of the status listed.)
Granted
Application number
JP2008168391A
Other languages
English (en)
Other versions
JP5156505B2 (ja
JP2010005740A5 (ja
Inventor
Yukinobu Ueda
行信 植田
Current Assignee (The listed assignees may be inaccurate. Google has not performed a legal analysis and makes no representation or warranty as to the accuracy of the list.)
Okuma Corp
Original Assignee
Okuma Corp
Okuma Machinery Works Ltd
Priority date (The priority date is an assumption and is not a legal conclusion. Google has not performed a legal analysis and makes no representation as to the accuracy of the date listed.)
Filing date
Publication date
Application filed by Okuma Corp, Okuma Machinery Works Ltd filed Critical Okuma Corp
Priority to JP2008168391A priority Critical patent/JP5156505B2/ja
Publication of JP2010005740A publication Critical patent/JP2010005740A/ja
Publication of JP2010005740A5 publication Critical patent/JP2010005740A5/ja
Application granted granted Critical
Publication of JP5156505B2 publication Critical patent/JP5156505B2/ja
Expired - Fee Related legal-status Critical Current
Anticipated expiration legal-status Critical

Links

Images

Landscapes

  • Automatic Tool Replacement In Machine Tools (AREA)
  • Auxiliary Devices For Machine Tools (AREA)
  • Turning (AREA)

Abstract

【課題】工具交換時に、工具に切削液ノズルから切削液が垂れ落ちることを防止する。
【解決手段】工作機械は、主軸頭11に支持されている水平状主軸12と、主軸12の側方に配置されかつ主軸12に脱着される工具Tを収容しているマガジン13と、主軸12およびマガジン13間に配置されかつ双方間で工具を受渡しするための垂直面内旋回自在の工具交換アーム14とを備えている。主軸頭11上の、主軸12の軸線Lを中心とする円周上複数か所に、主軸12にそれぞれ向けられている複数の切削液ノズル21が配置されている。交換時の工具Tは、主軸12の軸方向から見て、円環状の軌跡Sを描くようになされている。同切削液ノズル21のうち、最低レベルの切削液ノズルN1から順次上向きに数えて、少なくとも1つ目の切削液ノズルN1が、主軸12の軸方向から見て、同軌跡Sの半径方向外側に位置させられている。
【選択図】図1

Description

この発明は、マシニングセンタのような工作機械、とくに、自動工具交換装置および切削液供給装置を備えている工作機械に関する。
図2は、横型マシニングセンタの概略構成を示すものである。以下の説明において、前後とは、図2の矢印A(図2の右斜め手前)を前、これと反対側を後、左右とは、前方より見て、その左右の側を左右というものとする。
同マシニングセンタは、主軸頭11と、主軸頭11に支持されている主軸12と、主軸12の左方に配置されている工具収容マガジン13と、主軸12およびマガジン13間に配置されている工具交換アーム14とを備えている。
主軸頭11は、コラム101の前面に上下方向(Y軸)に移動自在に支持されている。コラム101は、ベッド102の上面後部に左右方向(X軸)に移動自在に支持されている。ベッド102の上面前部にはワーク載置テーブル103が前後方向(Z軸)に移動自在に支持されている。工具交換アーム14は、工具交換装置本体104の前面に支持されている。工具収容マガジン13は、工具交換装置本体104の左側面に装備されかつ工具交換装置本体104に水平旋回自在に取付られている工具受渡用ホルダ105を有している。
主軸12は、前後方向にのびた水平軸線Lを有している。工具交換アーム14は、主軸軸線Lと平行にのびたアーム軸Mを有しており、アーム軸Mを中心に垂直面内で旋回自在かつアーム軸Mの軸線方向に進退自在である。
図3および図4を参照すると、主軸12の軸孔には工具Tのテーパ部Pが挿入保持されている。主軸頭11の端面上に、複数の切削液ノズル21が主軸12前方にそれぞれ向けられるように配置されている。主軸頭11内には切削液供給回路22が設けられている。切削液供給回路22については、詳しく説明しないが、切削液供給回路22は、各切削液ノズル21に連通させられるように主軸頭11内に上下にわたって張り巡らされている。
工具交換アーム14は、アーム軸Mから互いに180°反対方向に突出させられた2つのアーム部31を有している。各アーム部31の先端部には半円弧凹状工具把持部32が設けられている。
工具の交換動作は、つぎの通りである。主軸12およびホルダ105には、これから交換されるべき2つの工具Tがそれぞれ前向き姿勢で保持されている。工具交換アーム14を後進限に位置させておいて、両アーム部31の工具把持部32が同両工具Tを把持するまで、工具交換アーム14を旋回させる。そして、工具交換アーム14を前進させる。そうすると、交換されるべき2つの工具Tは主軸12およびホルダ105から抜き取られる。工具交換アーム14を180°旋回させ、工具交換アーム14を後退させると、交換されるべき2つの工具Tは、交換された状態で、主軸12およびホルダ105にそれぞれ保持される。
図4において、ここでは、8つの切削液ノズル21が図示されている。これらの切削液ノズル21は、主軸軸線Lを中心とする円周C上に等間隔で配置されている。これらの切削液ノズル21に、便宜上、差異記号(N1〜N8)を付すこととする。8つの切削液ノズル21のうち、最低レベルの切削液ノズル21を、第1切削液ノズルN1とし、これより、切削液ノズル21の配置された円周Cにそって反時計方向に順次並ぶ切削液ノズル21を、第2〜第8切削液ノズルN2〜N8とする。
交換時の工具Tの描く円環状工具軌跡S(部分的にハッチングを施す)が示されている。工具軌跡Sは、アーム旋回半径Rを中心とし、これに、工具径dに相当する幅をもたせたものである。
工具交換の際は、切削液ノズルへ21の切削液は、供給停止される。切削液の供給を停止した場合、切削液ノズルへ21の切削液供給回路22内には切削液が残留しており、残留している切削液は、これが皆無となるまでノズル21から自重によって垂れ落ちる。切削液ノズル21から垂れ落ちる切削液は、交換時の工具Tに付着する。とくに、工具Tのテーパ部Pに切削液が垂れ落ちると、工具テーパ部Pの汚れ・切粉の付着の要因となる。
切削液の垂れ落ち現象は、同供給回路22内の切削液が皆無となるまで持続する。8つの同切削液ノズル21は、同円周C上に等間隔で配列されているため、切削液ノズルの配列レベルは、切削液ノズル21毎に相違し、これに対応して供給回路22内にもレベル差が生じる。そのため、高レベルの切削液ノズル21が切削液が垂れ落ちる時間と、低レベルの切削液ノズル21が切削液が垂れ落ちる時間とを比較すると、前者よりも後者が長い。すなわち、最低レベルに近い切削液ノズル21程、切削液の垂れ落ちる時間は長く掛かる。
第1および第5切削液ノズルN1、N5は、工具軌跡S上に位置させられている。第2〜第4切削液ノズルN2〜N4は、工具軌跡Sの半径方向外側に位置させられている。第6〜第8切削液ノズルN6〜N8は、工具軌跡Sの半径方向内側に位置させられている。
ここで、切削液の垂れ落ちる時間が長く掛かる3つの第1、第2および第8切削液ノズルN1、N2、N8に着目する。3つの第1、第2および第8切削液ノズルN1、N2、N8から垂れ落ちる切削液軌跡Dが垂直連続鎖線状で示されている。
これらの3つの切削液ノズルN1、N2、N8のうち、第1および第8切削液ノズルN1、N8から垂れ落ちる切削液軌跡Dは、工具軌跡Sと交差させられている。このことは、第1および第8切削液ノズルN1、N8から垂れ落ちる切削液切削液が交換時の工具Tとは接触させられることを意味する。
工具テーパ部Pの汚れ・切粉の付着の問題は、主軸12に対する工具脱着等に問題を起こすことになり、好ましくは無いことは勿論である。
このような問題を解決するために、ノズル21や回路22にチェックバルブ等(図示しない)を装備して、ノズル21や回路22のON・OFFをすることも考えられるが、その場合、装置が複雑となり、故障の原因ともなる。
この発明の目的は、工具交換時に、切削液ノズルから垂れ落ちた切削液が工具に付着することを防止できる工作機械を提供することにある。
この発明による工作機械は、主軸頭に支持されている水平状主軸と、主軸の側方に配置されかつ主軸に脱着される工具を収容しているマガジンと、主軸およびマガジン間に配置されかつ双方間で工具を受渡しするための垂直面内旋回自在の工具交換アームとを備えており、主軸頭上の、主軸の軸線を中心とする円周上複数か所に、主軸にそれぞれ向けられている複数の切削液ノズルが配置されており、交換時の工具は、主軸の軸方向から見て、円環状の軌跡を描くようになされている工作機械において、同切削液ノズルのうち、最低レベルの切削液ノズルから順次上向きに数えて、少なくとも1つ目の切削液ノズルが、主軸の軸方向から見て、同軌跡の半径方向外側に位置させられていることを特徴とするものである。
この発明による工作機械では、最低レベルの切削液ノズルから順次上向きに数えて、少なくとも1つ目の切削液ノズルから垂れ落ちる切削液は、交換時の工具の描く円環状軌跡の外側に向けられるため、同工具に付着することを防止できる。
この発明によれば、工具交換時に、工具に切削液ノズルから切削液が垂れ落ちることを防止できる工作機械が提供される。
この発明の実施の形態を図1を参照しながらつぎに説明する。
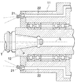
図1は、冒頭の背景技術の項で説明した図4に相当し、主軸頭11、主軸12、工具交換アーム14および切削液ノズル21等を、主軸軸線Lの方向から見て、模式的に示すものである。さらに、冒頭の背景技術の項で、図2および図3を参照しながら説明した工作機械の基本的構成要素、すなわち、主軸頭11、主軸12、工具収容マガジン13および工具交換アーム14は、図1における説明において、準用される。以下、図4との相違点について、主として、説明する。
図1において、切削液ノズル21の数は、図4と同様に、8つである。8つの切削液ノズル21は、ここでは、主軸軸線Lを中心とする円周C上に、等間隔ではなくて、不等間隔で配置されている。これらの切削液ノズル21に、差異起号N1〜N8を付して示す。
8つの切削液ノズル21のうち、最低レベルの切削液ノズル21を、第1切削液ノズルN1とし、これより、切削液ノズル21の配置された円周Cにそって反時計方向に順次並ぶ切削液ノズル21を、第2〜第8切削液ノズルN2〜N8とする。第6切削液ノズルN6は、8つの切削液ノズルN1〜N8のうち、最高レベルに位置させられている。
第1〜第3切削液ノズルN1、N2、N3から垂れ落ちる切削液軌跡Dが垂直連続鎖線状で示されている。
第1〜第5切削液ノズルN1〜N5は、工具軌跡Sの半径方向外側に位置させられている。第6切削液ノズルN6は、工具軌跡S上に位置させられている。第7および第8切削液ノズルN7、N8は、工具軌跡Sの半径方向内側に位置させられている。
各切削液ノズルN1〜N8に対し、供給停止時から切削液の垂れ落ちが停止するまで時間を計測した。その時間は、第5および第6切削液ノズルN5、N6ではほぼ零に近く、これに、第3、第4、第7および第8切削液ノズルN3、N4、N7、N8が続き、第1および第2切削液ノズルN1、N2はダラダラと出続け、第1切削液ノズルN1では30秒近く経っても出続けていた。
第6切削液ノズルN6から切削液が垂れ落ちると、その切削液は、交換時の工具Tと接触させられる可能性があるが、その垂れ落ち時間は、上記の通り、比較的短いため、垂れ落ちによる影響は少ない。第7および第8切削液ノズルN7、N8から垂れ落ちる切削液も、工具Tと接触させられる可能性があるが、その影響は、第6切削液ノズルN6と同様に、少ない。
第1および第2切削液ノズルN1、N2からは、比較的長時間にわたって、切削液が垂れ落ちるが、その軌跡Dは、工具軌跡Sの外側にあるため、垂れ落ちる切削液が工具Tに付着する心配はない。
図1における切削液ノズル21の配置態様を検証すると、主軸軸線L(アーム軸M)を通る水平線Nより下方レベルであって、工具軌跡S上およびその内側には切削液ノズル21が無いことが好ましい。
この発明による工作機械の主軸およびその周辺部を正面側より見た模式図である。 従来の工作機械の全体概略構成を示す斜視図である。 同従来の工作機械の主軸およびその周辺部の垂直縦断面図である。 同従来の工作機械の主軸およびその周辺部を正面側より見た図1相当の模式図である。
符号の説明
11 主軸頭
12 主軸
13 マガジン
14 工具交換アーム
21 切削液ノズル
T 工具

Claims (1)

  1. 主軸頭に支持されている水平状主軸と、主軸の側方に配置されかつ主軸に脱着される工具を収容しているマガジンと、主軸およびマガジン間に配置されかつ双方間で工具を受渡しするための垂直面内旋回自在の工具交換アームとを備えており、主軸頭上の、主軸の軸線を中心とする円周上複数か所に、主軸にそれぞれ向けられている複数の切削液ノズルが配置されており、交換時の工具は、主軸の軸方向から見て、円環状の軌跡を描くようになされている工作機械において、
    同切削液ノズルのうち、最低レベルの切削液ノズルから順次上向きに数えて、少なくとも1つ目の切削液ノズルが、主軸の軸方向から見て、同軌跡の半径方向外側に位置させられていることを特徴とする工作機械。
JP2008168391A 2008-06-27 2008-06-27 工作機械 Expired - Fee Related JP5156505B2 (ja)

Priority Applications (1)

Application Number Priority Date Filing Date Title
JP2008168391A JP5156505B2 (ja) 2008-06-27 2008-06-27 工作機械

Applications Claiming Priority (1)

Application Number Priority Date Filing Date Title
JP2008168391A JP5156505B2 (ja) 2008-06-27 2008-06-27 工作機械

Publications (3)

Publication Number Publication Date
JP2010005740A true JP2010005740A (ja) 2010-01-14
JP2010005740A5 JP2010005740A5 (ja) 2011-02-17
JP5156505B2 JP5156505B2 (ja) 2013-03-06

Family

ID=41586799

Family Applications (1)

Application Number Title Priority Date Filing Date
JP2008168391A Expired - Fee Related JP5156505B2 (ja) 2008-06-27 2008-06-27 工作機械

Country Status (1)

Country Link
JP (1) JP5156505B2 (ja)

Cited By (1)

* Cited by examiner, † Cited by third party
Publication number Priority date Publication date Assignee Title
CN111372721A (zh) * 2017-11-30 2020-07-03 现代威亚株式会社 机床的刀库模块

Citations (5)

* Cited by examiner, † Cited by third party
Publication number Priority date Publication date Assignee Title
JPS5791542U (ja) * 1980-11-25 1982-06-05
JPS62110843U (ja) * 1985-12-27 1987-07-15
JPS6452639U (ja) * 1987-09-30 1989-03-31
JP2003062736A (ja) * 2001-08-23 2003-03-05 Makino Milling Mach Co Ltd 工作機械の主軸装置
JP2007175786A (ja) * 2005-12-26 2007-07-12 Brother Ind Ltd 工具洗浄機構及び工具洗浄方法

Patent Citations (5)

* Cited by examiner, † Cited by third party
Publication number Priority date Publication date Assignee Title
JPS5791542U (ja) * 1980-11-25 1982-06-05
JPS62110843U (ja) * 1985-12-27 1987-07-15
JPS6452639U (ja) * 1987-09-30 1989-03-31
JP2003062736A (ja) * 2001-08-23 2003-03-05 Makino Milling Mach Co Ltd 工作機械の主軸装置
JP2007175786A (ja) * 2005-12-26 2007-07-12 Brother Ind Ltd 工具洗浄機構及び工具洗浄方法

Cited By (1)

* Cited by examiner, † Cited by third party
Publication number Priority date Publication date Assignee Title
CN111372721A (zh) * 2017-11-30 2020-07-03 现代威亚株式会社 机床的刀库模块

Also Published As

Publication number Publication date
JP5156505B2 (ja) 2013-03-06

Similar Documents

Publication Publication Date Title
JP5949182B2 (ja) 工作機械
US7651453B2 (en) Automatic chuck jaw change system in combined machining lathe
CN103987487B (zh) 在机床上提供刀具的系统、方法以及具有刀具更换系统的机床
CN205380492U (zh) 机床
US20140296047A1 (en) System for changing and inserting tools into or presenting tools at a machine tool and tool magazine, also machine tool having a tool changing system or tool magazine
CN102729085A (zh) 换刀装置和包括换刀装置的机床
JP5181273B2 (ja) 工具交換方法と工具交換装置
US20110131791A1 (en) Machine tool
JP4982253B2 (ja) コンビネーションホルダ
JP6297128B1 (ja) 工作機械
JP5313615B2 (ja) 工具ホルダ、工具ホルダ装着用冷却タービンおよび工作機械
JP5156505B2 (ja) 工作機械
JPH07136823A (ja) 多軸スピンドルユニット
JP2007125642A (ja) 工具交換装置
JP2009160699A (ja) 工具交換方法と工具交換装置
JP5149031B2 (ja) 工作機械
JP3575743B2 (ja) 工作機械のツールヘッド
JP2010201535A (ja) 主軸装置
CN204108647U (zh) 刀柄
JP2003179383A (ja) ノズル脱着治具
CN203266268U (zh) 刀塔切削刀具喷液导引装置
JPH08229766A (ja) マシニングセンタ
JP2002292539A (ja) 工具交換装置における清掃装置
JP2001096438A (ja) 主軸装置
JP6745868B2 (ja) 工具ホルダ

Legal Events

Date Code Title Description
A521 Request for written amendment filed

Free format text: JAPANESE INTERMEDIATE CODE: A523

Effective date: 20101227

A621 Written request for application examination

Free format text: JAPANESE INTERMEDIATE CODE: A621

Effective date: 20101227

A977 Report on retrieval

Free format text: JAPANESE INTERMEDIATE CODE: A971007

Effective date: 20120913

A131 Notification of reasons for refusal

Free format text: JAPANESE INTERMEDIATE CODE: A131

Effective date: 20120925

A521 Request for written amendment filed

Free format text: JAPANESE INTERMEDIATE CODE: A523

Effective date: 20121023

TRDD Decision of grant or rejection written
A01 Written decision to grant a patent or to grant a registration (utility model)

Free format text: JAPANESE INTERMEDIATE CODE: A01

Effective date: 20121204

A61 First payment of annual fees (during grant procedure)

Free format text: JAPANESE INTERMEDIATE CODE: A61

Effective date: 20121210

FPAY Renewal fee payment (event date is renewal date of database)

Free format text: PAYMENT UNTIL: 20151214

Year of fee payment: 3

R150 Certificate of patent or registration of utility model

Ref document number: 5156505

Country of ref document: JP

Free format text: JAPANESE INTERMEDIATE CODE: R150

Free format text: JAPANESE INTERMEDIATE CODE: R150

LAPS Cancellation because of no payment of annual fees