JP2010005732A - ロボットハンド機構、ロボットハンド機構を備えたロボット及びロボットハンド機構の制御方法 - Google Patents

ロボットハンド機構、ロボットハンド機構を備えたロボット及びロボットハンド機構の制御方法 Download PDF

Info

Publication number
JP2010005732A
JP2010005732A JP2008167481A JP2008167481A JP2010005732A JP 2010005732 A JP2010005732 A JP 2010005732A JP 2008167481 A JP2008167481 A JP 2008167481A JP 2008167481 A JP2008167481 A JP 2008167481A JP 2010005732 A JP2010005732 A JP 2010005732A
Authority
JP
Japan
Prior art keywords
force
robot hand
gripping
hand mechanism
hardness
Prior art date
Legal status (The legal status is an assumption and is not a legal conclusion. Google has not performed a legal analysis and makes no representation as to the accuracy of the status listed.)
Granted
Application number
JP2008167481A
Other languages
English (en)
Other versions
JP5045577B2 (ja
Inventor
Hiroyasu Nishihara
寛恭 西原
Current Assignee (The listed assignees may be inaccurate. Google has not performed a legal analysis and makes no representation or warranty as to the accuracy of the list.)
Toyota Industries Corp
Original Assignee
Toyota Industries Corp
Priority date (The priority date is an assumption and is not a legal conclusion. Google has not performed a legal analysis and makes no representation as to the accuracy of the date listed.)
Filing date
Publication date
Application filed by Toyota Industries Corp filed Critical Toyota Industries Corp
Priority to JP2008167481A priority Critical patent/JP5045577B2/ja
Publication of JP2010005732A publication Critical patent/JP2010005732A/ja
Application granted granted Critical
Publication of JP5045577B2 publication Critical patent/JP5045577B2/ja
Expired - Fee Related legal-status Critical Current
Anticipated expiration legal-status Critical

Links

Images

Landscapes

  • Manipulator (AREA)

Abstract

【課題】不特定の硬さを有する対象物に対して、その硬さに応じた最適な把持力及び速度での移動制御を行なうことを実現したロボットハンド機構を提供することを目的とする。
【解決手段】ロボットハンド機構1は1対の指部2a及び2bを備えている。指部2a及び2bの第一節21には、サーボモータ7を介して第二節22が変位可能に連結されている。サーボモータ7にはポテンショメータ8が取り付けられており、第二節22の先端部には力覚センサ9が設けられている。ポテンショメータ8は、第二節22の変位量を制御部6に出力する。力覚センサ9は、第二節22が対象物Oに加える押圧力Fx及び第二節22と対象物Oとの間に生じる摩擦力Fyを制御部6に出力する。制御部6は、ポテンショメータ8及び力覚センサ9からの入力に基づいて対象物Oの硬さを判定し、硬さに基づいて、対象物Oを把持する把持力と対象物Oを移動させる速度とを切り替える。
【選択図】図1

Description

この発明はロボットハンド機構に係り、特に対象物を把持して移動させる多指ロボットハンド機構に関する。また、この発明は上記ロボットハンド機構を備えたロボット及びロボットハンド機構の制御方法に関する。
特許文献1には、柔らかい対象物を2つの指片で把持して持ち上げるロボットハンドが開示されている。これによれば、指片には触覚センサが取り付けられており、指片と対象物とが触覚センサを介して接触するようになっている。ロボットハンドは、まず2つの指片と対象物とを接触させ、次いで把持力を徐々に増大させながら対象物を持ち上げる。対象物が持ち上げられる際、触覚センサからの出力に基づいて、指片と対象物との接触位置が検出される。この接触位置が変化している場合、ロボットハンドは指片と対象物との間に滑りが生じていると判定し、接触位置が変化しなくなるまで把持力を増大させる。接触位置が変化しなくなると、その時点における把持力、すなわち最小限の把持力を最適把持力として取得し、以後、同一の材質からなる対象物を最適把持力で把持するようになっている。
特開平8−323678号公報
ここで、ロボットハンドの一般的な用途として、把持した対象物を所定の位置から別の位置に移動させる用途が挙げられる。このような用途において、対象物が柔らかい場合、対象物を壊さないように最小限の把持力で把持するため、移動速度も低速にして慎重に移動させる必要がある。一方、対象物が硬く、最小限以上の把持力を加えても壊れない場合、把持力を増大させることによって移動速度も高速にすることができる。しかしながら、特許文献1に記載のロボットハンドは、対象物の硬さに応じて把持力を増減するように構成されておらず、常に最小限の把持力で把持するため、対象物が硬い場合でも移動速度を低速にする必要があり、効率が悪いという問題点を有していた。また、一般的に、ロボットハンドを用いた対象物の移動制御は、ロボットハンドに予め教示しておいた所定の速度、または操作者が指定した所定の速度で行なわれる。すなわち、不特定の硬さを有する対象物をその硬さに応じた最適な速度で移動させるためには、移動速度の教示または指定をその都度やり直す必要があり、効率が悪いという問題点を有していた。
この発明は、このような問題点を解決するためになされたもので、不特定の硬さを有する対象物に対して、その硬さに応じた最適な把持力及び速度での移動制御を行なうことを実現したロボットハンド機構を提供することを目的とする。また、この発明は、上記ロボットハンド機構を備えたロボット及びロボットハンド機構の制御方法を提供することを目的とする。
この発明に係るロボットハンド機構は、変位可能に設けられる複数の指部を備え、複数の指部を変位させて対象物を把持するとともに、把持した対象物を移動させるロボットハンド機構において、指部の変位量を検知する変位量検知部と、指部に設けられ、指部と対象物との間に作用する力のうち、少なくとも、指部が対象物に加える押圧力、及び指部と対象物との間に生じる摩擦力を検知する力覚センサと、対象物の把持及び移動を制御する制御部とをさらに備え、制御部は、力覚センサが検知した押圧力及び摩擦力に基づいて、対象物を把持するのに要する最小の把持力を取得するとともに、最小の把持力を取得する際に、変位量検知部が検知した指部の変位量に基づいて、対象物の硬さを判定し、判定した硬さに基づいて、対象物を把持する把持力と、把持した対象物を移動させる速度とを変化させることを特徴とするものである。
対象物を把持する指部に、指部が対象物に加える押圧力、及び指部と対象物との間に生じる摩擦力を検知する力覚センサを設けたので、単位時間内における摩擦力の変化量に基づいて、対象物が移動を開始したかどうかが判定できる。また、対象物が移動を開始したと判定した時点での押圧力が、対象物を把持するのに要する最小の把持力として取得される。さらに、上記の単位時間内における指部の変位量に基づいて、対象物の硬さを判定できる。判定した硬さに基づいて、対象物を把持する把持力と、把持した対象物を移動させる速度とを変化させるように構成したので、対象物が柔らかい場合、最小の把持力で把持するとともに低速で移動させることにより、対象物を壊さずに移動させることができる。一方、対象物が硬い場合は、把持力を増大させることによって高速で移動させることができる。したがって、不特定の硬さを有する対象物に対して、その硬さに応じた最適な把持力及び速度での移動制御をロボットハンド機構で行なうことが可能となる。
制御部は、対象物を、最小の把持力に基づく第一の把持力で把持するとともに第一の速度で移動させる第一の設定と、対象物を、第一の把持力より大きい第二の把持力で把持するとともに第一の速度より高速な第二の速度で移動させる第二の設定とを、対象物の硬さに基づいて切り替えてもよい。
第二の把持力及び第二の速度は、対象物の硬さに応じて変化してもよい。対象物が硬ければ硬いほど把持力を大きくでき、且つ把持力を大きくした分だけ移動速度も高速にできるため、硬い対象物の移動に要する時間を短縮して効率を向上することができる。
対象物の硬さに関わらず、第一の設定で対象物を移動させる安静移動モード、対象物の硬さに基づいて、第一の設定と第二の設定とを切り替えて対象物を移動させ、第二の把持力及び第二の速度は、対象物の硬さに関わらず一定である二段階移動モード、及び対象物の硬さに基づいて、第一の設定と第二の設定とを切り替えて対象物を移動させ、第二の把持力及び第二の速度は、対象物の硬さに応じて変化する高速移動モードのいずれかを選択可能であって、制御部は、安静移動モード、二段階移動モード及び高速移動モードのうちの、選択されたいずれかに基づいて対象物の把持及び移動を制御してもよい。例えば、対象物が硬くても高速で移動させる必要がない場合に、第一の把持力及び第一の速度で対象物を移動させることによって電力消費量を低減する等、使用者の目的に応じて対象物の移動制御を行なうことができる。
制御部は、対象物の移動を開始した後に、対象物の硬さを判定してもよい。まず、第一の把持力で対象物を把持して移動を開始しておき、硬さを判定した後に、硬さに応じた把持力及び速度に変更される。すなわち、硬さを判定した後に移動を開始する場合と比較すると、移動に要する時間を短縮できる。
指部は、圧電素子を振動体として用いる超音波モータによって駆動されて変位してもよい。超音波モータは、指部が所望の位置まで変位した後に給電を停止しても、その時点での把持力を保持できる。したがって、サーボモータ等、対象物を把持している間も給電を要する他のアクチュエータを用いた場合と比較すると、電力消費量を低減することができる。
この発明に係るロボットは、上述したこの発明のロボットハンド機構を備えることを特徴とするものである。
また、この発明に係るロボットハンド機構の制御方法は、変位可能に設けられる複数の指部を備え、複数の指部を変位させて対象物を把持するとともに、把持した対象物を移動させるロボットハンド機構の制御方法において、指部が対象物に加える押圧力と、指部と対象物との間に生じる摩擦力とを検知し、検知した押圧力及び摩擦力に基づいて、対象物を把持するのに要する最小の把持力を取得し、最小の把持力を取得する際に、指部の変位量を検知し、検知した指部の変位量に基づいて、対象物の硬さを判定し、判定した硬さに基づいて、対象物を把持する把持力と、把持した対象物を移動させる速度とを変化させることを特徴とするものである。
この発明によれば、不特定の硬さを有する対象物に対して、その硬さに応じた最適な把持力及び速度での移動制御をロボットハンド機構で行なうことが可能となる。
以下に、この発明の実施の形態について添付図に基づいて説明する。
実施の形態1.
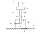
図1に、この実施の形態1に係るロボットハンド機構1を用いたロボットの要部を示す。
尚、ロボットハンド機構1が位置する三次元空間の直交座標系を、図1に示すX軸、Y軸及びZ軸によって規定する。X軸は水平な載置面Gに対して平行に延びる水平軸であり、Y軸はX軸に対して垂直をなす鉛直軸である。Z軸はX軸及びY軸に対して垂直をなす水平軸であって、図1の奥行方向に沿って延びている。また、把持及び移動の対象である対象物Oは、載置面G上に配置されている。ここで、対象物Oは、その硬さ、材質、形状や大きさ等が不特定となっている。
ロボットハンド機構1は、対象物Oを把持するための1対の指部2a及び2bと、指部2a及び2bが共に取り付けられる共通の基部3とを備えている。指部2a及び2bは基部3の底部に取り付けられており、基部3の頂部にはアーム4が取り付けられている。アーム4には駆動装置5が接続されており、駆動装置5がアーム4を駆動することによって、ロボットハンド機構1全体が三次元的に移動する。また、駆動装置5は、ロボットハンド機構1の動作を制御するための制御部6に電気的に接続されており、制御部6に制御されてアーム4を駆動する。
指部2a及び2bは同一の構成を有しており、円筒状の第一節21をそれぞれ備えている。第一節21の上端側は基部3の底部に固定されており、第一節21の下端側には、サーボモータ7を介して略円筒状の第二節22が連結されている。第二節22は、サーボモータ7に駆動され、サーボモータ7を中心にしてX軸に沿った方向に変位可能となっている。すなわち、ロボットハンド機構1による対象物Oの把持は、指部2a及び2bのそれぞれの第二節22を対象物Oに向けて変位させ、対象物Oを挟み込むとともに、その両側から押圧することによって行なわれる。また、サーボモータ7には、変位量検知手段としてのポテンショメータ8が取り付けられており、X軸に沿った第二節22の変位量が検知可能となっている。
第二節22の先端部には、第二節22と対象物Oとの間に作用する力を検知するための力覚センサ9が設けられており、第二節22と対象物Oとが、力覚センサ9を介して接触するようになっている。力覚センサ9としては、例えばニッタ株式会社製TFS12−10等の6軸力覚センサが用いられる。6軸力覚センサとは、ある1点に力が作用する場合、その力の三次元直交座標系における各軸方向成分(X軸方向成分、Y軸方向成分及びZ軸方向成分)と、各軸周りのモーメントとを検知するセンサである。ロボットハンド機構1において、力覚センサ9は力のX軸方向成分とY軸方向成分とを用いており、対象物Oを把持して上方に持ち上げる場合を例とすると、第二節22が対象物に加える押圧力(X軸方向成分)と、第二節22と対象物Oとの間に生じる摩擦力(Y軸方向成分)とを検知する。
図2に概略的に示すように、指部2a及び2bのサーボモータ7、ポテンショメータ8及び力覚センサ9は、それぞれ制御部6に電気的に接続されている。サーボモータ7は、制御部6に制御されて第二節22を変位させる。また、ポテンショメータ8が検知した第二節22の変位量、及び力覚センサ9が検知した力及びモーメントは、それぞれ制御部6に出力される。
次に、この発明の実施の形態1に係るロボットハンド機構1の動作について、図3に示すフローチャート及び図4〜6を用いて説明する。
まず、制御部6から対象物移動指示が出力される(ステップS1)。制御部6からの対象物移動指示を受け取った駆動装置5はアーム4を駆動して、ロボットハンド機構1を対象物Oの位置まで移動させる(ステップS2)。図4(a)に、ロボットハンド機構1が対象物Oの位置まで移動した様子を示す。ステップS2の終了時点において、指部2aの第二節22と指部2bの第二節22とは変位を開始しておらず、これらの間に対象物Oが配置され、且つ互いに接触していない状態となっている。
次いで、制御部6は対象物の持ち上げ及び把持の開始指示を出力する(ステップS3)。開始指示を受け取ったサーボモータ7は、図4(a)の矢印Aで示すように、指部2a及び指部2bのそれぞれの第二節22を、X軸に沿って対象物Oに向かう方向に変位させる。図4(b)に示すように、指部2a及び2bのそれぞれの第二節22が変位して対象物Oに接触すると、駆動装置5がアーム4を駆動して、図4(b)の矢印Bで示すように、ロボットハンド機構1をY軸に沿って上方側に移動させる。また、サーボモータ7は、対象物Oに加える押圧力Fxを徐々に増大させるように第二節22を駆動する。
指部2a及び2bのそれぞれの第二節22が対象物Oに接触し、ロボットハンド機構1の上方側への移動が開始されると、制御部6は、力覚センサ9から出力される力データの取得を開始する(ステップS4)。力データとは具体的に、第二節22と対象物Oとの間に作用する力のうち、第二節22が対象物に加える押圧力Fx(X軸方向成分)、及びロボットハンド機構1が上方側に移動するのに伴って、第二節22と対象物Oとの間に生じる摩擦力Fy(Y軸方向成分)である。また、ロボットハンド機構1が上方側への移動を開始した時点において、第二節22が対象物Oに加える押圧力Fxは、対象物Oを把持して持ち上げるのに十分な大きさではなく、第二節22と対象物とに間には滑りが生じている状態となっている。すなわち、ロボットハンド機構1自体は上方へ移動しているが対象物Oは載置面G上から持ち上げられることなく、対象物Oに対して第二節22が滑りながら移動している状態となっている。
ここで、対象物Oが把持されて持ち上がるための条件について説明する。図4(c)に示すように、ロボットハンド機構1が対象物Oを持ち上げた状態において、対象物Oの質量m、重力加速度gとすると、対象物Oには重力mgが作用している。また、指部2a及び2bのそれぞれの第二節22と対象物Oとの間には、摩擦力Fyが重力mgとは反対側の方向に作用している。すなわち、摩擦力Fyが下記(1)式を満たせば、対象物Oは、第二節22から滑り落ちることなく支えられ、持ち上げられることになる。
Fy=mg×1/2・・・(1)
摩擦力Fyが上記(1)式の条件を満たした時点において、第二節22が対象物Oに加えていた押圧力Fxが、対象物Oを把持するのに要する最小の把持力となる。
ステップS4で力データFx、Fyの取得が開始されると、制御部6は、所定の単位時間Δt間における摩擦力Fyの変化量に基づいて、対象物Oが持ち上がったかどうかの判定を開始する(ステップS5)。ここで、図5に、第二節22と対象物Oとが接触した時点以降における押圧力Fx及び摩擦力Fyの時間軸に沿った推移を示す。対象物Oが把持されて持ち上げられると、第二節22と対象物Oとの間には滑りが生じなくなるため、それ以降、摩擦力Fyは一定の値となる。すなわち、対象物Oが持ち上がったかどうかの判定は、下記(2)式によって判定される。
Fy(t)−Fy(t−Δt)<Fth・・・(2)
(2)式において、Fy(t)は、第二節22と対象物Oとが接触した時点から時間t経過した時点における摩擦力Fyを表す。また、Fthは予め決められて、制御部6に記憶されている閾値である。
単位時間Δt間における摩擦力Fyの変化量(Fy(t)−Fy(t−Δt))が(2)式の条件を満たさない場合、処理はステップS4に戻り、引き続き押圧力Fxを徐々に増大させながら、力データが取得される。単位時間Δt間における摩擦力Fyの変化量が(2)式の条件を満たすと、対象物Oが持ち上がったと判定される。ここで、対象物Oが持ち上がったと判定された時点での摩擦力Fyは、同時に(1)式を満たしており、この時点で対象物Oに加えられていた押圧力Fxが、対象物Oを把持するのに要する最小の把持力となる。対象物Oが持ち上がったと判定されると、制御部6は、判定された時間tにおける押圧力Fx、すなわち最小の把持力に基づく第一の把持力を取得する。具体的には、対象物Oが持ち上がったと判定された時間tにおける押圧力Fxを、第一の把持力である最小把持力Fxminとして取得する(ステップS6)。
次いで、制御部6は、対象物Oが持ち上がったかどうかを判定した際の単位時間Δt間に、ポテンショメータ8が検知した第二節22の変位量に基づいて、対象物Oの硬さを判定する(ステップS7)。ここで、図5に、対象物Oが柔らかい場合の第二節22の変位量Xs(t)、対象物Oが硬い場合の第二節22の変位量Xh(t)を示す。図5の変位量Xs(t)で示されるように、対象物Oが柔らかい場合は、持ち上がった時点である時間t以降も第二節22から加えられる押圧力Fxによって変形し続ける。一方、図5の変位量Xh(t)で示されるように、対象物Oが硬い場合は、時間t以降はあまり変形しない。したがって、単位時間Δt間における第二節22の変位量ΔXsよりΔXhの方が小さい値となる。
すなわち、対象物Oの硬さは、時間tの時点での第二節22の変位量をX(t)とすると、下式(3)によって判定される。
X(t)−X(t−Δt)>Xf・・・(3)
ここで、(3)式のXfは、予め決められて、制御部6に記憶されている閾値である。第二節22の変位量X(t)が(3)式の条件を満たし、対象物Oが柔らかいと判定されると、制御部6はサーボモータ7に把持動作終了指示を出力する(ステップS8)。把持動作終了指示を受け取ったサーボモータ7は、対象物Oに加える押圧力Fxを増大させるのを終了し、以後、ステップS6で取得した最小把持力Fxminで対象物Oを把持し続けるように第二節22を駆動する。一方、第二節22の変位量X(t)が(3)式の条件を満たさず、対象物Oが硬いと判定された場合、制御部6は、後述するステップS11に処理を移す。尚、制御部6は、第二節22と対象物Oとの間に生じている摩擦力Fyと、単位時間Δt間に置ける第二節22の変位量とを直接的に検知しているため、対象物Oの硬さ、材質、形状や大きさ等が不特定であっても、その硬さを判定することができる。
ステップS8で把持動作が終了すると、制御部6は、アーム4の移動速度を第一の速度である一定の低速移動用速度Vs(図6参照)に設定する。これにより、最小把持力Fxminで把持するとともに、低速移動用速度Vsで移動させる第一の設定がなされる。アーム4の移動速度が低速移動用速度Vsに設定されると、制御部6は、アーム4が低速移動用速度Vsで移動するように駆動装置5を制御する。アーム4は、最小把持力Fxminで把持した対象物Oを、低速移動用速度Vsで所定の位置から別の位置に移動させる(ステップS10)。対象物Oの移動が完了すると処理が終了し、ステップS1に戻って次の対象物Oを移動させるか、または待機状態となる。
一方、ステップS7において対象物Oが硬いと判定された場合、制御部6は、第二節22から対象物Oに加えられる押圧力Fxを徐々に増大させ続けるようにサーボモータ7を制御するとともに、力データを取得する(ステップS11)。次いで、押圧力Fxが下式(4)を満たすかどうかの判定が行なわれる(ステップS12)。
Fx(t)>α×Fxmin(ただしα>1)・・・(4)
(4)式において、αは予め決められて制御部6に記憶されている所定の係数であり、Fx(t)が(4)式の条件を満たすことにより、対象物Oが最小把持力Fxminより大きい第二の把持力で把持される。
押圧力Fx(t)が変化して(4)式の条件を満たすと、制御部6はサーボモータ7に把持動作終了指示を出力され、以後、対象物Oがα×Fxminより大きい把持力で把持し続けられる(ステップS13)。把持動作が終了すると、制御部6は、アーム4の移動速度を低速移動用速度Vsより高速な第二の移動速度である一定の高速移動用速度Vf(図6参照)に設定する(ステップS14)。これにより、対象物Oを最小把持力より大きい把持力で把持するとともに、高速移動用速度Vfで移動させる第二の設定がなされる。アーム4の移動速度が高速移動用速度Vfに設定されると、処理はステップS10に移り、制御部6は、アーム4が移動する速度を変化させ、高速移動用速度Vfで移動するように駆動装置5を制御する。アーム4は、α×Fxminより大きい把持力で把持した対象物Oを、高速移動用速度Vfで所定の位置から別の位置に移動させ、処理が終了される。
以上のように、対象物Oを把持する指部2a及び2bのそれぞれの第二節22に、第二節22が対象物Oに加える押圧力Fx、及び第二節22と対象物Oとの間に生じる摩擦力Fyを検知する力覚センサ9を設けたので、単位時間Δt間における摩擦力Fyの変化量に基づいて、対象物Oが持ち上がったかどうかが判定できる。また、対象物Oが持ち上がったと判定した時間tの時点での押圧力Fxが、対象物Oを把持するのに要する最小把持力Fxminとして取得される。さらに、単位時間Δt間における第二節22の変位量Xに基づいて、対象物Oの硬さを判定できる。判定した硬さに基づいて、対象物を把持する把持力と、把持した対象物を移動させる速度とを変化させるように構成したので、対象物が柔らかい場合、最小把持力Fxminで把持するとともに低速移動用速度Vsで移動させることにより、対象物Oを壊さずに移動させることができる。一方、対象物Oが硬い場合は、把持力を増大させ、最小把持力Fxminより大きい把持力で把持することによって、低速移動用速度Vsより高速な高速移動用速度Vfで移動させることができる。したがって、不特定の硬さを有する対象物Oに対して、その硬さに応じた最適な把持力及び速度での移動制御をロボットハンド機構1で行なうことが可能となる。
実施の形態2.
次に、この発明の実施の形態2に係るロボットハンド機構について説明する。この実施の形態2に係るロボットハンド機構は、実施の形態1におけるロボットハンド機構に対し、対象物が硬いと判定された場合の制御方法を変更したものである。尚、以下の実施の形態において、図1〜6の参照符号と同一の符号は同一または同様の構成であるので、その詳細な説明は省略する。
図7に、この実施の形態2に係るロボットハンド機構における把持力及び移動速度の設定を示す。尚、図7は、対象物Oの硬さを横軸で示すとともに、一方の縦軸に対象物Oに加えられる把持力Fxを示し、他方の縦軸に対象物Oの移動速度Vを示したものである。図7に示されるように、対象物Oが柔らかいと判定された場合は、実施の形態1と同様、対象物Oを最小把持力Fxminで把持するとともに低速移動用速度Vsで移動させる。
一方、対象物Oが硬いと判定された場合において、把持力Fx及び高速移動用速度Vfは、実施の形態1において対象物Oが持ち上がったかどうかを判定した際の単位時間Δt間における第二節22の変位量ΔXに応じて変化するようになっている。具体的には、把持力Fx=f(ΔX)、高速移動用速度Vf=f(ΔX)となっており、変位量ΔXが小さければ小さいほど、すなわち対象物Oが硬ければ硬いほど、把持力Fx及び高速移動用速度Vfが大きくなるようになっている。その他の構成及び制御方法については、実施の形態1と同様である。
このように、対象物Oが硬い場合の把持力Fx及び高速移動用速度Vfを、対象物Oの硬さに応じて変化するように構成したので、対象物Oが硬ければ硬いほど把持力Fxを大きくでき、且つ把持力Fxを大きくした分だけ高速移動用速度Vfも高速にできるため、対象物が硬い場合の移動に要する時間を短縮して効率を向上することができる。尚、把持力Fx及び速度Vfを、図7(a)に示されるように線型に変化させることに限定するものではなく、例えば、図7(b)に示すように段階的に増加(非線型に変化)させることも可能である。
実施の形態3.
次に、この発明の実施の形態3に係るロボットハンド機構について説明する。この実施の形態3に係るロボットハンド機構は、実施の形態1におけるロボットハンド機構の動作が制御部によって切り替えられていたのに対し、使用者が動作を選択可能であるように構成したものである。
ロボットハンド機構1の制御部6(図1参照)には、図8(a)〜(c)に示す安静移動モード、二段階移動モード及び高速移動モードが予め記憶されており、これらの動作モードに従って、ロボットハンド機構1が動作するようになっている。また、これらの動作モードは、例えば制御部に電気的に接続された図示しない操作部等を操作することにより、ロボットハンド機構1の操作者が選択可能となっている。
図8(a)に示す安静移動モードにおいて、ロボットハンド機構1は、対象物Oを、その硬さに関わらず実施の形態1における最小把持力Fxminで把持するように構成されている。また、ロボットハンド機構1は、最小把持力Fxminで把持した対象物Oを、その硬さに関わらず実施の形態1における低速移動用速度Vsで移動するように構成されている。
図8(b)に示す二段階移動モードは、実施の形態1におけるロボットハンド機構1の制御方法と同様であり、対象物Oの硬さに応じて、把持力及び移動速度を二段階に切り替えるものである。また、図8(c)に示す高速移動モードは、実施の形態2におけるロボットハンド機構1の制御方法と同様であり、対象物Oが硬いと判定された場合に、その硬さに応じて把持力及び移動速度を変化させ、対象物Oが硬ければ硬いほど高速で移動させるようにしたものである。その他の構成については実施の形態1と同様である。
このように、操作者が安静移動モード、二段階移動モード及び高速移動モードを選択可能としたので、例えば、対象物Oが硬くても高速で移動させる必要がない場合に、最小把持力Fxmin及び低速移動用速度Vsで対象物Oを移動させることによって電力消費量を低減する等、使用者の目的に応じて対象物の移動制御を行なうことができる。
実施の形態4.
次に、この発明の実施の形態4に係るロボットハンド機構について説明する。この実施の形態4に係るロボットハンド機構は、実施の形態1におけるロボットハンド機構に対して、対象物の硬さを判定する処理の順番を変更したものである。
図9に、この実施の形態4に係るロボットハンド機構の動作を示すフローチャートを示す。図13において、ステップS21〜ステップS26については、実施の形態1におけるステップS1〜ステップS6(図3参照)とそれぞれ同様であるため、その説明は省略する。
制御部6は、ステップS25において対象物Oが持ち上がったと判定し、ステップS26で最小把持力Fxminを取得すると、アーム4の移動速度を低速移動用速度Vs(図6参照)に設定する(ステップS27)。次いで、制御部6は、対象物Oの硬さ判定を行なう前に移動開始指令を出力し、最小把持力Fxmin及び低速移動用速度Vsで、対象物Oの移動を開始させる(ステップS28)。対象物Oの移動が開始されると、制御部6は対象物Oを移動させながら、実施の形態1におけるステップS7と同様に、単位時間Δt間における第二節22の変位量に基づいて、対象物Oの硬さを判定する(ステップS29)。対象物Oの硬さが柔らかいと判定されると、制御部6は、把持動作終了指令を出力する(ステップS30)。
ここで、制御部6は、既に最小把持力Fxmin及び低速移動用速度Vsで対象物Oを移動させ始めている。したがって、制御部6は、低速移動用速度Vsを保持する指令を出力し(ステップS31)、アーム4は、低速移動用速度Vsでの移動を継続し(ステップS31)、対象物Oの移動を完了させる。
一方、ステップS29で対象物Oが硬いと判定された場合、制御部6は対象物Oを低速移動用速度Vsで移動させながら、実施の形態1のステップS11と同様に、第二節22が対象物Oに加える押圧力を増大させる(ステップ33)。次いで、実施の形態1におけるステップS12〜S14と同様に、対象物Oを最小把持力より大きい把持力で把持するとともに、移動速度を高速移動用速度Vfに設定し(ステップS34〜36)、ステップS32に処理を戻す。対象物Oの移動速度は、ステップS36にて高速移動用速度Vfに設定されたため、制御部6はステップ32で低速移動用速度Vsから高速移動用速度Vfに増速し、対象物Oの移動を完了させる。
このように、最小把持力Fxmin及び低速移動用速度Vsで対象物Oさせてから、対象物Oの硬さを判定するように構成したので、硬さを判定した後に移動を開始する場合と比較すると、移動に要する時間を短縮できる。
実施の形態5.
次に、この発明の実施の形態5に係るロボットハンド機構について説明する。この実施の形態5に係るロボットハンド機構は、実施の形態1に係るロボットハンド機構におけるサーボモータの代わりに超音波モータを用いて構成したものである。
図10に示すように、ロボットハンド機構31の基部3の底部には、1対の超音波モータ41a及び41bが取り付けられており、超音波モータ41a及び41bには、指部32がそれぞれ連結されている。超音波モータ41a及び42bは同一の構成を有しており、指部32の先端部には、実施の形態1と同様の力覚センサ9が設けられている。
超音波モータ41a及び41bは、基部3に上端側を固定された振動体42をそれぞれ備えており、振動体42の下端部には、固定子43と、固定子43内にほぼ半分を収容された球形の回転子44とが設けられている。回転子44には指部32が固定されており、指部32と固定子43とが、可撓性の保持部材45によって連結されている。また、回転子44は固定子43内で回転可能となっており、それにより、指部32が変位可能となっている。
図11に示すように、基部3と固定子43とは、振動体42内を通過する連結ボルト33によって固定されている。固定子43の下端部には凹部43aが形成されており、この凹部43a内に回転子44が回転可能に収容されている。また、回転子44は、指部32と固定子43とを連結する保持部材45によって、固定子43の凹部43aに対して接触するように保持されている。振動体42は、固定子43に超音波振動を発生させて回転子44を回転させるためのものであり、円板状の部材である3つの圧電素子部51〜53が重ね合わされて構成されている。また、これらの圧電素子部51〜53は、制御部60に電気的に接続されている。
図12に示すように、圧電素子部51は、電極板51a、圧電素子板51b、電極板51c、圧電素子板51d及び電極板51eが順次重ね合わされた構造を有している。また、圧電素子部52も同様に、電極板52a、圧電素子板52b、電極板52c、圧電素子板52d及び電極板52eが順次重ね合わされた構造を有しており、圧電素子部53も、電極板53a、圧電素子板53b、電極板53c、圧電素子板53d及び電極板53eが順次重ね合わされた構造を有している。これらの圧電素子部51〜53が絶縁シート54〜57を介して基部3及び固定子43に対して絶縁され、且つ互いに絶縁された状態で配置されている。
図13に示すように、圧電素子部51の圧電素子板51b及び51dは、図12に示すX軸方向に2分割された部分が互いに逆極性を有してそれぞれY軸方向(厚み方向)に膨張と収縮の反対の変形挙動を行なうように分極されており、圧電素子板51bと圧電素子板51dとは、互いに裏返しとなるように配置されている。また、圧電素子部52の圧電素子板52b及び52dは、2分割されることなく全体がY軸方向(厚み方向)に膨張あるいは収縮の変形挙動を行なうように分極されており、圧電素子板52bと圧電素子板52dとが互いに裏返しとなるように配置されている。圧電素子部53の圧電素子板53b及び53dは、Z軸方向に2分割された部分が互いに逆極性を有してそれぞれY軸方向(厚み方向)に膨張と収縮の反対の変形挙動を行なうように分極されており、圧電素子板53bと圧電素子板53dとが互いに裏返しとなるように配置されている。
圧電素子部51の両面部分に配置されている電極板51a及び電極板51eと、圧電素子部52の両面部分に配置されている電極板52a及び電極板52eと、圧電素子部53の両面部分に配置されている電極板53a及び電極板53eとは、それぞれ電気的に接地されている。また、圧電素子部51の圧電素子板51b及び51dの間に配置されている電極板51cと、圧電素子部52の圧電素子板52b及び52dの間に配置されている電極板52cと、圧電素子部53の圧電素子板53b及び53dの間に配置されている電極板53cとは、それぞれ制御部60に電気的に接続されている。その他の構成については、実施の形態1と同様である。
次に、この実施の形態5に係るロボットハンド機構31の動作について説明する。尚、ロボットハンド機構31の動作において、実施の形態1に係るロボットハンド機構1の動作と異なるのは指部32を超音波モータ41a及び41bで駆動する点、指部32の変位量を検知する点、及び実施の形態1におけるステップS8及びS13(図3参照)で説明した把持動作の終了時における動作が異なる点のみであるため、その他の説明については省略する。
まず、超音波モータ41a及び41bによって、指部32を変位させる点について説明する。超音波モータ41a及び41bのそれぞれの振動体42に対して、圧電素子部51の電極板51cに、超音波モータ41aの固有振動数に近い周波数の交流電圧が印加される。電極板51cに交流電圧が印加されると、圧電素子部51の圧電素子板51b及び51dの2分割された部分がY軸方向に膨張と収縮を交互に繰り返し、固定子43にX軸方向のたわみ振動が発生する。同様に、圧電素子部52の電極板52cに交流電圧を印加すると、圧電素子部52の圧電素子板52b及び52dがY軸方向に膨張と収縮を繰り返し、固定子43にY軸方向の縦振動が発生する。さらに、圧電素子部53の電極板53cに交流電圧を印加すると、圧電素子部53の圧電素子板53b及び53dの2分割された部分がY軸方向に膨張と収縮を交互に繰り返し、固定子43にZ軸方向のたわみ振動が発生する。
ここで、例えば、制御部60から圧電素子部52の電極板52cと圧電素子部53の電極板53cとの双方に、位相を90度シフトさせた交流電圧をそれぞれ印加すると、Z軸方向のたわみ振動とY軸方向の縦振動とが組み合わされて回転子44と接触する固定子43の凹部43aにYZ面内の楕円振動が発生し、摩擦力を介して回転子44がX軸回りに回転する。同様に、制御部60から圧電素子部51の電極板51cと圧電素子部52の電極板52cとの双方に位相を90度シフトさせた交流電圧をそれぞれ印加すると、X軸方向のたわみ振動とY軸方向の縦振動とが組み合わされて回転子44と接触する固定子43の凹部43aにXY面内の楕円振動が発生し、摩擦力を介して回転子44がZ軸回りに回転する。さらに、制御部60から圧電素子部51の電極板51cと圧電素子部53の電極板53cとの双方に位相を90度シフトさせた交流電圧をそれぞれ印加すると、Z軸方向のたわみ振動とX軸方向のたわみ振動とが組み合わされて回転子44と接触する固定子43の凹部43aにXZ面内の楕円振動が発生し、摩擦力を介して回転子44がY軸回りに回転する。
このようにして超音波モータ41a及び41bのそれぞれの振動体42を駆動することにより、回転子44がX、Y、Zの3軸の回りにそれぞれ回転し、これに伴って指部32を変位させることが可能となる。また、制御部60は、超音波モータ41a及び41bの振動体42に印加する駆動電圧に基づいて、1対の指部32の位置をそれぞれ把握することが可能であり、指部32のサイズ及び超音波モータ41a及び41bのサイズを予め記憶している。すなわち、制御部60は、振動体42に印加する駆動電圧に基づいて指部32の変位量を検知することが可能であり、制御部60が、ロボットハンド機構31における変位量検出部を構成する。
以上のように指部32を変位させ、対象物Oが持ち上がったかどうかの判定(図3のステップS5)、最小把持力Fxminの取得(ステップS6)、及び対象物Oの硬さの判定(ステップS7)が終了し、把持動作終了(ステップS8)となると、制御部60は、超音波モータ41a及び41bへの交流電圧の印加、すなわち給電を停止する。ここで、超音波モータ41a及び41bは、給電を停止されてもその時点における把持力を保持できるため、給電停止以降、最小把持力Fxminでの把持を継続する。ステップS7で対象物Oが硬いと判定された場合の把持動作終了(ステップS13)においても同様である。
このように、指部32を変位させるために超音波モータ41a及び41bを用いても実施の形態1と同様の効果が得られるとともに、把持動作終了以降に超音波モータ41a及び41bに継続して給電し続ける必要がないため、サーボモータ等、対象物Oを把持している間、常に給電を必要とする他のアクチュエータを用いた場合と比較すると、電力消費量を低減することができる。
実施の形態1〜5において、ロボットハンド機構は対象物を上方に持ち上げてから移動させていたが、移動させる際に持ち上げることに限定するものではない。例えば、図14に示すように、対象物Oを載置面G上に載置したまま、引っ張って移動させることも可能である。この場合、図15に示すように、対象物Oが移動を開始するまでは対象物Oと載置面Gとの間に静摩擦が作用した状態であり、第二節22が対象物Oに加える押圧力Fxが増大するにつれて、第二節22と対象物Oとの間に作用する摩擦力も増大する。押圧力Fxが増大して対象物Oが把持され、図14に示す矢印Cの方向への移動を開始すると、対象物Oと載置面Gとの間に作用する摩擦力Fyが静摩擦から動摩擦に変化する。摩擦力Fyが静摩擦から動摩擦に変化すると、図15の時間tの時点に示すように、時間の経過に伴って増大していた摩擦力Fyが急激に減少し、時間tの直前より小さい値になるとともに、以後、そのまま一定の値で推移する。このように、摩擦力Fyが段差状に減少する時点を取得することによって、実施の形態1と同様にロボットハンド機構1を制御することが可能となる。
また、実施の形態1〜5において、力覚センサによって検知された力及びモーメントのうち、指部が対象物に加える押圧力と指部と対象物との間に生じる摩擦力とを用いたが、さらに、他の方向成分の力やモーメントを反映させることも可能である。例えば、対象物を把持して移動を開始した際に、対象物に働く慣性に起因して発生し、指部と対象物との間に作用する力を検知し、それに応じて、移動途中に把持力及び移動速度を補正する等の制御をおこなうことが可能である。
実施の形態1〜5で対象物が柔らかいと判定された場合の第一の設定において、第一の把持力及び第一の速度は対象物の硬さに関わらず一定であったが、これらが一定であることに限定するものではない。実施の形態2で第二の把持力及び第二の速度を硬さに応じて変化させたのと同様に、第一の把持力及び第一の速度を変化させることも可能である。また、例えば、第一の把持力及び第一の速度を増大させる勾配(第一の設定)が、第二の把持力及び第二の速度を増大させる勾配(第二の設定)より緩やかになるように設定し、対象物の硬さに応じて、第一の設定及び第二の設定の両方が変化するように構成することも可能である。
実施の形態1〜5において、ロボットハンド機構を、一対の指部を有する二指ロボットハンド機構として説明したが、指部の本数を限定するものではなく、三本以上の指部を有する多指ロボットハンド機構として構成することも可能である。
実施の形態1〜5において、対象物がロボットハンド機構に持ち上げられるための条件を、指部と対象物との間に作用する摩擦力Fy、対象物に作用する重力mgとして、
Fy=mg×1/2
として説明したが、所定値以上の加速度aで対象物を持ち上げる場合、上式を、
Fy=m(g+a)×1/2
として、対象物を持ち上げる加速度aを加味した制御を行なうことも可能である。
この発明の実施の形態1に係るロボットハンド機構の構成を示す概略図である。 実施の形態1に係るロボットハンド機構の構成を示す概略図である。 実施の形態1に係るロボットハンド機構の動作を説明するためのフローチャートである。 実施の形態1に係るロボットハンド機構の動作を説明するための概略図である。 実施の形態1に係るロボットハンド機構において検知される押圧力、摩擦力及び変位量の、時間軸に沿った推移を示す概略図である。 実施の形態1に係るロボットハンド機構における移動制御の切り替えを説明するための概略図である。 この発明の実施の形態2に係るロボットハンド機構における移動制御の切り替えを説明するための概略図である。 この発明の実施の形態3に係るロボットハンド機構における移動制御の切り替えを説明するための概略図である。 この発明の実施の形態4に係るロボットハンド機構の動作を説明するためのフローチャートである。 この発明の実施の形態5に係るロボットハンド機構の構成を示す概略図である。 実施の形態5に係るロボットハンド機構の超音波モータの構造を示す概略図である。 実施の形態5に係るロボットハンド機構の超音波モータの構造を示す概略図である。 実施の形態5に係るロボットハンド機構の超音波モータの構造を示す概略図である。 この発明の変形例を説明するための概略図である。 図14の変形例におけるロボットハンド機構の動作を説明するための概略図である。
符号の説明
1,31 ロボットハンド機構、2a,2b,32 指部、5 駆動装置、6,60 制御部、8 ポテンショメータ(変位量検知手段)、9 力覚センサ、41a,41b 超音波モータ、42 振動体、51,52,53 圧電素子部(圧電素子)、60 制御部(変位量検知部)、Fx 押圧力、Fxmin 最小把持力(第一の把持力)、Fy 摩擦力、O 対象物、Vf 高速移動用速度(第二の速度)、Vs 低速移動用速度(第一の速度)。

Claims (8)

  1. 変位可能に設けられる複数の指部を備え、前記複数の指部を変位させて対象物を把持するとともに、把持した前記対象物を移動させるロボットハンド機構において、
    前記指部の変位量を検知する変位量検知部と、
    前記指部に設けられ、前記指部と前記対象物との間に作用する力のうち、少なくとも、前記指部が前記対象物に加える押圧力、及び前記指部と前記対象物との間に生じる摩擦力を検知する力覚センサと、
    前記対象物の把持及び移動を制御する制御部と
    をさらに備え、
    前記制御部は、
    前記力覚センサが検知した前記押圧力及び前記摩擦力に基づいて、前記対象物を把持するのに要する最小の把持力を取得するとともに、
    前記最小の把持力を取得する際に、前記変位量検知部が検知した前記指部の変位量に基づいて、前記対象物の硬さを判定し、
    判定した前記硬さに基づいて、前記対象物を把持する把持力と、把持した前記対象物を移動させる速度とを変化させることを特徴とするロボットハンド機構。
  2. 前記制御部は、
    前記対象物を、前記最小の把持力に基づく第一の把持力で把持するとともに第一の速度で移動させる第一の設定と、
    前記対象物を、前記第一の把持力より大きい第二の把持力で把持するとともに前記第一の速度より高速な第二の速度で移動させる第二の設定と
    を、前記対象物の前記硬さに基づいて切り替えるロボットハンド機構。
  3. 前記第二の把持力及び前記第二の速度は、前記対象物の前記硬さに応じて変化する請求項1または2に記載のロボットハンド機構。
  4. 前記対象物の前記硬さに関わらず、前記第一の設定で前記対象物を移動させる安静移動モード、
    前記対象物の前記硬さに基づいて、前記第一の設定と前記第二の設定とを切り替えて前記対象物を移動させ、前記第二の把持力及び前記第二の速度は、前記対象物の前記硬さに関わらず一定である二段階移動モード、及び
    前記対象物の前記硬さに基づいて、前記第一の設定と前記第二の設定とを切り替えて前記対象物を移動させ、前記第二の把持力及び前記第二の速度は、前記対象物の前記硬さに応じて変化する高速移動モード
    のいずれかを選択可能であって、
    前記制御部は、前記安静移動モード、前記二段階移動モード及び前記高速移動モードのうちの、選択されたいずれかに基づいて前記対象物の前記把持及び前記移動を制御する請求項1〜3のいずれか1項に記載のロボットハンド機構。
  5. 前記制御部は、前記対象物の前記移動を開始した後に、前記対象物の前記硬さを判定する請求項1〜4のいずれか1項に記載のロボットハンド機構。
  6. 前記指部は、圧電素子を振動体として用いる超音波モータによって駆動されて変位する請求項1〜5のいずれか1項に記載のロボットハンド機構。
  7. 請求項1〜6のいずれか1項に記載のロボットハンド機構を備えたロボット。
  8. 変位可能に設けられる複数の指部を備え、前記複数の指部を変位させて対象物を把持するとともに、把持した前記対象物を移動させるロボットハンド機構の制御方法において、
    前記指部が前記対象物に加える押圧力と、前記指部と前記対象物との間に生じる摩擦力とを検知し、
    検知した前記押圧力及び前記摩擦力に基づいて、前記対象物を把持するのに要する最小の把持力を取得し、
    前記最小の把持力を取得する際に、前記指部の変位量を検知し、
    検知した前記指部の前記変位量に基づいて、前記対象物の硬さを判定し、
    判定した前記硬さに基づいて、前記対象物を把持する把持力と、把持した前記対象物を移動させる速度とを変化させることを特徴とするロボットハンド機構の制御方法。
JP2008167481A 2008-06-26 2008-06-26 ロボットハンド機構、ロボットハンド機構を備えたロボット及びロボットハンド機構の制御方法 Expired - Fee Related JP5045577B2 (ja)

Priority Applications (1)

Application Number Priority Date Filing Date Title
JP2008167481A JP5045577B2 (ja) 2008-06-26 2008-06-26 ロボットハンド機構、ロボットハンド機構を備えたロボット及びロボットハンド機構の制御方法

Applications Claiming Priority (1)

Application Number Priority Date Filing Date Title
JP2008167481A JP5045577B2 (ja) 2008-06-26 2008-06-26 ロボットハンド機構、ロボットハンド機構を備えたロボット及びロボットハンド機構の制御方法

Publications (2)

Publication Number Publication Date
JP2010005732A true JP2010005732A (ja) 2010-01-14
JP5045577B2 JP5045577B2 (ja) 2012-10-10

Family

ID=41586793

Family Applications (1)

Application Number Title Priority Date Filing Date
JP2008167481A Expired - Fee Related JP5045577B2 (ja) 2008-06-26 2008-06-26 ロボットハンド機構、ロボットハンド機構を備えたロボット及びロボットハンド機構の制御方法

Country Status (1)

Country Link
JP (1) JP5045577B2 (ja)

Cited By (15)

* Cited by examiner, † Cited by third party
Publication number Priority date Publication date Assignee Title
JP2011230263A (ja) * 2010-04-30 2011-11-17 Seiko Epson Corp 把持ロボットおよび把持方法
JP2013085378A (ja) * 2011-10-11 2013-05-09 Seiko Epson Corp モーター制御装置、ロボットハンド、ロボット及びモーター制御方法
JP2013163237A (ja) * 2012-02-10 2013-08-22 Seiko Epson Corp モーター制御装置、ロボットハンド、ロボット及びモーター制御方法
DE102013018329A1 (de) 2012-11-07 2014-05-08 Fanuc Corporation Roboterhand zur Behandlung eines Werkstücks in einem Hochtemperaturbereich
JP2014128869A (ja) * 2012-12-27 2014-07-10 Hyundai Motor Company Co Ltd ロボットグリッパー及びその制御方法
CN107225576A (zh) * 2017-07-31 2017-10-03 哈工大机器人集团有限公司 一种基于软性手指的控制方法
WO2017173697A1 (zh) * 2016-04-09 2017-10-12 深圳市兼明科技有限公司 基于导电海绵的机器人手指的控制方法
WO2019059403A1 (ja) * 2017-09-25 2019-03-28 学校法人慶應義塾 食品移載システム及び食品把持装置
JP2019104101A (ja) * 2017-12-13 2019-06-27 上銀科技股▲分▼有限公司 電動グリッパの適応制御方法、及び電動グリッパ
JPWO2021066122A1 (ja) * 2019-10-04 2021-04-08
CN114029974A (zh) * 2021-11-04 2022-02-11 上海擎朗智能科技有限公司 一种机器人送餐控制方法、装置、机器人及存储介质
CN115139323A (zh) * 2021-03-31 2022-10-04 本田技研工业株式会社 握持位置决定装置、决定系统、决定方法以及记录介质
WO2023127652A1 (ja) * 2021-12-27 2023-07-06 ミネベアミツミ株式会社 把持装置及び把持装置の制御方法
CN116766212A (zh) * 2023-08-17 2023-09-19 深圳市心流科技有限公司 一种仿生手控制方法、装置、设备及存储介质
JP2024108951A (ja) * 2023-01-31 2024-08-13 国立大学法人山形大学 柔らかさ測定装置、柔らかさ測定方法、ロボット把持部の把持力制御装置、ロボット制御装置、ロボット、及びロボット把持部の把持力制御用プログラム

Citations (6)

* Cited by examiner, † Cited by third party
Publication number Priority date Publication date Assignee Title
JPH07186083A (ja) * 1993-12-28 1995-07-25 Honda Motor Co Ltd ロボットハンドの把持制御方法
JPH08323678A (ja) * 1995-05-25 1996-12-10 Sanyo Electric Co Ltd 柔軟物体把持装置
JP2001096484A (ja) * 1999-09-29 2001-04-10 Aloka Co Ltd 試験管搬送装置
JP2001219390A (ja) * 2000-02-03 2001-08-14 Nikon Corp 搬送装置
JP2005144573A (ja) * 2003-11-12 2005-06-09 Toyota Motor Corp ロボットハンドの把持力制御方法
JP2008100317A (ja) * 2006-10-19 2008-05-01 Toyota Industries Corp 物体ハンドリング装置

Patent Citations (6)

* Cited by examiner, † Cited by third party
Publication number Priority date Publication date Assignee Title
JPH07186083A (ja) * 1993-12-28 1995-07-25 Honda Motor Co Ltd ロボットハンドの把持制御方法
JPH08323678A (ja) * 1995-05-25 1996-12-10 Sanyo Electric Co Ltd 柔軟物体把持装置
JP2001096484A (ja) * 1999-09-29 2001-04-10 Aloka Co Ltd 試験管搬送装置
JP2001219390A (ja) * 2000-02-03 2001-08-14 Nikon Corp 搬送装置
JP2005144573A (ja) * 2003-11-12 2005-06-09 Toyota Motor Corp ロボットハンドの把持力制御方法
JP2008100317A (ja) * 2006-10-19 2008-05-01 Toyota Industries Corp 物体ハンドリング装置

Cited By (26)

* Cited by examiner, † Cited by third party
Publication number Priority date Publication date Assignee Title
JP2011230263A (ja) * 2010-04-30 2011-11-17 Seiko Epson Corp 把持ロボットおよび把持方法
JP2013085378A (ja) * 2011-10-11 2013-05-09 Seiko Epson Corp モーター制御装置、ロボットハンド、ロボット及びモーター制御方法
CN103107767A (zh) * 2011-10-11 2013-05-15 精工爱普生株式会社 电机控制装置、机械手、机器人以及电机控制方法
US9461569B2 (en) 2011-10-11 2016-10-04 Seiko Epson Corporation Motor control device, robot hand, robot, and motor control method
JP2013163237A (ja) * 2012-02-10 2013-08-22 Seiko Epson Corp モーター制御装置、ロボットハンド、ロボット及びモーター制御方法
DE102013018329A1 (de) 2012-11-07 2014-05-08 Fanuc Corporation Roboterhand zur Behandlung eines Werkstücks in einem Hochtemperaturbereich
US8979151B2 (en) 2012-11-07 2015-03-17 Fanuc Corporation Robot hand for handling workpiece in high temperature area
DE102013018329B4 (de) 2012-11-07 2022-05-19 Fanuc Corporation Roboterhand zur Behandlung eines Werkstücks in einem Hochtemperaturbereich
JP2014128869A (ja) * 2012-12-27 2014-07-10 Hyundai Motor Company Co Ltd ロボットグリッパー及びその制御方法
WO2017173697A1 (zh) * 2016-04-09 2017-10-12 深圳市兼明科技有限公司 基于导电海绵的机器人手指的控制方法
CN107225576B (zh) * 2017-07-31 2019-07-19 哈工大机器人集团股份有限公司 一种基于软性手指的控制方法
CN107225576A (zh) * 2017-07-31 2017-10-03 哈工大机器人集团有限公司 一种基于软性手指的控制方法
JP7201313B2 (ja) 2017-09-25 2023-01-10 慶應義塾 食品移載システム及び食品把持装置
JP2019058967A (ja) * 2017-09-25 2019-04-18 学校法人慶應義塾 食品移載システム及び食品把持装置
WO2019059403A1 (ja) * 2017-09-25 2019-03-28 学校法人慶應義塾 食品移載システム及び食品把持装置
JP2019104101A (ja) * 2017-12-13 2019-06-27 上銀科技股▲分▼有限公司 電動グリッパの適応制御方法、及び電動グリッパ
JP7553117B2 (ja) 2019-10-04 2024-09-18 国立大学法人 香川大学 把持システム、滑り検知装置、滑り検知プログラム、および滑り検知方法
JPWO2021066122A1 (ja) * 2019-10-04 2021-04-08
US12426981B2 (en) 2019-10-04 2025-09-30 National University Corporation Kagawa University Grip tool, grip system, slip detection device, slip detection program, and slip detection method
CN115139323A (zh) * 2021-03-31 2022-10-04 本田技研工业株式会社 握持位置决定装置、决定系统、决定方法以及记录介质
CN114029974A (zh) * 2021-11-04 2022-02-11 上海擎朗智能科技有限公司 一种机器人送餐控制方法、装置、机器人及存储介质
WO2023127652A1 (ja) * 2021-12-27 2023-07-06 ミネベアミツミ株式会社 把持装置及び把持装置の制御方法
JP2023097119A (ja) * 2021-12-27 2023-07-07 ミネベアミツミ株式会社 把持装置及び把持装置の制御方法
JP2024108951A (ja) * 2023-01-31 2024-08-13 国立大学法人山形大学 柔らかさ測定装置、柔らかさ測定方法、ロボット把持部の把持力制御装置、ロボット制御装置、ロボット、及びロボット把持部の把持力制御用プログラム
CN116766212B (zh) * 2023-08-17 2023-12-19 深圳市心流科技有限公司 一种仿生手控制方法、装置、设备及存储介质
CN116766212A (zh) * 2023-08-17 2023-09-19 深圳市心流科技有限公司 一种仿生手控制方法、装置、设备及存储介质

Also Published As

Publication number Publication date
JP5045577B2 (ja) 2012-10-10

Similar Documents

Publication Publication Date Title
JP5045577B2 (ja) ロボットハンド機構、ロボットハンド機構を備えたロボット及びロボットハンド機構の制御方法
JP4562782B2 (ja) グリッパー及びその駆動方法
Driesen et al. Micro manipulation by adhesion with two collaborating mobile micro robots
JP5105147B2 (ja) ロボットおよび制御方法
CN107662098A (zh) 控制装置、机器人及机器人系统
Kortschack et al. Development of mobile versatile nanohandling microrobots: design, driving principles, haptic control
JP2013099807A (ja) ロボット及びロボットの制御方法
JP2016087749A (ja) ロボットハンド
JP4888375B2 (ja) ロボットハンド
JP2015074058A (ja) ロボット制御装置、ロボットシステム、ロボット、ロボット制御方法、及びプログラム
JP5760748B2 (ja) 圧電アクチュエーターの駆動方法、及び、駆動ユニット
JP4702299B2 (ja) ロボットハンド
Kim et al. A precision robot system with modular actuators and MEMS micro gripper for micro system assembly
JP2013071224A (ja) 把持機構
JP2012070572A (ja) 圧電モータ
JP4998244B2 (ja) 振動アクチュエータ及びその制御方法ならびにロボットハンド
JP2020110907A (ja) ロボットシステム及びロボットシステムの制御方法
JP2008221345A (ja) ロボットハンド
JP2023088746A (ja) グリッパ
JP7178994B2 (ja) 把持システム
JP2014117071A (ja) ロボット
Yako et al. Vertical Vibratory Transport of Grasped Parts Using Impacts
JP3909719B2 (ja) 送り装置およびその動作制御方法
CN116079705B (zh) 机器人的控制方法以及机器人
WO2018139071A1 (ja) チャック装置、及びチャック方法

Legal Events

Date Code Title Description
A621 Written request for application examination

Free format text: JAPANESE INTERMEDIATE CODE: A621

Effective date: 20100628

A977 Report on retrieval

Free format text: JAPANESE INTERMEDIATE CODE: A971007

Effective date: 20120126

A131 Notification of reasons for refusal

Free format text: JAPANESE INTERMEDIATE CODE: A131

Effective date: 20120221

A521 Written amendment

Free format text: JAPANESE INTERMEDIATE CODE: A523

Effective date: 20120419

TRDD Decision of grant or rejection written
A01 Written decision to grant a patent or to grant a registration (utility model)

Free format text: JAPANESE INTERMEDIATE CODE: A01

Effective date: 20120619

A01 Written decision to grant a patent or to grant a registration (utility model)

Free format text: JAPANESE INTERMEDIATE CODE: A01

A61 First payment of annual fees (during grant procedure)

Free format text: JAPANESE INTERMEDIATE CODE: A61

Effective date: 20120702

FPAY Renewal fee payment (prs date is renewal date of database)

Free format text: PAYMENT UNTIL: 20150727

Year of fee payment: 3

LAPS Cancellation because of no payment of annual fees