JP2010004602A - モータ出力制限装置 - Google Patents

モータ出力制限装置 Download PDF

Info

Publication number
JP2010004602A
JP2010004602A JP2008159009A JP2008159009A JP2010004602A JP 2010004602 A JP2010004602 A JP 2010004602A JP 2008159009 A JP2008159009 A JP 2008159009A JP 2008159009 A JP2008159009 A JP 2008159009A JP 2010004602 A JP2010004602 A JP 2010004602A
Authority
JP
Japan
Prior art keywords
motor
output
vehicle
speed
limit value
Prior art date
Legal status (The legal status is an assumption and is not a legal conclusion. Google has not performed a legal analysis and makes no representation as to the accuracy of the status listed.)
Granted
Application number
JP2008159009A
Other languages
English (en)
Other versions
JP5297100B2 (ja
Inventor
Shuji Miyagawa
周士 宮川
Norio Yamaguchi
憲隆 山口
Current Assignee (The listed assignees may be inaccurate. Google has not performed a legal analysis and makes no representation or warranty as to the accuracy of the list.)
Honda Motor Co Ltd
Original Assignee
Honda Motor Co Ltd
Priority date (The priority date is an assumption and is not a legal conclusion. Google has not performed a legal analysis and makes no representation as to the accuracy of the date listed.)
Filing date
Publication date
Application filed by Honda Motor Co Ltd filed Critical Honda Motor Co Ltd
Priority to JP2008159009A priority Critical patent/JP5297100B2/ja
Publication of JP2010004602A publication Critical patent/JP2010004602A/ja
Application granted granted Critical
Publication of JP5297100B2 publication Critical patent/JP5297100B2/ja
Expired - Fee Related legal-status Critical Current
Anticipated expiration legal-status Critical

Links

Images

Landscapes

  • Protection Of Generators And Motors (AREA)
  • Control Of Ac Motors In General (AREA)

Abstract

【課題】車両を停止させることなくモータを保護することが可能なモータ出力制限装置を提供する。
【解決手段】モータの冷却手段に異常が発生した場合に、車両の走行用にモータの出力制限を実施する制御装置を備え、制御装置は、モータ出力上限値L3と、車両速度を維持しうるモータ出力下限値Tとの交点P3が、冷却手段の異常時におけるモータの第2連続定格領域A2内となるようにモータの出力を制限する第3出力制限と、モータ出力上限値L2と、車両速度を維持しうるモータ出力下限値Tとの交点P2が、第2連続定格領域A2外となるようにモータの出力を制限する第2出力制限とを、切り替えて実施する構成とした。
【選択図】図2

Description

本発明は、モータ出力制限装置に関するものである。
車両を駆動するモータが開発されている。モータは運転とともに発熱するため、冷却手段を備えている。この冷却手段に異常が発生した状態でモータを運転すると、モータが高温になって破損するおそれがある。そこで、冷却手段に異常が発生した場合にモータの出力を制限する制御装置が設けられている。
特許文献1には、回転電機の使用する負荷状態、各部の温度上昇の最大点から保護設定値を決め、回転電機に取り付けた温度検出手段からの温度状態信号により警告信号を発する、あるいは出力遮断信号を発するという回転電機の温度保護装置が記載されている。
特開平11−355959号公報
しかしながら、特許文献1に記載された技術において、警告信号を発するだけでは具体的にモータを保護することができない。また出力遮断信号を発すると、車両が停止することになり、影響が大きい。
そこで本発明は、車両を停止させることなくモータを保護することが可能なモータ出力制限装置の提供を課題とする。
上記課題を解決するために、請求項1に係る発明は、車両(例えば、実施形態における車両10)を駆動するモータ(例えば、実施形態におけるモータ20)と、前記モータを冷却する冷却手段(例えば、実施形態における冷却手段22)と、前記冷却手段に異常が発生した場合に、前記車両の走行用に前記モータの出力制限を実施する制御装置(例えば、実施形態における制御装置33)と、を備え、前記制御装置は、前記モータの出力上限値(例えば、実施形態におけるグラフL3)と、前記車両の速度を維持しうる前記モータの出力下限値(例えば、実施形態におけるグラフT)との一致点(例えば、実施形態における交点P3)が、前記冷却手段の異常時における前記モータの連続定格領域(例えば、実施形態における第2連続定格領域A2)内となるように前記モータの出力を制限することを特徴とする。
請求項2に係る発明は、前記制御装置は、前記モータの出力上限値(例えば、実施形態におけるグラフL3)と、前記車両の速度を維持しうる前記モータの出力下限値(例えば、実施形態におけるグラフT)との一致点(例えば、実施形態における交点P3)が、前記冷却手段の異常時における前記モータの連続定格領域(例えば、実施形態における第2連続定格領域A2)内となるように前記モータの出力を制限する重度出力制限(例えば、実施形態における第3出力制限)と、前記モータの出力上限値(例えば、実施形態におけるグラフL2)と、前記車両の速度を維持しうる前記モータの出力下限値(例えば、実施形態におけるグラフT)との一致点(例えば、実施形態における交点P2)が、前記冷却手段の異常時における前記モータの連続定格領域(例えば、実施形態における第2連続定格領域A2)外となるように前記モータの出力を制限する軽度出力制限(例えば、実施形態における第2出力制限)とを、切り替えて実施することを特徴とする。
請求項3に係る発明は、前記モータの温度に連動するモータ関連温度を測定する温度測定手段を備え、前記制御装置は、前記モータ関連温度が閾値(例えば、実施形態における閾値T3)を超えた場合に、前記モータの出力制限を実施することを特徴とする。
請求項4に係る発明は、前記モータの回転数を検出する回転数検出手段を備え、前記制御装置は、前記モータの回転数(例えば、実施形態における回転数R2)が所定値を超えた場合に、前記モータの出力制限を実施することを特徴とする。
請求項5に係る発明は、前記車両の走行条件を検出する走行条件検出手段を備え、前記制御装置は、前記車両の走行条件に応じて、前記車両の速度を維持しうる前記モータの出力下限値を補正することを特徴とする。
請求項1に係る発明によれば、車両の走行用にモータの出力制限を実施するが、車両を停止させることはない。この出力制限を実施することで、モータ回転数が前記一致点より小さい場合には、モータ出力が前記連続定格領域内に収まる。モータ回転数が前記一致点より大きい場合には、モータ出力が、車両の速度を維持しうるモータの出力下限値を下回る。この場合、車両の速度を維持することができないので、車両の速度が前記一致点まで自動的に低下する。これにより、モータ出力が前記連続定格領域内に収まることになる。したがって、モータを連続運転した場合でも熱的問題が発生することはなく、モータを保護することができる。
請求項2に係る発明によれば、軽度出力制限を併用するので、モータ出力の急激な低下を防止することができる。
請求項3に係る発明によれば、モータの冷却手段に異常が発生したことを正確に判断して、モータの出力制限を実施することができる。
請求項4に係る発明によれば、低回転数の領域においてモータ出力をより多く確保することができる。
請求項5に係る発明によれば、モータの出力制限を必要最小限度に抑えることが可能になり、モータ出力を確保することができる。
以下、本発明の実施形態につき図面を参照して説明する。
(燃料電池車両)
図1は、車両の概略構成図である。この車両10は、燃料電池34で発電した電力によりモータ20を駆動して走行する燃料電池車両である。車両10の車輪12は、変速機14を介してモータ20に接続されている。モータ20は、駆動制御を行うインバータ30に接続されている。インバータ30は、燃料電池34に接続されるとともに、蓄電装置(バッテリ)36に接続されている。燃料電池で発電された電力は、インバータ30を介してモータ20に供給される。モータ20からのトルク出力は、変速機14を介して車輪12に伝達される。これにより、車両10が走行するようになっている。
また、インバータ30には制御装置33が接続されている。制御装置33は、運転者のアクセルペダル開度等に基づく出力要求に応じて燃料電池および蓄電装置の出力調整を行うとともに、モータ20の出力を制限しうるようになっている。
モータ20は運転に伴って発熱するので、モータ20を冷却する冷却手段22が設けられている。冷却手段22として、モータ20のハウジング内部に冷却水を流通させる冷却水流通機構や、モータ20のステータコイルに冷却油を供給する冷却油供給機構等が採用されている。
また、モータ20の温度を検出する温度センサ(不図示)が設けられている。温度センサは、モータ20のハウジングからステータコイルの渡し部に向けて配置されている。この温度センサにより、渡し部を流れる冷却油の温度を測定する。冷却油の温度は、モータ20の温度に連動するモータ関連温度であって、モータ温度にほぼ一致する。そのモータ温度が閾値T1を超えた場合には、車室内のメータパネル等に配置されたオーバーヒートインジケータが点灯するようになっている。またモータ温度が閾値T2を超えた場合には、冷却手段の異常(冷却水漏れ)が発生したと判断することができる。
また、電動車両10の車速を検出する車速検出手段(不図示)と、モータ20の回転数を検出する回転数検出手段(不図示)とが設けられている。さらに、車両10の走行条件を検出する走行条件検出手段(不図示)が設けられている。走行条件検出手段は、走行条件として、車両の積載重量や走行抵抗等を検出するようになっている。
一方、制御装置33は、冷却手段22の異常が発生した場合に、モータ20の出力を制限する出力制限手段として機能する。この制御装置33は、車両10の走行用にモータ20の出力を制限するものであり、モータ20の出力を停止させる(出力を0%まで制限する)ものではない。なお制御装置33によりモータの出力制限が実施された場合には、車室内のメータパネル等に配置された出力制限インジケータが点灯するようになっている。
制御装置33の動作について以下に詳述する。
(モータ出力制限)
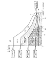
図2は、横軸に車両速度をとり縦軸にモータ出力(軸トルク)をとったグラフである。なお車両速度はモータ回転数に比例するから、横軸をモータ回転数に置き換えることもできる。
グラフL0〜L3は、モータ回転数とモータ出力(軸トルク)との関係を表すものであり、回転数が大きいほど出力が小さく、回転数が小さいほど出力が大きくなっている。グラフL0は、モータ出力を制限していない(出力が最大で100%の)場合である。グラフL1〜L3は、段階的にモータ出力を制限した場合であり、それぞれ第1出力制限〜第3出力制限に対応している。なおモータ出力の制限は、燃料電池からモータに供給する電力を制限することによって行う。
グラフTは、車両速度を維持するのに必要なモータ出力(軸トルク)の下限値を表すものである。高速度を維持するには高出力が必要であり、低速度を維持するには低出力で足りるようになっている。なおグラフTは、車両の走行条件によって変化する。例えば、車両の積載重量や走行抵抗が大きいほど、車両速度を維持するのに高出力が必要になる。上述した出力制限手段は、走行条件検出手段によって検出された車両の走行条件に応じて、グラフTを補正しうるようになっている。
領域A1,A2は、モータの連続定格領域である。モータの連続定格領域とは、モータを連続運転しても熱的問題が発生しない領域である。モータが高回転数の場合には低出力でも熱的問題が発生し、高出力の場合には低回転数でも熱的問題が発生する場合がある。そのため連続定格領域A1,A2は、低回転数かつ低出力の領域に分布している。第1連続定格領域A1は、モータの冷却手段が正常に機能している場合の連続定格領域であり、第2連続定格領域A2は、冷却手段に異常(冷却水漏れ)が発生している場合の連続定格領域である。冷却異常時には冷却正常時に比べて熱的問題が発生しやすい。そのため、第2連続定格領域A2は第1連続定格領域A1に比べて、より低回転数かつ低出力の領域に分布している。
境界S1,S2は、連続定格領域A1,A2の上限値を表すものである。
上述した第1出力制限の出力制限量は、グラフL1が境界S1と一致するように設定されている。この場合のモータ出力は、例えば最大で75%に制限される。また第2出力制限の制限量は、回転数R2以下の低回転数の領域においてグラフL2が境界S2と一致するように設定されている。この場合のモータ出力は、例えば最大で50%に制限される。
また第3出力制限の制限量は、グラフL3とグラフTとの交点P3が、第2連続定格領域A2の境界S2上に位置するように(または境界S2近傍の連続定格領域A2内に位置するように)設定される。この場合のモータ出力は、例えば最大で25%に制限される。なおグラフL2とグラフTとの交点P2は、連続定格領域A2の外側に位置している。
冷却正常時において、モータ出力を制限しない場合には、モータを断続的に運転すれば熱的問題が発生しない。しかしながら、第1連続定格領域A1を超えるモータ出力でモータを連続運転すれば、熱的問題が発生することになる。
これに対して、第1出力制限を実施した場合には、運転者のアクセルペダル開度等に基づく出力要求にかかわらず、モータ出力は第1連続定格領域A1内に収まる。したがって、モータを連続運転しても熱的問題が発生することはない。
一方、冷却異常時において、第1連続定格領域A1を超えるモータ出力でモータを連続運転すれば、熱的問題が発生することになる。
これに対して、第2出力制限を実施した場合には、回転数がR2以下であれば、モータ出力は第2連続定格領域A2内に収まる。この場合には、モータを連続運転しても熱的問題が発生することはない。
ところが、回転数がR2を超えると、第2連続定格領域A2を超えるモータ出力でモータを連続運転することが可能になり、熱的問題が発生することになる。
これに対して、第3出力制限を実施した場合には、回転数がR3(R3は交点P3の回転数)以下であれば、モータ出力は第2連続定格領域A2内に収まる。また回転数がR3を超える場合には、モータ出力が常にグラフT(車両速度を維持するのに必要なモータ出力の下限値)を下回る。この場合、車両速度を維持することができないので、運転者のアクセルペダル開度等に基づく出力要求にかかわらず、車両速度は交点P3まで自動的に低下する。これにより、モータ出力が第2連続定格領域A2内に収まることになる。したがって、第3出力制限を実施した場合には、モータを連続運転しても熱的問題が発生することはない。
なお、冷却手段に異常が発生した場合には、第1出力制限から第3出力制限に直接移行してもよい。ただし、モータ出力が急激に低下するとドライバビリティが悪化することになる。そこで、上述した第2出力制限を実施することにより、モータ出力の急激な低下を防止することができる。しかも、第2出力制限を実施した場合には、回転数がR2以下であればモータ出力が第2連続定格領域A2内に収まるのであるから、その限度でモータを保護することができる。
(モータ出力制限方法)
ここで、図2のグラフを利用したモータ出力制限方法について具体的に説明する。
図3はモータ出力制限方法のフローチャートであり、図4は出力制限の過程を示すグラフである。最初に、モータ温度の上昇局面について説明する。冷却正常時には、モータ出力を制限せず、モータ出力が最大で100%となるようにする(S12)。なお温度センサ(TMS)によりモータ温度を常に監視しておく。
第1連続定格領域A1を超えるモータ出力でモータを連続運転すると、モータ温度が所定温度T1を超える。そこで、モータ温度が閾値T1を超えたか判断し(S14)、判断がYesの場合にはオーバーヒートインジケータを点灯させる(S16)。また出力制限インジケータを点灯させ(S18)、第1出力制限を実施する(S20)。第1出力制限では、例えばモータ出力を最大で75%に制限する。これにより、モータ出力が第1連続定格領域A1内に収まるので、モータを連続運転しても熱的問題が発生することはない。
冷却手段に異常(冷却水漏れ)が発生すると、モータ温度が所定温度T2(>T1)を超える。そこで、モータ温度が閾値T2を超えたか判断し(S22)、判断がYesの場合には第2出力制限を実施する(S24)。第2出力制限では、例えばモータ出力を最大で50%に制限する。これにより、回転数がR2以下であれば、モータ出力は第2連続定格領域A2に収まり、熱的問題が発生することはない。また回転数がR2を超えても、モータ出力が第2連続定格領域A2の範囲内であれば、熱的問題が発生することはない。
これに対して、R2を超える回転数であって、第2連続定格領域A2を超えるモータ出力でモータを連続運転すると、モータ温度が所定温度T3(>T2)を超える。そこで、モータ温度が閾値T3を超えたか判断し(S26)、判断がYesの場合には第3出力制限を実施する(S28)。第3出力制限では、例えばモータ出力を最大で25%に制限する。これにより、回転数がR3以下であれば、モータ出力が第2連続定格領域A2内に収まる。また回転数がR3を超えても、車両速度がP3まで自動的に低下するので、モータ出力が第2連続定格領域A2内に収まる。したがって、熱的問題が発生することはない。
なお、回転数検出手段によりモータ回転数を監視し、回転数がR2を超えた場合に、第2出力制限から第3出力制限に移行してもよい。これにより、モータ出力が常に第2連続定格領域A2内に収まることになる。
また、回転数がR2〜R3の場合に、第2出力制限より厳しく第3出力制限より緩やかな出力制限を実施してもよい。その際、モータ出力が常に境界S2上に位置するように、回転数に応じて出力制限量を連続的に変化させることが望ましい
次に、モータ温度の下降局面について説明する。冷却異常時には、上述したように第3出力制限が実施されている(S32)。
冷却異常時における第3出力制限の実施により、モータを連続運転しても熱的問題が発生しないので、やがてモータ温度は所定温度T3を下回る。ただし、制御のばたつきを抑えるためヒステリシスを設定し、モータ温度が閾値T3−αを下回ったか判断する(S34)。判断がYesの場合にはモータ出力制限を第2出力制限に緩和する(S36)。
やがて冷却異常が解消されると、冷却正常時において第2出力制限を実施している状態になる。この場合には、モータ出力が常に第1連続定格領域A1に収まり、モータを連続運転しても熱的問題が発生しないので、やがてモータ温度は所定温度T2を下回る。そこで、モータ温度が閾値T2−αを下回ったか判断する(S38)。判断がYesの場合にはモータ出力制限を第1出力制限に緩和する(S40)。
冷却正常時における第1出力制限の実施により、モータを連続運転しても熱的問題が発生しないので、やがてモータ温度は所定温度T1を下回る。そこで、モータ温度が閾値T1−αを下回ったか判断し(S42)、判断がYesの場合にはオーバーヒートインジケータを消灯させる(S44)。また出力制限インジケータを消灯させ(S46)、第1出力制限を中止して、モータ出力が最大で100%となるようにする(S48)。
上述した出力制限の過程を図4で見れば、モータ温度がT1、T2、T3と上昇するにしたがって、モータ出力制限を75%、50%、25%と強化している。その後、モータ温度がT3−α、T2−α、T1−αと下降するにしたがって、モータ出力制限を50%、75%、100%と緩和している。なお出力制限の切り替えにヒステリシスを設定しているので、制御のばたつきを抑えることができる。
以上に詳述したように、本実施形態に係るモータ出力制限装置は、モータの冷却手段に異常が発生した場合に、車両の走行用にモータの出力制限を実施する制御装置を備え、制御装置は、図2に示すモータ出力上限値L3と、車両速度を維持しうるモータ出力下限値Tとの一致点P3が、冷却手段の異常時におけるモータの第2連続定格領域A2内となるように第3出力制限を実施する構成とした。
この構成によれば、車両の走行用にモータの出力制限を実施するので、車両を停止させることがない。また第3出力制限を実施することで、モータ回転数がR3より小さい場合には、モータ出力が第2連続定格領域A2内に収まる。モータ回転数がR3より大きい場合には、モータ出力が、車両速度を維持しうるモータ出力下限値Tを下回る。この場合、車両速度を維持することができないので、車両速度が一致点P3まで自動的に低下する。これにより、モータ出力が第2連続定格領域A2内に収まることになる。したがって、モータを連続運転した場合でも熱的問題が発生することはなく、モータを保護することができる。
また、モータ温度が閾値T3を超えた場合に第3出力制限を実施する構成としたので、モータの冷却手段に異常が発生したことを正確に判断して、第3出力制限を実施することができる。
また、車両の走行条件に応じて、車両速度を維持しうるモータ出力下限値Tを補正する構成としたので、モータの出力制限を必要最小限度に抑えることが可能になり、モータ出力を確保することができる。
なお、本発明の技術範囲は、上述した実施形態に限定されるものではなく、本発明の趣旨を逸脱しない範囲において、上述した実施形態に種々の変更を加えたものを含む。すなわち、上述した実施形態で挙げた構成等はほんの一例に過ぎず、適宜変更が可能である。
例えば、実施形態では燃料電池車両に本発明を適用したが、バッテリから電力を供給してモータを駆動する電動車両に本発明を適用することも可能である。
また、実施形態では温度センサによりモータ温度を監視して冷却手段の異常(冷却水漏れ)が発生したことを検出したが、流量計により冷却水の流量を監視して冷却水漏れが発生したことを検出してもよい。
車両の概略構成図である。 横軸に車両速度をとり縦軸にモータ出力をとったグラフである。 モータ出力制限方法のフローチャートである。 出力制限の過程を示すグラフである。
符号の説明
A2…第2連続定格領域 L2,L3…モータ出力上限値 P2,P3…交点(一致点) T…車両速度を維持しうるモータ出力下限値 10…車両 20…モータ 22…冷却手段 33…制御装置

Claims (5)

  1. 車両を駆動するモータと、前記モータを冷却する冷却手段と、
    前記冷却手段に異常が発生した場合に、前記車両の走行用に前記モータの出力制限を実施する制御装置と、を備え、
    前記制御装置は、前記モータの出力上限値と、前記車両の速度を維持しうる前記モータの出力下限値との一致点が、前記冷却手段の異常時における前記モータの連続定格領域内となるように前記モータの出力を制限することを特徴とするモータ出力制限装置。
  2. 前記制御装置は、
    前記モータの出力上限値と、前記車両の速度を維持しうる前記モータの出力下限値との一致点が、前記冷却手段の異常時における前記モータの連続定格領域内となるように前記モータの出力を制限する重度出力制限と、
    前記モータの出力上限値と、前記車両の速度を維持しうる前記モータの出力下限値との一致点が、前記冷却手段の異常時における前記モータの連続定格領域外となるように前記モータの出力を制限する軽度出力制限とを、
    切り替えて実施することを特徴とする請求項1に記載のモータ出力制限装置。
  3. 前記モータの温度に連動するモータ関連温度を測定する温度測定手段を備え、
    前記制御装置は、前記モータ関連温度が閾値を超えた場合に、前記モータの出力制限を実施することを特徴とする請求項1または請求項2に記載のモータ出力制限装置。
  4. 前記モータの回転数を検出する回転数検出手段を備え、
    前記制御装置は、前記モータの回転数が所定値を超えた場合に、前記モータの出力制限を実施することを特徴とする請求項1ないし請求項3のいずれか1項に記載のモータ出力制限装置。
  5. 前記車両の走行条件を検出する走行条件検出手段を備え、
    前記制御装置は、前記車両の走行条件に応じて、前記車両の速度を維持しうる前記モータの出力下限値を補正することを特徴とする請求項1ないし請求項4のいずれか1項に記載のモータ出力制限装置。
JP2008159009A 2008-06-18 2008-06-18 モータ出力制限装置 Expired - Fee Related JP5297100B2 (ja)

Priority Applications (1)

Application Number Priority Date Filing Date Title
JP2008159009A JP5297100B2 (ja) 2008-06-18 2008-06-18 モータ出力制限装置

Applications Claiming Priority (1)

Application Number Priority Date Filing Date Title
JP2008159009A JP5297100B2 (ja) 2008-06-18 2008-06-18 モータ出力制限装置

Publications (2)

Publication Number Publication Date
JP2010004602A true JP2010004602A (ja) 2010-01-07
JP5297100B2 JP5297100B2 (ja) 2013-09-25

Family

ID=41585838

Family Applications (1)

Application Number Title Priority Date Filing Date
JP2008159009A Expired - Fee Related JP5297100B2 (ja) 2008-06-18 2008-06-18 モータ出力制限装置

Country Status (1)

Country Link
JP (1) JP5297100B2 (ja)

Cited By (3)

* Cited by examiner, † Cited by third party
Publication number Priority date Publication date Assignee Title
CN109421529A (zh) * 2017-08-25 2019-03-05 株式会社捷太格特 四轮驱动车及四轮驱动车的控制方法
JP7157278B1 (ja) * 2022-04-27 2022-10-19 ファナック株式会社 モータモニタリング装置
CN115320379A (zh) * 2021-04-26 2022-11-11 郑州宇通客车股份有限公司 一种车辆及其电驱动冷却系统的故障预警方法和装置

Citations (5)

* Cited by examiner, † Cited by third party
Publication number Priority date Publication date Assignee Title
JPH0690507A (ja) * 1992-09-04 1994-03-29 Aisin Aw Co Ltd 電動車両
JPH1155810A (ja) * 1997-08-05 1999-02-26 Toyota Motor Corp 動力出力装置
JP2001177909A (ja) * 1999-12-16 2001-06-29 Nissan Motor Co Ltd ハイブリッド車両
JP2008104299A (ja) * 2006-10-19 2008-05-01 Nissan Motor Co Ltd モータの温度保護制御装置および方法
JP2008256313A (ja) * 2007-04-06 2008-10-23 Toyota Motor Corp 冷却システム制御装置及び回転電機システム制御装置

Patent Citations (5)

* Cited by examiner, † Cited by third party
Publication number Priority date Publication date Assignee Title
JPH0690507A (ja) * 1992-09-04 1994-03-29 Aisin Aw Co Ltd 電動車両
JPH1155810A (ja) * 1997-08-05 1999-02-26 Toyota Motor Corp 動力出力装置
JP2001177909A (ja) * 1999-12-16 2001-06-29 Nissan Motor Co Ltd ハイブリッド車両
JP2008104299A (ja) * 2006-10-19 2008-05-01 Nissan Motor Co Ltd モータの温度保護制御装置および方法
JP2008256313A (ja) * 2007-04-06 2008-10-23 Toyota Motor Corp 冷却システム制御装置及び回転電機システム制御装置

Cited By (6)

* Cited by examiner, † Cited by third party
Publication number Priority date Publication date Assignee Title
CN109421529A (zh) * 2017-08-25 2019-03-05 株式会社捷太格特 四轮驱动车及四轮驱动车的控制方法
CN109421529B (zh) * 2017-08-25 2023-01-24 株式会社捷太格特 四轮驱动车及四轮驱动车的控制方法
CN115320379A (zh) * 2021-04-26 2022-11-11 郑州宇通客车股份有限公司 一种车辆及其电驱动冷却系统的故障预警方法和装置
CN115320379B (zh) * 2021-04-26 2025-05-13 宇通客车股份有限公司 一种车辆及其电驱动冷却系统的故障预警方法和装置
JP7157278B1 (ja) * 2022-04-27 2022-10-19 ファナック株式会社 モータモニタリング装置
WO2023209859A1 (ja) * 2022-04-27 2023-11-02 ファナック株式会社 モータモニタリング装置

Also Published As

Publication number Publication date
JP5297100B2 (ja) 2013-09-25

Similar Documents

Publication Publication Date Title
JP5239198B2 (ja) 冷却システム制御装置
JP4019873B2 (ja) 舵角比制御装置
US9018878B2 (en) Derating vehicle electric drive motor and generator components
KR101405223B1 (ko) 전류 센서의 오프셋 보정 방법 및 모터 구동 시스템
US7416068B2 (en) Power take-off clutch control system
US20150303860A1 (en) Motor, Control Device, and Motor Drive Device
US7789794B2 (en) Method and system for controlling a propulsion system of an alternatively powered vehicle
US20090284202A1 (en) Motor Control Device, Control Method, and Control Program
JP7299784B2 (ja) モータ制御装置、モータ制御方法およびプログラム
KR100589100B1 (ko) 자동차용 조향 장치 및 조향비 제어 방법
CN103022975A (zh) 电动机的线圈过热防止装置以及电动机的控制装置
WO2016076142A1 (ja) 各輪独立駆動式車両の駆動制御装置
CN103222184A (zh) 用于使他励电机运行的方法和设备
JP5297100B2 (ja) モータ出力制限装置
JP2006207387A (ja) 車載エンジン制御装置
JP5924702B2 (ja) ハイブリッド車の発電制御装置およびハイブリッド車の発電制御方法
JP5760865B2 (ja) 車両用モータ温度検出装置
JP5553097B2 (ja) 回転電機システム制御装置
JP2018088768A (ja) モータ搭載自動車の駆動制御装置
JP2021005967A (ja) 駆動制御装置
JP2018159625A (ja) 異常診断装置
US20120330487A1 (en) Failure detection device for vehicle
KR102323684B1 (ko) 인휠 모터 시스템의 제어 장치 및 방법
JP2008121656A (ja) 内燃機関の冷却装置
KR101348569B1 (ko) 전동 파워스티어링 장치 및 그의 과열방지방법

Legal Events

Date Code Title Description
A621 Written request for application examination

Free format text: JAPANESE INTERMEDIATE CODE: A621

Effective date: 20101125

A977 Report on retrieval

Free format text: JAPANESE INTERMEDIATE CODE: A971007

Effective date: 20120727

A131 Notification of reasons for refusal

Free format text: JAPANESE INTERMEDIATE CODE: A131

Effective date: 20120821

A521 Request for written amendment filed

Free format text: JAPANESE INTERMEDIATE CODE: A523

Effective date: 20121015

TRDD Decision of grant or rejection written
A01 Written decision to grant a patent or to grant a registration (utility model)

Free format text: JAPANESE INTERMEDIATE CODE: A01

Effective date: 20130528

A61 First payment of annual fees (during grant procedure)

Free format text: JAPANESE INTERMEDIATE CODE: A61

Effective date: 20130614

R150 Certificate of patent or registration of utility model

Ref document number: 5297100

Country of ref document: JP

Free format text: JAPANESE INTERMEDIATE CODE: R150

Free format text: JAPANESE INTERMEDIATE CODE: R150

LAPS Cancellation because of no payment of annual fees