JP2010004043A - メタルボンディングパッドを有する構成要素組み立て装置 - Google Patents

メタルボンディングパッドを有する構成要素組み立て装置 Download PDF

Info

Publication number
JP2010004043A
JP2010004043A JP2009143784A JP2009143784A JP2010004043A JP 2010004043 A JP2010004043 A JP 2010004043A JP 2009143784 A JP2009143784 A JP 2009143784A JP 2009143784 A JP2009143784 A JP 2009143784A JP 2010004043 A JP2010004043 A JP 2010004043A
Authority
JP
Japan
Prior art keywords
component
plate
orifice
bonding pad
metal bonding
Prior art date
Legal status (The legal status is an assumption and is not a legal conclusion. Google has not performed a legal analysis and makes no representation as to the accuracy of the status listed.)
Granted
Application number
JP2009143784A
Other languages
English (en)
Other versions
JP5480539B2 (ja
Inventor
Gilbert Cavazza
ジルベール カバッツァ
Current Assignee (The listed assignees may be inaccurate. Google has not performed a legal analysis and makes no representation or warranty as to the accuracy of the list.)
S E T
Original Assignee
S E T
Priority date (The priority date is an assumption and is not a legal conclusion. Google has not performed a legal analysis and makes no representation as to the accuracy of the date listed.)
Filing date
Publication date
Application filed by S E T filed Critical S E T
Publication of JP2010004043A publication Critical patent/JP2010004043A/ja
Application granted granted Critical
Publication of JP5480539B2 publication Critical patent/JP5480539B2/ja
Active legal-status Critical Current
Anticipated expiration legal-status Critical

Links

Images

Classifications

    • HELECTRICITY
    • H05ELECTRIC TECHNIQUES NOT OTHERWISE PROVIDED FOR
    • H05KPRINTED CIRCUITS; CASINGS OR CONSTRUCTIONAL DETAILS OF ELECTRIC APPARATUS; MANUFACTURE OF ASSEMBLAGES OF ELECTRICAL COMPONENTS
    • H05K3/00Apparatus or processes for manufacturing printed circuits
    • H05K3/30Assembling printed circuits with electric components, e.g. with resistor
    • H05K3/32Assembling printed circuits with electric components, e.g. with resistor electrically connecting electric components or wires to printed circuits
    • H05K3/34Assembling printed circuits with electric components, e.g. with resistor electrically connecting electric components or wires to printed circuits by soldering
    • H05K3/3494Heating methods for reflowing of solder
    • BPERFORMING OPERATIONS; TRANSPORTING
    • B23MACHINE TOOLS; METAL-WORKING NOT OTHERWISE PROVIDED FOR
    • B23KSOLDERING OR UNSOLDERING; WELDING; CLADDING OR PLATING BY SOLDERING OR WELDING; CUTTING BY APPLYING HEAT LOCALLY, e.g. FLAME CUTTING; WORKING BY LASER BEAM
    • B23K9/00Arc welding or cutting
    • B23K9/20Stud welding
    • BPERFORMING OPERATIONS; TRANSPORTING
    • B23MACHINE TOOLS; METAL-WORKING NOT OTHERWISE PROVIDED FOR
    • B23KSOLDERING OR UNSOLDERING; WELDING; CLADDING OR PLATING BY SOLDERING OR WELDING; CUTTING BY APPLYING HEAT LOCALLY, e.g. FLAME CUTTING; WORKING BY LASER BEAM
    • B23K2101/00Articles made by soldering, welding or cutting
    • B23K2101/36Electric or electronic devices
    • B23K2101/40Semiconductor devices
    • HELECTRICITY
    • H05ELECTRIC TECHNIQUES NOT OTHERWISE PROVIDED FOR
    • H05KPRINTED CIRCUITS; CASINGS OR CONSTRUCTIONAL DETAILS OF ELECTRIC APPARATUS; MANUFACTURE OF ASSEMBLAGES OF ELECTRICAL COMPONENTS
    • H05K2203/00Indexing scheme relating to apparatus or processes for manufacturing printed circuits covered by H05K3/00
    • H05K2203/08Treatments involving gases
    • H05K2203/082Suction, e.g. for holding solder balls or components
    • HELECTRICITY
    • H05ELECTRIC TECHNIQUES NOT OTHERWISE PROVIDED FOR
    • H05KPRINTED CIRCUITS; CASINGS OR CONSTRUCTIONAL DETAILS OF ELECTRIC APPARATUS; MANUFACTURE OF ASSEMBLAGES OF ELECTRICAL COMPONENTS
    • H05K2203/00Indexing scheme relating to apparatus or processes for manufacturing printed circuits covered by H05K3/00
    • H05K2203/08Treatments involving gases
    • H05K2203/087Using a reactive gas
    • HELECTRICITY
    • H05ELECTRIC TECHNIQUES NOT OTHERWISE PROVIDED FOR
    • H05KPRINTED CIRCUITS; CASINGS OR CONSTRUCTIONAL DETAILS OF ELECTRIC APPARATUS; MANUFACTURE OF ASSEMBLAGES OF ELECTRICAL COMPONENTS
    • H05K2203/00Indexing scheme relating to apparatus or processes for manufacturing printed circuits covered by H05K3/00
    • H05K2203/15Position of the PCB during processing
    • H05K2203/1581Treating the backside of the PCB, e.g. for heating during soldering or providing a liquid coating on the backside
    • H10W72/016
    • H10W72/07236
    • YGENERAL TAGGING OF NEW TECHNOLOGICAL DEVELOPMENTS; GENERAL TAGGING OF CROSS-SECTIONAL TECHNOLOGIES SPANNING OVER SEVERAL SECTIONS OF THE IPC; TECHNICAL SUBJECTS COVERED BY FORMER USPC CROSS-REFERENCE ART COLLECTIONS [XRACs] AND DIGESTS
    • Y10TECHNICAL SUBJECTS COVERED BY FORMER USPC
    • Y10TTECHNICAL SUBJECTS COVERED BY FORMER US CLASSIFICATION
    • Y10T29/00Metal working
    • Y10T29/53Means to assemble or disassemble
    • Y10T29/5313Means to assemble electrical device
    • Y10T29/53174Means to fasten electrical component to wiring board, base, or substrate

Landscapes

  • Engineering & Computer Science (AREA)
  • Plasma & Fusion (AREA)
  • Mechanical Engineering (AREA)
  • Manufacturing & Machinery (AREA)
  • Microelectronics & Electronic Packaging (AREA)
  • Physics & Mathematics (AREA)
  • Physical Or Chemical Processes And Apparatus (AREA)
  • Wire Bonding (AREA)
  • Resistance Welding (AREA)
  • Connections Effected By Soldering, Adhesion, Or Permanent Deformation (AREA)
  • Arc Welding In General (AREA)
  • Butt Welding And Welding Of Specific Article (AREA)
  • Gasket Seals (AREA)
  • Piezo-Electric Or Mechanical Vibrators, Or Delay Or Filter Circuits (AREA)
  • Casings For Electric Apparatus (AREA)

Abstract

【課題】金属製パッドの接合時にパッドの金属接触面が酸化しないようにしたメタルボンディングパッドを有する構成要素組み立て装置を提供する。
【解決手段】組立装置1はプレート2および3からなり、これらのプレート2および3は相互に相対的に移動でき、それぞれ金属製構成要素4および5を保持し、金属製構成要素4および5が接触すると、金属製構成要素4および5の間にこれらを囲む平らな室18を残す。この平らな室18は還元ガス状流体G1で飽和できる。
【選択図】図4

Description

本発明はメタルボンティングパッドを有する構成要素、特にマイクロエレクトロニック(超小型電子)構成要素を組み立てる装置に関する。
従来例の説明
構成要素を、それらの金属製パッドを接合して組み立てるためこのパッドの金属接触面は酸化しないことが必須である。
そのような接触面は周囲の空気からの酸素と接触して自然に酸化し、従って、接合前に既に酸化している。こららは、又、接合中加熱されるあいだ、かなり酸化し、この接合の質を落とす。
本発明の目的はこの欠点を解消することである。
この目的のため、本発明によれば、メタルボンディングパッドを有する構成要素、特にマイクロエレクトロニック構成要素を組み立てる装置は、相互に対面し、相互に相対的且つ平行に移動して、接近および離間する第1プレートと第2プレートとからなり、これらの第1プレートと第2プレートとはそれぞれ、少なくとも1つの第1のそのような構成要素(メタルボンディングパッドを有する構成要素)と、少なくとも1つの第2のそのような構成要素(メタルボンディングパッドを有する構成要素)とを有し、上記の第1および第2構成要素をそれぞれ加熱するための加熱手段を備え、上記の構成要素は相互に対面し、それぞれのメタルパッドは上記の第1プレートおよび第2プレートを接近させることにより相互に接触できるものにおいて、
− 上記の第1プレートは上記の第1構成要素を囲む第1外側領域を有し、少なくとも
・ 上記の第1構成要素に対し半径方向に近く、還元ガス状の流体が供給され得る第1オリフィスと、
・上記の第1構成要素に対し半径方向に離れ、不活性ガス状の流体が供給され得る第2オリフィスと、
・ 上記の第1オリフィスと上記の第2オリフィスとの間に半径方向に置かれ、吸引手段に連結され得る第3オリフィスとを備え、
− 上記の第2プレートは上記の第2構成要素を囲む第2外側領域を有し、上記の第1プレートの少なくとも全てを覆うことができ、
− 上記の第1および第2プレートが相互に接触すると、上記の第1プレートと第2プレートとはそれらの間に上記の第1および第2構成要素とを囲む平らな室を残すことを特徴とする組立装置である。
よって、上記の構成要素が相互に接触すると、第1オリフィスは還元ガス混合物、例えば、酸と窒素とをベースとする混合物を上記の平らな室に噴射して上記の構成要素を囲む空間を飽和し、これにより、一方では、上記の金属接触面を還元し、他方では、大気からの酸素による酸化からこれらを保護することができる。更に、第2オリフィスは不活性ガス、例えば、窒素を平らな室の周囲の空間に噴射して障害物を形成し、空気が上記の平らな室に侵入するのを防ぐ。このように、平らな室内を酸素の無いガス状環境に維持することにより、上記の金属接触面の酸化は防げる。最後に、こうして平らな室に噴射される還元ガス混合物と不活性ガスは、第1と第2オリフィスとの間の第3オリフィスを介して吸い出される。こうして平らな室のガス混合物は補充され、上記の室に酸素が無いことが保証される。還元ガス混合物を吸引することにより、又、上記の平らな室から上記の混合物が漏洩することを防ぎ、こうして組立装置は操作者の健康を害することなく使用できる。
この目的のため、上記の第3オリフィスを介して吸入される上記のガスの流量率は上記の平らな室に導入されるガスの流量率の合計未満であることが望ましい。よって、第1および第2オリフィスを介して噴射された、平らな室のガス状流体の圧力は大気圧より少なくとも僅かに上であり、これにより空気が平らな室の周囲を介して侵入するのを防ぐ。
上記の第1、第2および第3オリフィスの各々が上記の第1構成要素を囲むリングの形態を採り、これらのリングが同心であることが望ましい。
よって、ガス状流体は平らな室に均一に噴射され、そこから非常に有効に吸い出される。
上記のプレート同士間のガス状環境の非酸化の質を更に向上させるため、上記の第1プレートは低い流量率の不活性ガスを噴射できる第4オリフィスも含み、不活性ガスで上記の第1構成要素を囲む領域を飽和させることができ、酸素を保持する事もでき得る。
上記の第2プレートは、上記の第2外側領域の周囲に、上記の第1および第2構成要素が相互に接触する際上記の平らな室の周囲を少なくとも部分的にシールできる手段を保持するのが好ましい。
従って、上記のシール手段は、本発明の組立装置を囲む大気に対する障害となる追加の障壁を創る。更に、平らな室の周囲が少なくとも部分的にシールされているので、室内の圧力はかなり増加し、大気からの酸素が平らな室に侵入するのを防いでいる。
上記のシール手段は上記の第2プレートで捕らえられている硬性リングにより形成されていて、上記の第1および第2プレートの相対的移動に対し平行に制限的に摺動自在である。そして上記の硬性リングは、このリングを上記の第2プレートに後退させることのできる作動機のロッドに着脱自在に取り付けられているのが望ましい。
本発明による一つの実施例における組立装置であって、この装置の第1および第2プレートが相互から離間している際の略横断面図である。 本発明の装置の第1プレートの図1の矢印IIに沿う略平面図である。 シール手段の硬性リングが第1プレートに接触していて、第1および第2構成要素が相互から離間している際の本発明の装置の図1に対応する図である。 第1および第2構成要素が相互に接触している図3に対応する図である。 上記の2つのプレートが離間している際の図1のシール手段の要部拡大図である。 第1および第2プレートが接近している際の図5に対応する図である。
添付図面の図により本発明がどのように実施されるかが明確に理解される。これら図中、同一符号は同一要素を示す。
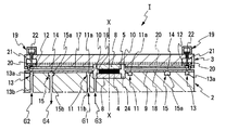
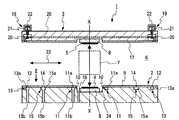
図1、3および4に示されているメタルボンディングパッドを有する構成要素の組立装置(1)は、相互に対面し、例えば、円形状の第1プレート(2)と第2プレート(3)とからなり、これらは、それぞれメタルボンディングパッドを備えた第1構成要素(4)と第2構成要素(5)とを保持する。これらの図では、上記のメタルボンディングパッドは図示されていない。
上記の2つのプレート(2)と(3)とは軸X−Xに沿って相互に相対的に且つ平行に移動でき、以下に示す2つの位置のうちの1つを採ることができる。
− 第1プレート2および第2プレート3が相互から離間する離間位置(図1)。この位置では、マイクロスコープ(7)が、2つのプレート(2)と(3)との間に形成された内部空間(6)に挿入され、第1構成要素(4)と第2構成要素(5)とを正確に一直線上に整列できる。そのような整列は例えば第2プレート(3)を、第1プレート(2)に対し平行な面を形成する2つの直交方向(このうちの1つは矢印(23)により象徴的に示されている)に沿って第2プレート3を移動させることにより行われる位置と、
− 第1構成要素(4)および第2構成要素(5)の金属製パッドが相互に接触して、接合準備態勢にある接合位置(図4)。
更に、プレート(2)と(3)の各々は組み立てられる構成要素の下方に置かれている加熱手段を含む。この加熱手段は構成要素が載っている加熱プレート(8)からなる。
本発明によれば、図1〜図4に示されているように、第1プレート(2)は、又、第1構成要素(4)を囲む第1外側領域(9)を含む。
上記の第1外側領域(9)は
− 半径方向で第1構成要素(4)に近い第1オリフィス(10)であって、第1プレート(2)と第2プレート(3)とが上記の接合位置(図4)を採ると第1供給手段(11)により、(図4中矢印G1で象徴的に示されている)還元ガスを供給でき、第1構成要素(4)を保持する加熱プレート(8)を囲む環状空間(24)に開口する第1オリフィス(10)と、
− 半径方向で第1構成要素(4)から離れている第2オリフィス(12)であって、2つのプレート(2)と(3)とが上記の接合位置にある際、第2供給手段(13)により、(図4中矢印G2で象徴的に示されている)不活性ガスを供給でき、第1プレート(2)の第1外側領域(9)の表面に開口する第2オリフィス(12)と、
− 第1外側領域(9)の表面上に、第1オリフィス(10)と第2オリフィス(12)との間で半径方向に置かれて、吸引手段(15)に連結されている第3オリフィス(14)と、
− 第1オリフィス(10)と、第1構成要素(4)を支持する加熱プレート(8)との間に挿入され、上記の環状空間(24)を飽和できる(図4中矢印G3により象徴的に示されている)低い流量率の不活性ガスを噴射できる第4オリフィス(16)とを
備える。
第1、第2および第3オリフィス(10)、(12)および(14)は第1構成要素(4)を囲むリングの形態を採り、同心である。
図1〜図4に示されているように、第1供給手段(11)と第2供給手段(13)とは、第1プレート(2)に収容され、供給路(それぞれ(11b)と(13b))とを介してガスが供給される環状のガス室(それぞれ(11a)および(13a))を備えている。第1供給手段(11)と第2供給手段(13)のガス室からの流出オリフィスは、それぞれ、第1オリフィス(10)と第2オリフィス(12)とに対応する。
更に、吸引手段(15)は、第1プレート(12)内に設けられ、排出路(15b)に連結されている環状ガス回収領域(15a)からなる。
本発明によれば、第2プレート(3)は第2構成要素(5)を囲む第2外側領域(17)を含み、接合位置(図4)では第1プレート(2)を完全に覆っている。
図4に示されているように、接合位置では、第1プレート(2)と第2プレート(3)とはそれらの間に平らな室(18)を残すのが望ましく、この室(18)はそれらの金属製パッドを介して接触している第1構成要素(4)と第2構成要素(5)とを囲んでいる。
図示の本発明の実施例によれば、第2プレート(3)は、接合位置で上記の平らな室の周囲をシールできるシール手段(19)を保持する。
図1、3および4に示されているように、シール手段(19)は、第2プレート(3)で捕らえられ、2つのプレート(2)と(3)との相対的移動と平行に制限的に摺動自在である硬性リングにより形成されている。
より正確には、図5および図6に示されているように、硬性リング(20)は第2プレート(3)の上周部で直径方向に対向する位置に置かれている第1および第2アクチュエータ(22)のロッド(21)に着脱自在に取り付けられている。これらのアクチュエータ(22)は硬性リング(20)を第2プレート(3)に後退できる。
よって、接合位置から離間位置までのプレート(2)と(3)との相対的離間移動中は、2つのアクチュエータ(22)の各々のロッド(21)は後退し、硬性リング(20)は第2プレート(3)内に入る(図1)。
その反対に、2つのプレート(2)と(3)とが接合位置に到達するため相対的に接近移動中は、2つのアクチュエータ(22)のロッド(21)は伸長し、硬性リング(20)は重力により第2プレートから離れる。
図3および図4に示されているように、第1プレート(2)の第1外側領域(9)と接触すると、硬性リング(20)は、2つのプレート(2)と(3)とが接合位置に到達する前(図4)に第2プレート内に僅かに後退する(図3)。
接合位置に到達すると、硬性リング(20)は平らな室(18)の周囲を少なくとも部分的にシールし、還元ガス(G1)、不活性ガス(G2)および不活性飽和ガス(G3)は、それぞれ、第1オリフィス(10)、第2オリフィス(12)および第4オリフィス(16)を介して平らな室(18)に噴射できる。

Claims (8)

  1. メタルボンディングパッドを有する構成要素、特にマイクロエレクトロニック構成要素の組立装置であって、その装置は、相互に対面し、相互に相対的且つ平行に移動して、接近および離間する第1プレートと第2プレートとからなり、これらの第1プレートと第2プレートとはそれぞれ、少なくとも1つの第1構成要素と、少なくとも1つの第2構成要素とを有し、上記の第1および第2構成要素をそれぞれ加熱するための加熱手段を備え、上記の構成要素は相互に対面し、それぞれの金属製パッドは上記の第1プレートおよび第2プレートを接近させることにより相互に接触できるに構成してあり、
    − 上記の第1プレートは上記の第1構成要素を囲む第1外側領域を有し、少なくとも
    ・ 上記の第1構成要素に対し半径方向に近く、還元ガス状流体が供給され得る第1オリフィスと、
    ・ 上記の第1構成要素から半径方向に離れ、不活性ガス状流体が供給され得る第2オリフィスと、
    ・ 上記の第1オリフィスと上記の第2オリフィスとの間に半径方向に置かれ、吸引手段に連結され得る第3オリフィスとを備え、
    − 上記の第2プレートは上記の第2構成要素を囲む第2外側領域を有し、上記第1プレートの少なくとも全てを覆うことができ、
    − 上記の第1および第2プレートが相互に接触すると、上記の第1プレートと第2プレートとはそれらの間に上記の第1および第2構成要素を囲む平らな室を残すことを特徴とするメタルボンディングパッドを有する構成要素組立装置。
  2. 上記の第1、第2および第3オリフィスの各々が上記の第1構成要素を囲むリングの形態を採る請求項1に記載のメタルボンディングパッドを有する構成要素組立装置。
  3. 上記の第1、第2および第3オリフィスが同心である請求項2に記載のメタルボンディングパッドを有する構成要素組立装置。
  4. 上記の第1プレートは低い流量率の不活性飽和ガスを上記の第1構成要素の周りに噴射できる第4オリフィスを含む請求項1に記載のメタルボンディングパッドを有する構成要素組立装置。
  5. 上記の第3オリフィスを介して吸入されるガスの流量率は上記の平らな室に導入されるガスの流量率の合計未満である請求項1に記載のメタルボンディングパッドを有する構成要素組立装置。
  6. 上記の第2プレートが、上記の第2外側領域の周囲に、上記の第1および第2構成要素が相互に接触する際上記の平らな室の周囲を少なくとも部分的にシールできる手段を保持する請求項1に記載のメタルボンディングパッドを有する構成要素組立装置。
  7. 上記のシール手段は上記の第2プレートで捕らえられている硬性リングにより形成されていて、上記の第1および第2プレートの相対的移動に対し平行に制限的に摺動自在である請求項6に記載のメタルボンディングパッドを有する構成要素組立装置。
  8. 上記の硬性リングは、上記のリングを上記の第2プレートに後退させることのできるアクチュエータのロッドに着脱自在に取り付けられている請求項7に記載のメタルボンディングパッドを有する構成要素組立装置。
JP2009143784A 2008-06-18 2009-06-17 メタルボンディングパッドを有する構成要素組み立て装置 Active JP5480539B2 (ja)

Applications Claiming Priority (2)

Application Number Priority Date Filing Date Title
FR0803397A FR2932945B1 (fr) 2008-06-18 2008-06-18 Dispositif pour l'assemblage de composants a plots de soudure metalliques
FR0803397 2008-06-18

Publications (2)

Publication Number Publication Date
JP2010004043A true JP2010004043A (ja) 2010-01-07
JP5480539B2 JP5480539B2 (ja) 2014-04-23

Family

ID=40263380

Family Applications (1)

Application Number Title Priority Date Filing Date
JP2009143784A Active JP5480539B2 (ja) 2008-06-18 2009-06-17 メタルボンディングパッドを有する構成要素組み立て装置

Country Status (6)

Country Link
US (1) US8302839B2 (ja)
EP (1) EP2136609B1 (ja)
JP (1) JP5480539B2 (ja)
AT (1) ATE550918T1 (ja)
DK (1) DK2136609T3 (ja)
FR (1) FR2932945B1 (ja)

Families Citing this family (3)

* Cited by examiner, † Cited by third party
Publication number Priority date Publication date Assignee Title
US10861820B2 (en) 2018-02-14 2020-12-08 Kulicke And Soffa Industries, Inc. Methods of bonding semiconductor elements to a substrate, including use of a reducing gas, and related bonding machines
US11205633B2 (en) 2019-01-09 2021-12-21 Kulicke And Soffa Industries, Inc. Methods of bonding of semiconductor elements to substrates, and related bonding systems
US11515286B2 (en) 2019-01-09 2022-11-29 Kulicke And Soffa Industries, Inc. Methods of bonding of semiconductor elements to substrates, and related bonding systems

Citations (5)

* Cited by examiner, † Cited by third party
Publication number Priority date Publication date Assignee Title
JPH06252183A (ja) * 1993-03-01 1994-09-09 Nec Corp 半導体素子実装ステージ
JP2000012630A (ja) * 1998-06-26 2000-01-14 Matsushita Electric Ind Co Ltd ワークの熱圧着装置および熱圧着方法
JP2002210555A (ja) * 2001-01-18 2002-07-30 Fujitsu Ltd はんだ接合装置
JP2003318229A (ja) * 2002-04-26 2003-11-07 Toray Eng Co Ltd 実装方法および実装装置
JP2007227663A (ja) * 2006-02-23 2007-09-06 Sharp Corp 半田付け実装構造の製造方法および製造装置

Family Cites Families (2)

* Cited by examiner, † Cited by third party
Publication number Priority date Publication date Assignee Title
US6464795B1 (en) * 1999-05-21 2002-10-15 Applied Materials, Inc. Substrate support member for a processing chamber
FR2864419B1 (fr) * 2003-12-19 2006-04-28 Hispano Suiza Sa Procede pour braser un composant electronique sur une carte electronique, procede de reparation de la carte et installation pour la mise en oeuvre du procede

Patent Citations (5)

* Cited by examiner, † Cited by third party
Publication number Priority date Publication date Assignee Title
JPH06252183A (ja) * 1993-03-01 1994-09-09 Nec Corp 半導体素子実装ステージ
JP2000012630A (ja) * 1998-06-26 2000-01-14 Matsushita Electric Ind Co Ltd ワークの熱圧着装置および熱圧着方法
JP2002210555A (ja) * 2001-01-18 2002-07-30 Fujitsu Ltd はんだ接合装置
JP2003318229A (ja) * 2002-04-26 2003-11-07 Toray Eng Co Ltd 実装方法および実装装置
JP2007227663A (ja) * 2006-02-23 2007-09-06 Sharp Corp 半田付け実装構造の製造方法および製造装置

Also Published As

Publication number Publication date
FR2932945A1 (fr) 2009-12-25
DK2136609T3 (da) 2012-05-14
US20090313816A1 (en) 2009-12-24
ATE550918T1 (de) 2012-04-15
EP2136609B1 (fr) 2012-03-21
EP2136609A1 (fr) 2009-12-23
JP5480539B2 (ja) 2014-04-23
FR2932945B1 (fr) 2010-09-03
US8302839B2 (en) 2012-11-06

Similar Documents

Publication Publication Date Title
JP5076108B2 (ja) 溶接リングの仮付け装置、及び溶接リングの仮付け方法
CN105772942B (zh) 一种激光焊缝同轴吹气保护装置及应用方法
JP5480539B2 (ja) メタルボンディングパッドを有する構成要素組み立て装置
JP5849804B2 (ja) 二次電池の溶接装置および二次電池の製造方法
CN107580534B (zh) 用于真空激光焊接至少两部分式的工件的方法
JP2012134121A (ja) 電磁接触器、電磁接触器のガス封止方法及び電磁接触器の製造方法
JP7168430B2 (ja) レーザ溶接装置
US20170326675A1 (en) Protective gas mouthpiece, connection device and connection method
JP2016087657A (ja) 鋳造用金型
TWI588922B (zh) 接合方法與接合裝置
KR101243392B1 (ko) 강화 백금제 중공관과 백금제 플랜지의 기밀 접합 방법
JP6199578B2 (ja) 流路部材、これを用いた真空吸着装置および冷却装置ならびに流路部材の製造方法
KR101890064B1 (ko) 마찰교반 점용접장치
JP2011068532A (ja) 溶融金属の充填装置
KR102023987B1 (ko) 관이음, 유체 제어 기기, 유체 제어 장치, 반도체 제조 장치, 및 관이음의 제조 방법
JP4631796B2 (ja) 電子部品の熱圧着装置
JP6536339B2 (ja) 溶接トーチ、溶接装置、及び、溶接製品の製造方法
JP6268634B2 (ja) 部品実装装置
TW202312299A (zh) 接合裝置
JP2013154367A (ja) 真空構造体の製造方法および真空構造体
JP2008171915A (ja) 部品実装装置用ヘッド
JP2011108990A (ja) ボンディング装置
KR20170049709A (ko) 용접 토치용 흄 집진 노즐
TWI572259B (zh) 半導體基板之真空吸附裝置
JP5376303B2 (ja) 溶融金属の供給部材、それを用いた溶融金属の塗布装置及び被接合材の接合装置並びに被接合材の接合方法

Legal Events

Date Code Title Description
A621 Written request for application examination

Free format text: JAPANESE INTERMEDIATE CODE: A621

Effective date: 20120508

A977 Report on retrieval

Free format text: JAPANESE INTERMEDIATE CODE: A971007

Effective date: 20131025

A131 Notification of reasons for refusal

Free format text: JAPANESE INTERMEDIATE CODE: A131

Effective date: 20131105

A521 Request for written amendment filed

Free format text: JAPANESE INTERMEDIATE CODE: A523

Effective date: 20131216

TRDD Decision of grant or rejection written
A01 Written decision to grant a patent or to grant a registration (utility model)

Free format text: JAPANESE INTERMEDIATE CODE: A01

Effective date: 20140121

A61 First payment of annual fees (during grant procedure)

Free format text: JAPANESE INTERMEDIATE CODE: A61

Effective date: 20140214

R150 Certificate of patent or registration of utility model

Ref document number: 5480539

Country of ref document: JP

Free format text: JAPANESE INTERMEDIATE CODE: R150

R250 Receipt of annual fees

Free format text: JAPANESE INTERMEDIATE CODE: R250

R250 Receipt of annual fees

Free format text: JAPANESE INTERMEDIATE CODE: R250

R250 Receipt of annual fees

Free format text: JAPANESE INTERMEDIATE CODE: R250

R250 Receipt of annual fees

Free format text: JAPANESE INTERMEDIATE CODE: R250

R250 Receipt of annual fees

Free format text: JAPANESE INTERMEDIATE CODE: R250

R250 Receipt of annual fees

Free format text: JAPANESE INTERMEDIATE CODE: R250

R250 Receipt of annual fees

Free format text: JAPANESE INTERMEDIATE CODE: R250

R250 Receipt of annual fees

Free format text: JAPANESE INTERMEDIATE CODE: R250

R250 Receipt of annual fees

Free format text: JAPANESE INTERMEDIATE CODE: R250