JP2010003858A - 半導体装置 - Google Patents

半導体装置 Download PDF

Info

Publication number
JP2010003858A
JP2010003858A JP2008161144A JP2008161144A JP2010003858A JP 2010003858 A JP2010003858 A JP 2010003858A JP 2008161144 A JP2008161144 A JP 2008161144A JP 2008161144 A JP2008161144 A JP 2008161144A JP 2010003858 A JP2010003858 A JP 2010003858A
Authority
JP
Japan
Prior art keywords
lead
insulating substrate
semiconductor device
patterned insulating
semiconductor chip
Prior art date
Legal status (The legal status is an assumption and is not a legal conclusion. Google has not performed a legal analysis and makes no representation as to the accuracy of the status listed.)
Granted
Application number
JP2008161144A
Other languages
English (en)
Other versions
JP4614107B2 (ja
Inventor
Jiro Shinkai
次郎 新開
Current Assignee (The listed assignees may be inaccurate. Google has not performed a legal analysis and makes no representation or warranty as to the accuracy of the list.)
Sumitomo Electric Industries Ltd
Original Assignee
Sumitomo Electric Industries Ltd
Priority date (The priority date is an assumption and is not a legal conclusion. Google has not performed a legal analysis and makes no representation as to the accuracy of the date listed.)
Filing date
Publication date
Application filed by Sumitomo Electric Industries Ltd filed Critical Sumitomo Electric Industries Ltd
Priority to JP2008161144A priority Critical patent/JP4614107B2/ja
Publication of JP2010003858A publication Critical patent/JP2010003858A/ja
Application granted granted Critical
Publication of JP4614107B2 publication Critical patent/JP4614107B2/ja
Expired - Fee Related legal-status Critical Current
Anticipated expiration legal-status Critical

Links

Images

Classifications

    • H10W72/60
    • H10W72/07336
    • H10W72/07337
    • H10W72/5524
    • H10W72/652
    • H10W74/00

Landscapes

  • Lead Frames For Integrated Circuits (AREA)

Abstract

【課題】回路パターン及び半導体の電極とリードとの接合に加熱や局所的な高温を発生させることがないことで、信頼性を劣化させることがなく、また放熱板に電位を生じさせることがないことで、放熱性が良く、更に製造効率の良い半導体装置の提供を課題とする。
【解決手段】パターン付絶縁基板10及び半導体チップ20とリード40との接合に超音波接合を用いることで、加熱や局所的発熱を発生させることがなく、信頼性を劣化させることがない半導体装置1とすることができる。またリード40を放熱板30に接触させないことで、放熱板30に電位を生じさせず、放熱性の良い半導体装置1とすることができる。更に突出部10aに対してリード40の一部を挟みつけることで、パターン付絶縁基板10及び半導体チップ20とリード40との接合を容易化でき、製造効率を向上させることができる半導体装置1とすることができる。
【選択図】 図1

Description

本発明は、電力用の半導体チップを搭載した半導体装置に関する。
電力用半導体デバイスが形成された半導体チップを搭載した半導体装置は、樹脂モールドされ、樹脂封止型の半導体装置として各種電子機器に内蔵されている。
電力用半導体デバイスは、大電力を消費することから、半導体装置の製造時及び使用時に発生する熱応力や放熱性に対する対策が重要な課題となる。
従来、樹脂封止型の半導体装置として、半導体の電極とリードフレームとの接合にアルミワイヤーを用いず、リードフレームを直接固着させるものがあった。そのようなものとして、下記特許文献1がある。
下記特許文献1は、電力用半導体装置に関する発明で、半導体の電極にリードフレームを直接固着させ、リードフレームと、半導体素子を載置する基板としての金属ブロックと、半導体素子とをモールド樹脂で一体成形する技術が開示されている。
特開2003−264265号公報
上記特許文献1に示す発明では、リードフレームの接合部での疲労破壊が生じにくいというメリットがある。
しかし、半導体の電極とリードフレームとの接合にハンダ若しくは溶接を用いる構成としてある。よってハンダを用いる場合には、加熱工程を繰り返すことにより半導体チップの熱履歴が多くなり、半導体チップに悪影響を与え、半導体装置の信頼性を劣化させるという問題があった。また溶接を用いる場合には、固着箇所に局所的な高温を加えることにより半導体チップに熱応力が発生し、半導体チップに悪影響を与え、半導体装置の信頼性を劣化させるという問題があった。
また金属ブロックを筐体から露出させる場合には、ヒートシンクに電位が生じないようにヒートシンク裏面に絶縁性樹脂シートを敷くため、熱伝導率が悪く、放熱性が悪いという問題があった。
そこで本発明は上記従来における問題点を解決し、回路パターン及び半導体の電極とリードとの接合に加熱や局所的な高温を発生させることがないことで、信頼性を劣化させることがなく、また放熱板に電位を生じさせることがないことで放熱性が良く、更に製造効率の良い半導体装置の提供を課題とする。
本発明の半導体装置は、回路パターンを備えたパターン付絶縁基板と、該パターン付絶縁基板に搭載される半導体チップと、前記パターン付絶縁基板の下面に取り付けられる放熱板と、前記パターン付絶縁基板及び前記半導体チップに接合されるリードとを備えた半導体装置であって、前記パターン付絶縁基板の一部を回路パターンを設けることなく且つ前記放熱板より突出させてなる突出部とすると共に、該突出部に対して前記リードの一部を挟みつけることで該リードを保持してあることを第1の特徴としている。
上記本発明の第1の特徴によれば、回路パターンを備えたパターン付絶縁基板と、該パターン付絶縁基板に搭載される半導体チップと、前記パターン付絶縁基板の下面に取り付けられる放熱板と、前記パターン付絶縁基板及び前記半導体チップに接合されるリードとを備えた半導体装置であって、前記パターン付絶縁基板の一部を回路パターンを設けることなく且つ前記放熱板より突出させてなる突出部とすると共に、該突出部に対して前記リードの一部を挟みつけることで該リードを保持してある構成としてあることから、パターン付絶縁基板にリードを仮止め固定することができる。よって特に製造時において、リードのぐらつきを防止でき、パターン付絶縁基板及び半導体チップに対するリードの接合位置を位置決め容易なものとすることができる。従ってパターン付絶縁基板及び半導体チップとリードとの接合を容易化でき、製造効率を向上させることができる。また半導体装置の強度を向上させることができる。
また回路パターンを設けることなく且つ放熱板より突出させてなる突出部に対してリードの一部を挟みつけることで、リードが放熱板に接触することがない。よって放熱板に電位を生じさせることがない。従って放熱板裏面に絶縁性樹脂シートを敷く必要がなく、放熱性の良い半導体装置とすることができると共に、コスト面に配慮した半導体装置とすることができる。
また本発明の半導体装置は、上記本発明の第1の特徴に加えて、リードは複数本からなり、該複数本のリードのうちの少なくとも1本について、そのリードの一部をパターン付絶縁基板の突出部に挟みつけてあることを第2の特徴としている。
上記本発明の第2の特徴によれば、上記本発明の第1の特徴による作用効果に加えて、リードは複数本からなり、該複数本のリードのうちの少なくとも1本について、そのリードの一部をパターン付絶縁基板の突出部に挟みつけてある構成としてあることから、半導体装置の製造時において複数本からなるリードは相互に連結されて一体化されているところ、リードのうちの少なくとも1本を突出部に挟みつけることで、パターン付絶縁基板に複数本からなるリードを仮止め固定することができる。よって特に製造時において、複数本からなるリードのぐらつきを防止でき、パターン付絶縁基板及び半導体チップに対する複数本からなるリードの接合位置を位置決め容易なものとすることができる。従ってパターン付絶縁基板及び半導体チップと複数本からなるリードとの接合を容易化でき、製造効率を向上させることができる。
また本発明の半導体装置は、上記本発明の第1又は第2の特徴に加えて、リードは3本からなり、第1のリードはパターン付絶縁基板の回路パターンに接合され、第2及び第3のリードは半導体チップの電極面に接合されており、且つパターン付絶縁基板の突出部に対してそれぞれのリードの一部を挟みつけてあることを第3の特徴としている。
上記本発明の第3の特徴によれば、上記本発明の第1又は第2の特徴による作用効果に加えて、リードは3本からなり、第1のリードはパターン付絶縁基板の回路パターンに接合され、第2及び第3のリードは半導体チップの電極面に接合されており、且つパターン付絶縁基板の突出部に対してそれぞれのリードの一部を挟みつけてある構成としてあることから、リードを3本とすることで、3極の端子を構成することができる。よってサイリスタ等の大電力パワーデバイスとして有用な半導体装置とすることができる。また3本のそれぞれのリードの一部を突出部に対して挟みつけることで、パターン付絶縁基板に3本全てのリードを仮止め固定することができる。よって特に製造時において、リードのぐらつきを一段と防止でき、パターン付絶縁基板及び半導体チップに対するリードの接合位置を一段と位置決め容易なものとすることができる。従ってパターン付絶縁基板及び半導体チップとリードとの接合を一段と容易化でき、製造効率を向上させることができる。また半導体装置の強度を一段と向上させることができる。
また本発明の半導体装置は、上記本発明の第1〜第3の特徴に加えて、パターン付絶縁基板及び半導体チップに対するリードの接合部分は、通常の0.3mm〜0.6mmリードフレーム厚に対して薄肉に形成してあることを第4の特徴としている。
上記本発明の第4の特徴によれば、上記本発明の第1〜第3の特徴による作用効果に加えて、パターン付絶縁基板及び半導体チップに対するリードの接合部分は、通常の0.3mm〜0.6mmリードフレーム厚に対して薄肉に形成してある構成としてあることから、パターン付絶縁基板及び半導体チップとリードとの接合を容易化することができる。
また本発明の半導体装置は、上記本発明の第1〜第4の特徴に加えて、パターン付絶縁基板及び半導体チップとリードとの接合は、超音波接合によりなされていることを第5の特徴としている。
上記本発明の第5の特徴によれば、上記本発明の第1〜第4の特徴による作用効果に加えて、パターン付絶縁基板及び半導体チップとリードとの接合は、超音波接合によりなされている構成としてあることから、パターン付絶縁基板及び半導体チップとリードとの接合に加熱や局所的発熱を発生させることがない。よってパターン付絶縁基板及び半導体チップに熱履歴や熱応力を生じさせることがない。従って熱履歴や熱応力に伴う半導体装置の信頼性劣化を確実に防止することができる。
また本発明の半導体装置は、上記本発明の第1〜第5の特徴に加えて、同種又は異種のものからなる複数個の半導体チップが1つのパターン付絶縁基板上に搭載されていることを第6の特徴としている。
上記本発明の第6の特徴によれば、上記本発明の第1〜第5の特徴による作用効果に加えて、同種又は異種のものからなる複数個の半導体チップが1つのパターン付絶縁基板上に搭載されている構成としてあることから、複数個の半導体チップを1つのモジュールとする、いわゆるマルチチップモジュールを構成することができる。よって半導体装置の高性能化を図ることができる。
また本発明の半導体装置は、上記本発明の第1〜第6の特徴に加えて、パターン付絶縁基板と、半導体チップと、放熱板と、リードとが樹脂によりモールドされていることを第7の特徴としている。
上記本発明の第7の特徴によれば、上記本発明の第1〜第6の特徴による作用効果に加えて、パターン付絶縁基板と、半導体チップと、放熱板と、リードとが樹脂によりモールドされている構成としてあることから、半導体装置を構成する各部品を光、水、ほこり等の外界の影響から遮断し、保護できる樹脂封止型の半導体装置とすることができる。
本発明の半導体装置によれば、回路パターン及び半導体の電極とリードとの接合に加熱や局所的な高温を発生させることがないことで、信頼性を劣化させることがない半導体装置とすることができる。また放熱板に電位を生じさせることがないので、放熱性の良い半導体装置とすることができる。更にパターン付絶縁基板及び半導体チップとリードとの接合を容易化できることで、製造効率の良い半導体装置とすることができる。
以下の図面を参照して、本発明の実施の形態に係る半導体装置を説明し、本発明の理解に供する。しかし以下の説明は本発明の実施形態であって、特許請求の範囲に記載の内容を限定するものではない。
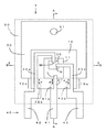
図1は本発明の第1の実施形態に係る半導体装置の平面図である。図2は図1の断面図で、(a)はA−A線における拡大断面図、(b)はB−B線における拡大断面図である。図3は本発明の第1の実施形態に係る半導体装置の製造工程を説明する図で、パターン付絶縁基板と半導体チップと放熱板とを一体化させた状態でリードをパターン付絶縁基板に挟みつけた状態を示す平面図である。図4は本発明の第2の実施形態に係る半導体装置の平面図である。
まず図1〜図3を参照して、第1の実施形態に係る半導体装置1を説明する。
前記半導体装置1は、電力用の半導体チップを搭載した樹脂封止型の半導体装置である。
この半導体装置1は、図1に示すように、パターン付絶縁基板10と、半導体チップ20と、放熱板30と、リード40と、樹脂50とで構成される。
前記パターン付絶縁基板10は、図2に示すように、基板の上面に上面回路パターン11を備え、基板の下面に下面回路パターン12を備える絶縁基板である。
また図1、図2(a)に示すように、パターン付絶縁基板10の一部を、回路パターンを設けることなく且つ放熱板30より突出させてなる突出部10aとしてある。
なおパターン付絶縁基板10は、AlN、SiC、C−BN等の高熱伝導率セラミックスによって形成されている。
なおパターン付絶縁基板10の寸法は、厚みが0.3mm〜1.0mm程度、横が5.0mm〜10.0mm程度、縦が4.0mm〜8.0mm程度である。
また上面回路パターン11及び下面回路パターン12は、Cu等の導体材料で形成されている。
なお上面回路パターン11及び下面回路パターン12の寸法は、厚みが0.2mm〜0.4mm程度、横が4.0mm〜9.0mm程度、縦が2.0mm〜7.0mm程度である。
なお本実施例においては、図1に示すように、パターン付絶縁基板10の平面視下部を突出部10aとする構成であるが、必ずしも平面視下部に限る必要はなく、パターン付絶縁基板10の一部を回路パターンを設けることなく且つ放熱板30より突出させてなるものであれば、パターン付絶縁基板10における突出部10aの位置は適宜変更可能である。
前記半導体チップ20は、SiC、GaN等の基板を用いたIGBT等の縦型半導体デバイスである。また図示していないが、半導体チップ20の上面に電極を備えている。
半導体チップ20は、金属ハンダ若しくは導電性樹脂を用いて上面回路パターン11に接合されることでパターン付絶縁基板10に搭載される。
導電性樹脂としては、エポキシ系、ウレタン系、水性エポキシ系、水性アクリル系等、導電性樹脂として通常用いられるものであれば如何なるものであってもよい。
なお半導体チップ20の寸法は、厚みが0.1mm〜0.5mm程度、横が3.0mm〜5.0mm程度、縦が3.0mm〜5.0mm程度である。
前記放熱板30は、Niめっき、Auめっき等のめっき付Cu板によって形成された放熱板であり、その一部に樹脂50による把持力を増強するための開口部31を有する。
放熱板30は、金属ハンダ若しくは導電性樹脂を用いて下面回路パターン12に接合されることでパターン付絶縁基板10に取り付けられる。
導電性樹脂としては、エポキシ系、ウレタン系、水性エポキシ系、水性アクリル系等、導電性樹脂として通常用いられるものであれば如何なるものであってもよい。
なお放熱板30の寸法は、厚みが1.0mm〜2.0mm程度、横が7.0mm〜12.0mm程度、縦が12.0mm〜16.0mm程度である。
前記リード40は、外部配線を介して半導体装置1への電源供給を行うためのものである。
このリード40は、図1に示すように、第1リード41と、第2リード42と、第3リード43の3本のリードで構成され、順にドレイン端子、ゲート端子、ソース端子の3極を構成している。このように3極を有する構成とすることで、半導体装置1をサイリスタ等の大電力パワーデバイスとして有用なものとすることができる。
更に図1に示すように、第1リード41〜第3リード43は、それぞれ上面リードと下面リードとを有している。
ここで「上面リード」とは、リード40におけるパターン付絶縁基板10と接する部分のうちパターン付絶縁基板10よりも上面に位置するリードを指し、「下面リード」とは、パターン付絶縁基板10よりも下面に位置するリードを指すものとする。
具体的には、図1に示すように、第1リード41は、第1上面リード41aと第1下面リード41bとを有し、第2リード42は、第2上面リード42aと第2下面リード42bとを有し、第3リード43は、第3上面リード43aと第3下面リード43bとを有している。
なお、リード40はCu板を用いて形成され、表面にはNiめっき、Auめっき等が施されている。また詳しく図示していないが、第1リード41〜第3リード43は、同一幅且つ同一厚である。また全ての上面リード及び下面リードは、同一幅且つ同一厚であり、更に下面リードについては全て同一長である。
前記第1リード41は、ドレイン端子を構成するリードである。
この第1リード41は、図1、図2(a)に示すように、第1上面リード41aと、第1下面リード41bとを有している。また図2(a)に示すように、第1上面リード41aの先端は、その下面を上面回路パターン11の上面と面接合させてある。これにより、第1上面リード41aを通じて上面回路パターン11へ電源供給を行うことができる。
更に図2(a)に示すように、第1上面リード41aの先端は、その厚みを薄肉なものとする薄肉部Lとし、その長さを第1上面リード41aと上面回路パターン11との接合部分よりも長いものとしてある。
ここで「薄肉」とは、薄肉部Lの厚みが該薄肉部Lを除く第1上面リード41aの厚みよりも薄いものであることを示す。
このような構成とすることで、端面11aに第1上面リード41aが接触することがない。よって上面回路パターン11において、第1上面リード41aが接合部分以外に電位を生じさせることがない。従って放熱性の良い半導体装置1とすることができる。
前記第2リード42は、ゲート端子を構成するリードである。
この第2リード42は、図1に示すように、第2上面リード42aと、第2下面リード42bとを有している。また図2(a)に示すように、第2上面リード42aの先端は、その下面を半導体チップ20の上面にある図示していない電極と面接合させてある。これにより第2上面リード42aを通じて半導体チップ20へ電源供給を行うことができる。
更に図2(a)に示すように、第2上面リード42aの先端は、その厚みを薄肉なものとする薄肉部Mとし、その長さを半導体チップ20との接合部分よりも長いものとしてある。
ここで「薄肉」とは、薄肉部Mの厚みが該薄肉部Mを除く第2上面リード42aの厚みよりも薄いものであることを示す。
このような構成とすることで、端面20aに第2上面リード42aが接触することがない。よって半導体チップ20において、第2上面リード42aが接合部分以外に電位を生じさせることがない。よって放熱性の良い半導体装置1とすることができる。
前記第3リード43は、ソース端子を構成するリードである。
この第3リード43は、図1に示すように、第3上面リード43aと、第3下面リード43bとを有している。また図2(b)に示すように、第3上面リード43aの先端は、その下面を半導体チップ20の上面にある図示していない電極と面接合させてある。これにより第3上面リード43aを通じて半導体チップ20へ電源供給を行うことができる。
更に図2(b)に示すように、第3上面リード43aの先端は、その厚みを薄肉なものとする薄肉部Nとし、その長さを半導体チップ20との接合部分よりも長いものとしてある。
ここで「薄肉」とは、薄肉部Nの厚みが該薄肉部Nを除く第3上面リード43aの厚みよりも薄いものであることを示す。
このような構成とすることで、端面20bに第3上面リード43aが接触することがない。よって半導体チップ20において、第3上面リード43aが接合部分以外に電位を生じさせることがない。よって放熱性の良い半導体装置1とすることができる。
なお本実施例においては、薄肉部L、M、Nは、その幅、厚み、長さ、形状を同一のものとしてある。
また図1、図2(a)に示すように、第1リード41〜第3リード43の全てにおいて、突出部10aに対して上面リードと下面リードとでリードを挟みつけてある。
なおここで及び下記の説明において、図2(a)は、図1のA−A線の拡大断面図であり、且つ全ての下面リードは同一厚、同一長であることから、第1上面リード41aと第1下面リード41bとでリードを突出部10aに挟みつけてある状態のみが示されている。しかし本実施例において、第2リード42及び第3リード43をパターン付絶縁基板10に挟みつけてある状態をA−A線拡大断面図と同方向の断面の拡大図で表す場合、第1リード41と同様の形状で示される。よって図2(a)において、突出部10aに挟みつけてある第1上面リード41a、第1下面リード41bに括弧を付して第2、第3上面リード42a、43aと第2、第3下面リード42b、43bとを示すものとする。
このように突出部10aに対して上面リードと下面リードとでパターン付絶縁基板10を挟みつけてある構成とすることで、第1リード41〜第3リード43をパターン付絶縁基板10に仮止め固定することができる。よって特に製造時において、第1リード41〜第3リード43のぐらつきを防止できる。よって上面回路パターン11と第1上面リード41aとの接合位置及び半導体チップ20の電極と第2、第3上面リード42a、43aとの接合位置を位置決め容易なものとすることができる。従って上面回路パターン11と第1上面リード41aとの接合及び半導体チップ20の電極と第2、第3上面リード42a、43aとの接合を容易化でき、製造効率を向上させることができる。また半導体装置1の強度を向上させることができる。
更に図1、図2(a)に示すように、下面リード41b〜43bの長さは、パターン付絶縁基板10に下面リードを挟みつけた状態で、下面回路パターン12及び放熱板30と下面リードとの間に隙間Pが空く長さとしてある。このような構成とすることで、下面リード41b〜43bが下面回路パターン12及び放熱板30と接触することがない。よって放熱板30に電位を生じさせることがない。従って放熱性が良い半導体装置1とすることができる。
なお本実施例においては、図2(a)に示すように、放熱板30の端面30aを下面回路パターン12の端面12aと面一に取り付ける構成としてあるが、そのような構成としない場合には、端面30aと端面12aとの何れかのうちで下面リードに近い側との間に隙間Pが空くようにすることが必要である。
なお隙間Pの長さは、1.0mm〜1.5mm程度とすることが望ましい。
なお上面回路パターン11と第1上面リード41aとの接合及び半導体チップ20の電極と第2、第3上面リード42a、43aとの接合は、超音波接合により行う。超音波接合は微細な超音波振動と加圧力により接合を行うものであることから、このような構成とすることで、接合時に加熱や局所的発熱を発生させることがない。よってパターン付絶縁基板10及び半導体チップ20に熱履歴や熱応力を生じさせることがない。従ってハンダや溶接を用いて接合を行う場合に発生する、熱履歴や熱応力に伴う半導体装置1の信頼性の劣化を生じさせることがない。
更に第1〜第3上面リード41a〜43aの先端は薄肉部L、M、Nとしてあることから、接合面に超音波振動を一段と印加させ易くでき、接合を容易化することができる。また接合時間の短縮化を図ることができ、半導体装置1の製造サイクルを効率化できる。また消費電力を抑えることができ、省エネ化を図ることができると共に、コスト面に配慮した半導体装置1とすることができる。
なお第1リード41〜第3リード43の寸法は、幅が0.5mm〜0.8mm程度、厚みが0.3mm〜0.6mm程度である。
また第1上面リード41a〜第3上面リード43a及び第1下面リード41b〜第3下面リード43bの寸法は、幅が0.5mm〜2.0mm程度、厚みが0.1mm〜0.5mm程度である。
また第1下面リード41b〜第3下面リード43bの長さは、1.0mm〜1.5mm程度である。
また薄肉部L、M、Nの寸法は、幅が0.5mm〜2.0mm程度、厚みが、0.1mm未満、長さが1mm以上である。
なお本実施例においては、第1リード41〜第3リード43は、同一幅且つ同一厚としてある。また全ての上面リード及び下面リードは、同一幅且つ同一厚とし、更に下面リードについては全て同一長としてある。また薄肉部L、M、Nは、その幅、厚み、長さを同一のものとしてある。しかし勿論、このような構成に限る必要はなく、何れか若しくは何れもが異なるものであってもよい。
またリード40の本数、形状も必ずしも本実施例のものに限る必要はなく、適宜変更可能である。
例えば薄肉部L、M、Nの形状を該薄肉部の下面が、薄肉部L、M、Nを除く上面リード41a〜43aの下面と面一となるような構成とすることができる。このような構成とすることで、薄肉部の長さに関係なく、上面リード41a〜43aが上面回路パターン11及び半導体チップ20の電極との接合部分以外に電位を生じさせることがないものとすることができる。
前記樹脂50は、パターン付絶縁基板10と、半導体チップ20と、放熱板30と、リード40とをモールドするための樹脂である。
樹脂50としては、エポキシ樹脂等の熱硬化性樹脂や、ポリエチレン等の熱可塑性樹脂を用い、トランスファー成形によりモールドを行う。このようにトランスファー成形によりモールドを行うことで、モールド作業を簡潔化でき、製造効率を向上させることができる。
なお本実施例においては、図1、図2に示すように、パターン付絶縁基板10と、半導体チップ20と、放熱板30と、端子部分を除くリード40との全てを樹脂50でモールドする構成としてあるが、必ずしもこのような構成に限る必要はなく、適宜変更可能である。
例えば、放熱板30の下面を含む下部を樹脂50でモールドすることなく露出させるものとすることができる。このような構成とすることで、放熱板30の下面に更に外部放熱器を取り付ける場合に外部放熱器を確実に放熱板30に接触させることができる。
次に図3を参照して、半導体装置1の製造工程を説明する。
まずパターン付絶縁基板10の上面回路パターン11に半導体チップ20を金属ハンダ若しくは導電性樹脂で接合する。そしてパターン付絶縁基板10の下面回路パターン12に放熱板30を金属ハンダ若しくは導電性樹脂で接合する。この際、突出部10aが生じるように放熱板30を取り付ける。これによりパターン付絶縁基板10と、半導体チップ20と、放熱板30とが一体化される。そしてリードフレーム60の第1リード41〜第3リード43を突出部10aに挟みつける。
ここでリードフレーム60は、図3に示すように、横方向に延びる横フレーム61と、横フレーム61同士を連結する縦フレーム62と、横フレーム61から放熱板30に向かって延びる第1リード41〜第3リード43と、それぞれのリードを連結する横ダムバー63と、横フレーム61同士を連結する縦ダムバー64とを備えている。
なおリードフレーム60の厚みは、0.3mm〜0.6mm程度である。
そして第1リード41〜第3リード43を突出部10aに対して挟みつけた状態で、上面回路パターン11と第1上面リード41aとの接合及び半導体チップ20の電極と第2、第3上面リード42a、43aとの接合を超音波接合により行う。
その後、トランスファーモールドにより図示しないモールド金型のダイキャビティにモールド樹脂50を流し込んで、パターン付絶縁基板10と、半導体チップ20と、放熱板30と、リード40とをモールドする。
周知の構造として、図示しないモールド金型の上金型及び下金型は、図3に示すリードフレーム60の横ダムバー63及び縦ダムバー64に当接して型締め力が加えられており、その間の領域がモールド金型のダイキャビティとなっている。そして、トランスファーモールド成形時、モールド樹脂50は、図3に示すリードフレーム60の横ダムバー63及び縦ダムバー64でせき止められる。
トランスファーモールド成形後、図3に一点鎖線で示す切断線Qで第1リード41〜第3リード43が切断される。これにより図1に示す半導体装置1が得られる。
なお本実施例においては、突出部10aに対して第1リード41〜第3リード43の全ての上面リードと下面リードとを挟みつける構成としたが、必ずしもこのような構成に限る必要はない。
つまり図3に示すように、第1リード41〜第3リード43はリードフレーム60において横ダムバー63で連結されている。よって突出部10aに対して少なくとも1本の上面リードと下面リードとを挟みつけることで、第1リード41〜第3リード43の全てをパターン付絶縁基板10に対して保持させて固定することができる。従って少なくとも1本の上面リードと下面リードとを挟みつけるような構成とするものであれば、適宜変更可能である。
また樹脂50によるモールド前の製造工程は、必ずしも本実施例のものに限る必要はなく、パターン付絶縁基板10と、半導体チップ20と、放熱板30と、第1リード41〜第3リード43とを最終的に一体化させることができるものであれば接合順序等は問わない。
次に図4を参照して、第2の実施形態に係る半導体装置2を説明する。
半導体装置2は、上述した半導体装置1に比べてパターン付絶縁基板10に複数個の半導体チップ20を搭載するものである。またリード40の形状及び半導体チップ20とリード40との接合位置を変形したものである。その他の構成については、半導体装置1と同様である。同一部材、同一機能を果たすものには同一番号を付し以下説明を省略する。
半導体チップ20としては、同種又は異種のものからなる複数個とすることができる。
このようにパターン付絶縁基板10に複数個の半導体チップ20を搭載することで、複数個の半導体チップ20を1つのモジュールとする、いわゆるマルチチップモジュールを構成することができる。よって半導体装置2の高性能化を図ることができる。
本発明は樹脂封止型の半導体装置として、ハイブリッド車、電気自動車等の各種機器に用いられる電子部品に利用することができる。
本発明の第1の実施形態に係る半導体装置の平面図である。 図1の断面図で、(a)はA−A線における拡大断面図、(b)はB−B線における拡大断面図である。 本発明の第1の実施形態に係る半導体装置の製造工程を説明する図であり、パターン付絶縁基板と半導体チップと放熱板とを一体化させた状態でリードをパターン付絶縁基板に挟みつけた状態を示す平面図である。 本発明の第2の実施形態に係る半導体装置の平面図である。
符号の説明
1 半導体装置
2 半導体装置
10 パターン付絶縁基板
10a 突出部
11 上面回路パターン
11a 端面
12 下面回路パターン
12a 端面
20 半導体チップ
20a 端面
20b 端面
30 放熱板
30a 端面
31 開口部
40 リード
41 第1リード
41a 第1上面リード
41b 第1下面リード
42 第2リード
42a 第2上面リード
42b 第2下面リード
43 第3リード
43a 第3上面リード
43b 第3下面リード
50 樹脂
60 リードフレーム
61 横フレーム
62 縦フレーム
63 横ダムバー
64 縦ダムバー
L 薄肉部
M 薄肉部
N 薄肉部
P 隙間
Q 切断線

Claims (7)

  1. 回路パターンを備えたパターン付絶縁基板と、該パターン付絶縁基板に搭載される半導体チップと、前記パターン付絶縁基板の下面に取り付けられる放熱板と、前記パターン付絶縁基板及び前記半導体チップに接合されるリードとを備えた半導体装置であって、前記パターン付絶縁基板の一部を回路パターンを設けることなく且つ前記放熱板より突出させてなる突出部とすると共に、該突出部に対して前記リードの一部を挟みつけることで該リードを保持してあることを特徴とする半導体装置。
  2. リードは複数本からなり、該複数本のリードのうちの少なくとも1本について、そのリードの一部をパターン付絶縁基板の突出部に挟みつけてあることを特徴とする請求項1に記載の半導体装置。
  3. リードは3本からなり、第1のリードはパターン付絶縁基板の回路パターンに接合され、第2及び第3のリードは半導体チップの電極面に接合されており、且つパターン付絶縁基板の突出部に対してそれぞれのリードの一部を挟みつけてあることを特徴とする請求項1又は2に記載の半導体装置。
  4. パターン付絶縁基板及び半導体チップに対するリードの接合部分は、通常の0.3mm〜0.6mmリードフレーム厚に対して薄肉に形成してあることを特徴とする請求項1〜3の何れか1項に記載の半導体装置。
  5. パターン付絶縁基板及び半導体チップとリードとの接合は、超音波接合によりなされていることを特徴とする請求項1〜4の何れか1項に記載の半導体装置。
  6. 同種又は異種のものからなる複数個の半導体チップが1つのパターン付絶縁基板上に搭載されていることを特徴とする請求項1〜5の何れか1項に記載の半導体装置。
  7. パターン付絶縁基板と、半導体チップと、放熱板と、リードとが樹脂によりモールドされていることを特徴とする請求項1〜6の何れか1項に記載の半導体装置。
JP2008161144A 2008-06-20 2008-06-20 半導体装置 Expired - Fee Related JP4614107B2 (ja)

Priority Applications (1)

Application Number Priority Date Filing Date Title
JP2008161144A JP4614107B2 (ja) 2008-06-20 2008-06-20 半導体装置

Applications Claiming Priority (1)

Application Number Priority Date Filing Date Title
JP2008161144A JP4614107B2 (ja) 2008-06-20 2008-06-20 半導体装置

Publications (2)

Publication Number Publication Date
JP2010003858A true JP2010003858A (ja) 2010-01-07
JP4614107B2 JP4614107B2 (ja) 2011-01-19

Family

ID=41585338

Family Applications (1)

Application Number Title Priority Date Filing Date
JP2008161144A Expired - Fee Related JP4614107B2 (ja) 2008-06-20 2008-06-20 半導体装置

Country Status (1)

Country Link
JP (1) JP4614107B2 (ja)

Cited By (5)

* Cited by examiner, † Cited by third party
Publication number Priority date Publication date Assignee Title
WO2014132897A1 (ja) * 2013-03-01 2014-09-04 住友電気工業株式会社 半導体装置
KR20190037722A (ko) * 2017-09-29 2019-04-08 현대자동차주식회사 차량용 전력모듈
KR20200145091A (ko) * 2019-06-20 2020-12-30 제엠제코(주) 반도체 패키지
CN112992818A (zh) * 2021-04-26 2021-06-18 佛山市国星光电股份有限公司 一种功率器件及其制作方法
US20210238408A1 (en) * 2018-10-29 2021-08-05 Henkel Ag & Co. Kgaa Thermal conductive potting composition

Citations (8)

* Cited by examiner, † Cited by third party
Publication number Priority date Publication date Assignee Title
JPS5273372A (en) * 1975-12-17 1977-06-20 Hitachi Ltd Terminal for hyb ic substrate
JPS5895656U (ja) * 1981-12-23 1983-06-29 日本電気株式会社 混成集積回路装置
JPS58111949U (ja) * 1982-01-25 1983-07-30 日本電気株式会社 混成集積回路装置
JPS59124789A (ja) * 1983-01-05 1984-07-18 日本電気株式会社 混成集積回路装置
JPS62195159A (ja) * 1986-02-21 1987-08-27 Hitachi Tobu Semiconductor Ltd 混成集積回路装置およびその製造に用いられるリ−ドフレ−ム
JPH06224359A (ja) * 1993-01-22 1994-08-12 Toppan Printing Co Ltd 半導体装置
JP2007251218A (ja) * 2007-07-06 2007-09-27 Renesas Technology Corp パワーmosfetの製造方法およびパワーmosfet
JP2008098678A (ja) * 2008-01-04 2008-04-24 Toshiba Corp 半導体装置及びその製造方法

Patent Citations (8)

* Cited by examiner, † Cited by third party
Publication number Priority date Publication date Assignee Title
JPS5273372A (en) * 1975-12-17 1977-06-20 Hitachi Ltd Terminal for hyb ic substrate
JPS5895656U (ja) * 1981-12-23 1983-06-29 日本電気株式会社 混成集積回路装置
JPS58111949U (ja) * 1982-01-25 1983-07-30 日本電気株式会社 混成集積回路装置
JPS59124789A (ja) * 1983-01-05 1984-07-18 日本電気株式会社 混成集積回路装置
JPS62195159A (ja) * 1986-02-21 1987-08-27 Hitachi Tobu Semiconductor Ltd 混成集積回路装置およびその製造に用いられるリ−ドフレ−ム
JPH06224359A (ja) * 1993-01-22 1994-08-12 Toppan Printing Co Ltd 半導体装置
JP2007251218A (ja) * 2007-07-06 2007-09-27 Renesas Technology Corp パワーmosfetの製造方法およびパワーmosfet
JP2008098678A (ja) * 2008-01-04 2008-04-24 Toshiba Corp 半導体装置及びその製造方法

Cited By (9)

* Cited by examiner, † Cited by third party
Publication number Priority date Publication date Assignee Title
WO2014132897A1 (ja) * 2013-03-01 2014-09-04 住友電気工業株式会社 半導体装置
JP2014170800A (ja) * 2013-03-01 2014-09-18 Sumitomo Electric Ind Ltd 半導体装置
KR20190037722A (ko) * 2017-09-29 2019-04-08 현대자동차주식회사 차량용 전력모듈
KR102445515B1 (ko) 2017-09-29 2022-09-21 현대자동차주식회사 차량용 전력모듈
US20210238408A1 (en) * 2018-10-29 2021-08-05 Henkel Ag & Co. Kgaa Thermal conductive potting composition
US12503586B2 (en) * 2018-10-29 2025-12-23 Henkel Ag & Co. Kgaa Thermal conductive potting composition
KR20200145091A (ko) * 2019-06-20 2020-12-30 제엠제코(주) 반도체 패키지
KR102199360B1 (ko) * 2019-06-20 2021-01-06 제엠제코(주) 반도체 패키지
CN112992818A (zh) * 2021-04-26 2021-06-18 佛山市国星光电股份有限公司 一种功率器件及其制作方法

Also Published As

Publication number Publication date
JP4614107B2 (ja) 2011-01-19

Similar Documents

Publication Publication Date Title
CN101626001B (zh) 半导体装置及其制造方法
JP6065973B2 (ja) 半導体モジュール
US9171773B2 (en) Semiconductor device
KR101173927B1 (ko) 반도체장치 모듈
JP6150866B2 (ja) 電力半導体装置
CN105529319A (zh) 半导体装置
CN107534025B (zh) 半导体装置及其制造方法、引线框
JP2020038914A (ja) 半導体装置
JP4614107B2 (ja) 半導体装置
JP2008153432A (ja) 半導体装置およびその製造方法
JP4985809B2 (ja) 半導体装置
JP6010942B2 (ja) 半導体装置およびその製造方法
JP2015090965A (ja) 半導体装置
KR101644913B1 (ko) 초음파 용접을 이용한 반도체 패키지 및 제조 방법
KR20150129269A (ko) 반도체 패키지를 위한 클립 구조체 및 이를 이용한 반도체 패키지, 제조 방법
JP4030956B2 (ja) 電力用半導体装置
JP5682511B2 (ja) 半導体モジュール
CN205564736U (zh) 半导体装置
CN205406513U (zh) 半导体装置
JP4797492B2 (ja) 半導体装置
JP2009164511A (ja) 半導体装置およびその製造方法
JP7278077B2 (ja) 半導体装置およびその製造方法
JP5062189B2 (ja) 半導体装置の実装構造
JP5124329B2 (ja) 半導体装置
JP2017028131A (ja) パッケージ実装体

Legal Events

Date Code Title Description
A977 Report on retrieval

Free format text: JAPANESE INTERMEDIATE CODE: A971007

Effective date: 20100915

TRDD Decision of grant or rejection written
A01 Written decision to grant a patent or to grant a registration (utility model)

Free format text: JAPANESE INTERMEDIATE CODE: A01

Effective date: 20100922

A01 Written decision to grant a patent or to grant a registration (utility model)

Free format text: JAPANESE INTERMEDIATE CODE: A01

A61 First payment of annual fees (during grant procedure)

Free format text: JAPANESE INTERMEDIATE CODE: A61

Effective date: 20101005

R150 Certificate of patent or registration of utility model

Free format text: JAPANESE INTERMEDIATE CODE: R150

FPAY Renewal fee payment (event date is renewal date of database)

Free format text: PAYMENT UNTIL: 20131029

Year of fee payment: 3

LAPS Cancellation because of no payment of annual fees