JP2010003416A - 撮像管 - Google Patents

撮像管 Download PDF

Info

Publication number
JP2010003416A
JP2010003416A JP2008158621A JP2008158621A JP2010003416A JP 2010003416 A JP2010003416 A JP 2010003416A JP 2008158621 A JP2008158621 A JP 2008158621A JP 2008158621 A JP2008158621 A JP 2008158621A JP 2010003416 A JP2010003416 A JP 2010003416A
Authority
JP
Japan
Prior art keywords
quantum dot
light
photoconductive film
wavelength
energy level
Prior art date
Legal status (The legal status is an assumption and is not a legal conclusion. Google has not performed a legal analysis and makes no representation as to the accuracy of the status listed.)
Granted
Application number
JP2008158621A
Other languages
English (en)
Other versions
JP5025577B2 (ja
Inventor
Genichi Otsu
元一 大津
Tadashi Kawazoe
忠 川添
Current Assignee (The listed assignees may be inaccurate. Google has not performed a legal analysis and makes no representation or warranty as to the accuracy of the list.)
Japan Science and Technology Agency
Original Assignee
Japan Science and Technology Agency
Priority date (The priority date is an assumption and is not a legal conclusion. Google has not performed a legal analysis and makes no representation as to the accuracy of the date listed.)
Filing date
Publication date
Application filed by Japan Science and Technology Agency filed Critical Japan Science and Technology Agency
Priority to JP2008158621A priority Critical patent/JP5025577B2/ja
Publication of JP2010003416A publication Critical patent/JP2010003416A/ja
Application granted granted Critical
Publication of JP5025577B2 publication Critical patent/JP5025577B2/ja
Expired - Fee Related legal-status Critical Current
Anticipated expiration legal-status Critical

Links

Images

Landscapes

  • Vessels, Lead-In Wires, Accessory Apparatuses For Cathode-Ray Tubes (AREA)
  • Light Receiving Elements (AREA)

Abstract

【課題】光導電型の撮像管における光電変換効率を所望のレベルまで向上させる上において、より簡易な構成でかつ低製造コストで製造することが可能な撮像管を提供する。
【解決手段】電子ビームを出射する電子銃11と、電子ビームが走査され、入射される光の像を電気信号に変換し電荷パターンとして蓄積するための光導電膜12と、光導電膜12の光入射側に形成された波長フィルタ4とを備え、波長フィルタ4は、基板41内に形成され、入射される300nm以下の光の波長に応じて励起子が励起される第1のエネルギー準位を有する第1の量子ドット42と、第1の量子ドット42より大体積で形成され、第1のエネルギー準位との共鳴に応じて第1の量子ドット12から励起子が注入される第2のエネルギー準位と、当該第2のエネルギー準位から励起子の遷移が複数段に亘って生じるように設定された複数段の下位準位とを有する第2の量子ドット44とを備える。
【選択図】図1

Description

本発明は、医療あるいは一般産業の分野において、イメージインテンシファイアあるいはX線ビジコン等の代わりに用いられる、X線撮像管に好適な撮像管に関するものである。
X線撮像管は、入射したX線像に対応した電荷像を光導電膜上に形成し、その電荷像を電子ビームで走査することによりビデオ信号として取り出すものである。X線撮像管は、実時間での観測ができ高い解像度が得られることなどから、半導体IC等の非破壊検査や、生体内部の診断、結晶解析、材料分析などに有効であって、産業、計測、学術等の分野で広く利用されている。
X線撮像管では、従来、撮像管ターゲット部の面板として、X線を透し易い金属ベリリュウム薄板が従来から広く利用されており、また近年は窒化ほう素薄板を用いたX線撮像管も開示されている(例えば、特許文献1参照。)。光導電膜には、一般に酸化鉛、セレンカドミウム、非晶質セレン等の蒸着膜が用いられている。特に非晶質セレンは、高電界を印加すると内部で電荷のアバランシェ増倍現象が起こることが知られており、この現象を利用した高感度のX線撮像管も提案されている。
また特許文献2において、X線像に対応する電荷像が形成されるターゲットを電子銃よりの電子ビームの進行方向に向けて凸に湾曲する曲面に形成するとともに、ターゲットに対してプラス電位のフィールドメッシュを、ターゲットの電子ビーム入射側に接近して設けたX線撮像管が提案されている。
特願平2−230658号公報 特開平7−094114号公報
しかしながら、上述した特許文献2の開示技術では、電子ビームの進行方向に向けて凸に湾曲する曲面に形成し、これを精度よくセッティングする必要があるところ、製造労力の負担が増大し、ひいては製造コストが増大してしまうという問題点があった。また、特許文献1の開示技術では、また所望の感度まで効果的に増強することができないという問題点があった。そこで、本発明は、X線を撮像するための撮像管において、量子ドットを利用して安価でしかもより感度を効果的に増強可能な撮像管を提供することにある。
本発明者は、上述した課題を解決するために、電子ビームが走査され、入射した光の像を内部光電効果に基づいて電気信号に変換し電荷パターンとして蓄積するための光導電膜の光入射側に波長フィルタを配設し、この波長フィルタは、入射される300nm以下の光の波長に応じて励起子が励起される第1のエネルギー準位を有する第1の量子ドットと、基板内に上記第1の量子ドットより大体積で形成され、第1のエネルギー準位との共鳴に応じて第1の量子ドットから励起子が注入される第2のエネルギー準位と、当該第2のエネルギー準位から励起子の遷移が複数段に亘って生じるように設定された複数段の下位準位とを有する第2の量子ドットとを備えることにより、第2の量子ドットは、励起子の遷移により放出される光が上記光導電膜により吸収可能な波長となるように、その準位間のエネルギー差が設定されている撮像管を発明した。
即ち、請求項1記載の撮像管は、電子ビームを出射する電子銃と、上記電子ビームが走査され、入射される光の像を内部光電効果に基づいて電気信号に変換し電荷パターンとして蓄積するための光導電膜と、上記光導電膜の光入射側に形成された波長フィルタとを備え、上記波長フィルタは、導電性の結晶により構成される基板と、上記基板内に形成され、入射される300nm以下の光の波長に応じて励起子が励起される第1のエネルギー準位を有する第1の量子ドットと、上記基板内に上記第1の量子ドットより大体積で形成され、上記第1のエネルギー準位との共鳴に応じて上記第1の量子ドットから励起子が注入される第2のエネルギー準位と、当該第2のエネルギー準位から励起子の遷移が複数段に亘って生じるように設定された複数段の下位準位とを有する第2の量子ドットとを備え、上記第2の量子ドットは、上記励起子の遷移により放出される光が上記光導電膜により吸収可能な波長となるように、その準位間のエネルギー差が設定されていることを特徴とする。
上述した構成からなる本発明では、X線を撮像するための撮像管において、量子ドットを利用してより感度を効果的に増強可能な撮像管を提供することが可能となる。また本発明では、部品点数が必要以上に多くなることも無くなり、製造労力の負担を減らし、製造コストの低下をも図ることが可能となる。
以下、本発明を実施するための最良の形態として、テレビジョンカメラ等に適用される撮像管に関し、図面を参照しながら詳細に説明する。
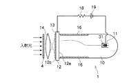
本発明を適用した撮像管1は、例えば図1に示すように、真空管10内に配設されてなるとともに電子ビームを出射する電子銃11と、電子銃11からの電子ビームが走査される内面12a上に走査される光導電膜12と、被写体像を撮像面としての光導電膜12上に結像させるためのレンズ14と、光導電膜12から電子銃11に至るまで、順次接続されている抵抗18、電源19と、真空管10の内面周囲に設けられた偏向コイル16とを備えている。また、このレンズ14における光入射側には波長フィルタ4が配設されている。
電子銃11は、図示しないヒータによりカソード31を加熱して電子ビームを放出する。この電子銃11から放出された電子は、偏向コイル16による磁界により光導電膜12における任意の位置に偏向集束されることになる。
光導電膜12は、SeやSiを主体とする非晶質半導体、或いはPbO、CdS、CdSe、CdTe、Sb等の光導電性の膜で構成される。この光導電膜12は、いわゆる光の照射を受けて物質内部の伝導電子を増加させ、ひいては電気伝導率を増加させる内部光電効果を応用した光導電性の膜で構成されていてもよい。この光導電膜12は、価電子帯や不純物準位等にある電子が、入射された光の光子エネルギーを吸収し、伝導帯へ励起され、伝導電子や正孔を増加させることによる導電性の向上を図ることが可能となる。即ち、この光導電膜12は、光の当たらない箇所においては、絶縁体としての傾向を示し、また光の入射量に応じて抵抗が低くなる傾向を示す。
このような光導電膜12に対して電子銃11から電子ビームを走査することにより、電源19、抵抗18、光導電膜12、電子ビームという回路が形成される。さらに、この光導電膜12には、レンズ14を介して被写体像が結像されることになる。このため、上述した内部光電効果による伝導電子や正孔の発生は、光導電膜12上に写し出される被写体像に基づくものであり、また被写体像に応じてこの光導電膜12の抵抗自体が変化することになる。
このため、上述した電源19、抵抗18、光導電膜12、電子ビームという回路では、光導電膜12上に結像される被写体像による光電変換に基づく電流が流れることになり、当該回路に流れる電流Iと、抵抗18の抵抗値Rとの間で、R×Iの電圧降下が映像信号として取り出されることになる。
波長フィルタ4は、図2に示すように、導電性の結晶により構成される基板41と、この基板41内に含められている第1の量子ドット42並びに第2の量子ドット43とを備えている。
第1の量子ドット42は、基板41における光入射側に位置し、また第2の量子ドット43は、基板41における光出射側に位置している。
基板41は、ガラスやNaCl等からなる結晶性基板、その他GaN、GaAs等の材料やサファイヤ等で構成されている。この基板41は、光透過性の材料であればいかなるもので構成されていればよい。
第1の量子ドット42、第2の量子ドット43は、これらは量子箱と呼ばれる立方体状で構成され、構成する材料系がGaNやZnOである場合に、これらは球形或いは円盤形として構成される。因みに、第1の量子ドット42と、第2の量子ドット43とは、互いに相互作用が生じる程度に近接させて配置されている。
ここで量子ドット42、43におけるエネルギー準位E(nx,ny,nz)は、粒子の質量をmとし、また量子ドットの辺長をLとしたときに、以下の式(1)により定義される。
E(nx,ny,nz)=h2/8π2m(π/L)2(nx 2+ny 2+nz 2)・・・・・(1)
なお、本発明では、量子ドットの形状や材質に応じて、この式(1)で定義されるエネルギー準位E(nx,ny,nz)の式以外に、他の一般的なエネルギー準位の式が適用される場合もある。
この式(1)に基づき、各量子ドット42,43のE(nx,ny,nz)を計算する。ここで第1の量子ドット42と、第2の量子ドット43との辺長比が、およそ1:√2であるとき、図3に示すように、第1の量子ドット42における第1のエネルギー準位が(1,1,1)であるときのE(111)と、第2の量子ドット43におけるエネルギー準位が(2,1,1)であるときのE(211)とが等しくなる。即ち、第1の量子ドット11における第1のエネルギー準位(1,1,1)と、第2の量子ドット12における第2のエネルギー準位(2,1,1)は、それぞれ励起子の励起エネルギー準位が共鳴する関係にある。
即ち、基板41内において辺長比が互いに異なる各量子ドット42,43を形成させることにより、(1)式に基づく量子準位をほぼ等しくすることができ、これらの間で共鳴を起こさせることにより、体積の小さい第1の量子ドット42から体積の大きい第2の量子ドット43へ励起子を注入することができる。換言すれば、量子ドット42、43間で体積(サイズ)を互いに異ならせることにより、これらの間で励起子を伝送することができ、ひいては共鳴エネルギー移動を実現することができる。
量子ドットグループ4は、このような共鳴エネルギー移動を利用して、所定の機能を発現させることができる。
例えば、第1の量子ドット42の量子準位(1,1,1)と、第2の量子ドット43における量子準位(2,1,1)は、それぞれ励起子の励起エネルギー準位が共鳴する関係にあるが、実際これらの間で共鳴を起こさせるためには、第1の量子ドット42における量子準位(1,1,1)に対応する周波数ω1の光Aを供給することにより、かかる量子準位へ励起子を励起させることができる。
また、上述した共鳴が生じる場合に、第1の量子ドット42に存在する量子準位(1,1,1)に存在する励起子が、第2の量子ドット43における量子準位(2,1,1)へ移動し、また第2の量子ドット42の量子準位(2,1,1)に存在する励起子が、第1の量子ドット43における量子準位(1,1,1)へ移動するが、量子ドット11,12間において励起子がコヒーレントに結合して、見かけ上1つの励起モードが形成される。
即ち、本発明では、辺長比がそれぞれ1:√2である各量子ドット42、43を基板41内に含めることにより、状態密度関数がほぼ等しくなる量子準位を作り出すことができ、これらの間で共鳴効果を起こさせることにより、第2の量子ドット43の量子準位(2,1,1)に励起子を注入することができる。この注入された励起子は、第2の量子ドット43の下位準位43aへ遷移する。この遷移する過程において出力光pが放出されることになる。
また第2の量子ドット43における下位準位43aへ励起子を遷移させることにより、その下位準位43aにおける励起子の密度を、それよりも更に下位にある下位準位43bよりも高めることができ、これら2つの下位準位43a、43b間で見かけ上反転分布を生成することかできる。この生成された反転分布に応じて励起子が基底準位へ遷移することにより出力光qが放出されることになる。
ちなみに、この第2の量子ドット43から放出される出力光pの波長は、第2の量子ドット43における量子準位(2,1,1)と下位準位43a間のエネルギー差に依存する。また、この第2の量子ドット43から放出される出力光qの波長は、第2の量子ドット43における下位準位43aと下位準位43b間のエネルギー差に依存する。
このため、これらのエネルギー差をいかに設定するかにより、出力光p、qの波長が変わってくる。この出力光p、qは、そのまま波長フィルタ4を出射し、光導電膜12へと入射される。光導電膜12により吸収可能な波長となるように、これら準位間のエネルギー差を設定しておくことにより、この波長フィルタ4から出射する光を、光導電膜12の吸収感度に適合した波長に調整することが可能となる。
また、本発明では、光Aにおける1光子を、出力光pの1光子、出力光qの1光子の合計2光子に変換することが可能となる。即ち、この波長フィルタ4に入射光を通過させることにより、波長変換に加えて光子数を増倍させてこれを出射させることが可能となることから、光電変換効率をより向上させることが可能となる。
なお、上述した実施の形態において、第1の量子ドット42は、入射される300nm以下の光Aの波長に応じて励起子が励起されることを前提にしている。仮に光Aが300nmである場合に、第1の量子ドット42と第2の量子ドット43とのサイズ比を1:√2とし、更に放出される出力光p、qの波長が600nmとなるように準位間のエネルギー差を設定し、1光子の入射光Aを2光子の出力光p、qへと変換している。
しかし、これに限定されるものではなく、第1の量子ドット42における第1のエネルギー準位(上述した量子準位(1,1,1)に相当)は、X線領域の光又はX線領域の光によって生成される紫外光の入射に応じて励起子が励起されるものであってもよい。かかる場合においても同様に、出力側の第2の量子ドット43において、この第1の量子ドット42における第1のエネルギー準位と共鳴準位を持つ第2のエネルギー準位を持つように、サイズを調整しておく。そして、この第2の量子ドット43は、励起子の遷移により放出される光が光導電膜12により吸収可能な波長となるように、第2のエネルギー準位と下位準位43a間、又は下位準位43aと下位準位43b間のエネルギー差が設定されている。
これにより、撮像管1をX線を撮像するためのX線撮像管として適用する場合においても同様に、波長フィルタ4から出射する光を、光導電膜12の吸収感度に適合した波長に調整することが可能となり、光子数を増倍させることにより光電変換効率向上の利点がある。
特に本発明においては、このような量子ドット42、43を含めた基板41からなる波長フィルタ4を準備し、これをレンズ14における光入射側に配設するのみで上述した機能を発揮させることが可能となることから、部品点数が必要以上に多くなることも無くなり、製造労力の負担を減らし、製造コストの低下をも図ることが可能となる。
なお本発明は、上述した実施の形態に限定されるものではなく、第2の量子ドット43における少なくとも一の準位間が、光導電膜12により吸収可能な波長となるようにエネルギー差が設定されていればよく、全ての準位間がかかる波長に対応したエネルギー差とされている点は必須とはならない。
図4は、本発明の他の実施の形態を示している。この例では、波長フィルタ4において、第1の量子ドット42と、第2の量子ドット43との間に第3の量子ドット44を形成している。第3の量子ドット44は、第1の量子ドット42以上、第2の量子ドット43以下のサイズで構成され、第1の量子ドット42から第2の量子ドット43へ注入される励起子を中継するために、これらと共鳴するエネルギー準位を有する。
特にX線領域の光又はX線領域の光によって生成される紫外光の波長と、光導電膜12による吸収可能波長との間で大きな格差がある場合には、このように励起子を中継するための第3の量子ドット44を形成させることが有効となる。ちなみに、図4の例では、この第3の量子ドット44を、大きい方から順に量子ドット44a、量子ドット44bの2段階で構成される場合について示したが、これに限定されるものではなく、1段階以上で構成されていれば何段階であってもよい。
また、これら量子ドット44a、44bは、共鳴準位を介して励起子を移動させる役割を担うとともに、自身に搬送されてきた励起子を自身の下位準位へ放出させることにより、出力光wを放出させることが可能となる。特にこれら量子ドット44において、出力光wの波長が光導電膜12により吸収可能な波長となるように下位準位間のエネルギー差を設定しておくことにより、この波長フィルタ4から出射する光を、光導電膜12の吸収感度に適合した波長に調整することが可能となる。また、これら量子ドット44から放出される出力光wにより光子数を向上させることが可能となることから、光電変換効率をより向上させることが可能となる。
また図5は、1光子からなる入射光Aを、3光子以上の出力光に変換する場合の例を示している。励起子が下位準位43bから更に下位にある下位準位43cに遷移する際において、出力光rが放出されることになる。その結果、この出力光rによって更に1光子分増えることになる。このように、この波長フィルタ4を通過させることにより、1光子から複数光子へと変換することが可能となる。
なお本発明は、図6に示すように、光導電膜12の光入射側において面板13を貼着するようにしてもよい。面板13は、ナノ微粒子が含まれている。面板13は、光透過性の材料で構成され、例えばガラスやNaCl等からなる結晶性基板、その他GaN、GaAs等の材料やサファイヤ等で構成されている。この基板41は、光透過性の材料であればいかなるもので構成されていればよい。図7は、光導電膜12と、面板13との間の界面近傍の拡大図を示している。面板13内に含まれているナノ微粒子21は、直径50nm以下のナノオーダのサイズで構成されている。このナノ微粒子21は、例えば、Au、Ag、Al、Pt等の金属、或いはZnO、GaAs、InGaAs等の半導体で構成されている。ちなみに、このナノ微粒子21の配置位置は、光導電膜12における外面12bからの距離をX1としたとき、このX1がナノ微粒子21の直径以下にあることが必須となる。
このような構成からなる撮像管1において被写体像に基づく光が照射されると、先ず面板13内を通過することになる。そして、この面板13内に含まれているナノ微粒子21に光が到達すると、このナノ微粒子21によって吸収される。そして、ナノ微粒子21に吸収された光に基づいて、当該ナノ微粒子21から光導電膜12に向けて近接場光が滲出することになる。
ナノ微粒子21は、上述したように直径50nm以下のナノオーダで構成されており、しかも光導電膜12における外面12bからの距離X1は、かかるナノ微粒子21の直径50nm以下である。このため、ナノ微粒子21から光導電膜12に至るまでの間隔は、ほぼ回折限界以下のサイズで構成されている。
このため、ナノ微粒子21から滲出する近接場光は、この回折限界以下の距離をおいて位置する光導電膜12に到達し、また光導電膜12に接触することになる。その結果、この滲出させた近接場光による近接場光相互作用に基づいて光導電膜12における内部光電効果の効率を向上させることが可能となる。
仮にナノ微粒子21が存在していない場合には、被写体像からの光はこの面板13をそのまま通過して光導電膜12へと入射されることになるが、ナノ微粒子21を面板13に含めた本発明では、被写体像からの光を吸い上げて、これを近接場光として滲出させるプロセスを通じて、当該光をピコ秒〜ナノ秒のレベルであっても、ナノ微粒子21に留まらせることが可能となる。その結果、光(近接場光)と光導電膜12との間での近接場光相互作用の作用時間を増大させることが可能となる。そして、この近接場光相互作用の作用時間を増大させることができれば、光導電膜12における光電変換効率を向上させ、所望の感度まで上げることが可能となる。
特に本発明では、ナノ微粒子21を含ませた面板13を光導電膜12に貼着するのみで上述した機能を発揮させることが可能となることから、部品点数が必要以上に多くなることも無くなり、製造労力の負担を減らし、製造コストの低下をも図ることが可能となる。
本発明を適用した撮像管の構成図である。 波長フィルタの詳細な構成例を示す図である。 量子ドット間における量子準位について説明するための図である。 第1の量子ドット、第2の量子ドット間において更に第3の量子ドットを配設する例を示す図である。 1光子からなる入射光Aを、3光子以上の出力光に変換する場合の例を示す図である。 光導電膜の光入射側において面板を貼着する例を示す図である。 光導電膜と、基板との間の界面近傍の拡大図である。
符号の説明
1 撮像管
4 波長フィルタ
10 真空管
11 電子銃
12 光導電膜
13 面板
14 レンズ
16 偏向コイル
18 抵抗
19 電源
21 ナノ微粒子
31 カソード
41 基板
42 第1の量子ドット
43 第2の量子ドット
44 第3の量子ドット

Claims (5)

  1. 電子ビームを出射する電子銃と、
    上記電子ビームが走査され、入射される光の像を内部光電効果に基づいて電気信号に変換し電荷パターンとして蓄積するための光導電膜と、
    上記光導電膜の光入射側に形成された波長フィルタとを備え、
    上記波長フィルタは、
    導電性の結晶により構成される基板と、
    上記基板内に形成され、入射される300nm以下の光の波長に応じて励起子が励起される第1のエネルギー準位を有する第1の量子ドットと、
    上記基板内に上記第1の量子ドットより大体積で形成され、上記第1のエネルギー準位との共鳴に応じて上記第1の量子ドットから励起子が注入される第2のエネルギー準位と、当該第2のエネルギー準位から励起子の遷移が複数段に亘って生じるように設定された複数段の下位準位とを有する第2の量子ドットとを備え、
    上記第2の量子ドットにおける少なくとも一の準位間は、上記励起子の遷移により放出される光が上記光導電膜により吸収可能な波長となるようにエネルギー差が設定されていること
    を特徴とする撮像管。
  2. 上記第1の量子ドットは、X線領域の光又はX線領域の光によって生成される紫外光の入射に応じて励起子が励起される第1のエネルギー準位を有すること
    を特徴とする請求項1記載の撮像管。
  3. 上記波長フィルタは、上記第1の量子ドットと、上記第2の量子ドットとの間に形成された第3の量子ドットとを備え、
    上記第3の量子ドットは、上記第1の量子ドット以上、上記第2の量子ドット以下のサイズで構成され、上記第1の量子ドットから上記第2の量子ドットへ注入される励起子を中継するために、これらと共鳴するエネルギー準位を有するとともに、出力光の波長が光導電膜により吸収可能な波長となるように少なくとも一の下位準位間のエネルギー差が設定されていること
    を特徴とする請求項1又は2記載の撮像管。
  4. 上記光導電膜と上記波長フィルタの間に配設され、直径50nm以下のナノ微粒子を含み、当該ナノ微粒子が、上記光導電膜に対してその直径以下の位置に配置される面板をさらに備えること
    を特徴とする1〜3のうち何れか1項記載の撮像管。
  5. 上記ナノ微粒子は、上記入射される光を吸収し、この吸収した入射光に基づいて近接場光を少なくとも上記光導電膜へ滲出させ、この滲出させた近接場光による近接場光相互作用に基づいて上記光導電膜における内部光電効果の効率を向上させること
    を特徴とする請求項4記載の撮像管。
JP2008158621A 2008-06-18 2008-06-18 撮像管 Expired - Fee Related JP5025577B2 (ja)

Priority Applications (1)

Application Number Priority Date Filing Date Title
JP2008158621A JP5025577B2 (ja) 2008-06-18 2008-06-18 撮像管

Applications Claiming Priority (1)

Application Number Priority Date Filing Date Title
JP2008158621A JP5025577B2 (ja) 2008-06-18 2008-06-18 撮像管

Publications (2)

Publication Number Publication Date
JP2010003416A true JP2010003416A (ja) 2010-01-07
JP5025577B2 JP5025577B2 (ja) 2012-09-12

Family

ID=41584994

Family Applications (1)

Application Number Title Priority Date Filing Date
JP2008158621A Expired - Fee Related JP5025577B2 (ja) 2008-06-18 2008-06-18 撮像管

Country Status (1)

Country Link
JP (1) JP5025577B2 (ja)

Cited By (2)

* Cited by examiner, † Cited by third party
Publication number Priority date Publication date Assignee Title
JP2014127442A (ja) * 2012-12-27 2014-07-07 Pioneer Electronic Corp 撮像装置
JP2014127443A (ja) * 2012-12-27 2014-07-07 Pioneer Electronic Corp 光電変換素子、撮像素子および撮像装置

Citations (6)

* Cited by examiner, † Cited by third party
Publication number Priority date Publication date Assignee Title
JPH04112434A (ja) * 1990-09-03 1992-04-14 Hitachi Ltd 撮像管およびその動作方法
JPH11145409A (ja) * 1997-11-13 1999-05-28 Fujitsu Ltd 半導体記憶装置
JP2002141548A (ja) * 2000-11-02 2002-05-17 Fujitsu Ltd 量子半導体装置、波長多重化光信号受信装置、光メモリ装置
WO2005098966A1 (ja) * 2004-04-05 2005-10-20 Nec Corporation フォトダイオードとその製造方法
JP2008022014A (ja) * 2006-07-13 2008-01-31 Sharp Corp 窒化物半導体を加工してなる発光デバイスの処理方法
JP2008096189A (ja) * 2006-10-10 2008-04-24 Fujirebio Inc 蛍光測定法と、蛍光測定のための測定用チップ及びその製造方法

Patent Citations (6)

* Cited by examiner, † Cited by third party
Publication number Priority date Publication date Assignee Title
JPH04112434A (ja) * 1990-09-03 1992-04-14 Hitachi Ltd 撮像管およびその動作方法
JPH11145409A (ja) * 1997-11-13 1999-05-28 Fujitsu Ltd 半導体記憶装置
JP2002141548A (ja) * 2000-11-02 2002-05-17 Fujitsu Ltd 量子半導体装置、波長多重化光信号受信装置、光メモリ装置
WO2005098966A1 (ja) * 2004-04-05 2005-10-20 Nec Corporation フォトダイオードとその製造方法
JP2008022014A (ja) * 2006-07-13 2008-01-31 Sharp Corp 窒化物半導体を加工してなる発光デバイスの処理方法
JP2008096189A (ja) * 2006-10-10 2008-04-24 Fujirebio Inc 蛍光測定法と、蛍光測定のための測定用チップ及びその製造方法

Cited By (2)

* Cited by examiner, † Cited by third party
Publication number Priority date Publication date Assignee Title
JP2014127442A (ja) * 2012-12-27 2014-07-07 Pioneer Electronic Corp 撮像装置
JP2014127443A (ja) * 2012-12-27 2014-07-07 Pioneer Electronic Corp 光電変換素子、撮像素子および撮像装置

Also Published As

Publication number Publication date
JP5025577B2 (ja) 2012-09-12

Similar Documents

Publication Publication Date Title
JP6827427B2 (ja) ホウ素層付のシリコン基板上にフィールドエミッタアレイが備わるフォトカソード
JP4365255B2 (ja) 発光体と、これを用いた電子線検出器、走査型電子顕微鏡及び質量分析装置
KR101907223B1 (ko) 나노 다이아몬드층을 가지는 전자 증배기 장치
CN103178150B (zh) 天线耦合太赫兹探测器
CN100481531C (zh) 发光体和包含它的电子束检测器、扫描型电子显微镜、质量分析装置
JP2004080010A (ja) 直接変換に基づく画像化x線検出器
CN103026449B (zh) 用于使用电子倍增的真空管的电子倍增结构以及具有该电子倍增结构的使用电子倍增的真空管
Liu et al. Enhancement of photoemission capability and electron collection efficiency of field-assisted GaN nanowire array photocathode
JP7033556B2 (ja) ナノワイヤを伴うフォトカソードの製造方法
JP5025577B2 (ja) 撮像管
JP4805043B2 (ja) 光電陰極、光電陰極アレイ、および電子管
JP2008004452A (ja) 照明装置、照明方法、光検出装置及び光検出方法
US7714300B1 (en) High-speed high-efficiency solid-state electron detector
CN104756221B (zh) 纳米颗粒材料(ngm)材料、用于制造所述材料的方法和装置及包括所述材料的电部件
JP2013033664A (ja) 光導電素子及び撮像デバイス
CN118693117A (zh) 一种纳米空气沟道光电二极管阵列
CN108140532A (zh) 光电管和制造方法
Minns et al. Parameters of fast and high-yield InAs/GaAs quantum dot semiconductor scintillator
KR101632754B1 (ko) 나이트 비전용 이미지 센서 셀
Baum et al. Negative electron affinity photocathodes as high-performance electron sources. Part 1: achievement of ultrahigh brightness from an NEA photocathode
Bazarov et al. PROOF COPY 080803JAP
US10804085B2 (en) Photomultiplier and methods of making it
JP2007073529A (ja) イメージインテンシファイア装置および方法
Boukhicha et al. UV hybrid photon detector based on GaN photocathodes and Si low gain avalanche diode
JP2009272102A (ja) 光電陰極及びそれを備える電子管

Legal Events

Date Code Title Description
A131 Notification of reasons for refusal

Free format text: JAPANESE INTERMEDIATE CODE: A131

Effective date: 20120110

A521 Request for written amendment filed

Free format text: JAPANESE INTERMEDIATE CODE: A523

Effective date: 20120312

TRDD Decision of grant or rejection written
A01 Written decision to grant a patent or to grant a registration (utility model)

Free format text: JAPANESE INTERMEDIATE CODE: A01

Effective date: 20120522

A01 Written decision to grant a patent or to grant a registration (utility model)

Free format text: JAPANESE INTERMEDIATE CODE: A01

A61 First payment of annual fees (during grant procedure)

Free format text: JAPANESE INTERMEDIATE CODE: A61

Effective date: 20120619

FPAY Renewal fee payment (event date is renewal date of database)

Free format text: PAYMENT UNTIL: 20150629

Year of fee payment: 3

R150 Certificate of patent or registration of utility model

Free format text: JAPANESE INTERMEDIATE CODE: R150

S533 Written request for registration of change of name

Free format text: JAPANESE INTERMEDIATE CODE: R313533

R350 Written notification of registration of transfer

Free format text: JAPANESE INTERMEDIATE CODE: R350

LAPS Cancellation because of no payment of annual fees