JP2010003166A - 画像形成装置及び画像形成方法 - Google Patents

画像形成装置及び画像形成方法 Download PDF

Info

Publication number
JP2010003166A
JP2010003166A JP2008162303A JP2008162303A JP2010003166A JP 2010003166 A JP2010003166 A JP 2010003166A JP 2008162303 A JP2008162303 A JP 2008162303A JP 2008162303 A JP2008162303 A JP 2008162303A JP 2010003166 A JP2010003166 A JP 2010003166A
Authority
JP
Japan
Prior art keywords
data
document
information processing
copy
forgery
Prior art date
Legal status (The legal status is an assumption and is not a legal conclusion. Google has not performed a legal analysis and makes no representation as to the accuracy of the status listed.)
Granted
Application number
JP2008162303A
Other languages
English (en)
Other versions
JP5127585B2 (ja
JP2010003166A5 (ja
Inventor
Hiroshi Ogasawara
拓 小笠原
Current Assignee (The listed assignees may be inaccurate. Google has not performed a legal analysis and makes no representation or warranty as to the accuracy of the list.)
Canon Inc
Original Assignee
Canon Inc
Priority date (The priority date is an assumption and is not a legal conclusion. Google has not performed a legal analysis and makes no representation as to the accuracy of the date listed.)
Filing date
Publication date
Application filed by Canon Inc filed Critical Canon Inc
Priority to JP2008162303A priority Critical patent/JP5127585B2/ja
Priority to US12/487,475 priority patent/US8422057B2/en
Publication of JP2010003166A publication Critical patent/JP2010003166A/ja
Publication of JP2010003166A5 publication Critical patent/JP2010003166A5/ja
Application granted granted Critical
Publication of JP5127585B2 publication Critical patent/JP5127585B2/ja
Expired - Fee Related legal-status Critical Current
Anticipated expiration legal-status Critical

Links

Images

Classifications

    • GPHYSICS
    • G06COMPUTING OR CALCULATING; COUNTING
    • G06FELECTRIC DIGITAL DATA PROCESSING
    • G06F3/00Input arrangements for transferring data to be processed into a form capable of being handled by the computer; Output arrangements for transferring data from processing unit to output unit, e.g. interface arrangements
    • G06F3/12Digital output to print unit, e.g. line printer, chain printer
    • G06F3/1201Dedicated interfaces to print systems
    • G06F3/1223Dedicated interfaces to print systems specifically adapted to use a particular technique
    • G06F3/1237Print job management
    • G06F3/1238Secure printing, e.g. user identification, user rights for device usage, unallowed content, blanking portions or fields of a page, releasing held jobs
    • GPHYSICS
    • G06COMPUTING OR CALCULATING; COUNTING
    • G06FELECTRIC DIGITAL DATA PROCESSING
    • G06F21/00Security arrangements for protecting computers, components thereof, programs or data against unauthorised activity
    • G06F21/60Protecting data
    • G06F21/606Protecting data by securing the transmission between two devices or processes
    • G06F21/608Secure printing
    • GPHYSICS
    • G06COMPUTING OR CALCULATING; COUNTING
    • G06FELECTRIC DIGITAL DATA PROCESSING
    • G06F3/00Input arrangements for transferring data to be processed into a form capable of being handled by the computer; Output arrangements for transferring data from processing unit to output unit, e.g. interface arrangements
    • G06F3/12Digital output to print unit, e.g. line printer, chain printer
    • G06F3/1201Dedicated interfaces to print systems
    • G06F3/1202Dedicated interfaces to print systems specifically adapted to achieve a particular effect
    • G06F3/1203Improving or facilitating administration, e.g. print management
    • G06F3/1205Improving or facilitating administration, e.g. print management resulting in increased flexibility in print job configuration, e.g. job settings, print requirements, job tickets
    • GPHYSICS
    • G06COMPUTING OR CALCULATING; COUNTING
    • G06FELECTRIC DIGITAL DATA PROCESSING
    • G06F3/00Input arrangements for transferring data to be processed into a form capable of being handled by the computer; Output arrangements for transferring data from processing unit to output unit, e.g. interface arrangements
    • G06F3/12Digital output to print unit, e.g. line printer, chain printer
    • G06F3/1201Dedicated interfaces to print systems
    • G06F3/1202Dedicated interfaces to print systems specifically adapted to achieve a particular effect
    • G06F3/1222Increasing security of the print job
    • GPHYSICS
    • G06COMPUTING OR CALCULATING; COUNTING
    • G06FELECTRIC DIGITAL DATA PROCESSING
    • G06F3/00Input arrangements for transferring data to be processed into a form capable of being handled by the computer; Output arrangements for transferring data from processing unit to output unit, e.g. interface arrangements
    • G06F3/12Digital output to print unit, e.g. line printer, chain printer
    • G06F3/1201Dedicated interfaces to print systems
    • G06F3/1278Dedicated interfaces to print systems specifically adapted to adopt a particular infrastructure
    • G06F3/1285Remote printer device, e.g. being remote from client or server
    • G06F3/1288Remote printer device, e.g. being remote from client or server in client-server-printer device configuration

Landscapes

  • Engineering & Computer Science (AREA)
  • Theoretical Computer Science (AREA)
  • Physics & Mathematics (AREA)
  • General Engineering & Computer Science (AREA)
  • General Physics & Mathematics (AREA)
  • Human Computer Interaction (AREA)
  • Computer Security & Cryptography (AREA)
  • General Health & Medical Sciences (AREA)
  • Bioethics (AREA)
  • Computer Hardware Design (AREA)
  • Health & Medical Sciences (AREA)
  • Software Systems (AREA)
  • Editing Of Facsimile Originals (AREA)
  • Facsimiles In General (AREA)
  • Accessory Devices And Overall Control Thereof (AREA)
  • Facsimile Image Signal Circuits (AREA)
  • Image Processing (AREA)

Abstract

【課題】 画像形成装置が保存している地紋文書を情報処理装置へ電子ファイルとして送信する処理に関して、安全かつ実用的なセキュリティを施す。
【解決手段】 画像形成装置が記憶領域に保存された地紋文書をネットワークで接続された情報処理装置へ電子ファイルとして送信する処理において、認証を行い閲覧許可者には原稿と地紋を合成し情報処理装置にて編集不可能な電子ファイルを、文書オーナーに対しては情報処理装置にて編集可能な形式で電子ファイルを送信する。
【選択図】 図8

Description

地紋文書を取り扱うことが出来る画像形成装置とその制御方法に関するものである。
従来の画像形成装置に関連したアクセス権による地紋制御については、情報処理装置がプリンタドライバ(不図示)によって地紋制御を施したものがある(例えば、特許文献1参照)。
この従来の地紋制御を行うシステムの構成図を図10に示す。
1001は管理サーバ、1002は情報処理装置、1003は画像形成装置である。
これらは、LAN1004によってネットワーク接続されている。
このシステムの情報処理装置において、地紋制御を行う際の処理手順を図11のフローチャートに示す。
このフローチャートのS1101〜1106における処理は、情報処理装置1003におけるCPU(不図示)によって制御される。また、S1107は、情報処理装置1002のCPU(不図示)によって制御される。
情報処理装置1002より画像形成装置1003へ印刷指示を行う場合(S1101)に、まず、情報処理装置1002は管理サーバ1001へ認証を要求する(S1102)。
認証処理(S1103)により、管理サーバ1001に登録されているユーザであると判断された場合には、原稿に地紋パターンを付加した印刷データを作成する(S1104)。
認証処理(S1103)により、管理サーバ1001に登録されていないユーザであると判断された場合には、地紋パターンを付加しない原稿の印刷データを作成する(S1105)。情報処理装置1002は作成した印刷データを画像形成装置1003へ送信する(S1106)。画像形成装置1003は受診した印刷データを印刷する(S1107)。これによって、ユーザ権限によって地紋パターンの付加/非付加が制御可能になる。
さらには認証したユーザIDを地紋へ埋め込むことが可能となり、地紋文書が流出した場合にそのユーザを特定することができる。
また、従来の画像形成装置が扱う地紋文書に対して出力形式の変更を施したものがある(例えば、特許文献2参照)。
この従来の地紋制御を行うシステムの構成図を図12に示す。
1201は情報処理装置、1202は1200dpi解析度を有する画像形成装置、1203は600dpi解析度を有する画像形成装置である。
これらは、LAN1204によってネットワーク接続されている。
このシステムの情報処理装置において、地紋制御を行う際の処理手順を図13のフローチャートに示す。
このフローチャートの各ステップにおける処理は、情報処理装置1201のCPU(不図示)又は画像形成装置1202、1203のCPU(不図示)によって制御される。
画像形成装置1202、1203が情報処理装置1201より受信する地紋文書の印刷データは、原稿データと地紋ビットマップデータと地紋ベクタデータから構成される。画像形成装置1202、1203が、この印刷データを受信する(S1301)と地紋ビットマップデータの解像度を解析する(S1302)。
そして、印刷データ中の地紋ビットマップデータが解像度変換を行うことなく出力可能かを判断する(S1303)。
画像形成装置が出力可能と判断した場合は、原稿ビットマップデータと地紋ビットマップデータを合成し印刷を行う(S1304)。
例えば、情報処理装置から1200dpiの解析度を有するデータを、画像形成装置1202が受信した場合、出力可能なので、原稿ビットマップデータと地紋ビットマップデータを合成し印刷を行う。
また、画像形成装置が、出力不可能と判断した場合には、地紋ベクタデータより出力可能な解像度の地紋ビットマップデータを作成する(S1305)。
例えば、情報処理装置から1200dpiの解析度を有するデータを、画像形成装置1203が受信した場合、出力不可能なので、地紋ベクタデータより出力可能な解像度の地紋ビットマップデータを作成する。
そして、原稿ビットマップデータと作成した地紋ビットマップデータを合成し印刷を行う(S1306)。
これにより、解像度の差異により地紋が正しく印刷されないことを防止することができる。
つまり、出力先の条件によって地紋のパターンを変更できる。
しかしこの方法では、画像形成装置に一旦保存された地紋文書を、他の画像形成装置や情報処理装置へ送信する際に、地紋文書の印刷データから地紋ビットマップデータや地紋ベクタデータを削除するといった編集を行う。すると、本来地紋によって複製に対する牽制を行う必要のある機密文書を、権限のない者を含む誰に対しても原稿データのみが送信されてしまう可能性がある。
これを回避するために、例えば特許文献3などに示されるように画像形成装置が情報処理装置へ地紋文書等の複写禁止画像データを送信する際には、常に原稿と地紋の合成処理を強制する方法がある。
特開2004−078752 特開2007−331313 特開2007−166303
従来の地紋文書の制御方法に印刷に関しては情報処理装置において認証を行い、その結果により情報処理装置が原稿のみの印刷データを作成するか、原稿と地紋パターンを合成した印刷データを作成するかを選択し、画像形成装置へ送信を行っていた。
しかし情報処理装置で原稿と地紋パターンとを合成した印刷データを画像形成装置へ保存する方法では、画像形成装置で原稿データと地紋データに再び分離するのは困難であった。
また上述したように、画像形成装置が情報処理装置へ地紋文書を送信する際に常に原稿と地紋の合成処理を強制する方法では、本来原稿のみを取得したい文書オーナーに対しても原稿と地紋を合成したイメージデータを送信する。
このため、文書オーナーの利便性を制限してしまう問題があった。
本提案では、画像形成装置の記憶領域に保存された地紋文書を、画像形成装置がネットワークで接続された情報処理装置へ電子ファイルとして出力する際の上記問題を解決することを目的とする。
つまり、画像形成装置の記憶領域に地紋文書として保存された地紋文書を、情報処理装置へ送信する際、送信を指示するユーザの権限によってファイル形式を変更する。
具体的には、ユーザの権限によって地紋文書をビットマップ化する前であり文書が情報処理装置において編集可能なデータ形式のファイルで送信する。
又は、地紋文書の地紋データと原稿データを情報処理装置において地紋データに対して編集不可能なイメージデータ形式のファイルで送信することを目的とする。
前記課題を解決するため、本発明における画像形成装置は、
認証データを有する原稿データと地紋データとから構成される文書データを記憶領域に保存する保存手段と、前記文書データを情報処理装置へ送信する際、該送信を指示するユーザの権限と前記認証データを比較する権限確認手段と、
を備え、該権限確認手段の結果に応じて、前記文書データを、ビットマップ化する前であり前記文書データが前記情報処理装置において編集可能なデータ形式のファイルで送信する、又は、前記地紋データと前記原稿データを前記情報処理装置において前記地紋データに対して編集不可能なイメージデータ形式のファイルで送信する送信手段を有することを特徴とする。
また、前記課題を解決するため本発明における情報処理装置は、
認証データを有する原稿データと地紋データとから構成された文書データを記憶領域に保存する保存手段と、前記文書データを情報処理装置へ送信する際、該送信を指示するユーザの権限と前記認証データを比較する権限確認手段と、を備え、該権限確認手段の結果に応じて、前記文書データを、ビットマップ化する前であり前記文書データが前記情報処理装置において編集可能なデータ形式のファイルで送信する、又は、前記地紋データと前記原稿データを前記情報処理装置において地紋データに対して編集不可能なイメージデータ形式のファイルで送信する送信手段、を有することを特徴とする。
本発明によれば、画像形成装置が情報処理装置へ地紋文書を電子ファイルとして出力する場合に、送信を指示するユーザの権限によってファイル形式を変更することが可能になる。
即ち、ユーザの権限によって地紋文書をビットマップ化する前であり文書が情報処理装置において編集可能なデータ形式のファイルで送信する。
又は、地紋文書の地紋データと原稿データを情報処理装置において地紋データに対して編集不可能なイメージデータ形式のファイルで送信することが可能になる。
また、本発明によれば画像形成装置の記憶領域に保存される文書データが原稿データに加えて地紋データと認証データを保持するため、認証を行うための管理サーバや、地紋パターンを蓄積するデータベースを必要としない。
このため地紋文書に対する効果的なセキュリティを単純な構成により実現することが可能になる。
(実施例1)
以下、本発明の前提となる画像形成システム構成及び処理の流れについて説明する。
図1は画像形成装置101と情報処理装置102がLAN103などのネットワークを介して互いに接続されている。
画像形成装置(MFP:Multi Function Periperal)101について説明する。
パネル111は、ユーザが画像形成装置101の各種設定を行うための操作部である。
CPU112は画像形成装置101で行われる処理を統括的に制御する。
RAM113はCPU112のワークエリアとして使用される。またデータの保存場所としても使用される。
ハードディスク(HDD)114はソフトウェアや文書データ等を保存する。プリンタエンジン115は受信した画像データを出力用紙上に形成する。
スキャナ116は印刷物を光学的に読み取って電子的なイメージを作成する。通信インターフェース(I/F)117は、LAN103を介して他装置とデータ送受信を行う。
情報処理装置102について説明する。
CPU121は情報処理装置102で行われる処理を統括的に制御する。
RAM122はCPU121のワークエリアとして使用される。
またデータの保存場所としても使用される。
ハードディスク(HDD)123は、ソフトウェアやデータ等を保存する。
通信インターフェース124はネットワーク103を介して他装置とのデータ送受信を行う。
図2に本画像形成システム内に存在するソフトウェアモジュール及びハードウェアモジュールの概念図を示す。
まず、画像形成装置101におけるのソフトウェアモジュール及びハードウェアモジュールの概念図について説明する。
これらは、CPU112によって制御される。
データ受信部202は通信インターフェース117を介して外部装置からデータを受信する。
データ送信部207はネットワークに接続された外部装置に対して通信インターフェース117を介してデータを送信する。
PDL解析部(インタプリタ)203は受信した印刷データの解釈を行い、内部データ生成部204が当該解釈より内部(中間言語)データを生成する。
レンダラ205は内部データをビットマップ展開しイメージデータを作成する。制御部201では後述する本発明のアクセス権による地紋文書制御を含む処理を行う。
次に、情報処理装置102におけるのソフトウェアモジュール及びハードウェアモジュールの概念図について説明する。
これらは、CPU121によって制御される。
ハードディスク(HDD)123又は図1に示すRAM122にはデータが保存され、これらのデータはプリンタドライバ211により印刷可能である。
図3に、地紋を設定する対象の原稿を情報処理装置102から画像形成装置101に送信するフローチャートを示す。
フロ−チャートにおけるすべての動作は、情報処理装置内のCPU121によって制御される。
情報処理装置は印刷設定画面にてユーザより原稿に対する地紋の設定を受け付ける(S301)。
情報処理装置は印刷設定画面にてユーザより、文書オーナーのパスワードと文書管理閲覧者のパスワード設定を受け付ける(S302)。
この地紋設定に使用する情報処理装置のUI画面構成を図6に示す。
これは後述する画像形成装置の操作部パネル111における地紋設定画面構成も同じである。
画面601は一般的な地紋設定である、印字する文字列、印字する文字列サイズ、文字列の向き、文字列を白抜きにするか否か、背景模様、文字/背景のコントラスト調整等の設定欄から構成される。
これに加えて、文書オーナーのパスワード設定欄602と文書閲覧許可者のパスワード設定欄603とから構成される。
情報処理装置102は、原稿PDLデータと地紋PDLデータと認証データとから印刷データ作成をする(S303)。
情報処理装置102は作成した印刷データを画像形成装置101へ送信する(S304)。
図4に画像形成装置101が受信した印刷データを記憶領域であるRAM113に保存するフローチャートを示す。
画像形成装置101は、情報処理装置102より送信された印刷データを受信する(S401)。
画像形成装置101は、受信した印刷データに対してPDL解析を行い、原稿のベクタデータと地紋のベクタデータを生成する(S402)。
画像形成装置101は原稿のベクタデータと地紋のベクタデータと認証データから構成される文書データを作成する(S403)。
画像形成装置101は作成した文書データを記憶領域に保存する(S404)。
図7に画像形成装置101の記憶領域に保存される文書データ構成図を示す。
画像形成装置101の記憶領域に保存される文書データ701は、認証データ702を有する原稿のベクタデータ703と地紋のベクタデータ704とより構成される。
ベクタデータとは画像形成装置101における内部処理のためのデータフォーマットであり、原稿のベクタデータ703は原稿の描画に使用され、地紋のベクタデータ704は地紋パターンの描画に使用される。
認証データ702は、画像形成装置101がユーザ操作によりPCなどの情報処理装置102へ文書データ701を電子ファイルとして出力する場合に、アクセス権の確認に使用される。
認証データ702は、文書オーナー用のパスワードと文書閲覧可能者用のパスワードで構成される。
画像形成装置101における認証及び文書データの出力方法は図8のフローチャートへ示す。
なお、認証データ702は、文書オーナーと文書閲覧可能者以外のパスワードが含まれてもよい。
また、地紋を付加する原稿は、上述したように情報処理装置102にて作成される必要はない。
画像形成装置101の記憶領域に保存された原稿に対して地紋設定を付加することもできる。
この場合について、図5に示す。
図5は、画像形成装置101が記憶領域に保存した原稿から構成される文書データに地紋設定を行うフローチャートを示す。
画像形成装置101が地紋付与の設定を受け付ける(S501)。
設定する情報としてはまず一般的な地紋設定である。
例えば、印字する文字列、印字する文字列サイズ、文字列の向き、文字列を白抜きにするか否か、背景模様、文字/背景のコントラスト調整等である。
これらの地紋設定に加えて、画像形成装置は文書オーナーのパスワードと文書閲覧可能者のパスワードを受け付ける(S502)。
上述した図6にこれらの地紋設定に使用する画像形成装置102の操作部を示す。画像形成措置102は、受け付けた地紋設定より地紋のベクタデータ704を作成する。
さらに画像形成装置101は原稿のベクタデータ703と地紋のベクタデータ704と認証データ702より文書データを構成する(S503)。
画像形成装置101は作成した文書データ701を記憶領域に保存する(S504)。
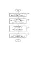
図8に画像形成装置101が地紋文書を情報処理装置102へ送信するフローチャートを示す。
画像形成装置101の記憶領域には文書データ701が保存されている。
画像形成装置101は、送信された文書データ701が認証データ702を保持する場合には、認証のためユーザより入力データを受け付ける(S801)。
画像形成装置101は文書データ701の認証データ702とユーザ入力データを比較する(S802)。これにより、文書データに対するユーザの権限確認が行われる。
権限確認の結果、画像形成装置101がユーザ入力データと文書オーナーのパスワードが一致すると判断した場合、S803へ進む。
S803では、画像形成装置101は情報処理装置101においてユーザが原稿のベクタデータ703を編集可能なオブジェクト形式で電子ファイルを生成する。
即ち、情報処理装置102では、原稿のベクタデータ703と地紋のベクタデータ704を分離するといった編集が可能となる。
この電子ファイルを図9の901へ示す。
S802の認証で、画像形成装置101がユーザ入力データと文書閲覧可能者のパスワードが一致すると判断した場合、S804へ進む。
S804では、画像形成装置101は地紋のベクタデータと原稿のベクタデータに対してレンダリング処理及び画像処理を行い合成しビットマップ化した電子ファイルを生成する。
この場合、情報処理装置102では、原稿データと地紋データはビットマップ上で合成されているので、原稿から地紋を取り除くといった地紋デ−タに対する編集は不可能となる。
この電子ファイルを図9の904へ示す。
S805では、以上のようにデータ形式を変換して生成された電子ファイルを、画像形成装置101は、ユーザが指定した情報処理装置へ送信する。
S803の認証において、ユーザ入力データが文書データの保持する認証データ702のいずれにも一致しない場合は、806へ進む。
S806では、文書ファイルを情報処理装置102へ送信しない。
なお、この場合画像形成装置101は、操作部にパスワード不一致により送信できない旨を表示してもよい。
また、画像形成装置101は記憶領域に保存されている文書データ701を印刷することも可能である。
図9は、画像形成装置101によって生成される文書ファイルである。
901は画像形成装置101によって図8におけるS803で生成される電子ファイルである。
電子ファイル901はPCなどの情報処理装置102で編集可能であり、例えばユーザは原稿902の編集や、貼り付けたイメージ図である903を別のイメージ図に変更することができる。
904は画像形成装置101によって図8におけるS804で生成される電子ファイルである。
電子ファイル904は、原稿と地紋が合成されたビットマップ形式の電子ファイルである。
このため、この電子ファイルが画像形成装置101よりPCなどの情報処理装置102へ出力され、この電子ファイルを受信した情報処理装置にて、ユーザがこの電子ファイルの編集を行うことは不可能である。
例えばユーザは原稿の改竄や、地紋の削除を行えないため、機密文書として一定のセキュリティが保つことができる。
この電子ファイルは所謂一般的な地紋文書であり、複写が行われた場合には背景に埋め込まれた「Confidential」などのコピー牽制文字列が浮き上がり、不正なコピーを抑制する。
なお、ここで地紋に対して編集不可能と表現されているのは、地紋データに対して削除を行うことが不可能ということを意味している。
これにより、画像形成装置101が情報処理装置102へ地紋文書を電子ファイルとして出力する場合に、文書オーナーであれば認証後に情報処理装置101にて編集可能なデータ形式で原稿を出力することができる。
また文書閲覧許可者であれば、原稿と地紋パターンが合成されたイメージデータ形式で情報処理装置102にて編集不可能な電子ファイルを得ることができる。
つまり、画像形成装置101は機密文書を情報処理装置102へ出力指示を行った人が、文書閲覧可能者の場合は地紋付与した編集不可能な電子ファイルとして出力する。
一方で、画像形成装置101は機密文書を情報処理装置102へ出力指示を行った人が文書オーナーの場合は編集可能な電子ファイルとして出力するといった安全かつ実用的なセキュリティを施すことができる。
また、画像形成装置101の記憶領域に保存される文書データが原稿データに加えて地紋データと認証データを保持するため、認証を行うための管理サーバや、地紋パターンを蓄積するデータベースを必要としない。
このため地紋文書に対する効果的なセキュリティを単純な構成により実現することが可能である。
(実施例2)
本実施例2では機密文書を情報処理装置が保存・出力する場合について説明する。
実施例1の画像処理装置における処理を情報処理装置で行うものである。
図14に本実施列の構成を示す。本実施例では機密文書を保持・出力する情報処理装置であるサーバ装置1401と文書を受け取る情報処理装置であるクライアント装置201がLAN103などのネットワークを介して互いに接続されている。
サーバ装置1401について説明する。CPU1402はサーバ装置で行われる処理を統括的に制御する。RAM1403はCPU1402のワークエリアとして使用される。またデータの保存場所としても使用される。ハードディスク(HDD)1404は、ソフトウェアやデータ等を保存する。通信インターフェース1405はネットワーク103を介して他装置とのデータ送受信を行う。
クライアント装置201に関しては実施例1で示した情報処理装置102と同様である。
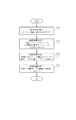
図15にサーバ装置1401が地紋文書をクライアント装置201へ送信するフローチャートを示す。
サーバ装置1401の記憶領域には文書データ701が保存されている。文書データ701は実施例1で述べたように、認証データ702を有する原稿のベクタデータ702と地紋のベクタデータ703とより構成される。サーバ装置1401は送信を指示された文書データ701が認証データ702を保持する場合に認証のためユーザより入力データを受け付ける(S1501)。サーバ装置1401は文書データ701の認証データ702とユーザ入力データを比較する(S1502)。
サーバ装置1401がユーザ入力データと文書オーナーのパスワードが一致すると判断した場合、サーバ装置1401は原稿のベクタデータ703よりクライアント装置201においてユーザが編集可能なオブジェクト形式で電子ファイルを生成する(S1503)。この電子ファイルを図9の901に示す。
S1502で、サーバ装置1401がユーザ入力データと文書閲覧可能者のパスワードが一致すると判断した場合、サーバ装置1401は地紋のベクタデータと原稿のベクタデータに対してレンダリング処理及び画像処理を行う。
即ち、この2つのデータを合成して、ビットマップ形式の電子ファイルを生成する(S1504)。この電子ファイルを図9の904に示す。サーバ装置1401は、生成した電子ファイルをユーザが指定したクライアント装置201へ送信する(S1505)。
上記に示したようにクライアント装置201にて、この電子ファイル中の地紋データを削除することは不可能である。
S1503の認証において、ユーザ入力データが文書データの保持する認証データ702のいずれにも一致しない場合は、文書ファイルをクライアント装置201へ送信しない。
なお、この場合は、クライアント装置201は画面上にパスワード不一致により送信できない旨を表示してもよい。
これにより、サーバ装置1401がクライアント装置201へ地紋文書を電子ファイルとして出力する場合に、文書オーナーであれば認証後にクライアント装置201にて編集可能なデータ形式で原稿を出力することができる。
また文書閲覧許可者であれば、原稿と地紋パターンが合成されたイメージデータ形式でクライアント装置201にて編集不可能な電子ファイルを得ることができる。
つまり、サーバ装置1401は、機密文書をクライアント装置201へ出力指示を行った人が文書閲覧可能者の場合は、クライアント装置201へ地紋付与した編集不可能な電子ファイルを出力する。
一方で、サーバ装置1401において、機密文書をクライアント装置201へ出力指示を行った人が文書オーナーの場合は、クライアント装置201へ編集可能な電子ファイルを出力すること。
以上によって、安全かつ実用的なセキュリティを提供することができる。
また、サーバ装置1401の記憶領域に保存される文書データが原稿データに加えて地紋データと認証データを保持するため、認証を行うための管理サーバや、地紋パターンを蓄積するデータベースを必要としない。
このため地紋文書に対する効果的なセキュリティを単純な構成により実現することが可能である。
「本発明の他の実施形態」
前述した実施形態の機能を実現するように前述した実施形態の構成を動作させるプログラムを記憶媒体に記憶させ、該記憶媒体に記憶されたプログラムをコードとして読み出し、コンピュータにおいて実行する処理方法も上述の実施形態の範疇に含まれる。また、前述のプログラムが記憶された記憶媒体はもちろんそのプログラム自体も上述の実施形態に含まれる。
かかる記憶媒体としてはたとえばフロッピー(登録商標)ディスク、ハードディスク、光ディスク、光磁気ディスク、CD―ROM、磁気テープ、不揮発性メモリカード、ROMを用いることができる。
また前述の記憶媒体に記憶されたプログラム単体で処理を実行しているものに限らず、他のソフトウェア、拡張ボードの機能と共同して、OS上で動作し前述の実施形態の動作を実行するものも前述した実施形態の範疇に含まれる。
本画像形成システムのシステム構成図 本画像形成システムのソフトウェア及びハードウェアを概念的に表した図 情報処理装置における地紋文書の作成処理を示すフローチャート 画像形成装置が地紋文書を記憶領域に保存するフローチャート 画像形成装置が記憶領域に保存された文書データに地紋設定を行うフローチャート 画像形成装置にて文書データへ地紋設定を行う操作部を表す図 画像形成装置に保存される文書データを示す図 画像形成装置における地紋文書に対する処理を示すフローチャート 画像形成装置が出力する電子ファイルを示す図 従来のアクセス権による地紋制御の構成図 従来のアクセス権による地紋制御のフローチャート 従来の地紋文書の出力形式を変換する構成図 従来の地紋文書の出力形式を変換するフローチャート 本画像形成システムの実施例2におけるシステム構成図 サーバ装置における地紋文書に対する処理を示すフローチャート

Claims (18)

  1. 認証データを有する原稿データと地紋データとから構成される文書データを記憶領域に保存する保存手段と、
    前記文書データを情報処理装置へ送信する際、該送信を指示するユーザの権限と前記認証データを比較する権限確認手段と、
    を備え、
    該権限確認手段の結果に応じて、
    前記文書データを、ビットマップ化する前であり前記文書データが前記情報処理装置において編集可能なデータ形式のファイルで送信する、又は、前記地紋データと前記原稿データを前記情報処理装置において前記地紋データに対して編集不可能なイメージデータ形式のファイルで送信する
    送信手段、
    を有することを特徴とする画像形成装置。
  2. 前記地紋データと前記原稿データを前記情報処理装置において地紋データに対して編集不可能なイメージデータ形式のファイルとは、ビットマップ形式のデータであることを特徴とする請求項1に記載の画像形成装置。
  3. 認証データを有する原稿データと地紋データとから構成される印刷データを作成するデータ作成手段と、
    前記印刷データを送信するデータ送信手段と、
    を有することを特徴とする情報処理装置。
  4. 認証データを有する原稿データと地紋データとから構成される印刷データを受信する受信手段を有し、
    前記保存手段は更に
    前記受信手段にて受信した印刷データを解析して、内部データを生成し、
    該内部データを文書データとして保存することを特徴とする請求項1に記載の画像形成装置。
  5. 前記保存手段は、更に
    前記記憶領域に記憶されていて認証データを有していない文書データに対して地紋設定を行う地紋設定手段を有し、
    該地紋設定が行われた文書を、認証データを有する原稿データと地紋データとで構成される文書データとして保存することを特徴とする請求項1に記載の画像形成装置。
  6. 認証データを有する原稿データと地紋データとから構成された文書データを記憶領域に保存する保存手段と、
    前記文書データを情報処理装置へ送信する際、該送信を指示するユーザの権限と前記認証データを比較する権限確認手段と、
    を備え、
    該権限確認手段の結果に応じて、
    前記文書データを、ビットマップ化する前であり前記文書データが前記情報処理装置において編集可能なデータ形式のファイルで送信する、
    又は、前記地紋データと前記原稿データを前記情報処理装置において地紋データに対して編集不可能なイメージデータ形式のファイルで送信する
    送信手段、
    を有することを特徴とする情報処理装置。
  7. 前記地紋データと前記原稿データを前記情報処理装置において地紋データに対して編集不可能なイメージデータ形式のファイルとは、ビットマップ形式のデータであることを特徴とする請求項6に記載の情報処理装置。
  8. 画像形成装置と情報処理装置からなる画像形成システムにおいて、
    前記画像形成装置は、
    認証データを有する原稿データと地紋データから構成される文書データを、
    前記認証データとユーザの権限に基づいて、
    前記情報処理装置が編集可能なデータ形式のファイル、または、前記地紋データと前記原稿データを前記情報処理装置が編集不可能なイメージデータ形式のファイルで
    前記情報処理装置へ送信することを特徴とする画像形成システム。
  9. 認証データを有する原稿データと地紋データとから構成される文書データを記憶領域に保存する保存ステップと、
    前記文書データを情報処理装置へ送信する際、該送信を指示するユーザの権限と前記認証データを比較する権限確認ステップと、
    を備え、
    該権限確認ステップの結果に応じて、
    前記文書データを、ビットマップ化する前であり前記文書データが前記情報処理装置において編集可能なデータ形式のファイルで送信する、
    又は、前記地紋データと前記原稿データを前記情報処理装置において前記地紋データに対して編集不可能なイメージデータ形式のファイルで送信する
    送信ステップ、
    を有することを特徴とする画像形成方法。
  10. 前記地紋データと前記原稿データを前記情報処理装置において地紋データに対して編集不可能なイメージデータ形式のファイルとは、ビットマップ形式のデータであることを特徴とする請求項9に記載の画像形成方法。
  11. 認証データを有する原稿データと地紋データとから構成される印刷データを作成するデータ作成ステップと、
    前記印刷データを送信するデータ送信ステップと、
    を有することを特徴とする情報処理方法。
  12. 認証データを有する原稿データと地紋データとから構成される印刷データを受信する受信ステップを有し、
    前記保存ステップは更に
    前記受信ステップにて受信した印刷データを解析して、内部データを生成し、
    該内部データを文書データとして保存することを特徴とする請求項9に記載の画像形成方法。
  13. 前記保存ステップは、更に
    前記記憶領域に記憶されていて認証データを有していない文書データに対して地紋設定を行う地紋設定ステップを有し、
    該地紋設定が行われた文書を、認証データを有する原稿データと地紋データとで構成される文書データとして保存することを特徴とする請求項9に記載の画像形成方法。
  14. 認証データを有する原稿データと地紋データとから構成された文書データを記憶領域に保存する保存ステップと、
    前記文書データを情報処理装置へ送信する際、該送信を指示するユーザの権限と前記認証データを比較する権限確認ステップと
    を備え、
    該権限確認ステップの結果に応じて、
    前記文書データを、ビットマップ化する前であり前記文書データが前記情報処理装置において編集可能なデータ形式のファイルで送信する、
    又は、前記地紋データと前記原稿データを前記情報処理装置において地紋データに対して編集不可能なイメージデータ形式のファイルで送信する
    送信ステップ、
    を有することを特徴とする情報処理方法。
  15. 前記地紋データと前記原稿データを前記情報処理装置において地紋データに対して編集不可能なイメージデータ形式のファイルとは、ビットマップ形式のデータであることを特徴とする請求項14に記載の情報処理方法。
  16. コンピュータに
    認証データを有する原稿データと地紋データとから構成される文書データを記憶領域に保存する保存ステップと、
    前記文書データを情報処理装置へ送信する際、該送信を指示するユーザの権限と前記認証データを比較する権限確認ステップと、
    を備え、
    該権限確認ステップの結果に応じて、
    前記文書データを、ビットマップ化する前であり前記文書データが前記情報処理装置において編集可能なデータ形式のファイルで送信する、
    又は、前記地紋データと前記原稿データを前記情報処理装置において前記地紋データに対して編集不可能なイメージデータ形式のファイルで送信する
    送信ステップ、
    を実行させるためのプログラム。
  17. コンピュータに
    認証データを有する原稿データと地紋データとから構成された文書データを記憶領域に保存する保存ステップと、
    前記文書データを情報処理装置へ送信する際、該送信を指示するユーザの権限と前記認証データを比較する権限確認ステップと
    を備え、
    該権限確認ステップの結果に応じて、
    前記文書データを、ビットマップ化する前であり前記文書データが前記情報処理装置において編集可能なデータ形式のファイルで送信する、
    又は、前記地紋データと前記原稿データを前記情報処理装置において地紋データに対して編集不可能なイメージデータ形式のファイルで送信する
    送信ステップ、
    を実行させるためのプログラム。
  18. 請求項16又は17に記載のプログラムを記憶したコンピュータで読み取り可能な記憶媒体。
JP2008162303A 2008-06-20 2008-06-20 画像形成装置及び画像形成方法 Expired - Fee Related JP5127585B2 (ja)

Priority Applications (2)

Application Number Priority Date Filing Date Title
JP2008162303A JP5127585B2 (ja) 2008-06-20 2008-06-20 画像形成装置及び画像形成方法
US12/487,475 US8422057B2 (en) 2008-06-20 2009-06-18 Apparatus and method for manufacturing the same

Applications Claiming Priority (1)

Application Number Priority Date Filing Date Title
JP2008162303A JP5127585B2 (ja) 2008-06-20 2008-06-20 画像形成装置及び画像形成方法

Publications (3)

Publication Number Publication Date
JP2010003166A true JP2010003166A (ja) 2010-01-07
JP2010003166A5 JP2010003166A5 (ja) 2011-08-04
JP5127585B2 JP5127585B2 (ja) 2013-01-23

Family

ID=41430942

Family Applications (1)

Application Number Title Priority Date Filing Date
JP2008162303A Expired - Fee Related JP5127585B2 (ja) 2008-06-20 2008-06-20 画像形成装置及び画像形成方法

Country Status (2)

Country Link
US (1) US8422057B2 (ja)
JP (1) JP5127585B2 (ja)

Cited By (2)

* Cited by examiner, † Cited by third party
Publication number Priority date Publication date Assignee Title
JP2011166669A (ja) * 2010-02-15 2011-08-25 Fuji Xerox Co Ltd 画像合成装置及び画像合成プログラム
JP2017220021A (ja) * 2016-06-07 2017-12-14 コニカミノルタ株式会社 画像処理方法、および画像処理装置

Families Citing this family (1)

* Cited by examiner, † Cited by third party
Publication number Priority date Publication date Assignee Title
JP6939294B2 (ja) * 2017-09-11 2021-09-22 富士フイルムビジネスイノベーション株式会社 情報処理装置及びプログラム

Citations (5)

* Cited by examiner, † Cited by third party
Publication number Priority date Publication date Assignee Title
JPH08137852A (ja) * 1994-11-09 1996-05-31 Oki Electric Ind Co Ltd 協同執筆文書管理システム
JP2004252826A (ja) * 2003-02-21 2004-09-09 Minolta Co Ltd 電子メール送信装置
JP2007176042A (ja) * 2005-12-28 2007-07-12 King Jim Co Ltd ラベル印刷システム、ラベル印刷方法及びラベル印刷プログラム
JP2007189669A (ja) * 2005-12-15 2007-07-26 Canon Inc 画像処理装置および画像処理方法
JP2007233617A (ja) * 2006-02-28 2007-09-13 Ricoh Co Ltd 配信サーバ、配信管理方法、配信管理システム、配信管理プログラムおよび記録媒体

Family Cites Families (4)

* Cited by examiner, † Cited by third party
Publication number Priority date Publication date Assignee Title
JP2004078752A (ja) 2002-08-21 2004-03-11 Ricoh Co Ltd プリンタシステムにおける印刷制御方法及び該方法を実行するためのプログラムを格納したコンピュータ読み取り可能な記憶媒体
JP4863456B2 (ja) * 2005-06-07 2012-01-25 キヤノン株式会社 プリンタおよびプリント方法
JP2007166303A (ja) 2005-12-14 2007-06-28 Canon Inc 画像処理装置、画像処理方法、プログラム、及び記憶媒体
JP4328786B2 (ja) 2006-06-16 2009-09-09 キヤノン株式会社 印刷装置及びその制御方法、プログラム、記憶媒体

Patent Citations (5)

* Cited by examiner, † Cited by third party
Publication number Priority date Publication date Assignee Title
JPH08137852A (ja) * 1994-11-09 1996-05-31 Oki Electric Ind Co Ltd 協同執筆文書管理システム
JP2004252826A (ja) * 2003-02-21 2004-09-09 Minolta Co Ltd 電子メール送信装置
JP2007189669A (ja) * 2005-12-15 2007-07-26 Canon Inc 画像処理装置および画像処理方法
JP2007176042A (ja) * 2005-12-28 2007-07-12 King Jim Co Ltd ラベル印刷システム、ラベル印刷方法及びラベル印刷プログラム
JP2007233617A (ja) * 2006-02-28 2007-09-13 Ricoh Co Ltd 配信サーバ、配信管理方法、配信管理システム、配信管理プログラムおよび記録媒体

Cited By (2)

* Cited by examiner, † Cited by third party
Publication number Priority date Publication date Assignee Title
JP2011166669A (ja) * 2010-02-15 2011-08-25 Fuji Xerox Co Ltd 画像合成装置及び画像合成プログラム
JP2017220021A (ja) * 2016-06-07 2017-12-14 コニカミノルタ株式会社 画像処理方法、および画像処理装置

Also Published As

Publication number Publication date
US8422057B2 (en) 2013-04-16
JP5127585B2 (ja) 2013-01-23
US20090316204A1 (en) 2009-12-24

Similar Documents

Publication Publication Date Title
JP4267011B2 (ja) 画像形成装置及び権限制御サーバ及び画像形成システム
US8514420B2 (en) Image forming apparatus and method of user authentication
JP4501912B2 (ja) 画像形成認証システム
CN1989727B (zh) 图像形成装置、图像形成方法、信息处理装置和信息处理方法
JP5004860B2 (ja) 画像処理装置、画像処理方法、及びコンピュータプログラム
US7532836B2 (en) Document management method, document management system, and computer program product
JP4270241B2 (ja) 画像形成装置、画像形成認証システム及びプログラム
US7770022B2 (en) Systems and methods for securing an imaging job
US20050108549A1 (en) Data processing apparatus and access limitation setting method for the same, and image processing system and control method for the same
US8345278B2 (en) Job processing system, job processing apparatus, and control method thereof
JP4928117B2 (ja) 画像処理装置、画像管理方法、文書管理装置、文書管理方法、コンピュータプログラム及びコンピュータ読み取り可能な記憶媒体
JP4448022B2 (ja) 情報処理装置及びその制御方法、プログラム
US20080192299A1 (en) Image processing apparatus, image forming method and recording medium
JP5127585B2 (ja) 画像形成装置及び画像形成方法
JP5006709B2 (ja) 処理装置及びその制御方法
US20100259773A1 (en) Image forming system and image forming method
JP6065523B2 (ja) 画像形成装置、命令実行方法、プログラム、印刷システム
JP4227636B2 (ja) 画像処理装置、画像形成装置とその制御方法
JP4396378B2 (ja) 印刷制御システム及び方法並びにサーバ装置
JP2012114718A (ja) コードを扱うことができる画像形成装置及びその制御方法
JP2008278369A (ja) 画像処理装置、画像処理方法、記憶媒体、プログラム
JP6464812B2 (ja) 印刷システム
JP2023004323A (ja) 画像形成装置、画像形成装置の制御方法、及びプログラム
JP2014228878A (ja) プログラムおよび情報処理装置
JP2007080024A (ja) 画像処理装置、画像処理方法、及び画像処理プログラム

Legal Events

Date Code Title Description
RD04 Notification of resignation of power of attorney

Free format text: JAPANESE INTERMEDIATE CODE: A7424

Effective date: 20100201

RD01 Notification of change of attorney

Free format text: JAPANESE INTERMEDIATE CODE: A7421

Effective date: 20100630

A521 Request for written amendment filed

Free format text: JAPANESE INTERMEDIATE CODE: A523

Effective date: 20110620

A621 Written request for application examination

Free format text: JAPANESE INTERMEDIATE CODE: A621

Effective date: 20110620

A131 Notification of reasons for refusal

Free format text: JAPANESE INTERMEDIATE CODE: A131

Effective date: 20120703

A977 Report on retrieval

Free format text: JAPANESE INTERMEDIATE CODE: A971007

Effective date: 20120704

A521 Request for written amendment filed

Free format text: JAPANESE INTERMEDIATE CODE: A523

Effective date: 20120829

TRDD Decision of grant or rejection written
A01 Written decision to grant a patent or to grant a registration (utility model)

Free format text: JAPANESE INTERMEDIATE CODE: A01

Effective date: 20121002

A01 Written decision to grant a patent or to grant a registration (utility model)

Free format text: JAPANESE INTERMEDIATE CODE: A01

A61 First payment of annual fees (during grant procedure)

Free format text: JAPANESE INTERMEDIATE CODE: A61

Effective date: 20121030

FPAY Renewal fee payment (event date is renewal date of database)

Free format text: PAYMENT UNTIL: 20151109

Year of fee payment: 3

LAPS Cancellation because of no payment of annual fees