JP2010002425A - 異物検査装置 - Google Patents
異物検査装置 Download PDFInfo
- Publication number
- JP2010002425A JP2010002425A JP2009214167A JP2009214167A JP2010002425A JP 2010002425 A JP2010002425 A JP 2010002425A JP 2009214167 A JP2009214167 A JP 2009214167A JP 2009214167 A JP2009214167 A JP 2009214167A JP 2010002425 A JP2010002425 A JP 2010002425A
- Authority
- JP
- Japan
- Prior art keywords
- foreign matter
- inspection
- feature points
- alignment mark
- template
- Prior art date
- Legal status (The legal status is an assumption and is not a legal conclusion. Google has not performed a legal analysis and makes no representation as to the accuracy of the status listed.)
- Granted
Links
Images
Landscapes
- Investigating Materials By The Use Of Optical Means Adapted For Particular Applications (AREA)
- Testing Or Measuring Of Semiconductors Or The Like (AREA)
Abstract
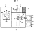
【解決手段】最適なテンプレートのアライメントマークとの選定や識別及び類比判断を、異物検査装置に配備した相関値の演算機能により実践する。すなわち、異物検査装置に、被検査物の表面に形成されるアライメントマークの特徴点を登録する装置と、前記被検査物の表面上に形成されたアライメントマークの画像データを採取する装置と、前記画像データから特徴点を抽出し双方の特徴点より相関値を算出するデータ演算処理装置とを備え、前記相関値の閾値に基いて前記アライメントマークの画像データを登録する。
【選択図】図1
Description
但し、認識精度が低下するため、オペレータは煩雑なテンプレートの評価条件出し及び採取作業に長時間を要していた。さらに、被検査物に角度(θ)のズレを生じている場合は、テンプレートそのままでの使用が困難であり、角度の補正を必要とする。その補正処理の誤差によって、位置合せ精度の低下やバラツキを生じるなどの課題があった。
次いで、プリアライメントチャック31は、半導体ウェハ1の裏面を真空吸着し、半導体ウェハ1を保持する。
なお、本実施例では、基準とする明度をテンプレートの平均明度としているが、予め設定された設定明度に基いて、明度を調整する乗数を求めても、同様な効果を得ることができる。
評価設定画面上に設けられた入力スペース、アイコン、ボタンなどの特徴点抽出設定手段921により設定することができる。なお、線分化した画像データから被検査パターン830の角部(配線パターンのコーナー等)の位置座標及び角部数を特徴点として抽出して、当該特徴点を基にパターンマッチングすることも可能である。探索するテンプレート候補710の様態や半導体ウェハ1の製造工程によっては、特徴点の一致の度合いが異なるため、使用する状況に応じ、適宣、最適な方法を選択することが望ましい。
Claims (6)
- 被検査物の表面に光ビームを照射し、反射または散乱する光の受光強度より画像信号を取得し、隣接した被検査物から得られた画像信号と比較して被検査物表面に存在する異物の有無を検査する異物検査装置において、前記被検査物の表面に形成されるアライメントマークの特徴点を登録する装置と、前記被検査物の表面上の前記アライメントマークを読取る装置とを備え、前記特徴点に基いて前記被検査物の表面に形成されたアライメントマークを検出してアライメントを行うようにしたことを特徴とする異物検査装置。
- 被検査物に光ビームを照射し、前記被検査物から反射または散乱する光の受光強度により、前記被検査物の表面に存在する異物の有無を検査する異物検査装置において、前記被検査物の表面に形成されるアライメントマークの特徴点を入力する装置と、前記入力したアライメントマークの特徴点を表示する装置と、前記入力したアライメントマークの特徴点を登録する装置とを備え、前記特徴点に基いて前記被検査物の表面上に形成されたアライメントマークを検出してアライメントを行うようにしたことを特徴とする異物検査装置。
- 被検査物に光ビームを照射し、前記被検査物から反射または散乱する光の受光強度により、前記被検査物の表面に存在する異物の有無を検査する異物検査装置において、前記被検査物の表面に形成されるアライメントマークの特徴点を登録する装置と、前記被検査物の表面上に形成されたアライメントマークの画像データを採取する装置と、前記画像データから特徴点を抽出し双方の特徴点より相関値を算出するデータ演算処理装置とを備え、前記相関値の閾値に基いて前記アライメントマークの画像データを登録することを特徴とする異物検査装置。
- 被検査物に光ビームを照射し、前記被検査物から反射または散乱する光の受光強度により、前記被検査物の表面に存在する異物の有無を検査する異物検査装置において、前記被検査物の表面に形成されるアライメントマークの特徴点を登録する装置と、前記被検査物の表面上に形成されたアライメントマークの画像データを採取する装置と、前記画像データから特徴点を抽出し双方の特徴点より相関値を演算するデータ演算処理装置と、前記相関値の演算結果を表示する表示装置とを備え、前記相関値の閾値に基いて前記アライメントマークの合否の判定結果を表示するようにしたことを特徴とする異物検査装置。
- 請求項4記載の異物検査装置において、前記相関値の演算結果を該相関値の大きさに順じて配列し、前記表示装置にリスト形式で表示することを特徴とする異物検査装置。
- 被検査物の表面に光ビームを照射し、反射または散乱する光の受光強度より画像信号を取得し、隣接した被検査物から得られた画像信号と比較して被検査物表面に存在する異物の有無を検査する異物検査装置において、前記被検査物の表面に形成されるアライメントマークの画像データから特徴点を抽出しテンプレートの特徴点とパターンマッチングする画像処理手段と、マッチングした相互の特徴点より確率若しくは得点(スコア)を算出する演算処理手段と、所定の確率若しくは得点(スコア)をもって該特徴点が一致した場合を基準となるアライメントマークとして識別させる判断処理手段と、被検査物内の少なくとも2点のアライメントマークの認識にて採取した座標から被検査物のズレ量を算出する演算処理手段と、該ズレ量を基に検査ステージを移動させて位置合せする駆動機構とを備えたことを特徴とする異物検査装置。
Priority Applications (1)
| Application Number | Priority Date | Filing Date | Title |
|---|---|---|---|
| JP2009214167A JP5154527B2 (ja) | 2009-09-16 | 2009-09-16 | 異物検査装置 |
Applications Claiming Priority (1)
| Application Number | Priority Date | Filing Date | Title |
|---|---|---|---|
| JP2009214167A JP5154527B2 (ja) | 2009-09-16 | 2009-09-16 | 異物検査装置 |
Related Parent Applications (1)
| Application Number | Title | Priority Date | Filing Date |
|---|---|---|---|
| JP2006342409A Division JP5090725B2 (ja) | 2006-12-20 | 2006-12-20 | 異物検査装置 |
Publications (2)
| Publication Number | Publication Date |
|---|---|
| JP2010002425A true JP2010002425A (ja) | 2010-01-07 |
| JP5154527B2 JP5154527B2 (ja) | 2013-02-27 |
Family
ID=41584252
Family Applications (1)
| Application Number | Title | Priority Date | Filing Date |
|---|---|---|---|
| JP2009214167A Expired - Fee Related JP5154527B2 (ja) | 2009-09-16 | 2009-09-16 | 異物検査装置 |
Country Status (1)
| Country | Link |
|---|---|
| JP (1) | JP5154527B2 (ja) |
Cited By (9)
| Publication number | Priority date | Publication date | Assignee | Title |
|---|---|---|---|---|
| JP2011146607A (ja) * | 2010-01-15 | 2011-07-28 | Djtech Co Ltd | 外観検査装置 |
| JP2012078143A (ja) * | 2010-09-30 | 2012-04-19 | Hitachi High-Technologies Corp | 異物検査装置及びアライメント調整方法 |
| JP2012099754A (ja) * | 2010-11-05 | 2012-05-24 | Hitachi High-Technologies Corp | デザインテンプレート生成装置、レシピ生成装置及び顕微像マッチング装置 |
| WO2014203687A1 (ja) * | 2013-06-17 | 2014-12-24 | コニカミノルタ株式会社 | 画像処理方法、画像処理装置、および画像処理プログラム |
| JP2017083403A (ja) * | 2015-10-30 | 2017-05-18 | 大日本印刷株式会社 | 包装物の検査装置、検査方法及び製造方法、並びに包装機 |
| KR102169730B1 (ko) * | 2019-09-27 | 2020-10-23 | (주) 즐거운미래 | 제설함 원격 관리 시스템 및 방법 |
| JP2021135075A (ja) * | 2020-02-25 | 2021-09-13 | 株式会社Nsテクノロジーズ | 電子部品搬送装置、電子部品検査装置およびポケット位置検出方法 |
| JP2023142377A (ja) * | 2022-03-25 | 2023-10-05 | 株式会社東京精密 | 在荷検出装置及び在荷検出方法 |
| WO2024106322A1 (ja) * | 2022-11-15 | 2024-05-23 | 株式会社エヌテック | 検査装置の診断装置、検査装置の診断方法及びプログラム |
Citations (13)
| Publication number | Priority date | Publication date | Assignee | Title |
|---|---|---|---|---|
| JPH04295748A (ja) * | 1991-03-25 | 1992-10-20 | Nikon Corp | パターン検査装置 |
| JP2000162143A (ja) * | 1998-11-30 | 2000-06-16 | Hitachi Ltd | 回路パターンの検査装置および検査方法 |
| JP2000161932A (ja) * | 1998-11-30 | 2000-06-16 | Hitachi Ltd | 回路パターンの検査方法及び検査装置 |
| JP2001035893A (ja) * | 1999-07-23 | 2001-02-09 | Hitachi Ltd | 回路パターンの検査装置 |
| JP2002100660A (ja) * | 2000-07-18 | 2002-04-05 | Hitachi Ltd | 欠陥検出方法と欠陥観察方法及び欠陥検出装置 |
| JP2002328015A (ja) * | 2001-04-27 | 2002-11-15 | Hitachi Ltd | 半導体検査システム |
| JP2003035680A (ja) * | 2001-07-24 | 2003-02-07 | Hitachi Ltd | 半導体デバイスの検査方法 |
| JP2003229462A (ja) * | 2002-02-04 | 2003-08-15 | Hitachi High-Technologies Corp | 回路パターンの検査装置 |
| JP2004048002A (ja) * | 2003-06-27 | 2004-02-12 | Hitachi Ltd | 回路パターンの検査装置および検査方法 |
| JP2004349515A (ja) * | 2003-05-23 | 2004-12-09 | Hitachi High-Technologies Corp | Sem式外観検査装置,レビュー装置、およびアライメント座標設定方法 |
| WO2005008753A1 (ja) * | 2003-05-23 | 2005-01-27 | Nikon Corporation | テンプレート作成方法とその装置、パターン検出方法、位置検出方法とその装置、露光方法とその装置、デバイス製造方法及びテンプレート作成プログラム |
| JP2005044912A (ja) * | 2003-07-25 | 2005-02-17 | Hitachi High-Technologies Corp | 回路パターンの検査装置 |
| JP2006214816A (ja) * | 2005-02-02 | 2006-08-17 | Nikon Corp | 半導体検査装置 |
-
2009
- 2009-09-16 JP JP2009214167A patent/JP5154527B2/ja not_active Expired - Fee Related
Patent Citations (13)
| Publication number | Priority date | Publication date | Assignee | Title |
|---|---|---|---|---|
| JPH04295748A (ja) * | 1991-03-25 | 1992-10-20 | Nikon Corp | パターン検査装置 |
| JP2000162143A (ja) * | 1998-11-30 | 2000-06-16 | Hitachi Ltd | 回路パターンの検査装置および検査方法 |
| JP2000161932A (ja) * | 1998-11-30 | 2000-06-16 | Hitachi Ltd | 回路パターンの検査方法及び検査装置 |
| JP2001035893A (ja) * | 1999-07-23 | 2001-02-09 | Hitachi Ltd | 回路パターンの検査装置 |
| JP2002100660A (ja) * | 2000-07-18 | 2002-04-05 | Hitachi Ltd | 欠陥検出方法と欠陥観察方法及び欠陥検出装置 |
| JP2002328015A (ja) * | 2001-04-27 | 2002-11-15 | Hitachi Ltd | 半導体検査システム |
| JP2003035680A (ja) * | 2001-07-24 | 2003-02-07 | Hitachi Ltd | 半導体デバイスの検査方法 |
| JP2003229462A (ja) * | 2002-02-04 | 2003-08-15 | Hitachi High-Technologies Corp | 回路パターンの検査装置 |
| JP2004349515A (ja) * | 2003-05-23 | 2004-12-09 | Hitachi High-Technologies Corp | Sem式外観検査装置,レビュー装置、およびアライメント座標設定方法 |
| WO2005008753A1 (ja) * | 2003-05-23 | 2005-01-27 | Nikon Corporation | テンプレート作成方法とその装置、パターン検出方法、位置検出方法とその装置、露光方法とその装置、デバイス製造方法及びテンプレート作成プログラム |
| JP2004048002A (ja) * | 2003-06-27 | 2004-02-12 | Hitachi Ltd | 回路パターンの検査装置および検査方法 |
| JP2005044912A (ja) * | 2003-07-25 | 2005-02-17 | Hitachi High-Technologies Corp | 回路パターンの検査装置 |
| JP2006214816A (ja) * | 2005-02-02 | 2006-08-17 | Nikon Corp | 半導体検査装置 |
Cited By (9)
| Publication number | Priority date | Publication date | Assignee | Title |
|---|---|---|---|---|
| JP2011146607A (ja) * | 2010-01-15 | 2011-07-28 | Djtech Co Ltd | 外観検査装置 |
| JP2012078143A (ja) * | 2010-09-30 | 2012-04-19 | Hitachi High-Technologies Corp | 異物検査装置及びアライメント調整方法 |
| JP2012099754A (ja) * | 2010-11-05 | 2012-05-24 | Hitachi High-Technologies Corp | デザインテンプレート生成装置、レシピ生成装置及び顕微像マッチング装置 |
| WO2014203687A1 (ja) * | 2013-06-17 | 2014-12-24 | コニカミノルタ株式会社 | 画像処理方法、画像処理装置、および画像処理プログラム |
| JP2017083403A (ja) * | 2015-10-30 | 2017-05-18 | 大日本印刷株式会社 | 包装物の検査装置、検査方法及び製造方法、並びに包装機 |
| KR102169730B1 (ko) * | 2019-09-27 | 2020-10-23 | (주) 즐거운미래 | 제설함 원격 관리 시스템 및 방법 |
| JP2021135075A (ja) * | 2020-02-25 | 2021-09-13 | 株式会社Nsテクノロジーズ | 電子部品搬送装置、電子部品検査装置およびポケット位置検出方法 |
| JP2023142377A (ja) * | 2022-03-25 | 2023-10-05 | 株式会社東京精密 | 在荷検出装置及び在荷検出方法 |
| WO2024106322A1 (ja) * | 2022-11-15 | 2024-05-23 | 株式会社エヌテック | 検査装置の診断装置、検査装置の診断方法及びプログラム |
Also Published As
| Publication number | Publication date |
|---|---|
| JP5154527B2 (ja) | 2013-02-27 |
Similar Documents
| Publication | Publication Date | Title |
|---|---|---|
| JP5090725B2 (ja) | 異物検査装置 | |
| JP5154527B2 (ja) | 異物検査装置 | |
| US8395766B2 (en) | Foreign matter inspection apparatus | |
| JP5444092B2 (ja) | 検査方法およびその装置 | |
| KR101588367B1 (ko) | 하전 입자선 장치 | |
| JP2008128651A (ja) | パターン位置合わせ方法、パターン検査装置及びパターン検査システム | |
| CN109616426B (zh) | 智能型的缺陷校正系统与其实施方法 | |
| US8462352B2 (en) | Surface inspection tool and surface inspection method | |
| US9165356B2 (en) | Defect inspection method and defect inspection device | |
| JPH10213422A (ja) | パタ−ン検査装置 | |
| US20130248709A1 (en) | Defect inspecting apparatus | |
| WO2011036846A1 (ja) | 欠陥検査装置および欠陥検査方法 | |
| TW200821156A (en) | Screen printing equipment, and method for image recognition and alignment | |
| US20210055098A1 (en) | Charged Particle Beam System and Overlay Shift Amount Measurement Method | |
| US20100021046A1 (en) | Pattern inspection apparatus, pattern inspection method and computer readable recording medium | |
| JP2010165876A (ja) | 欠陥関連付け装置、基板検査システム、および欠陥関連付け方法 | |
| CN113632136A (zh) | 用于半导体应用的参考图像产生 | |
| US7106434B1 (en) | Inspection tool | |
| JP4842782B2 (ja) | 欠陥レビュー方法および装置 | |
| TWI862481B (zh) | 用以評估物件之方法、非暫時性電腦可讀媒體及系統 | |
| JP3722757B2 (ja) | 欠陥撮像装置 | |
| JP3219094B2 (ja) | チップサイズ検出方法およびチップピッチ検出方法およびチップ配列データ自動作成方法ならびにそれを用いた半導体基板の検査方法および装置 | |
| JP2011185715A (ja) | 検査装置及び検査方法 | |
| JP2012078143A (ja) | 異物検査装置及びアライメント調整方法 | |
| WO2012153456A1 (ja) | 欠陥レビュー装置 |
Legal Events
| Date | Code | Title | Description |
|---|---|---|---|
| A521 | Written amendment |
Free format text: JAPANESE INTERMEDIATE CODE: A523 Effective date: 20091105 |
|
| A621 | Written request for application examination |
Free format text: JAPANESE INTERMEDIATE CODE: A621 Effective date: 20091105 |
|
| A131 | Notification of reasons for refusal |
Free format text: JAPANESE INTERMEDIATE CODE: A131 Effective date: 20120221 |
|
| A521 | Written amendment |
Free format text: JAPANESE INTERMEDIATE CODE: A523 Effective date: 20120420 |
|
| A131 | Notification of reasons for refusal |
Free format text: JAPANESE INTERMEDIATE CODE: A131 Effective date: 20120710 |
|
| A521 | Written amendment |
Free format text: JAPANESE INTERMEDIATE CODE: A523 Effective date: 20120904 |
|
| A131 | Notification of reasons for refusal |
Free format text: JAPANESE INTERMEDIATE CODE: A131 Effective date: 20120925 |
|
| A521 | Written amendment |
Free format text: JAPANESE INTERMEDIATE CODE: A523 Effective date: 20121115 |
|
| TRDD | Decision of grant or rejection written | ||
| A01 | Written decision to grant a patent or to grant a registration (utility model) |
Free format text: JAPANESE INTERMEDIATE CODE: A01 Effective date: 20121204 |
|
| A61 | First payment of annual fees (during grant procedure) |
Free format text: JAPANESE INTERMEDIATE CODE: A61 Effective date: 20121205 |
|
| FPAY | Renewal fee payment (event date is renewal date of database) |
Free format text: PAYMENT UNTIL: 20151214 Year of fee payment: 3 |
|
| R150 | Certificate of patent or registration of utility model |
Free format text: JAPANESE INTERMEDIATE CODE: R150 |
|
| LAPS | Cancellation because of no payment of annual fees |
