JP2010002133A - ガス供給装置 - Google Patents

ガス供給装置 Download PDF

Info

Publication number
JP2010002133A
JP2010002133A JP2008161722A JP2008161722A JP2010002133A JP 2010002133 A JP2010002133 A JP 2010002133A JP 2008161722 A JP2008161722 A JP 2008161722A JP 2008161722 A JP2008161722 A JP 2008161722A JP 2010002133 A JP2010002133 A JP 2010002133A
Authority
JP
Japan
Prior art keywords
gas
pressure
air
valve
raw material
Prior art date
Legal status (The legal status is an assumption and is not a legal conclusion. Google has not performed a legal analysis and makes no representation as to the accuracy of the status listed.)
Granted
Application number
JP2008161722A
Other languages
English (en)
Other versions
JP4604113B2 (ja
Inventor
Satoo Akiyama
惠男 秋山
Kazuya Kato
一也 加藤
Yu Tanenobu
優 種延
学 ▲高▼木
Manabu Takagi
Tsutomu Iida
飯田  勉
Yasuhiro Tada
泰浩 多田
Shoichi Iida
昌一 飯田
Nobuhiro Soga
信啓 曽我
Kenichi Uehara
賢一 上原
Current Assignee (The listed assignees may be inaccurate. Google has not performed a legal analysis and makes no representation or warranty as to the accuracy of the list.)
BUSHU GAS CO Ltd
HATANO GAS KK
ODAWARA GAS KK
Itoh Kouki Corp
Buyo Gas Co Ltd
Original Assignee
BUSHU GAS CO Ltd
HATANO GAS KK
ODAWARA GAS KK
Itoh Kouki Corp
Buyo Gas Co Ltd
Priority date (The priority date is an assumption and is not a legal conclusion. Google has not performed a legal analysis and makes no representation as to the accuracy of the date listed.)
Filing date
Publication date
Application filed by BUSHU GAS CO Ltd, HATANO GAS KK, ODAWARA GAS KK, Itoh Kouki Corp, Buyo Gas Co Ltd filed Critical BUSHU GAS CO Ltd
Priority to JP2008161722A priority Critical patent/JP4604113B2/ja
Publication of JP2010002133A publication Critical patent/JP2010002133A/ja
Application granted granted Critical
Publication of JP4604113B2 publication Critical patent/JP4604113B2/ja
Active legal-status Critical Current
Anticipated expiration legal-status Critical

Links

Images

Landscapes

  • Feeding And Controlling Fuel (AREA)
  • Accessories For Mixers (AREA)
  • Feeding, Discharge, Calcimining, Fusing, And Gas-Generation Devices (AREA)

Abstract

【課題】供給圧力を幅広い範囲で調節自在とするとともに、その調節の際に、原料ガスと空気との混合比率を所定の範囲内に維持し得るようにする。
【解決手段】中圧調整器2、低圧ガバナ5、上下限圧遮断コントローラ11、昇圧防止弁12、開閉弁13、開閉弁コントローラ14、空気弁15の各ダイヤフラム16のバネ室17に、ローディング用ガバナ20を介して、コンプレッサ18からの加圧空気を導入することによって、このバネ室17側からの付勢力を高める。これによって、前記中圧調整器2からの原料ガスの出口圧力を高めつつ、前記空気弁15を介しての空気の取り込み量を増やすことができるため、混合ガスの混合比率を所定範囲内に制御するとともに、混合ガスを一時的に貯蔵するクッションタンク4内のガス圧を高めることができる。このため、需要者の幅広い使用規模及び用途に対応してこのガス供給装置を適用することができる。
【選択図】図1

Description

この発明は、液化石油ガス等の原料ガスと空気とを混合して、都市ガス(13A等)と同等の燃焼性を有する混合ガスを供給するガス供給装置に関する。
移動式のガス供給装置は、液化石油ガス等の原料ガスに空気を混合して、都市ガスと同等の発熱量を有する混合ガスを調製して一時的に貯蔵する装置一式を、トラックの荷台等に載置して移動可能にしたものである。例えば、自然災害が発生して都市ガスの供給が停止した際に、その供給エリアにこの移動式ガス供給装置を移動させ、その供給エリアにて供給されていた都市ガス(13A、12A等)と同等の発熱量を有する混合ガスを、都市ガスの代用として供給する。これによって、都市ガスが復旧するまでの間、ガスの供給を賄うことができる。
このガス供給装置として、原料ガスをベンチュリーミキサーで混合してサージタンクに貯蔵する混合装置一式をキャスターの付いたキャビネット上に載置したものが開示されている(特許文献1参照)。このベンチュリーミキサーは、ノズルから原料ガスを噴射するとともに、この噴射に伴って発生する負圧によってノズル周囲の空気を巻きこみつつ混合して、所定混合比率の混合ガスを調製する公知のものである。
特開2005−177665号公報
一般的なガス機器(例えば、ガスコンロ)においては、必要とされる機器ガス圧は1.5〜2.5kPa程度の低圧なので、供給エリアが狭い場合(供給家庭数が数戸分程度)は、それを若干上回る程度の供給圧力があれば、各家庭において支障なくガス機器を使用することができる。その一方で、供給エリアが広い場合(供給家庭数が数十戸分以上)や、導管工事等の際は、各家庭に到達した際における前記ガス圧を確保するために、サージタンクのガス圧をかなり高圧(例えば、300kPa程度)にしておく必要が生じることもある。
このサージタンクのガス圧を高めるには、前記ノズルからの原料ガスの噴射圧力を高めて、より多くの原料ガスをサージタンクに送り込むようにする。それとともに、送り込んだ原料ガスの量に見合う大量の空気を送り込んで、このサージタンク内の混合ガスが所定の混合比率(通常は、原料ガス:空気=6:4程度)を維持するようにする。前記噴射圧力は、原料ガスボンベの圧力を減圧する中圧調整器の調節ネジを調節して、バネによるダイヤフラムの付勢力を大きくして、この中圧調整器に設けた弁体の開弁度を高めることによって、より大きくすることができる。
背景技術に係る中圧調整器の調節ネジは、そのねじ込み量に限度があるため、その噴射圧力は、高々数倍程度の範囲内でしか調節できない。このため、上述したように、低圧から高圧まで、幅広く調節する必要のある用途には適さないという問題がある。
また、仮に、前記バネに弾性力の高いものを採用して原料ガスの噴射圧力を高めたとしても、大気圧下においては、その原料ガスの量に見合った、十分な量の空気を前記ベンチュリーミキサーの空気取り込み口から取り込むことができない。このため、混合ガスの混合比率が、所定の範囲から外れるという問題もある。
そこで、この発明は、必要とされる供給圧力に対応して、その供給圧力を幅広い範囲で調節自在とするとともに、その調節の際に、原料ガスと空気との混合比率を所定の範囲内に維持し得るようにすることを課題とする。
前記の課題を解決するため、この発明は、中圧調整器に加圧空気を導入して、この中圧調整器に設けたダイヤフラムの付勢力を調節することによって、原料ガスの噴射圧力(中圧調整器の出口圧力)を低圧から高圧まで自在に調節し得るようにするとともに、前記加圧空気をベンチュリーミキサーにも導入して、このベンチュリーミキサーで前記原料ガスと空気とを混合した際に、その混合比率を所定の範囲内に維持し得るようにした。
前記噴射圧力の最大値は、前記中圧調整器内部のダイヤフラムに設けたバネの付勢力と、加圧空気の付勢力の合計によって決まり、前記加圧空気の圧力を高めることによって、その最大値を自在に高めることができる。しかも、前記加圧空気による加圧を解除すれば、前記バネの付勢力のみに基づいた前記噴射圧力の調節がなされるので、幅広い噴射圧力範囲内での調節が可能となる。
また、前記加圧空気をベンチュリーミキサーにも導入することによって、前記噴射圧力によって噴射される原料ガスの量に見合った量の空気を供給できる。このため、混合ガスの混合比率を所定の範囲内に維持し得る。
この発明の構成として、原料ガスボンベの原料ガスをベンチュリーミキサーで空気と混合してクッションタンクに貯蔵し、この貯蔵した混合ガスを家庭等の需要者に供給するようにしたガス供給装置において、本装置にコンプレッサを併設し、このコンプレッサから吐出された加圧空気を、前記原料ガスボンベのガス圧を減圧して前記ベンチュリーミキサーに送出する中圧調整器のダイヤフラムのバネ室に送り込んで、このダイヤフラムに設けた弁体を開弁方向に付勢して、前記中圧調整器から前記ベンチュリーミキサーへの原料ガスの送出圧を高めるとともに、前記加圧空気を、前記原料ガスと混合する空気の吸入量を調節する空気弁のダイヤフラムのバネ室、及び、前記空気弁の空気取り込み口の双方にも送り込んで前記空気弁の空気吸入圧を高め、前記ベンチュリーミキサーで前記原料ガスと空気とを混合してクッションタンクに貯蔵した際に、混合ガスのガス圧を高め得るようにしつつ、その混合比率を予め決めた所定範囲内に維持し得るようにすることができる。
前記中圧調整器のバネ室に送り込んだ加圧空気の圧力は、前記コンプレッサの稼動・停止によって、適宜昇降させることができる。これによって、必要とされる混合ガスの供給圧力に対応して、クッションタンク内の混合ガス圧を広い範囲内(例えば、数kPa〜数100kPa)で調節することができ、一台の装置で幅広い用途に対応し得る。
また、原料ガスを高いガス圧のまま供給するとともに、空気を加圧した状態で供給することにより、従来のガス供給装置と比較して、混合ガスの製造能力を大幅に向上し得る。
前記ダイヤフラムは、上述したように通常はバネで付勢されているが、このバネを用いずに前記加圧空気のみで付勢するようにしてもよい。この場合も、加圧空気の圧力を調節することで、必要に応じて、前記クッションタンク内の混合ガス圧を幅広い範囲内で調節し得るからである。
前記ベンチュリーミキサーは、一般的に市販されているものと同じであって、その内部にノズルと、そのノズルの近傍に空気取り入れ口とが設けられている。上述したように、このノズルから噴射した原料ガスの噴射量に対応した量の空気を前記空気取り入れ口から取り込んで、両者をほぼ一定の比率で混合する機能を有している。この構成においては、前記空気取り入れ口に設けた空気弁にも加圧空気が送り込まれるので、原料ガスの噴射量に対応した十分な量の空気を混合し得る。このため、混合空気量が不足して、前記混合ガスの混合比率が所定範囲(例えば、都市ガス(13A)の代用であれば、原料ガス:空気=6:4程度)から外れる恐れが低い。
前記コンプレッサの動力源として、例えば、ディーゼルエンジンを採用することができる。このガス供給装置は、ガス供給が必要とされる現地に持ち込んで使用するものなので、その現地で必ずしも電力供給源を使用し得るとは限らない。また、大規模な自然災害時には、ガス供給とともに電力供給も停止することも多い。このような場合でも、他からの電力供給を必要としないディーゼルエンジンを用いることによって、必要に応じてすぐに本装置を使用することができる。前記動力源は、もちろんこれに限定されるものではなく、電気式のものとしたり、電気式とディーゼル式を併用するものとしたりすることもできる。
この構成においては、前記コンプレッサの吐出口側にガバナを設けるとともに、このガバナの出口側の空気配管を二股に分岐して、一方を前記各バネ室側に、他方を前記空気取り込み口側に接続し、前記ガバナで、加圧空気の加圧量を調節し得るようにすることができる。
上述のように、コンプレッサの稼動・停止のみによってもある程度はクッションタンク内の混合ガス圧を調節し得るが、このようにガバナを設けることによって、各バネ室の加圧量(原料ガスの噴射圧)が安定して維持される。このため、クッションタンク内の圧力変動が小さくなって、需要者への安定供給が可能となる。
また、前記ベンチュリーミキサーは原料ガスの噴射圧に対応した量の空気を取り込む構造なので、このクッションタンク内の混合ガスの混合比率が大きく変動する恐れは小さい。
あるいは、前記ガバナの出口側の空気配管を二股に分岐する代わりに、前記コンプレッサの吐出口側の空気配管を二股に分岐するとともに、分岐した両空気配管にそれぞれガバナを設け、一方のガバナからの空気配管を前記各バネ室側に、他方のガバナからの空気配管を前記空気取り込み口側に接続し、前記一方のガバナで加圧空気の加圧量を調節し得るようにする一方で、前記他方のガバナで混合ガスの混合比率を調節するようにすることもできる。
上述のように、1基のガバナでも、クッションタンク内の所望の混合ガス圧を確保しつつ、所定の混合比率をほぼ所定の範囲内に調節することもできるが、前記混合ガス圧の調節と、混合比率の調節とを別々のガバナに担わせることによって、前記混合比率の制御を一層正確に行い得る。
また、前記各構成において、前記加圧空気を、前記中圧調整器と前記ベンチュリーミキサーとの間に設けた開閉弁、前記開閉弁の開閉を制御する開閉弁コントローラ、前記遮断弁の開閉を制御する上下限圧遮断コントローラ、及び、前記クッションタンクの過昇圧を防止する昇圧防止弁のそれぞれに設けたダイヤフラムのバネ室にも送り込み、前記ベンチュリーミキサーへの原料ガスの送出圧が高い場合においても、前記各弁及び各コントローラが正常に動作し得るようにするとともに、前記上下限圧遮断コントローラ、前記昇圧防止弁、及び、前記ベンチュリーミキサーの空気取り込み口のそれぞれと、原料ガスボンベからの原料ガスの供給を遮断する遮断弁とを接続し、前記中圧調整器からの原料ガスの供給圧力、前記クッションタンク内の混合ガス圧、又は、前記ベンチュリーミキサーでの空気吸入圧の少なくとも一つが、予め決めたそれぞれの所定範囲を外れた際に、前記遮断弁を閉弁して、原料ガスボンベからの原料ガスの供給を遮断することもできる。
前記開閉弁及び開閉弁コントローラは、前記クッションタンク内の混合ガス圧が予め決めた所定圧力を超えた際に、この混合ガス圧によって前記開閉弁コントローラを作動させるとともに、この作動によって前記開閉弁を閉弁し、前記クッションタンクへの原料ガスの供給を遮断するものである。
例えば、このガス供給装置を高いガス圧(300kPa程度)の供給用に用いる場合においては、この混合ガスによって付勢されるダイヤフラム室側のガス圧が、バネ室側の付勢力(バネによる付勢力と、大気圧による付勢力の合計)よりも大きくなることがある。この場合、混合ガスのガス圧が所定の圧力範囲内であるにも拘らず、開閉弁が閉弁する問題が生じ得る。そこで、前記バネ室側に加圧空気を送り込むことにより、このバネ室側の空気圧と、ダイヤフラム室側の混合ガス圧とがバランスし得るようになって、前記開閉弁の制御を正しく行い得る。
また、前記上下限圧遮断コントローラ及び昇圧防止弁の各バネ室に加圧空気を送り込むのも同じ理由であって、このようにすることによって、混合ガスのガス圧が高い場合においても、これらの動作が正常に行われるようにすることができる。
前記各構成においては、そのガス供給装置一式に車輪等の移動手段を設けて、移動自在とすることもできる。
このガス供給装置は、上述したように、自然災害等が生じた現地に持ち込んで用いるものである。その際に、その装置一式を自走又は牽引等をし得るようにすることによって、現地への持ち込みを迅速に行い得るため、その利便性が大幅に向上する。
この発明によると、加圧空気の導入によって、中圧調整器の出口圧力(原料ガスの噴射圧力)を低圧から高圧まで自在に調節し得るとともに、前記加圧空気を噴射した原料ガスと混合することで、原料ガスを高い噴射圧力で噴射した際(原料ガスを大量に噴射した際)においても、原料ガスと空気との混合比率を所定の範囲内に維持し得る。このため、一台の装置を幅広い用途に適用し得るとともに、燃焼性の安定した混合ガスの提供を行うことができる。
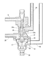
図1にこの発明に係るガス供給装置を示す。このガス供給装置は、プロパンを主成分とする液化石油ガスを貯蔵した原料ガスボンベ1と、この原料ガスボンベ1の原料ガス圧を減圧する中圧調整器2と、この中圧調整器2によって減圧された原料ガスを空気と混合して混合ガスとするベンチュリーミキサー3と、この混合ガスを一時的に貯蔵するクッションタンク4とを有し、クッションタンク4に貯蔵された混合ガスは、低圧ガバナ5及び出口バルブ6を介して一般家庭等の需要者に供給される。
この原料ガスボンベ1、中圧調整器2、ベンチュリーミキサー3、及び、クッションタンク4は高圧ホース7又はガス導管8で順次接続されている。この高圧ホース7の先端には入口バルブ9が設けてあって、緊急時や原料ガスボンベ1の交換時にこの入口バルブ9を閉めてガス供給を停止する。また、ガス導管8には、原料ガスの供給を遮断する遮断弁10、この遮断弁10を制御する上下限圧遮断コントローラ11及び昇圧防止弁12、ベンチュリーミキサー3への原料ガスの供給を制御する開閉弁13、及び、この開閉弁13を制御する開閉弁コントローラ14が設けてある。また、ベンチュリーミキサー3には、加圧空気の導入を制御する空気弁15が設けてある。
なお、ガス導管内のガス圧は場所によって異なるため、同図中においては、異なるガス圧のガス導管8ごとに異なる網掛け模様を付して、各ガス導管内のガス圧が視覚的に分かるようにしている。
前記の中圧調整器2、低圧ガバナ5、昇圧防止弁12、上下限圧遮断コントローラ11、開閉弁13、開閉弁コントローラ14、及び、空気弁15には、それぞれダイヤフラム16が設けられるとともに、このダイヤフラム16のバネ室17側には、コンプレッサ18から加圧空気を送り込む空気配管19が設けられている。各バネ室17に送り込まれる加圧空気の圧力は、この空気配管19に設けたローディング用ガバナ20によって調節できる。
この加圧空気の圧力を高くすると、このバネ室17側からのダイヤフラム16への付勢力が大きくなり、このダイヤフラム16のダイヤフラム室21側に流入する原料ガス等のガス圧を高くした場合でも、このダイヤフラム16の両方向からの付勢力を適宜バランスし得る。このため、混合ガスのガス圧を幅広い範囲で設定することができ、利便性が高い。
また、空気弁15の空気取り込み口22にも、コンプレッサ18から加圧空気を送り込む空気配管19が別途設けられている。この加圧空気の圧力も、この空気配管19に別途設けたローディング用ガバナ20によって調節できる。このように、バネ室17に加圧空気を送り込むためのローディング用ガバナ20と、原料ガスと混合するための空気を送り込むためのローディング用ガバナ20を別々に設けることによって、混合ガスの混合比率の微調整をより正確に行い得る。このため、需要者に燃焼性の安定した高品質の混合ガスを提供することができる。
この実施形態では、前記のようにローディング用ガバナ20を2基設けたが、1基のローディング用ガバナ20からの加圧空気を二股に分岐して、バネ室17側及び空気取り込み口22側のそれぞれに送り込むようにすることもできる。
原料ガスボンベ1からの原料ガスは、まず、後述する遮断弁10を経由して、中圧調整器2に送り込まれる。この中圧調整器2は、図2に示す構成であって、そのダイヤフラム16は、バネ室17側から加圧空気及びバネ23によって付勢される一方で、ダイヤフラム室21側から原料ガス(中圧調整器2の出口側圧力)によって付勢されている。両付勢力のバランスによって弁体24の開弁度が決まり、例えば、前記出口側圧力が相対的に高くなると、この弁体24は閉弁方向に移動する。
この中圧調整器2からの原料ガスは、次に開閉弁13に送り込まれる。この開閉弁13は、図3に示す構成であって、そのダイヤフラム16は、バネ室17側から加圧空気及びバネ23によって付勢される一方で、ダイヤフラム室21側から、クッションタンク4の混合ガスのガス圧、又は、中圧調整器2の出口側圧力によって付勢されている。このダイヤフラム室21側がいずれのガス圧によって付勢されるかは、後述する開閉弁コントローラ14の動作によって決まる。
この開閉弁コントローラ14は、図4に示す構成であって、そのダイヤフラム16はバネ室17側から加圧空気及びバネ23によって付勢される一方で、ダイヤフラム室21側からクッションタンク4内の混合ガスのガス圧によって付勢されている。このダイヤフラム16と連動する弁軸25には二つの弁体24a、24bが設けられていて、同図の下側の弁体24aは、この開閉弁コントローラ14に前記混合ガスが流入するのを遮断する役目を有する一方で、上側の弁体24bは、この開閉弁コントローラ14に中圧調整器2の出口側圧力の原料ガスが流入するのを遮断する役目を有する。
つまり、その混合ガスのガス圧が低い場合(例えば、5kPa程度)は、ダイヤフラム16が下方に変位して、この開閉弁コントローラ14及びこの出口側に接続したガス圧伝達導管26に前記混合ガスが流れ込んで開閉弁13に至る。その一方で、この混合ガスのガス圧が高い場合(例えば、15kPa程度)は、ダイヤフラム16が上方に変位して、開閉弁13と開閉弁コントローラ14の間のガス圧伝達導管26に中圧調整器2の出口圧力がガス導管8を通して開閉弁13に至る。
前記クッションタンク4内の混合ガスのガス圧は、中圧調整器2の出口側の原料ガス圧よりも低圧である。このため、図3に示した開閉弁13のダイヤフラム室21側に前記混合ガスが導入された場合は、ダイヤフラム16が下方に変位して中圧調整器2からの原料ガスが流動し得る一方で、中圧調整器2からの原料ガスが導入された場合は、ダイヤフラム16が上方に変位して中圧調整器2からの原料ガスがこの開閉弁13の弁体24によって遮断される。
この開閉弁13からの原料ガスは、次にベンチュリーミキサー3に送られる。このベンチュリーミキサー3は、図5に示す構成であって、管状部材の内側に、ガスの流動方向に向けて原料ガスを噴射するノズル27を設けたものである。このノズル27の近傍には空気取り込み口22が設けてあって、この空気取り込み口22からコンプレッサ18からの加圧空気が取り込まれる。このベンチュリーミキサー3には空気弁15が併設されている。この空気弁15のダイヤフラム16は、バネ室17側から加圧空気及びバネ23によって付勢される一方で、ダイヤフラム室21側から中圧調整器2からの原料ガスによって付勢される。
この原料ガスのガス圧が高くなると、ダイヤフラム16が左方に変位し弁体24が開弁方向に動く。これによって、より多くの空気を取り込むことができるため、原料ガスと空気との混合比を一定に保ち得る。
このガス供給装置には、ガス圧が異常となった際に、原料ガスの供給を遮断する遮断弁10が設けられている。
この遮断弁10は、図2に示した構成であって、そのダイヤフラム16のバネ室17側には、空気取り込み口22より取り込んだ空気が導入される一方で、ダイヤフラム室21側には、後述する上下限圧遮断コントローラ11又は昇圧防止弁12が作動した際に、それらを通して加圧空気が導入され得る。
例えば、空気取り込み口22より取り込んだ空気の圧力が所定値よりも低くなったときは、ダイヤフラム16とともにロック機構28が下方に変位し、リセットボタン29の係止が外れ、バネ23の付勢力によって弁体24が閉弁する。あるいは、上下限圧遮断コントローラ11又は昇圧防止弁12が作動してダイヤフラム室21に加圧空気が導入された場合にも、同様にダイヤフラム16が変位して弁体24が閉弁する。
この上下限圧遮断コントローラ11は、図6に示す構成であって、そのダイヤフラム16のバネ室17側から加圧空気及びバネ23によって付勢される一方で、ダイヤフラム室21側から、中圧調整器2の出口側圧力及びバネ23によって付勢されている。この出口側圧力が所定範囲内の時は、弁体24cによりダイヤフラム室21の出口側の流路が閉弁された状態となっており、中圧調整器2からの原料ガスはこのダイヤフラム室21に留まっている(同図(a)を参照)。
この時、原料ガスのガス圧が所定範囲を上回ると、そのガス圧によってダイヤフラム16が上方に変位し、弁体24dが開弁する。このため、この原料ガスがガス圧伝達導管26に流れ込み(同図(b)を参照)、このガス圧によって遮断弁10が作動する。その一方で、原料ガスのガス圧が所定範囲を下回ると、ダイヤフラム16が下方に変位し、弁体24cが開弁する。このため、この原料ガスがガス圧伝達導管26に流れ込み(同図(c)を参照)、このガス圧によって遮断弁10が作動する。
なお、さらに原料ガスのガス圧が低下すると(本装置を不使用の場合等)、弁体24eが閉弁して、このガス圧伝達導管26が遮断される。
また、昇圧防止弁12は、図7に示す構造であって、そのダイヤフラム16のバネ室17側から加圧空気及びバネ23によって付勢される一方で、ダイヤフラム室21側から、クッションタンク4内の混合ガスのガス圧によって付勢されている。この混合ガスのガス圧が高くなると、ダイヤフラム16が上方に変位し、弁体25が開弁する。これによって、この混合ガスがガス圧伝達導管26に流れ込んで、このガス圧によって遮断弁10が作動する。
一般的には、原料ガスボンベ1の原料ガス圧は、0.15〜1.56MPa程度であって、数戸程度の一般家庭への供給を目的とする場合は、この原料ガス圧を中圧調整器で0.095MPa程度に減圧してベンチュリーミキサーに供給し、5〜16kPa程度の圧力の混合ガスとしてクッションタンクに一時貯蔵する。この混合ガスの混合比率は、原料ガス:空気=6:4程度であって、この混合ガスの燃焼性は、都市ガス(13A)に相当する。
その一方で、供給エリアが広い場合(供給家庭数が数十戸分以上)や、導管工事等の際のように高い供給圧力(例えば、300kPa程度)が必要とされる場合は、各弁や各コントローラに設けた調節ネジ30の調節のみによっては、その供給圧力に調節できない。このような場合においても、加圧空気の圧力を変えることによって、ダイヤフラム16のバネ室17側の付勢力を自在に変えることができるので、それに対応して供給される原料ガスの圧力を高め得る。
このガス供給装置一式は、トラックの荷台(図示せず)に載置されているため、自然災害等が発生した際に自在にその現地に運搬することができる。このため、都市ガスの供給が停止した際に、需要者に迅速にその都市ガスの代替ガスを供給し得る。
このように必要に応じて運搬する代わりに、自然災害時に住民等が避難する避難場所にこのガス供給装置を予め設置しておいて、必要な際に適宜使用し得るようにすることもできる。
この発明に係る移動式ガス供給装置を示す装置構成図 中圧調整器及び遮断弁を示す側面断面図 開閉弁を示す側面断面図 開閉弁コントローラを示す側面断面図 ベンチュリーミキサー及び空気弁を示す側面断面図 上下限圧遮断コントローラを示す側面断面図であって、(a)は出口側圧力が所定範囲内の場合、(b)は出口側圧力が所定範囲を上回った場合、(c)は出口側圧力が所定範囲を下回った場合 昇圧防止弁を示す側面断面図
符号の説明
1 原料ガスボンベ
2 中圧調整器
3 ベンチュリーミキサー
4 クッションタンク
5 低圧ガバナ
6 出口バルブ
7 高圧ホース
8 ガス導管
9 入口バルブ
10 遮断弁
11 上下限圧遮断コントローラ
12 昇圧防止弁
13 開閉弁
14 開閉弁コントローラ
15 空気弁
16 ダイヤフラム
17 バネ室
18 コンプレッサ
19 空気配管
20 ローディング用ガバナ
21 ダイヤフラム室
22 空気取り込み口
23 バネ
24(24a〜24e) 弁体
25 弁軸
26 ガス圧伝達導管
27 ノズル
28 ロック機構
29 リセットボタン
30 調節ネジ
31 圧力計

Claims (4)

  1. 原料ガスボンベ(1)の原料ガスをベンチュリーミキサー(3)で空気と混合してクッションタンク(4)に貯蔵し、この貯蔵した混合ガスを家庭等の需要者に供給するようにしたガス供給装置において、
    本装置に空気を圧縮するコンプレッサ(18)を併設し、このコンプレッサ(18)から吐出された加圧空気を、前記原料ガスボンベ(1)のガス圧を減圧して前記ベンチュリーミキサー(3)に送出する中圧調整器(2)のダイヤフラム(16)のバネ室(17)に送り込んで、このダイヤフラム(16)に設けた弁体(24)を開弁方向に付勢して、前記中圧調整器(2)から前記ベンチュリーミキサー(3)への原料ガスの送出圧を高めるとともに、
    前記加圧空気を、前記原料ガスと混合する空気の吸入量を調節する空気弁(15)のダイヤフラム(16)のバネ室(17)、及び、前記空気弁(15)の空気取り込み口(22)の双方にも送り込んで前記空気弁(15)の空気吸入圧を高め、前記ベンチュリーミキサー(3)で前記原料ガスと空気とを混合してクッションタンク(4)に貯蔵した際に、その貯蔵した混合ガスのガス圧を高め得るようにしつつ、その混合比率を予め決めた所定範囲内に維持し得るようにしたことを特徴とするガス供給装置。
  2. 前記コンプレッサ(18)の吐出口側にガバナ(20)を設けるとともに、このガバナ(20)の出口側の空気配管(19)を二股に分岐して、一方を前記各バネ室(17)側に、他方を前記空気取り込み口(22)側に接続し、前記ガバナ(20)で、加圧空気の加圧量を調節し得るようにしたことを特徴とする請求項1に記載のガス供給装置。
  3. 前記コンプレッサ(18)の吐出口側の空気配管(19)を二股に分岐するとともに、分岐した両空気配管(19、19)にそれぞれガバナ(20)を設け、一方のガバナ(20)からの空気配管(19)を前記各バネ室(17)側に、他方のガバナ(20)からの空気配管(19)を前記空気取り込み口(22)側に接続し、前記一方のガバナ(20)で加圧空気の加圧量を調節し得るようにする一方で、前記他方のガバナ(20)で混合ガスの混合比率を調節し得るようにしたことを特徴とする請求項1に記載のガス供給装置。
  4. 前記加圧空気を、前記中圧調整器(2)と前記ベンチュリーミキサー(3)との間に設けた開閉弁(13)、前記開閉弁(13)の開閉を制御する開閉弁コントローラ(14)、前記遮断弁(10)の開閉を制御する上下限圧遮断コントローラ(11)、及び、前記クッションタンク(4)の過昇圧を防止する昇圧防止弁(12)のそれぞれに設けたダイヤフラム(16)のバネ室(17)にも送り込み、前記ベンチュリーミキサー(3)への原料ガスの送出圧が高い場合においても、前記各弁及び各コントローラが正常に動作し得るようにするとともに、
    前記上下限圧遮断コントローラ(11)、前記昇圧防止弁(12)、及び、前記ベンチュリーミキサー(3)の空気取り込み口(22)のそれぞれと、原料ガスボンベ(1)からの原料ガスの供給を遮断する遮断弁(10)とを接続し、前記中圧調整器(2)からの原料ガスの供給圧力、前記クッションタンク(4)内の混合ガス圧、又は、前記ベンチュリーミキサー(3)での空気吸入圧の少なくとも一つが、予め決めたそれぞれの所定範囲を外れた際に、前記遮断弁(10)を閉弁して、原料ガスボンベ(1)からの原料ガスの供給を遮断するようにしたことを特徴とする請求項1乃至3のいずれか一つに記載のガス供給装置。
JP2008161722A 2008-06-20 2008-06-20 ガス供給装置 Active JP4604113B2 (ja)

Priority Applications (1)

Application Number Priority Date Filing Date Title
JP2008161722A JP4604113B2 (ja) 2008-06-20 2008-06-20 ガス供給装置

Applications Claiming Priority (1)

Application Number Priority Date Filing Date Title
JP2008161722A JP4604113B2 (ja) 2008-06-20 2008-06-20 ガス供給装置

Publications (2)

Publication Number Publication Date
JP2010002133A true JP2010002133A (ja) 2010-01-07
JP4604113B2 JP4604113B2 (ja) 2010-12-22

Family

ID=41583998

Family Applications (1)

Application Number Title Priority Date Filing Date
JP2008161722A Active JP4604113B2 (ja) 2008-06-20 2008-06-20 ガス供給装置

Country Status (1)

Country Link
JP (1) JP4604113B2 (ja)

Cited By (9)

* Cited by examiner, † Cited by third party
Publication number Priority date Publication date Assignee Title
WO2012101755A1 (ja) * 2011-01-25 2012-08-02 伊藤工機株式会社 混合ガス製造装置
JP2014181861A (ja) * 2013-03-19 2014-09-29 Osaka Gas Co Ltd 混合気供給システム
JP2014206300A (ja) * 2013-04-11 2014-10-30 I・T・O株式会社 バイオガス利用装置
JP2014214883A (ja) * 2013-04-22 2014-11-17 大阪瓦斯株式会社 混合気供給システム、混合気供給システムの運転方法及び混合気供給システムに用いる混合気供給装置
JP2014214882A (ja) * 2013-04-22 2014-11-17 大阪瓦斯株式会社 混合気供給システム及び混合気供給システムに用いる混合気供給装置
JP2016095080A (ja) * 2014-11-14 2016-05-26 大阪瓦斯株式会社 ガス供給装置
JP2017207272A (ja) * 2016-05-11 2017-11-24 I・T・O株式会社 混合ガス製造装置
JP2020148424A (ja) * 2019-03-14 2020-09-17 大阪瓦斯株式会社 ガス供給装置
CN113804518A (zh) * 2021-09-28 2021-12-17 武汉船用电力推进装置研究所(中国船舶重工集团公司第七一二研究所) 一种高纯及超纯气体高保真取样装置和方法

Families Citing this family (2)

* Cited by examiner, † Cited by third party
Publication number Priority date Publication date Assignee Title
JP6591177B2 (ja) * 2015-03-03 2019-10-16 武陽ガス株式会社 ガス供給装置
CN105617898B (zh) * 2015-12-29 2019-01-22 厦门大学 一种二氧化碳混合气体制备装置

Citations (3)

* Cited by examiner, † Cited by third party
Publication number Priority date Publication date Assignee Title
JPH01245844A (ja) * 1988-03-28 1989-10-02 Buyou Gas Kk 燃料ガス混合輸送方法
JPH06131056A (ja) * 1992-10-22 1994-05-13 Tanaka Seisakusho Kk 自動減圧弁
JP2005177665A (ja) * 2003-12-22 2005-07-07 Ito Koki Kk ガス供給装置

Patent Citations (3)

* Cited by examiner, † Cited by third party
Publication number Priority date Publication date Assignee Title
JPH01245844A (ja) * 1988-03-28 1989-10-02 Buyou Gas Kk 燃料ガス混合輸送方法
JPH06131056A (ja) * 1992-10-22 1994-05-13 Tanaka Seisakusho Kk 自動減圧弁
JP2005177665A (ja) * 2003-12-22 2005-07-07 Ito Koki Kk ガス供給装置

Cited By (13)

* Cited by examiner, † Cited by third party
Publication number Priority date Publication date Assignee Title
JP5762443B2 (ja) * 2011-01-25 2015-08-12 I・T・O株式会社 混合ガス製造装置
CN103313778A (zh) * 2011-01-25 2013-09-18 伊藤工机株式会社 混合气体制造装置
WO2012101755A1 (ja) * 2011-01-25 2012-08-02 伊藤工機株式会社 混合ガス製造装置
JP2014181861A (ja) * 2013-03-19 2014-09-29 Osaka Gas Co Ltd 混合気供給システム
JP2014206300A (ja) * 2013-04-11 2014-10-30 I・T・O株式会社 バイオガス利用装置
JP2014214882A (ja) * 2013-04-22 2014-11-17 大阪瓦斯株式会社 混合気供給システム及び混合気供給システムに用いる混合気供給装置
JP2014214883A (ja) * 2013-04-22 2014-11-17 大阪瓦斯株式会社 混合気供給システム、混合気供給システムの運転方法及び混合気供給システムに用いる混合気供給装置
JP2016095080A (ja) * 2014-11-14 2016-05-26 大阪瓦斯株式会社 ガス供給装置
JP2017207272A (ja) * 2016-05-11 2017-11-24 I・T・O株式会社 混合ガス製造装置
JP2020148424A (ja) * 2019-03-14 2020-09-17 大阪瓦斯株式会社 ガス供給装置
JP7257826B2 (ja) 2019-03-14 2023-04-14 大阪瓦斯株式会社 ガス供給装置
CN113804518A (zh) * 2021-09-28 2021-12-17 武汉船用电力推进装置研究所(中国船舶重工集团公司第七一二研究所) 一种高纯及超纯气体高保真取样装置和方法
CN113804518B (zh) * 2021-09-28 2024-04-16 武汉船用电力推进装置研究所(中国船舶重工集团公司第七一二研究所) 一种高纯及超纯气体高保真取样装置和方法

Also Published As

Publication number Publication date
JP4604113B2 (ja) 2010-12-22

Similar Documents

Publication Publication Date Title
JP4604113B2 (ja) ガス供給装置
US7168464B2 (en) Dual-service system and method for compressing and dispensing natural gas and hydrogen
US6953045B2 (en) Gas delivery system
CN110425417B (zh) 适用于大型液体火箭发动机试验的氮供应系统
KR101048332B1 (ko) 천연가스 정압설비 및 그 운영방법
JPH10337463A (ja) ガス供給システムをバックアップあるいは補償するための方法及び装置
CN111720849B (zh) 燃气发生器燃料多工况精确供应系统及其运行方法
KR101680999B1 (ko) 타이어 시험 장치의 공기압 회로
JP6889910B2 (ja) 混合ガス製造装置
JP2012067787A (ja) 液化ガス払出し設備および圧力調整弁
CN115163309B (zh) 燃气轮机燃烧试验台的燃料供应系统
CA2697916A1 (en) Apparatus and method for controlling the temperature of a cryogen
KR20230128568A (ko) 기체 연료 공급 시스템
CN101184536B (zh) 泡沫灭火装置及其操作的方法
CN107847985B (zh) 具有固定罐压的水汽喷砂系统
KR20130071366A (ko) 액화가스 공급장치 및 방법
KR101686910B1 (ko) Lng 재기화 시스템의 고압펌프 가압 시스템 및 방법
JP6453054B2 (ja) ガス供給装置
JP5229752B2 (ja) 天然ガスの希釈熱量調整方法
CN109485277B (zh) 一种用于石灰窑的天然气煅烧设备及方法
US2678877A (en) Apparatus for producing combustible gaseous mixtures of substantially constant pressure
US2342426A (en) Apparatus for producing combustible gaseous mixtures at substantially constant pressures
CN110220118B (zh) 液化压缩天然气高压柱塞泵管路系统
US20090288845A1 (en) Fire extinguishing apparatus
CN214147426U (zh) 一种无人值守在线实时试车台供配气系统

Legal Events

Date Code Title Description
A977 Report on retrieval

Free format text: JAPANESE INTERMEDIATE CODE: A971007

Effective date: 20100603

A131 Notification of reasons for refusal

Free format text: JAPANESE INTERMEDIATE CODE: A131

Effective date: 20100615

A521 Request for written amendment filed

Free format text: JAPANESE INTERMEDIATE CODE: A523

Effective date: 20100805

TRDD Decision of grant or rejection written
A01 Written decision to grant a patent or to grant a registration (utility model)

Free format text: JAPANESE INTERMEDIATE CODE: A01

Effective date: 20100907

A01 Written decision to grant a patent or to grant a registration (utility model)

Free format text: JAPANESE INTERMEDIATE CODE: A01

A61 First payment of annual fees (during grant procedure)

Free format text: JAPANESE INTERMEDIATE CODE: A61

Effective date: 20101004

FPAY Renewal fee payment (event date is renewal date of database)

Free format text: PAYMENT UNTIL: 20131008

Year of fee payment: 3

R150 Certificate of patent or registration of utility model

Free format text: JAPANESE INTERMEDIATE CODE: R150

Ref document number: 4604113

Country of ref document: JP

Free format text: JAPANESE INTERMEDIATE CODE: R150

R250 Receipt of annual fees

Free format text: JAPANESE INTERMEDIATE CODE: R250

R250 Receipt of annual fees

Free format text: JAPANESE INTERMEDIATE CODE: R250

R250 Receipt of annual fees

Free format text: JAPANESE INTERMEDIATE CODE: R250

R250 Receipt of annual fees

Free format text: JAPANESE INTERMEDIATE CODE: R250

R250 Receipt of annual fees

Free format text: JAPANESE INTERMEDIATE CODE: R250

R250 Receipt of annual fees

Free format text: JAPANESE INTERMEDIATE CODE: R250

R250 Receipt of annual fees

Free format text: JAPANESE INTERMEDIATE CODE: R250

R250 Receipt of annual fees

Free format text: JAPANESE INTERMEDIATE CODE: R250

R250 Receipt of annual fees

Free format text: JAPANESE INTERMEDIATE CODE: R250

R250 Receipt of annual fees

Free format text: JAPANESE INTERMEDIATE CODE: R250

R250 Receipt of annual fees

Free format text: JAPANESE INTERMEDIATE CODE: R250