JP2010001752A - 内燃機関の燃料噴射装置 - Google Patents

内燃機関の燃料噴射装置 Download PDF

Info

Publication number
JP2010001752A
JP2010001752A JP2008159188A JP2008159188A JP2010001752A JP 2010001752 A JP2010001752 A JP 2010001752A JP 2008159188 A JP2008159188 A JP 2008159188A JP 2008159188 A JP2008159188 A JP 2008159188A JP 2010001752 A JP2010001752 A JP 2010001752A
Authority
JP
Japan
Prior art keywords
fuel
air
fuel ratio
ratio
fuel injection
Prior art date
Legal status (The legal status is an assumption and is not a legal conclusion. Google has not performed a legal analysis and makes no representation as to the accuracy of the status listed.)
Granted
Application number
JP2008159188A
Other languages
English (en)
Other versions
JP4872970B2 (ja
Inventor
Tomohiro Fujita
知博 藤田
Current Assignee (The listed assignees may be inaccurate. Google has not performed a legal analysis and makes no representation or warranty as to the accuracy of the list.)
Toyota Motor Corp
Original Assignee
Toyota Motor Corp
Priority date (The priority date is an assumption and is not a legal conclusion. Google has not performed a legal analysis and makes no representation as to the accuracy of the date listed.)
Filing date
Publication date
Application filed by Toyota Motor Corp filed Critical Toyota Motor Corp
Priority to JP2008159188A priority Critical patent/JP4872970B2/ja
Publication of JP2010001752A publication Critical patent/JP2010001752A/ja
Application granted granted Critical
Publication of JP4872970B2 publication Critical patent/JP4872970B2/ja
Active legal-status Critical Current
Anticipated expiration legal-status Critical

Links

Images

Landscapes

  • Output Control And Ontrol Of Special Type Engine (AREA)
  • Electrical Control Of Air Or Fuel Supplied To Internal-Combustion Engine (AREA)
  • Combined Controls Of Internal Combustion Engines (AREA)

Abstract

【課題】空燃比学習値に基づいて混合燃料に含まれる複数の燃料の混合割合を推定するものにおいて、当該混合割合の推定が完了する前に機関運転が停止された場合であれ、次回の機関始動時に機関始動性が悪化することを抑制する。
【解決手段】エンジン1の燃料噴射装置は、ガソリン燃料とエタノール燃料とが混合された混合燃料を噴射する燃料噴射弁15、その開弁期間TAU,TAUSTを算出する電子制御装置2を備える。電子制御装置2は該開弁期間TAU,TAUSTに応じて燃料噴射弁15を制御する。また、空燃比フィードバック制御における空燃比学習値FGに基づいて混合燃料に含まれるエタノール燃料の混合割合ALCGを推定し、同混合割合ALCGが推定されたときには空燃比学習値FGを初期化する。そして、空燃比学習値FGと推定される混合割合ALCGとの双方に基づいて機関始動時の開弁期間TAUSTを算出する。
【選択図】図1

Description

本発明は、複数の燃料が混合された混合燃料を噴射する燃料噴射弁と、燃料噴射量を算出する噴射量算出手段とを備え、噴射量算出手段により算出される燃料噴射量に応じて燃料噴射弁を制御する内燃機関の燃料噴射装置に関する。
従来、この種の内燃機関の燃料噴射装置としては、例えば特許文献1に記載のものがある。特許文献1に記載のものも含め、従来の内燃機関の燃料噴射装置では、例えばガソリン燃料とエタノール燃料とが混合された混合燃料を燃料噴射弁から噴射するものが知られている。ここで、エタノール燃料は、ガソリン燃料に比べて、燃焼を通じて得られる単位質量当たりの出力が小さいことから、混合燃料に含まれるエタノール燃料の混合割合が大きくなるほど燃料噴射量を増量する必要がある。尚、上記特許文献1に記載の燃料噴射装置では、エタノール燃料の濃度をセンサにより直接検出するようにしている。
ところで、エタノール燃料の濃度を検出するセンサの検出精度が低いことや、センサの追加により燃料噴射装置の構成が複雑となるといったことから、以下に説明するように、空燃比フィードバック制御における空燃比学習値FGに基づいてエタノール燃料の混合割合ALCGを推定するものがある。すなわち、空燃比フィードバック制御では、排気通路に設けられた空燃比センサにより排気の空燃比が検出され、排気の空燃比から混合気の空燃比(以下、「実空燃比AF」)を把握するとともに、該実空燃比AFが目標空燃比TAFに一致するようにこれら実空燃比AFと目標空燃比TAFとの乖離傾向に基づいて空燃比フィードバック補正値FAFが算出される。そして、算出された空燃比フィードバック補正値FAFにより燃料噴射量Qが補正されるようになっている。また、例えば給油が行われることによって混合燃料に含まれるエタノール燃料の混合割合が変化すると、実空燃比AFと目標空燃比TAFと間には定常的な乖離が生じるようになる。すなわち、実空燃比AFが目標空燃比TAFに対して大きく乖離するようになり、空燃比フィードバック補正値FAFが所定値FAFU(>1)よりも大きい状態や、空燃比フィードバック補正値FAFが所定値FAFL(<1)よりも小さい状態が定常的に生じるようになる。そこで、こうした実空燃比AFと目標空燃比TAFとの定常的な乖離を打ち消すように同乖離傾向に基づいて空燃比学習値FGが更新されるようになっている。そして例えば、それまでに更新された空燃比学習値FGに対して今回更新された空燃比学習値FGが大きいとき、すなわち燃料噴射量を増量する方向に空燃比学習値FGが更新されたときには、所定の条件が成立した後に、混合燃料に含まれるエタノール燃料の混合割合を、それまでに推定されていた混合割合ALCGよりも大きく推定するようにしている。
特開昭62―178735号公報
ところで、こうした内燃機関の燃料噴射装置において、推定されるエタノール燃料の混合割合ALCGに基づいて機関始動時の燃料噴射量を算出することが考えられるが、この場合には、以下の問題が生じることとなる。すなわち、例えば給油が行われることによってエタノール燃料の混合割合が変化した場合、上述したような空燃比学習値FGの更新が行われたとしても、この空燃比学習値FGに基づくエタノール燃料の混合割合の推定が完了する前に機関運転が停止されることがある。この場合、エタノール燃料の混合割合の変化は空燃比学習値FGに反映されるものの、それまでに推定されたエタノール燃料の混合割合ALCGには反映されていないため、次回の機関始動時には燃料噴射量を好適に算出することができず、機関始動性が悪化するといった問題が生じることとなる。
尚、こうした問題は、ガソリン燃料とエタノール燃料とが混合された混合燃料を噴射する燃料噴射装置に限られるものではなく、複数の燃料が混合された混合燃料を燃料噴射弁から噴射するものであれば、概ね共通して生じうるものである。
本発明は、こうした実情に鑑みてなされたものであり、その目的は、空燃比学習値に基づいて混合燃料に含まれる複数の燃料の混合割合を推定するものにおいて、当該混合割合の推定が完了する前に機関運転が停止された場合であれ、次回の機関始動時に機関始動性が悪化することを抑制することのできる内燃機関の燃料噴射装置を提供することにある。
以下、上記課題を解決するための手段及びその作用効果について記載する。
(1)請求項1に記載の発明は、複数の燃料が混合された混合燃料を噴射する燃料噴射弁と、燃料噴射量を算出する噴射量算出手段とを備え、前記噴射量算出手段により算出される燃料噴射量に応じて前記燃料噴射弁を制御する内燃機関の燃料噴射装置であって、内燃機関の実空燃比を検出する検出手段と、機関運転状態に基づいて内燃機関の目標空燃比を設定する設定手段と、前記検出手段により検出される実空燃比が前記設定手段により設定される目標空燃比に一致するようにこれら実空燃比と目標空燃比との乖離傾向に基づいて前記燃料噴射量の空燃比補正値を算出する補正値算出手段と、前記検出手段により検出される実空燃比と前記設定手段により設定される目標空燃比との定常的な乖離を打ち消すように同乖離傾向に基づいて前記燃料噴射量の空燃比学習値を更新する更新手段と、前記更新手段により更新された前記空燃比学習値に基づいて前記混合燃料に含まれる複数の燃料の混合割合を推定する推定手段と、前記推定手段により前記混合割合が推定されたときには、同更新手段による前記空燃比学習値を初期化する初期化手段とを備え、前記噴射量算出手段は、前記更新手段により更新される前記空燃比学習値と、前記推定手段により推定される前記混合割合との双方に基づいて機関始動時の燃料噴射量を算出することをその要旨としている。
混合燃料に含まれる複数の燃料の混合割合が変化すると、実空燃比が目標空燃比に一致するようにこれら実空燃比と目標空燃比との乖離傾向に基づいて空燃比補正値が算出され、同空燃比補正値により燃料噴射量が補正される。このとき、実空燃比と目標空燃比との間に生じる定常的な乖離傾向は上記混合割合に応じて変化することとなる。このため、こうした定常的な乖離傾向に基づいて更新された空燃比学習値には、上記混合割合の情報が反映されることとなる。従って、推定手段による上記混合割合の推定が完了する前に機関運転が停止された場合であっても、更新手段による空燃比学習値の更新が完了している場合には、上記混合割合の情報が空燃比学習値に反映されていることになる。
上記構成によれば、更新手段により更新される空燃比学習値と、推定手段により推定される混合割合との双方に基づいて機関始動時の燃料噴射量が算出される。このため、直前の機関運転時において、推定手段による上記混合割合の推定が完了する前に機関運転が停止された場合であれ、機関始動時の燃料噴射量に対して上記混合割合の情報を反映させることができる。従って、上記混合割合の推定が完了する前に機関運転が停止された場合であれ、次回の機関始動時に機関始動性が悪化することを抑制することができるようになる。
尚、更新手段により更新される空燃比学習値と、推定手段により推定される混合割合との双方に基づいて燃料噴射量を算出する上記構成にあっては、上記混合割合の情報が、これら空燃比学習値と混合割合の推定値との双方に重複して含まれることに起因して機関始動時の燃料噴射量が適切に算出されないといった問題が生じるおそれがある。この点、上記構成では、推定手段により上記混合割合が推定されたときには、更新手段による空燃比学習値が初期化されるため、上記混合割合の情報が、これら空燃比学習値と混合割合の推定値との双方に重複して含まれることはなく、またそれに起因して機関始動時の燃料噴射量が適切に算出されないといった問題が生じることもない。
(2)請求項2に記載の発明は、請求項1に記載の内燃機関の燃料噴射装置において、前記混合燃料を貯留する貯留部に対して所定量以上の給油が行われることをもって当該給油が行われた旨判定する判定手段と、前記判定手段により給油が行われた旨判定されたときには、前記更新手段による前記空燃比学習値の更新に先立ち、前記補正値算出手段により算出される空燃比補正値に基づいて前記混合燃料に含まれる複数の燃料の混合割合を推定する給油判定時推定手段とを更に備えることをその要旨としている。
同構成によれば、貯留部に対して所定量以上の給油が行われ、これをもって当該給油が行われた旨判定されたときには、空燃比学習値の更新に先立ち、給油判定時推定手段により、空燃比補正値に基づいて混合燃料に含まれる複数の燃料の混合割合が推定される。これにより、所定量以上の給油が行われたとき、すなわち混合燃料の混合割合が変化した可能性の高いときには、空燃比学習値の更新が完了する前に混合燃料の混合割合を推定することができるようになる。従って、混合燃料の混合割合が変化した可能性の高いときには、上記混合割合を早期に推定することができるようになる。
一方、例えば貯留部に貯留されている混合燃料の量が少ないときに、所定量未満の給油ではあるものの、貯留部に貯留されている混合燃料とは混合割合の大きく異なる燃料の給油が行われると、混合燃料に含まれる複数の燃料の混合割合が大きく変化することとなる。しかし、上記判定手段にあっては、貯留部に対して所定量未満の給油が行われたときには当該給油が行われた旨判定されないことから、上記給油判定時推定手段による上記混合割合の推定を行うことができない。更に、その後において、推定手段による上記混合割合の推定が完了する前に機関運転が停止されると、次回の機関始動時には燃料噴射量を好適に算出することができず、機関始動性が悪化するといった問題が生じることとなる。このような上記構成を備える内燃機関の燃料噴射装置に対して、請求項1に記載の発明を適用すれば、給油判定時推定手段による上記混合割合の推定が行われない場合であれ、次回の機関始動時に機関始動性が悪化することを抑制することができるようになる。
(3)請求項3に記載の発明は、請求項1または請求項2に記載の内燃機関の燃料噴射装置において、前記噴射量算出手段は、前記更新手段により更新される前記空燃比学習値と、前記推定手段により推定される前記混合割合との積に基づいて機関始動時の燃料噴射量を算出することをその要旨としている。
同構成によるように、更新手段により更新される空燃比学習値と、推定手段により推定される混合割合との積に基づいて機関始動時の燃料噴射量を算出するようにすれば、上記空燃比学習値と上記混合割合との双方に基づいて機関始動時の燃料噴射量を算出する構成を簡易なものとすることができる。
(4)請求項4に記載の発明は、請求項1〜請求項3のいずれか一項に記載の内燃機関の燃料噴射装置において、前記更新手段は、複数の機関負荷領域毎に前記空燃比学習値を更新するものであり、前記噴射量算出手段は、前記更新手段により更新される前記空燃比学習値のうち低負荷領域の空燃比学習値に基づいて機関始動時の燃料噴射量を算出することをその要旨としている。
機関負荷領域が異なると、更新される空燃比学習値も異なることが多い。この点、上記構成によれば、更新手段により更新される空燃比学習値のうち、機関始動時に対応する低負荷領域の空燃比学習値に基づいて機関始動時の燃料噴射量が算出されるため、次回の機関始動時に機関始動性が悪化することを的確に抑制することができるようになる。
(5)請求項5に記載の発明は、請求項4に記載の内燃機関の燃料噴射装置において、内燃機関は吸気通路にブローバイガスを導入する導入手段を備えるものであり、前記混合燃料による内燃機関の潤滑油の希釈度合を推定する希釈度合推定手段を備え、前記推定手段は、前記希釈度合推定手段により推定される前記潤滑油の希釈度合が所定度合以上であるときには、前記更新手段により機関負荷領域毎に更新された空燃比学習値のうち低負荷領域の空燃比学習値に基づいての前記混合燃料に含まれる複数の燃料の混合割合の推定を禁止することをその要旨としている。
吸気通路にブローバイガスを導入する導入手段を備える内燃機関にあっては、混合燃料による潤滑油の希釈度合が大きいときほど、ブローバイガスに含まれる混合燃料成分が多くなる。また、機関負荷が低いときほど、燃焼室に供給される混合気に含まれるブローバイガスの割合が大きくなる。これらのことから、混合燃料に含まれる複数の燃料の混合割合を、低負荷領域の空燃比学習値に基づいて推定すると、その推定精度が低いものとなるおそれがある。
この点、上記構成によれば、希釈度合推定手段により推定される潤滑油の希釈度合が所定度合以上であるときには、更新手段により機関負荷領域毎に更新された空燃比学習値のうち低負荷領域の空燃比学習値に基づいての混合燃料に含まれる複数の燃料の混合割合の推定が禁止される。これにより、ブローバイガスの導入に起因して上記混合割合の推定精度が低くなる可能性の高いときには、低負荷領域以外の空燃比学習値に基づいて上記混合割合の推定が行われるようになる。従って、上記混合割合の推定精度が低下することを抑制することができるようになる。
一方、更新手段により機関負荷領域毎の空燃比学習値が更新され、低負荷領域以外の空燃比学習値に基づいて上記混合割合を推定する構成にあっては、同混合割合の推定が完了するまでに多くの時間を要することとなる。このため、上記混合割合の推定が完了する前に機関運転が停止されるといった状況が生じやすくなる。このような上記構成を備える内燃機関の燃料噴射装置に対して、請求項1〜請求項3のいずれか一項に記載の発明を適用すれば、上記混合割合の推定精度が低下することを抑制しつつも、次回の機関始動時に機関始動性が悪化することを抑制することができるようになる。
(6)請求項6に記載の発明は、請求項4または請求項5に記載の内燃機関の燃料噴射装置において、内燃機関は吸気通路にブローバイガスを導入する導入手段を備えるものであり、前記混合燃料による内燃機関の潤滑油の希釈度合を推定する希釈度合推定手段を備え、前記推定手段は、前記希釈度合推定手段により推定される前記潤滑油の希釈度合が所定度合未満であるときには、前記更新手段により機関負荷領域毎に更新された全ての空燃比学習値に基づいて前記混合燃料に含まれる複数の燃料の混合割合を推定することをその要旨としている。
同構成によれば、希釈度合推定手段により推定される潤滑油の希釈度合が所定度合未満であるときには、更新手段により機関負荷領域毎に更新された全ての空燃比学習値に基づいて混合燃料に含まれる複数の燃料の混合割合が推定される。これにより、ブローバイガスの導入に起因して上記混合割合の推定精度が低くなる可能性の低いときには、機関負荷領域毎に更新された全ての空燃比学習値に基づいて上記混合割合が推定されるようになる。従って、上記混合割合における機関負荷領域毎の誤差の影響を小さくすることができ、上記混合割合をより精度よく推定することができるようになる。
一方、更新手段により機関負荷領域毎の空燃比学習値が更新され、これら機関負荷領域毎の全ての空燃比学習値に基づいて混合燃料に含まれる複数の燃料の混合割合を推定する構成にあっては、同混合割合の推定が完了するまでに多くの時間を要することとなる。このため、上記混合割合の推定が完了する前に機関運転が停止されるといった状況が生じやすくなる。このような上記構成を備える内燃機関の燃料噴射装置に対して、請求項1〜請求項3のいずれか一項に記載の発明を適用すれば、上記混合割合をより精度よく推定しつつも、次回の機関始動時に機関始動性が悪化することを抑制することができるようになる。
(7)請求項7に記載の発明は、請求項1〜請求項6のいずれか一項に記載の内燃機関の燃料噴射装置において、前記推定手段は、前記更新手段により更新された空燃比学習値の所定期間での平均値に基づいて前記混合燃料に含まれる複数の燃料の混合割合を推定することをその要旨としている。
同構成によれば、更新手段により更新された空燃比学習値の所定期間での平均値に基づいて混合燃料に含まれる複数の燃料の混合割合が推定される。これにより、更新手段により更新された空燃比学習値の誤差の影響を小さくすることができ、上記混合割合をより精度よく推定することができるようになる。
以下、図1〜図8を参照して、本発明にかかる内燃機関の燃料噴射装置を、ガソリン燃料とエタノール燃料とからなる混合燃料を噴射する車載エンジン(以下、「エンジン1」)の燃料噴射装置として具体化した一実施形態について詳細に説明する。
図1に、エンジン1及びこれを制御する電子制御装置2の概略構成を模式的に示す。
エンジン1は、吸気通路11、燃焼室12、及び排気通路13を備えて構成されている。吸気通路11には、吸気を調量するためのスロットルバルブ14が設けられており、スロットルバルブ14の下流側には吸気通路11に燃料を噴射するための燃料噴射弁15が設けられている。また、車両には混合燃料を貯留するための燃料タンク16が設けられており、燃料タンク16と燃料噴射弁15とは供給通路17により接続されている。尚、燃料タンク16には、燃料を給油するための給油口16aが設けられている。燃料噴射弁15から噴射された燃料とスロットルバルブ14により調量された空気とが混合され、こうして混合された混合気が燃焼室12に供給される。そして、燃焼室12にて燃焼されることによりエンジン1の出力が発生する。また、燃焼により発生した排気は排気通路13へと排出される。
また、エンジン1には、クランクケース内のブローバイガスを吸気通路11に導入するための導入通路18が設けられ、導入通路18には吸気通路11に導入されるブローバイガスを調量するためのPCVバルブ19が設けられている。
また、エンジン1には、その運転状態を検出するための各種センサが設けられている。すなわち、吸気通路11においてスロットルバルブ14の上流側には、燃焼室12に供給される吸気の量(以下、「吸気量GA」)を検出する吸気量センサ21が設けられている。また、スロットルバルブ14の近傍には、スロットルバルブ14の開度(以下、「スロットル開度TA」)を検出するスロットル開度センサ22が設けられている。また、排気通路13には、排気の空燃比を検出するための空燃比センサ23が設けられている。また、エンジン1のクランクシャフトの近傍には、クランクシャフトの回転から機関回転速度NEを検出する機関回転速度センサ24が設けられている。また、アクセルペダルの近傍には、アクセルペダルの操作量(以下、「アクセル開度ACCP」)を検出するアクセル開度センサ25が設けられている。また、エンジン1の冷却水を流通させるウォータジャケットには、冷却水の温度(以下、「冷却水温THW」)を検出するための水温センサ26が設けられている。また、燃料タンク16には、混合燃料の液面の位置(以下、「液位LF」)を検出するための液位センサ27が設けられている。尚、これらセンサ以外にも各種のセンサが必要に応じて設けられている。これら各センサ21〜27の検出信号は、エンジン1の各種制御を実行する電子制御装置2に入力される。
電子制御装置2は、各種制御を実行するためのプログラム及び演算用マップ、並びに制御の実行に際して算出される各種データ等を記憶するメモリを備えて構成されており、上記各センサ21〜27をはじめとする各種センサの出力値により把握される機関運転状態等に基づいて、例えば次の各制御を実行する。すなわち、スロットルバルブ14を制御するスロットル制御、燃料噴射弁15を制御する燃料噴射制御、及び混合気の空燃比AFを目標空燃比TAFに一致させるための空燃比フィードバック制御を実行する。また、給油の有無を判定する給油判定制御、混合燃料によるエンジン1のオイルの希釈度合Dを推定する希釈度合推定制御、及び混合燃料に含まれるエタノール燃料の混合割合ALCGを推定する混合割合推定制御を実行する。
ここで、スロットル制御では、運転者の要求であるアクセル操作量ACCP等に基づいてスロットルバルブ14の開度指令値を設定し、同開度指令値によりスロットルバルブ14の操作を行う。
また、希釈度合推定制御では、冷却水温THWや燃料噴射量の推移等に基づいてクランクケース内のオイルの燃料希釈度合、すなわちオイルに対する混入した混合燃料の質量比率(以下、希釈度合D)を推定する。ここで、オイルの燃料希釈は、冷却水温THWが低くなるほど、また燃料噴射量の積算値が大きくなるほど進行するため、これを考慮して、冷却水温THWが低くなるほど、また燃料噴射量の積算値が大きくなるほど希釈度合Dを大きく推定するようにしている。
ここで、電子制御装置2による上記各制御のうちの機関始動後の燃料噴射制御(図2)、空燃比フィードバック制御(図3)、給油判定制御(図5)、混合割合推定制御(図6、図7、図8)について、図2,3,5〜7のそれぞれに示すフローチャートを参照してそれらの詳細を説明する。
<機関始動後燃料噴射制御>
まず、図2を参照して、機関始動後における燃料噴射制御について説明する。尚、同図は、機関始動後燃料噴射制御の処理手順を示すフローチャートである。このフローチャートに示される一連の処理は、機関始動後において、電子制御装置2により所定の制御周期毎に繰り返し実行される。
この一連の処理では、まず、吸気量GA及び機関回転速度NEと基本開弁期間TAUBとの関係を規定したマップに基づいて燃料噴射弁15の基本開弁期間TAUBを算出する(ステップS101)。そして、次に、以下の演算式(1)に従って最終的な開弁期間TAUを算出する(ステップS102)。

TAU ← TAUB × FAF × FG × ALCG … (1)

上記演算式(1)において、「FAF」、「FG」は、後に詳述する空燃比フィードバック制御(図3)での空燃比フィードバック補正値、空燃比学習値である。これら空燃比フィードバック補正値FAF及び空燃比学習値FGは、空燃比フィードバック制御を通じて算出される燃料噴射弁15の開弁期間TAUの補正値、すなわち燃料噴射量の補正値であり、それぞれ目標空燃比TAFに対する実空燃比AFの一時的な乖離を打ち消すための補正値及び目標空燃比TAFに対する実空燃比AFの定常的な乖離を打ち消すための学習値として設定される。尚、本実施形態のエンジン1では、目標空燃比TAFとして基本的に理論空燃比が設定される。また、機関運転状態によっては理論空燃比よりもリッチ側またはリーン側の空燃比が目標空燃比TAFとして設定されることもある。
このようにして開弁期間TAUを設定すると(ステップS102)、次に、同開弁期間TAUにより燃料噴射弁15を操作して(ステップS103)、この一連の処理を一旦終了する。これにより、開弁期間TAUに対応する量の燃料が燃料噴射弁15から噴射される。
<空燃比フィードバック制御>
次に、図3を参照して、空燃比フィードバック制御について説明する。尚、同図は、空燃比フィードバック制御の処理手順を示すフローチャートである。このフローチャートに示される一連の処理は、電子制御装置2により所定の制御周期毎に繰り返し実行される。
この一連の処理では、まず、空燃比フィードバック制御の実行条件が成立している否かを判断する(ステップS201)。ここで、空燃比フィードバック制御の実行条件としては、機関始動時ではない、燃料カットが行われていない、冷却水温THWが所定温度以上である、空燃比センサ23が活性化している等々を挙げることができる。これらの各条件のうち少なくとも一つが成立していないときには、空燃比フィードバック制御の実行条件が成立していないと判断し(ステップS201:「NO」)、この一連の処理を一旦終了する。
一方、上記各条件が全て成立しており、空燃比フィードバック制御の実行条件が成立していると判断した場合(ステップS201:YES)には、次に、ステップS202〜S204の処理に移行する。これらステップS202〜S204の処理では、空燃比センサ23の出力電圧VAFと所定電圧VTRGとの差(以下、「電圧差ΔV」)を減少させるべく、この電圧差ΔVに基づいて混合気の空燃比AFをフィードバック制御するための補正値を、先の空燃比フィードバック補正値FAFとして算出する。この空燃比フィードバック補正値FAFの算出に際して、まずは、ステップS202の処理において、出力電圧VAFと所定電圧VTRGとの比較を行う。
ここで、図4に示すように、空燃比センサ23の出力電圧VAFは、排気の酸素濃度が高くなるにつれて、すなわち、理論空燃比に対して混合気の空燃比AFがリーン側に乖離するにつれて大きくなる。また、空燃比センサ23の出力電圧VAFは、排気の酸素濃度が低くなるにつれて、すなわち、理論空燃比に対して混合気の空燃比AFがリッチ側に乖離するにつれて小さくなる。
先の図3のステップS202において、出力電圧VAFが所定電圧VTRGよりも大きいと判断した場合(ステップS202:YES)には、すなわち、混合気の空燃比AFが理論空燃比よりもリーン側であると判断した場合には、そのときの空燃比フィードバック補正値FAFに対して所定値FKUPを加算する。そして、これによる演算結果(FAF+FKUP)を新たな空燃比フィードバック補正値FAFとして設定し(ステップS203)、次にステップS205〜ステップS209の処理に移行する。
一方、出力電圧VAFが所定電圧VTRG以下であると判断した場合(ステップS202:NO)には、すなわち、混合気の空燃比AFが理論空燃比よりもリッチ側であると判断した場合には、そのときの空燃比フィードバック補正値FAFから所定値FKDWNを減算する。そして、これによる演算結果(FAF−FKDWN)を新たな空燃比フィードバック補正値FAFとして設定し(ステップS204)、次にステップS205〜S209の処理に移行する。
次のステップS205〜S209の処理では、混合気の空燃比AFと目標空燃比TAFとの定常的な乖離を打ち消すように、空燃比フィードバック補正値FAFの平均値FAFAVEと所定値α,β(α<1.0<β)との比較に基づいて空燃比学習値FGの更新を行う。すなわち、混合気の空燃比AFと目標空燃比TAFとの間に定常的な乖離がない場合には、空燃比フィードバック補正値FAFは基準値である「1.0」を中心としてその近傍で変動するようになる。従って、空燃比フィードバック補正値FAFの平均値FAFAVEは略「1.0」となる。
一方、例えば、エンジン1の個体差や、燃料噴射弁15の噴射特性或いは吸気量センサ21の出力特性における個体差、更にはそれら個体差の経時変化等々に起因して混合気の空燃比AFが目標空燃比TAFからリッチ側あるいはリーン側に定常的に乖離する場合には、空燃比フィードバック補正値FAFは「1.0」とは異なる値を中心としてその近傍で変動するようになる。従って、空燃比フィードバック補正値FAFの平均値FAFAVEは、その乖離傾向に応じて基準値である「1.0」とは異なる値に収束するようになる。このため、空燃比フィードバック補正値FAFの基準値である「1.0」とその平均値FAFAVEとの間の乖離傾向に基づいて混合気の空燃比AFと目標空燃比TAFとの乖離傾向を把握することができる。
これらのことから、ステップS205の処理では、先のステップS203,S204にて設定された空燃比フィードバック補正値FAFを含めた空燃比フィードバック補正値FAFの平均値FAFAVEを算出する(ステップS205)。そして、次に、上記平均値FAFAVEが所定値α(<1.0)未満であるか否かを判断する(ステップS206)。その結果、上記平均値FAFAVEが所定値α未満である場合(ステップS206:「YES」)には、混合気の空燃比AFが目標空燃比TAFに対してリッチ側に乖離する傾向があると判断し、この乖離傾向を打ち消すように空燃比学習値FGをより小さい値に更新する(ステップS207)。そして、この一連の処理を一旦終了する。
一方、上記平均値FAFAVEが所定値α以上である場合(ステップS206:「NO」)には、次に、上記平均値FAFAVEが所定値β(>1.0)よりも大きいか否かを判断する(ステップS208)。そして、その結果、上記平均値FAFAVEが所定値βよりも大きい場合(ステップS208:「YES」)には、混合気の空燃比AFが目標空燃比TAFに対してリーン側に乖離する傾向があると判断し、この乖離傾向を打ち消すように空燃比学習値FGをより大きい値に更新する(ステップS209)。そして、この一連の処理を一旦終了する。
一方、空燃比フィードバック補正値FAFの平均値FAFAVEが所定値α以上であり且つ所定値β以下(α≦FAFAVE≦β)の範囲にある場合(ステップSS208:「NO」)には、同平均値FAFAVEがその基準値である「1.0」の近傍で変動しており、混合気の空燃比AFが目標空燃比TAFから乖離する傾向はないと判断する。そしてこの場合には、上記空燃比学習値FGの更新を行うことなく、そのときの値を保持する。このようにして空燃比学習値FGを更新した後、この一連の処理を一旦終了する。
更に、本実施形態では、複数の機関負荷領域(低負荷領域及び高負荷領域)毎に空燃比学習値FGを更新するようにしている。
<給油判定制御>
次に、図5を参照して、給油判定制御について説明する。尚、同図は、給油判定制御の処理手順を示すフローチャートである。このフローチャートに示される一連の処理は、電子制御装置2により所定の制御周期毎に繰り返し実行される。
この一連の処理では、まず、液位センサ27により検出される液位LFを読み込み(ステップS301)、次に、この読み込んだ液位LFから前回の制御周期において読み込んだ液位LFを減じた値である液位変化量ΔLFが所定量ΔLFth(>0)以上であるか否かを判断する(ステップS302)。そして、その結果、液位変化量ΔLFが所定量ΔLFth以上である場合(ステップS302:「YES」)には、燃料タンク16に対して給油が行われたものとみなし、次に、給油判定フラグを「ON」にして(ステップS303)、この一連の処理を一旦終了する。
一方、液位変化量ΔLFが所定量ΔLFth未満である場合(ステップS302:「NO」)には、燃料タンク16に対して給油が行われていないものとみなし、上記ステップS303をスキップして、この一連の処理を一旦終了する。
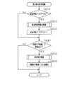
<混合割合推定制御>
次に、図6〜図8を参照して、混合割合推定制御について説明する。尚、図6は、混合割合推定制御の処理手順を示すフローチャートである。このフローチャートに示される一連の処理は、空燃比フィードバック制御の実行条件が成立しているときに、電子制御装置2により繰り返し実行される。また、図7は、給油判定時推定制御の処理手順を示すフローチャートである。このフローチャートに示される一連の処理は、図6のフローチャートにおいてステップS420の処理に移行した際に実行される。また、図7は、通常推定制御の処理手順を示すフローチャートである。このフローチャートに示される一連の処理は、図6のフローチャートにおいてステップS450の処理に移行した際に実行される。
図6に示すように、この一連の処理では、まず、給油判定フラグが「ON」となっているか否かを判断する(ステップS410)。ここで、給油判定フラグが「ON」である場合(ステップS410:「YES」)には、給油にともない混合燃料に含まれるエタノール燃料の混合割合が変化した可能性が高いとして、次に、給油判定時推定制御を実行する(ステップS420)。
ここで、図7を参照して、給油判定時推定制御について説明する。
この一連の処理では、まず、希釈度合Dが所定度合Dth以上であるか否かを判断する(ステップS421)。ここで、希釈度合Dが所定度合Dth以上である場合(ステップS421:「YES」)には、次に、高負荷領域における空燃比フィードバック補正値FAFに基づいて混合燃料に含まれるエタノール燃料の混合割合ALCGを推定する。すなわち、エタノール燃料は、ガソリン燃料に比べて燃焼を通じて得られる単位質量当たりの出力が小さい。このことから、空燃比フィードバック制御においては、例えば、混合燃料に含まれるエタノール燃料の混合割合が大きくなるほど、混合気の空燃比AFを目標空燃比TAFに一致させるべく、燃料噴射量を増量するべく、空燃比フィードバック補正値FAFが大きくされる。従って、空燃比フィードバック補正値FAFが大きいときほど上記混合割合ALCGを大きく推定するようにすればよい。
一方、希釈度合Dが所定度合Dth未満である場合(ステップS421:「NO」)には、次に、低負荷領域における空燃比フィードバック補正値FAFと高負荷領域における空燃比フィードバック補正値FAFとの双方に基づいて混合燃料に含まれるエタノール燃料の混合割合ALCGを推定する。ここで、空燃比フィードバック補正値FAFに基づく混合割合ALCGの推定態様は、上記ステップS422の処理におけるものと基本的には同じである。ただし、ここでは、低負荷領域の空燃比フィードバック補正値FAFに基づいて推定される混合割合と高負荷領域の空燃比フィードバック補正値FAFに基づいて推定される混合割合との平均値を混合割合ALCGとして推定する。
このように希釈度合Dが所定度合Dth以上である場合に、低負荷領域における空燃比フィードバック補正値FAFに基づく上記混合割合ALCGの推定を禁止する理由は以下の通りである。すなわち、希釈度合Dが大きいときほど、ブローバイガスに含まれる混合燃料成分が多くなる。また、機関負荷が低いときほど混合気に含まれるブローバイガスの割合が大きくなる。これらのことから、混合燃料に含まれるエタノール燃料の混合割合を、低負荷領域の空燃比フィードバック補正値FAFに基づいて推定すると、その推定精度が低いものとなるおそれがあるためである。
こうして混合割合ALCGが推定されると(ステップS422,S423)、この一連の処理を終了する。
先の図6に示すように、給油判定時推定制御を通じて上記混合割合ALCGが推定されると(ステップS420)、次に、給油判定フラグを「OFF」にする(ステップS340)。
上記ステップS410の判断処理において否定判断すると、または上記ステップS430の処理において給油判定フラグを「OFF」にすると、次に、空燃比学習値FGの更新が行われたか否かを判断する(ステップS440)。ここでは、低負荷領域の空燃比学習値FG及び高負荷領域の空燃比学習値FGが共に完了しているか否かを判断する。ここで、空燃比学習値FGの更新が行われていない場合(ステップS440:「NO」)には、空燃比学習値FGに基づく上記混合割合ALCGの推定を行うことができないとして、この一連の処理を一旦終了する。
一方、空燃比学習値FGの更新が行われている場合(ステップS440:「YES」)には、次に、通常推定制御を実行する(ステップS420)。
ここで、図8を参照して、通常推定制御について説明する。
この一連の処理においてもまずは、希釈度合Dが所定度合Dth以上であるか否かを判断する(ステップS451)。ここで、希釈度合Dが所定度合Dth以上である場合(ステップS451:「YES」)には、次に、高負荷領域における空燃比学習値FGに基づいて混合燃料に含まれるエタノール燃料の混合割合ALCGを推定する。すなわち、混合燃料に含まれるエタノール燃料の混合割合が大きくなるほど、混合気の空燃比AFが目標空燃比TAFに対してリーン側に定常的に乖離する傾向があることから、この定常的な乖離傾向を打ち消すように空燃比学習値FGがより大きな値に更新される。従って、直前に更新された空燃比学習値FGが、所定期間における空燃比学習値FGの平均値FGAVEに対して大きい側に乖離している場合には、その乖離度合が大きいときほど上記混合割合ALCGを大きく推定するようにすればよい。また、直前に更新された空燃比学習値FGが、所定期間における空燃比学習値FGの平均値FGAVEに対して小さい側に乖離している場合には、その乖離度合が大きいときほど上記混合割合ALCGを小さく推定するようにすればよい。
一方、希釈度合Dが所定度合Dth未満である場合(ステップS451:「NO」)には、次に、低負荷領域における空燃比学習値FGと高負荷領域における空燃比学習値FGとの双方に基づいて混合燃料に含まれるエタノール燃料の混合割合ALCGを推定する。ここで、空燃比学習値FGに基づく混合割合ALCGの推定態様は、上記ステップS452の処理におけるものと基本的には同じである。ただし、ここでは、低負荷領域における空燃比学習値FGに基づいて推定される混合割合と、高負荷領域における空燃比学習値FGに基づいて推定される混合割合との平均値を混合割合ALCGとして推定する。
このように希釈度合Dが所定度合Dth以上である場合に、低負荷領域における空燃比学習値FGに基づく上記混合割合ALCGの推定を禁止する理由は以下の通りである。すなわち、希釈度合Dが大きいときほど、ブローバイガスに含まれる混合燃料成分が多くなる。また、機関負荷が低いときほど混合気に含まれるブローバイガスの割合が大きくなる。これらのことから、混合燃料に含まれるエタノール燃料の混合割合を、低負荷領域の空燃比学習値FGに基づいて推定すると、その推定精度が低いものとなるおそれがあるためである。
こうして混合割合ALCGが推定されると(ステップS452,S453)、この一連の処理を終了する。
先の図6に示すように、通常推定制御を通じて上記混合割合ALCGが推定されると(ステップS450)、次に、空燃比学習値FGを初期化して(ステップS460)、この一連の処理を一旦終了する。ここで、空燃比学習値FGの初期化とは、空燃比学習値FGを上記混合割合ALCGの反映されていない初期の値に設定することを意味する。
ところで、こうしたエンジン1の燃料噴射装置において、推定されるエタノール燃料の混合割合ALCGに基づいて機関始動時における燃料噴射弁15の開弁期間TAUST、すなわち燃料噴射量を算出することが考えられるが、この場合には、以下の問題が生じることとなる。すなわち、例えば給油が行われることによってエタノール燃料の混合割合が変化した場合、上述したような空燃比学習値FGの更新が行われたとしても、この空燃比学習値FGに基づくエタノール燃料の混合割合ALCGの推定が完了する前に機関運転が停止されることがある。この場合、エタノール燃料の混合割合の変化は空燃比学習値FGに反映されるものの、それまでに推定されたエタノール燃料の混合割合ALCGには反映されていないため、次回の機関始動時には燃料噴射弁15の開弁期間TAUSTを好適に算出することができず、機関始動性が悪化するといった問題が生じることとなる。
そこで、本実施形態では、空燃比学習値FGと、推定される混合割合ALCGとの双方に基づいて機関始動時における燃料噴射弁15の開弁期間TAUSTを算出するようにしている。具体的には、冷却水温THWに基づいて燃料噴射弁15の基本開弁期間TAUSTBを算出するとともに、空燃比学習値FGと、推定される混合割合ALCGとの双方に基づいて基本開弁期間TAUSTBを補正するようにしている。
このように空燃比学習値FGと、推定される混合割合ALCGとの双方に基づいて機関始動時の燃料噴射弁15の開弁期間TAUSTBを算出する理由は以下の通りである。すなわち、混合燃料に含まれるエタノール燃料の混合割合が変化すると、混合気の実空燃比AFが目標空燃比TAFに一致するようにこれら実空燃比AFと目標空燃比との乖離傾向に基づいて空燃比フィードバック補正値FAFが算出される。このとき、実空燃比AFと目標空燃比TAFとの間に生じる定常的な乖離傾向は上記混合割合に応じて変化することとなる。このため、こうした定常的な乖離傾向に基づいて更新された空燃比学習値FGには、上記混合割合の情報が反映されることとなる。従って、上記混合割合ALCGの推定が完了する前に機関運転が停止された場合であっても、空燃比学習値FGの更新が完了している場合には、上記混合割合の情報が空燃比学習値FGに反映されていることになる。このことから、空燃比学習値FGと、推定される混合割合ALCGとの双方に基づいて機関始動時の燃料噴射弁15の開弁期間TAUSTBを算出するようにすれば、直前の機関運転時において、上記混合割合ALCGの推定が完了する前に機関運転が停止された場合であれ、機関始動時の燃料噴射量(燃料噴射弁15の開弁期間TAUST)に対して上記混合割合の情報を反映させることができる。
<機関始動時燃料噴射制御>
次に、機関始動時における燃料噴射制御について、図9に示すフローチャートを参照してその詳細を説明する。尚、同図は、機関始動時燃料噴射制御の処理手順を示すフローチャートである。このフローチャートに示される一連の処理は、機関始動時において、電子制御装置2により所定の制御周期毎に繰り返し実行される。
この一連の処理では、まず、冷却水温THWと基本開弁期間TAUSTBとの関係を規定したマップに基づいて燃料噴射弁15の基本開弁期間TAUSTBを算出する(ステップS501)。そして、次に、以下の演算式(2)に従って最終的な開弁期間TAUSTを算出する(ステップS502)。

TAUST ← TAUSTB × FG × ALCG … (2)

上記演算式(2)において、「FG」、「ALCG」は、先に詳述した空燃比学習値FG及び混合燃料に含まれるエタノールの混合割合ALCGである。すなわち、空燃比学習値FGと、推定される混合割合ALCGとの積に基づいて機関始動時の燃料噴射弁15の開弁期間TAUSTが算出される。
このようにして開弁期間TAUSTを設定すると(ステップS502)、次に、同開弁期間TAUSTにより燃料噴射弁15を操作して(ステップS503)、この一連の処理を一旦終了する。これにより、開弁期間TAUSTに対応する量の燃料が燃料噴射弁15から噴射される。
以上説明した本実施形態にかかる内燃機関の燃料噴射装置によれば、以下に示す作用効果が得られるようになる。
(1)エンジン1の燃料噴射装置は、ガソリン燃料とエタノール燃料とが混合された混合燃料を噴射する燃料噴射弁15と、燃料噴射弁15の開弁期間TAU,TAUSTを算出する電子制御装置2とを備えることとした。電子制御装置2は、該開弁期間TAU,TAUSTに応じて燃料噴射弁15を制御することとした。また、空燃比センサ23により検出される混合気の実空燃比AFが機関運転状態に基づいて設定されるエンジン1の目標空燃比TAFに一致するようにこれら実空燃比AFと目標空燃比TAFとの乖離傾向に基づいて燃料噴射弁15の開弁期間TAUの空燃比フィードバック補正値FAFを算出することとした。また、混合気の実空燃比AFとエンジン1の目標空燃比TAFとの定常的な乖離を打ち消すように同乖離傾向に基づいて開弁期間TAUの空燃比学習値FGを更新することとした。また、空燃比学習値FGに基づいて混合燃料に含まれるエタノール燃料の混合割合ALCGを推定するとともに、上記混合割合ALCGが推定されたときには、空燃比学習値FGを初期化することとした。そして、空燃比学習値FGと、推定される混合割合ALCGとの双方に基づいて機関始動時の燃料噴射弁15の開弁期間TAUSTを算出することとした。これにより、直前の機関運転時において、上記混合割合ALCGの推定が完了する前に機関運転が停止された場合であれ、機関始動時の燃料噴射量に対して上記混合割合ALCGの情報を反映させることができる。従って、上記混合割合ALCGの推定が完了する前に機関運転が停止された場合であれ、次回の機関始動時に機関始動性が悪化することを抑制することができるようになる。
尚、空燃比学習値FGと、推定される混合割合ALCGとの双方に基づいて燃料噴射弁15の開弁期間TAUSTを算出する上記構成にあっては、上記混合割合の情報が、これら空燃比学習値FGと混合割合の推定値ALCGとの双方に重複して含まれることに起因して機関始動時の開弁期間TAUSTが適切に算出されないといった問題が生じるおそれがある。この点、上記構成では、上記混合割合ALCGが推定されたときには、空燃比学習値FGが初期化されるため、上記混合割合の情報が、これら空燃比学習値FGと混合割合の推定値ALCGとの双方に重複して含まれることはなく、またそれに起因して機関始動時の開弁期間TAUSTが適切に算出されないといった問題が生じることもない。
(2)電子制御装置2は、燃料タンク16に対して所定量以上の給油が行われることをもって当該給油が行われた旨判定することとした。また、給油が行われた旨判定されたときには、空燃比学習値FGの更新に先立ち、給油判定時推定制御を通じて、空燃比フィードバック補正値FAFに基づいて混合燃料に含まれるエタノール燃料の混合割合ALCGを推定することとした。これにより、所定量以上の給油が行われたとき、すなわち混合燃料の混合割合ALCGが変化した可能性の高いときには、空燃比学習値FGの更新が完了する前に混合燃料の混合割合ALCGを推定することができるようになる。従って、混合燃料の混合割合ALCGが変化した可能性の高いときには、上記ACLG混合割合を早期に推定することができるようになる。
一方、例えば燃料タンク16に貯留されている混合燃料の量が少ないときに、所定量未満の給油ではあるものの、燃料タンク16に貯留されている混合燃料とは混合割合の大きく異なる燃料の給油が行われると、混合燃料に含まれるエタノール燃料の混合割合が大きく変化することとなる。しかし、燃料タンク16に対して所定量未満の給油が行われたときには当該給油が行われた旨判定されないことから、上記給油判定時推定制御を通じての上記混合割合ALCGの推定を行うことができない。更に、その後において、通常推定制御を通じての上記混合割合ALCGの推定が完了する前に機関運転が停止されると、次回の機関始動時には燃料噴射弁15の開弁期間TAUSTを好適に算出することができず、機関始動性が悪化するといった問題が生じることが考えられる。これに対して、本実施形態のエンジン1の燃料噴射装置によれば、給油判定時推定制御を通じての上記混合割合ALCGの推定が行われない場合であれ、次回の機関始動時に機関始動性が悪化することを抑制することができるようになる。
(3)電子制御装置2は、空燃比学習値FGと、推定される混合割合ALCGとの積に基づいて機関始動時の燃料噴射弁15の開弁期間TAUSTを算出することとした。これにより、上記空燃比学習値FGと、推定される混合割合ALCGとの双方に基づいて機関始動時の燃料噴射弁15の開弁期間TAUSTを算出する構成を簡易なものとすることができる。
(4)電子制御装置2は、複数の機関負荷領域(低負荷領域、高負荷領域)毎に空燃比学習値FGを更新するものであり、更新される空燃比学習値FGのうち低負荷領域の空燃比学習値FGに基づいて機関始動時の燃料噴射弁15の開弁期間TAUSTを算出することとした。これにより、更新される空燃比学習値FGのうち、機関始動時に対応する低負荷領域の空燃比学習値FGに基づいて機関始動時の燃料噴射弁15の開弁期間TAUSTが算出されるため、次回の機関始動時に機関始動性が悪化することを的確に抑制することができるようになる。
(5)エンジンは吸気通路11にブローバイガスを導入する導入通路18及びPCVバルブ19を備えることとした。また、電子制御装置2は、混合燃料によるエンジンのオイルの希釈度合Dを推定することとした。また、推定されるオイルの希釈度合Dが所定度合Dth以上であるときには、機関負荷領域毎に更新された空燃比学習値FGのうち低負荷領域の空燃比学習値FGに基づいての混合燃料に含まれるエタノール燃料の混合割合ALCGの推定を禁止することとした。これにより、ブローバイガスの導入に起因して上記混合割合ALCGの推定精度が低くなる可能性の高いときには、高負荷領域の空燃比学習値FGに基づいて上記混合割合ALCGの推定が行われるようになる。従って、上記混合割合ALCGの推定精度が低下することを抑制することができるようになる。
一方、機関負荷領域毎の空燃比学習値FGが更新され、高負荷領域における空燃比学習値FGに基づいて上記混合割合ALCGを推定する構成にあっては、同混合割合ALCGの推定が完了するまでに多くの時間を要することとなる。このため、上記混合割合ALCGの推定が完了する前に機関運転が停止されるといった状況が生じやすくなる。しかし、本実施形態によれば、上記混合割合ALCGの推定精度が低下することを抑制しつつも、次回の機関始動時に機関始動性が悪化することを抑制することができるようになる。
(6)エンジンは吸気通路11にブローバイガスを導入する導入通路18及びPCVバルブ19を備えることとした。また、電子制御装置2は、混合燃料によるエンジンのオイルの希釈度合Dを推定することとした。また、推定されるオイルの希釈度合Dが所定度合Dth未満であるときには、機関負荷領域毎に更新された全ての空燃比学習値FGに基づいて混合燃料に含まれるエタノール燃料の混合割合ALCGを推定することとした。これにより、ブローバイガスの導入に起因して上記混合割合ALCGの推定精度が低くなる可能性の低いときには、機関負荷領域毎に更新された全ての空燃比学習値FGに基づいて上記混合割合ALCGが推定されるようになる。従って、上記混合割合ALCGにおける機関負荷領域毎の誤差の影響を小さくすることができ、上記混合割合ALCGをより精度よく推定することができるようになる。
一方、機関負荷領域毎の空燃比学習値FGが更新され、これら機関負荷領域毎の全ての空燃比学習値FGに基づいて混合燃料に含まれるエタノール燃料の混合割合ALCGを推定する構成にあっては、同混合割合ALCGの推定が完了するまでに多くの時間を要することとなる。このため、上記混合割合ALCGの推定が完了する前に機関運転が停止されるといった状況が生じやすくなる。しかし、本実施形態によれば、上記混合割合ALCGをより精度よく推定しつつも、次回の機関始動時に機関始動性が悪化することを抑制することができるようになる。
(7)電子制御装置2は、更新された空燃比学習値FGの所定期間での平均値FGAVEに基づいて混合燃料に含まれるエタノール燃料の混合割合ALCGを推定することとした。これにより、更新された空燃比学習値FGの誤差の影響を小さくすることができ、上記混合割合ALCGをより精度よく推定することができるようになる。
尚、本発明にかかる内燃機関の燃料噴射装置は、上記実施形態にて例示した構成に限定されるものではなく、これを適宜変更した例えば次のような形態として実施することもできる。
・上記実施形態では、燃料噴射弁15から吸気通路11に燃料を噴射する、いわゆるポート噴射式の内燃機関について例示したが、本発明にかかる内燃機関はこれに限られるものではなく、燃料噴射弁から燃焼室12に燃料を直接噴射する、いわゆる直接噴射式の内燃機関であってもよい。また、吸気通路11に燃料を噴射する燃料噴射弁に加え、燃焼室12に燃料を直接噴射する燃料噴射弁を備える、いわゆるデュアルインジェクション式の内燃機関であってもよい。
・上記実施形態では、液位センサ27の検出信号、すなわち燃料タンク16内の混合燃料の液面の位置である液位LFに基づいて給油判定を行うようにしているが、給油判定制御の態様はこれに限られるものではない。他に例えば燃料タンク16内の燃料の質量を検出する質量センサを設け、同質量センサの検出信号に基づいて燃料タンク16に対して所定量以上の給油が行われることをもって当該給油が行われた旨判定を行うようにしてもよい。
・上記実施形態では、ガソリン燃料とエタノール燃料とが混合された混合燃料を噴射する燃料噴射装置について例示したが、本発明にかかる混合燃料はこれに限られるものではなく、エタノール燃料に代えて他のアルコール燃料が混合された混合燃料を採用することもできる。また、アルコール燃料以外の燃料や、ガソリン燃料以外の燃料が混合された混合燃料を採用することもできる。
・上記実施形態では、2つの燃料が混合された混合燃料について例示したが、本発明にかかる混合燃料は2つの燃料が混合されたものに限られるものではなく、3つ以上の燃料が混合された混合燃料を採用することもできる。
・上記実施形態によるように、推定されるオイルの希釈度合Dが所定度合Dth未満であるときに、機関負荷領域毎に更新された全ての空燃比学習値FGに基づいて混合燃料に含まれる複数の燃料の混合割合を推定することが、上記混合割合における機関負荷領域毎の誤差の影響を小さくして、上記混合割合をより精度よく推定する上では望ましい。しかし、これに代えて、例えば高負荷領域等の特定の機関負荷領域における空燃比学習値FGのみに基づいて上記混合割合を推定するようにしてもよい。この場合であっても、上記混合割合をある程度精度よく推定することはできる。
・上記実施形態では、推定されるオイルの希釈度合Dが所定度合Dth以上であるときに、機関負荷領域毎に更新された空燃比学習値FGのうち低負荷領域の空燃比学習値FGに基づく上記混合割合の推定を禁止することが、ブローバイガスの導入に起因して上記混合割合の推定精度が低下することを抑制する上では望ましい。しかし、ブローバイガスの導入に起因しての上記混合割合の推定精度の低下が問題とはならない場合には、低負荷領域の空燃比学習値FGに基づく上記混合割合の推定を禁止しないようにしてもよい。すなわち、低負荷領域の空燃比学習値FGに基づいて上記混合割合を推定するようにしてもよい。
・上記実施形態によるように、給油判定時推定制御を通じて、空燃比フィードバック補正値FAFに基づき上記混合割合の推定を行うようにすることが、混合燃料の混合割合の推定を早期に行う上では望ましい。しかし、こうした給油判定時推定制御は本発明に必須の構成ではなく、同給油判定時推定制御を割愛することもできる。
・上記実施形態では、冷却水温THWに基づいて燃料噴射弁15の基本開弁期間TAUSTBを算出し、空燃比学習値FGと混合割合の推定値との積を同基本開弁期間TAUSTBに乗じることにより、同基本開弁期間TAUSTBを補正して最終的な開弁期間TAUSTを算出するようにしている。しかし、本発明にかかる噴射量算出手段による開弁期間TAUSTの算出態様はこれに限られるものではなく、他に例えば、空燃比学習値FG及び混合割合の推定値と、最終的な開弁期間TAUとの関係を規定したマップ等に基づいて開弁期間TAUSTを直接算出するようにしてもよい。要するに、空燃比学習値FGと、推定される混合割合との双方に基づいて機関始動時の燃料噴射量を算出するものであればよい。
本発明にかかる内燃機関の燃料噴射装置の一実施形態について、エンジン及びこれを制御する電子制御装置の概略構成を示す模式図。 同実施形態における機関始動後燃料噴射制御の処理手順を示すフローチャート。 同実施形態における空燃比フィードバック制御の処理手順を示すフローチャート。 空燃比センサの出力特性を示すグラフ。 同実施形態における給油判定制御の処理手順を示すフローチャート。 同実施形態における混合割合推定制御の処理手順を示すフローチャート。 同実施形態における給油判定時推定制御の処理手順を示すフローチャート。 同実施形態における通常推定制御の処理手順を示すフローチャート。 同実施形態における機関始動時燃料噴射制御の処理手順を示すフローチャート。
符号の説明
1…エンジン、2…電子制御装置(噴射量算出手段、設定手段、空燃比補正値算出手段、更新手段、推定手段、初期化手段、給油判定時推定手段、判定手段、希釈度合推定手段)、11…吸気通路、12…燃焼室、13…排気通路、14…スロットルバルブ、15…燃料噴射弁、16…燃料タンク(貯留部)、16a…給油口、17…供給通路、18…導入通路(導入手段)、19…PCVバルブ(導入手段)、21…吸気量センサ、22…スロットル開度センサ、23…空燃比センサ(検出手段)、24…機関回転速度センサ、25…アクセル開度センサ、26…水温センサ、27…液位センサ。

Claims (7)

  1. 複数の燃料が混合された混合燃料を噴射する燃料噴射弁と、燃料噴射量を算出する噴射量算出手段とを備え、前記噴射量算出手段により算出される燃料噴射量に応じて前記燃料噴射弁を制御する内燃機関の燃料噴射装置であって、
    内燃機関の実空燃比を検出する検出手段と、
    機関運転状態に基づいて内燃機関の目標空燃比を設定する設定手段と、
    前記検出手段により検出される実空燃比が前記設定手段により設定される目標空燃比に一致するようにこれら実空燃比と目標空燃比との乖離傾向に基づいて前記燃料噴射量の空燃比補正値を算出する補正値算出手段と、
    前記検出手段により検出される実空燃比と前記設定手段により設定される目標空燃比との定常的な乖離を打ち消すように同乖離傾向に基づいて前記燃料噴射量の空燃比学習値を更新する更新手段と、
    前記更新手段により更新された前記空燃比学習値に基づいて前記混合燃料に含まれる複数の燃料の混合割合を推定する推定手段と、
    前記推定手段により前記混合割合が推定されたときには、同更新手段による前記空燃比学習値を初期化する初期化手段とを備え、
    前記噴射量算出手段は、前記更新手段により更新される前記空燃比学習値と、前記推定手段により推定される前記混合割合との双方に基づいて機関始動時の燃料噴射量を算出する
    ことを特徴とする内燃機関の燃料噴射装置。
  2. 請求項1に記載の内燃機関の燃料噴射装置において、
    前記混合燃料を貯留する貯留部に対して所定量以上の給油が行われることをもって当該給油が行われた旨判定する判定手段と、
    前記判定手段により給油が行われた旨判定されたときには、前記更新手段による前記空燃比学習値の更新に先立ち、前記補正値算出手段により算出される空燃比補正値に基づいて前記混合燃料に含まれる複数の燃料の混合割合を推定する給油判定時推定手段とを更に備える
    ことを特徴とする内燃機関の燃料噴射装置。
  3. 請求項1または請求項2に記載の内燃機関の燃料噴射装置において、
    前記噴射量算出手段は、前記更新手段により更新される前記空燃比学習値と、前記推定手段により推定される前記混合割合との積に基づいて機関始動時の燃料噴射量を算出する
    ことを特徴とする内燃機関の燃料噴射装置。
  4. 請求項1〜請求項3のいずれか一項に記載の内燃機関の燃料噴射装置において、
    前記更新手段は、複数の機関負荷領域毎に前記空燃比学習値を更新するものであり、
    前記噴射量算出手段は、前記更新手段により更新される前記空燃比学習値のうち低負荷領域の空燃比学習値に基づいて機関始動時の燃料噴射量を算出する
    ことを特徴とする内燃機関の燃料噴射装置。
  5. 請求項4に記載の内燃機関の燃料噴射装置において、
    内燃機関は吸気通路にブローバイガスを導入する導入手段を備えるものであり、
    前記混合燃料による内燃機関の潤滑油の希釈度合を推定する希釈度合推定手段を備え、
    前記推定手段は、前記希釈度合推定手段により推定される前記潤滑油の希釈度合が所定度合以上であるときには、前記更新手段により機関負荷領域毎に更新された空燃比学習値のうち低負荷領域の空燃比学習値に基づいての前記混合燃料に含まれる複数の燃料の混合割合の推定を禁止する
    ことを特徴とする内燃機関の燃料噴射装置。
  6. 請求項4または請求項5に記載の内燃機関の燃料噴射装置において、
    内燃機関は吸気通路にブローバイガスを導入する導入手段を備えるものであり、
    前記混合燃料による内燃機関の潤滑油の希釈度合を推定する希釈度合推定手段を備え、
    前記推定手段は、前記希釈度合推定手段により推定される前記潤滑油の希釈度合が所定度合未満であるときには、前記更新手段により機関負荷領域毎に更新された全ての空燃比学習値に基づいて前記混合燃料に含まれる複数の燃料の混合割合を推定する
    ことを特徴とする内燃機関の燃料噴射装置。
  7. 請求項1〜請求項6のいずれか一項に記載の内燃機関の燃料噴射装置において、
    前記推定手段は、前記更新手段により更新された空燃比学習値の所定期間での平均値に基づいて前記混合燃料に含まれる複数の燃料の混合割合を推定する
    ことを特徴とする内燃機関の燃料噴射装置。
JP2008159188A 2008-06-18 2008-06-18 内燃機関の燃料噴射装置 Active JP4872970B2 (ja)

Priority Applications (1)

Application Number Priority Date Filing Date Title
JP2008159188A JP4872970B2 (ja) 2008-06-18 2008-06-18 内燃機関の燃料噴射装置

Applications Claiming Priority (1)

Application Number Priority Date Filing Date Title
JP2008159188A JP4872970B2 (ja) 2008-06-18 2008-06-18 内燃機関の燃料噴射装置

Publications (2)

Publication Number Publication Date
JP2010001752A true JP2010001752A (ja) 2010-01-07
JP4872970B2 JP4872970B2 (ja) 2012-02-08

Family

ID=41583676

Family Applications (1)

Application Number Title Priority Date Filing Date
JP2008159188A Active JP4872970B2 (ja) 2008-06-18 2008-06-18 内燃機関の燃料噴射装置

Country Status (1)

Country Link
JP (1) JP4872970B2 (ja)

Cited By (4)

* Cited by examiner, † Cited by third party
Publication number Priority date Publication date Assignee Title
JP2012202209A (ja) * 2011-03-23 2012-10-22 Toyota Motor Corp 内燃機関の空燃比制御装置
WO2013038251A1 (en) 2011-09-12 2013-03-21 Toyota Jidosha Kabushiki Kaisha Cooling fan control apparatus and cooling fan control method for radiator
WO2014006761A1 (ja) * 2012-07-06 2014-01-09 トヨタ自動車株式会社 内燃機関の制御装置
JP7639741B2 (ja) 2022-03-14 2025-03-05 三菱自動車工業株式会社 内燃機関の制御システム

Citations (3)

* Cited by examiner, † Cited by third party
Publication number Priority date Publication date Assignee Title
JPH03210048A (ja) * 1990-01-10 1991-09-13 Mitsubishi Motors Corp 多種燃料内燃エンジンの燃料混合比率検出方法
JPH11241642A (ja) * 1998-02-25 1999-09-07 Honda Motor Co Ltd 内燃機関の燃料性状検出装置及び燃料噴射量制御装置
JP2007321714A (ja) * 2006-06-05 2007-12-13 Toyota Motor Corp 内燃機関の燃料供給装置

Patent Citations (3)

* Cited by examiner, † Cited by third party
Publication number Priority date Publication date Assignee Title
JPH03210048A (ja) * 1990-01-10 1991-09-13 Mitsubishi Motors Corp 多種燃料内燃エンジンの燃料混合比率検出方法
JPH11241642A (ja) * 1998-02-25 1999-09-07 Honda Motor Co Ltd 内燃機関の燃料性状検出装置及び燃料噴射量制御装置
JP2007321714A (ja) * 2006-06-05 2007-12-13 Toyota Motor Corp 内燃機関の燃料供給装置

Cited By (5)

* Cited by examiner, † Cited by third party
Publication number Priority date Publication date Assignee Title
JP2012202209A (ja) * 2011-03-23 2012-10-22 Toyota Motor Corp 内燃機関の空燃比制御装置
WO2013038251A1 (en) 2011-09-12 2013-03-21 Toyota Jidosha Kabushiki Kaisha Cooling fan control apparatus and cooling fan control method for radiator
WO2014006761A1 (ja) * 2012-07-06 2014-01-09 トヨタ自動車株式会社 内燃機関の制御装置
JP5907265B2 (ja) * 2012-07-06 2016-04-26 トヨタ自動車株式会社 内燃機関の制御装置
JP7639741B2 (ja) 2022-03-14 2025-03-05 三菱自動車工業株式会社 内燃機関の制御システム

Also Published As

Publication number Publication date
JP4872970B2 (ja) 2012-02-08

Similar Documents

Publication Publication Date Title
JP4466746B2 (ja) ブローバイガス還元装置の異常診断装置
JP4672048B2 (ja) 内燃機関制御装置
US8161952B2 (en) Electronically controlled blow-by gas returning apparatus for internal combustion engine
JP4717125B2 (ja) 内燃機関の制御装置
JP2009156054A (ja) 燃料中のアルコール成分量の推定装置
JP2008051063A (ja) 内燃機関の制御装置
JP2008267355A (ja) フレックス燃料機関の燃料供給制御装置
CN101725422A (zh) 多种燃料发动机的燃料喷射控制装置
JP4872970B2 (ja) 内燃機関の燃料噴射装置
JP4617876B2 (ja) 筒内噴射式内燃機関の燃料噴射制御装置
JP6544366B2 (ja) 燃料噴射量制御装置
JP5126113B2 (ja) 空燃比制御装置
JP2006183570A (ja) 内燃機関の空燃比制御装置
US7469685B2 (en) Control apparatus for internal combustion engine
JP3903925B2 (ja) 内燃機関の燃料性状推定装置
JP4605293B2 (ja) フレックス燃料機関の燃料供給制御装置
JPH10196436A (ja) エンジンの空燃比制御装置
JP5056640B2 (ja) エンジンの燃料供給システム
JP5206725B2 (ja) 内燃機関の燃料噴射制御装置
JP2009293404A (ja) 内燃機関の制御装置
JP2004285972A (ja) 内燃機関の制御装置
JP2004092529A (ja) 内燃機関の制御装置
JP4010256B2 (ja) 内燃機関の制御装置
JP2010048236A (ja) フレックス燃料機関の制御装置
JP2009275522A (ja) 内燃機関の燃料噴射制御装置

Legal Events

Date Code Title Description
A621 Written request for application examination

Free format text: JAPANESE INTERMEDIATE CODE: A621

Effective date: 20100723

A977 Report on retrieval

Free format text: JAPANESE INTERMEDIATE CODE: A971007

Effective date: 20110729

A131 Notification of reasons for refusal

Free format text: JAPANESE INTERMEDIATE CODE: A131

Effective date: 20110809

A521 Request for written amendment filed

Free format text: JAPANESE INTERMEDIATE CODE: A523

Effective date: 20110921

TRDD Decision of grant or rejection written
A01 Written decision to grant a patent or to grant a registration (utility model)

Free format text: JAPANESE INTERMEDIATE CODE: A01

Effective date: 20111025

A01 Written decision to grant a patent or to grant a registration (utility model)

Free format text: JAPANESE INTERMEDIATE CODE: A01

A61 First payment of annual fees (during grant procedure)

Free format text: JAPANESE INTERMEDIATE CODE: A61

Effective date: 20111107

FPAY Renewal fee payment (event date is renewal date of database)

Free format text: PAYMENT UNTIL: 20141202

Year of fee payment: 3

R151 Written notification of patent or utility model registration

Ref document number: 4872970

Country of ref document: JP

Free format text: JAPANESE INTERMEDIATE CODE: R151

FPAY Renewal fee payment (event date is renewal date of database)

Free format text: PAYMENT UNTIL: 20141202

Year of fee payment: 3