JP2010001072A - レベルワウンドコイルの積載保持体及びレベルワウンドコイルの梱包体並びにレベルワウンドコイル積載保持体用緩衝シート - Google Patents

レベルワウンドコイルの積載保持体及びレベルワウンドコイルの梱包体並びにレベルワウンドコイル積載保持体用緩衝シート Download PDF

Info

Publication number
JP2010001072A
JP2010001072A JP2009097740A JP2009097740A JP2010001072A JP 2010001072 A JP2010001072 A JP 2010001072A JP 2009097740 A JP2009097740 A JP 2009097740A JP 2009097740 A JP2009097740 A JP 2009097740A JP 2010001072 A JP2010001072 A JP 2010001072A
Authority
JP
Japan
Prior art keywords
coil
level
support plate
wound coil
lwc
Prior art date
Legal status (The legal status is an assumption and is not a legal conclusion. Google has not performed a legal analysis and makes no representation as to the accuracy of the status listed.)
Granted
Application number
JP2009097740A
Other languages
English (en)
Other versions
JP5155240B2 (ja
Inventor
Tomohiro Anraku
知宏 安樂
Current Assignee (The listed assignees may be inaccurate. Google has not performed a legal analysis and makes no representation or warranty as to the accuracy of the list.)
Sumitomo Light Metal Industries Ltd
Original Assignee
Sumitomo Light Metal Industries Ltd
Priority date (The priority date is an assumption and is not a legal conclusion. Google has not performed a legal analysis and makes no representation as to the accuracy of the date listed.)
Filing date
Publication date
Application filed by Sumitomo Light Metal Industries Ltd filed Critical Sumitomo Light Metal Industries Ltd
Priority to JP2009097740A priority Critical patent/JP5155240B2/ja
Publication of JP2010001072A publication Critical patent/JP2010001072A/ja
Application granted granted Critical
Publication of JP5155240B2 publication Critical patent/JP5155240B2/ja
Active legal-status Critical Current
Anticipated expiration legal-status Critical

Links

Images

Landscapes

  • Packages (AREA)
  • Packaging Of Annular Or Rod-Shaped Articles, Wearing Apparel, Cassettes, Or The Like (AREA)
  • Unwinding Of Filamentary Materials (AREA)
  • Buffer Packaging (AREA)

Abstract

【課題】レベルワウンドコイルからの管体の繰出しがトラブル無くスムーズに実施され得るレベルワウンドコイルの積載保持体を提供する。
【解決手段】レベルワウンドコイルと支持プレート20との間に介在せしめられる緩衝シート28を、該レベルワウンドコイルを形成する管体10との間の摺動抵抗が小さな低摩擦部32を有するように構成すると共に、かかる低摩擦部32を、支持プレート20上に配置されるベースシート38と、このベースシート38に互いに間隔を開けて突設された、先端部からなる接触部42において前記管体10に接触する、可撓性の多数の突起40とを含んで構成した。
【選択図】図10

Description

本発明は、レベルワウンドコイルの積載保持体とレベルワウンドコイルの梱包体とレベルワウンドコイル積載保持体用緩衝シートとに係り、特に、エアコン等の空調機用の伝熱管等に使用される銅又は銅合金管等のレベルワウンドコイルが、緩衝シートを介して、支持プレートに支持されてなるレベルワウンドコイルの積載保持体の改良された構造と、そのようなレベルワウンドコイル積載保持体の幾つかが梱包されたレベルワウンドコイルの梱包体と、かかるレベルワウンドコイル積載保持体が有する緩衝シートの新規な構造とに関するものである。
従来から、エアコン等の空調機器における平滑管や内面溝付き管等の伝熱管として、また建築用の給湯配管や給水配管等として、銅又は銅合金管(以下、銅管と総称する)等が用いられてきているが、それら銅管等は、その製造工程において、一般に、レベルワウンドコイル(Level Wound Coil:LWC)と称されるコイル状に巻き取られ、そして焼鈍によって所定の調質が施された後、梱包されて、エアコンメーカー等に搬送出荷され、更にエアコンメーカー等においては、それを解梱し、銅管等を巻き解いて、それぞれの用途に用いられ得るようになっている。
そこにおいて、かかるLWCは、例えば、図1に示されるように(なお、ここでは、図示の簡略化のために、管の断面を円で示している。以下同じ。)、銅管等の管体10をボビン12に整列巻きして、複数段(列)の形態において積層されるようにして、形成されることとなる。より具体的には、取り外し可能な内筒14と側板16とから構成されるボビン12を、その軸方向が水平方向又は垂直方向となるようにして、所定の回転装置に取り付け、回転駆動せしめる一方、ボビン12の内筒14の外周面に、先ず、ボビン軸方向の一端側の位置(図1において、左端の位置)を始端10aとして、反対側の端部に向かって(ここでは、右方向に)整列巻きして、円筒形状を呈する一層目のコイル層を形成する。そして、図において、右端まで管体10が来て、一層目の巻回が終了した後、今度は、右端から左端に向けて二層目のコイル層が巻回されるのであるが、その際、一層目のコイル層における隣接する管体10部分間に形成される凹所に嵌るようにして、二層目の管体10部分が、一層目のコイル層上に相互に接触するように且つ密に巻回されて、二層目のコイル層が形成され、更にその後、管体10が逆方向に整列巻きされて、三層目のコイル層が形成され、以下同様にして巻回して、複数層のコイル層を積層形成する、所謂トラバース巻きの手法によって、LWC18が、形成されることとなるのである。
一方、かくの如きLWC18から管体10を繰り出す(取り出す)方法として、近年、ETS(eye to the sky)方式と称されるコイルの巻き解き方法が提案され、注目を受けている。このETS方式は、LWC18からボビン12を取り外して、LWC18を支持プレートにて支持させた後、かかるLWC18の内周側から管体10を繰り出すことにより巻き解いて行く方法であるが、そのようなETS方式にて、例えば、図1において得られたLWC18を巻解する場合、図3の(a)に示される如く、一層目のコイル層から二層目のコイル層の管体10を繰り出すときに、最下部の管体10bが、それを支持する支持プレート20と、かかる管体10bの直上に位置する管体10cとの間に挟まれた状態となる。そして、それらの管体10b,10cを含むコイル層の自重に基づいて、直上の管体10cから及ぼされる押圧作用により、最下部の管体10bの支持プレート20に対する摺動抵抗が増大し、しかも、管体10が軟質で肉厚の薄い導管からなるために、管体10のキンク(折れ)等のトラブルを発生する問題を内在している。
このため、特開2002−370869号公報(特許文献1)等においては、図1に示されるLWC18の如く、各層(各列)におけるコイル(管体10)の巻き数:nを同数とすることなく、図2の(a)に示されるように、奇数層目のコイルの巻き数をnとしたときに、偶数層目のコイルの巻き数を(n−1)としたLWC22や、図2(b)に示される如く、奇数層目のコイルの巻き数をnとすると、偶数層目のコイルの巻き数を(n+1)としてなるLWC24を用いて、図2の(a)では、右側を下側に配置した状態で、また、図2の(b)では、左側を下側に配置した状態で、それぞれ矢印で示される方向に従って、管体10を繰り出すこと等が、提案されている。そして、それらのLWC22,24等を用いると、例えば、図3(b)に示されるように、一層目のコイルを繰り出した後、二層目のコイルを繰り出すとき(LWC22を用いた場合)、或いは二層目のコイルを繰り出した後、三層目のコイルを繰り出すとき(LWC24を用いた場合)に、それら二層目又は三層目の最下部に位置する管体10b(コイル)は、その下側の支持プレート20との間に、管径の1/2程度の大きさの空間が存在することとなるところから、その上方に位置するコイル(管体10c)からの押圧作用を受けることがなく、従って、抵抗なく繰り出すことが出来るところから、キンク等のトラブルの発生も、良好に解消され得ることとなるとされている。
ところが、図2の(a)、(b)に示されるLWC22,24にあっても、次のような問題が内在している。即ち、図4に示されるように、LWC22(24)では、ボビンの内筒(14)側となる内側のコイル層から、それに隣接する外側のコイル層に、管体10が巻回されるときに、内側コイル層の巻終端の管体部分11aと、外側コイル層の管体10,10間の凹所への嵌込み始端の管体部分11bとの間に、側板16と接触する内側コイル層の管体部分11cを乗り越えるのに、かかる管体部分11cとコイル軸直角方向に並んで配置される乗越え管体部分11dが、側板16と接触するように位置せしめられる。なお、図4については、乗越え管体部分11dの配置状態の理解を容易とするために、外側コイル層の一部が省略され、また、各段の管体10における乗越え管体部分11dの配置位置が、実際とは異なって、周方向の同一箇所に位置するように描かれていることが、理解されるべきである。
それ故、図4の縦断面を示す図5から明らかなように、LWC22(24)の内側から二層目以降のコイル層の全てに、乗越え管体部分11dが、管体10の1周分における周方向の一箇所に必ず存在する。そして、そのようなLWC22(24)を、ボビン12が取り外された状態で、支持プレートにて支持させた際には、乗越え管体部分11dと支持プレートとの間に、空間が出来ない場合がある。そのため、LWC22(24)をETS方式にて巻解する場合、管体10が最下部から繰り出されるコイル層から、かかるコイル層の最下部に位置する乗越え管体部分11dを繰り出すときに、乗越え管体部分11dが、それを支持する支持プレート20と、乗越え管体部分11dの直上に位置する管体10との間に挟まって、直上の管体10からの押圧作用により、支持プレート20に対する摺動抵抗が増大してしまうことがある。
従って、最下部に位置する管体10と支持プレート20との間に空間が存在するように巻回されてなるLWC22(24)にあっても、結局、管体10(乗越え管体部分11d)のキンク(折れ)等のトラブルを発生するといった恐れが、未だ存していたのである。
一方、図2の(a)、(b)に示されるLWC22,24を、その外周側から管体10を繰り出すことにより巻き解いて行く方法も考えられるが、その場合にあっても、乗越え管体部分11d等でのキンク等のトラブルの発生の危惧が、何等払拭されるものではなかったのである。
なお、かかる状況下、特開2006−290619号公報(特許文献2)には、レベルワウンドコイルの支持プレート(パレット)との接触による損傷等を防止するために、それらレベルワウンドコイルと支持プレートとの間に介在せしめられる緩衝シートのレベルワウンドコイル側の面に、窪みを設け、この窪みに対して、前記せる乗越え管体部分が位置せしめられたレベルワウンドコイルの積載保持体(公報には、レベルワウンドコイルのパレット載置体と称されている)が、開示されている。そして、このような構造を有する緩衝シートを用いれば、乗越え管体部分(11d)の直下に、窪みによる空間が形成されるため、そのような乗越え管体部分(11d)の繰り出し時において、かかる乗越え管体部分(11d)の直上に位置する管体(10)からの押圧作用による抵抗が軽減され、以て、キンク等のトラブルの発生防止が図られ得ることが、記載されている。
しかしながら、かくの如き窪みを備えた緩衝シートをレベルワウンドコイルと支持プレートとの間に介在せしめて、レベルワウンドコイルの積載保持体を形成した場合、レベルワウンドコイルの重量が極めて大きいものであるために、レベルワウンドコイルを形成する管体が、自重により、緩衝シートの窪みに対応した部分において撓み、それによって、レベルワウンドコイルからの繰出し前の管体において、曲がり等の部分的な変形が生ずる恐れがあったのである。
特開2002−370869号公報 特開2006−290619号公報
ここにおいて、本発明は、上述せる如き事情を背景にして為されたものであって、その解決課題とするところは、緩衝シートをレベルワウンドコイルと支持プレートとの間に介在せしめてなるレベルワウンドコイルの積載保持体において、レベルワウンドコイルからの管体の繰出し時におけるキンク等のトラブルの発生が防止され得るだけでなく、その繰出し前の状態での管体の変形も有利に解消され得るように改良された構造を提供することにある。また、本発明にあっては、そのようなレベルワウンドコイルの積載保持体の幾つかからなるレベルワウンドコイルの梱包体と、かかるレベルワウンドコイルの積載保持体に用いられる新規な構造の緩衝シートとを提供することをも、その解決課題とするところである。
そして、本発明にあっては、上記した課題、又は本明細書全体の記載や図面から把握される課題を解決するために、以下に列挙せる如き各種の態様において、好適に実施され得るものであるが、また、以下に記載の各態様は、任意の組み合わせにおいても、採用可能である。なお、本発明の態様乃至は技術的特徴は、以下に記載のものに何等限定されることなく、明細書全体の記載並びに図面に開示の発明思想に基づいて、認識され得るものであることが、理解されるべきである。
(1) 管体を整列巻きして形成されるコイル層の複数を、隣接する一方のコイル層の管体が他方のコイル層の管体間の凹所に嵌め込まれるようにして、積層してなるレベルワウンドコイルを、そのコイル軸方向が垂直となるように、支持プレート上に載置すると共に、緩衝シートを、該レベルワウンドコイルと該支持プレートとの間に介在せしめてなるレベルワウンドコイルの積載保持体であって、前記緩衝シートが、前記支持プレート上に配置されるベースシートと、該ベースシートの該支持プレート側とは反対側の面に、互いに間隔を開けて突出する、可撓性を有する多数の突起とを含んでなり、且つ該多数の突起のそれぞれの先端部からなる接触部において、前記レベルワウンドコイルの該支持プレート側の端面に接触するように構成された、該レベルワウンドコイルを形成する前記管体との間の摺動抵抗が小さな低摩擦部を有していることを特徴とするレベルワウンドコイルの積載保持体。
(2) 前記緩衝シートにおける前記低摩擦部の突起が、前記ベースシートに密に植設された、可撓性を有する硬質樹脂製の毛状突起である上記態様(1)に記載のレベルワウンドコイルの積載保持体。
(3) 前記緩衝シートにおける前記低摩擦部の突起が、その先端側に、前記レベルワウンドコイルのコイル軸方向と交差する方向に延出乃至は拡がる部分を有し、かかる先端側部分にて、前記接触部が構成されている上記態様(1)又は(2)に記載のレベルワウンドコイルの積載保持体。
(4) 前記レベルワウンドコイルの複数のコイル層のうち、該レベルワウンドコイルの外側層を形成する外側コイル層の前記支持プレート側の端面に接触する前記緩衝シートの外周部分に、前記低摩擦部が、該外側コイル層に沿って、周方向に連続して延びるように設けられている一方、該外側コイル層の支持プレート側の端面との接触部分を除く緩衝シート部分の全部に、前記管体との間の摺動抵抗が該低摩擦部よりも大きな高摩擦部が設けられている上記態様(1)乃至(3)のうちの何れか一つに記載のレベルワウンドコイルの積載保持体。
(5) 前記緩衝シートにおける前記外側コイル層の支持プレート側の端面と接触する外周部分に対して、前記低摩擦部が、該外周部分の全周に亘って、その周方向に連続して延びるように設けられている上記態様(4)に記載のレベルワウンドコイルの積載保持体。
(6) 前記緩衝シートにおける前記外側コイル層の支持プレート側の端面と接触する外周部分に対して、前記低摩擦部が、該外周部分の周方向の一部分のみに設けられ、そして、該外側コイル層の内側に隣接して位置する内側コイル層の巻終端の管体部分と、該外側コイル層の前記管体間の凹所への嵌込み始端の管体部分との間に位置して、該内側コイル層の最終巻目の管体を乗り越える管体部分であって、且つコイル軸方向と直角な方向に該管体と並んで配置される乗越え管体部分が、該低摩擦部に接触位置せしめられている上記態様(4)に記載のレベルワウンドコイルの積載保持体。
(7) 前記緩衝シートの前記高摩擦部が、シート状弾性体からなり、且つ前記外側コイル層の支持プレート側の端面との接触面が平坦面とされて、該高摩擦部の該端面との単位面積当たりの接触面積が、前記低摩擦部の該端面との単位面積当たりの接触面積よりも大きくされていることにより、前記管体との間の摺動抵抗が、該低摩擦部よりも該高摩擦部の方が大なる大きさとされている上記態様(4)乃至(6)のうちの何れか一つに記載のレベルワウンドコイルの積載保持体。
(8) 前記緩衝シートが前記レベルワウンドコイルと前記支持プレートとの間に介在せしめられた状態下での前記低摩擦部と前記高摩擦部のそれぞれの厚さが、実質的に同一の厚さとされている上記態様(4)乃至(7)のうちの何れか一つに記載のレベルワウンドコイルの積載保持体。
(9) 前記緩衝シートの前記支持プレート側の面に接着剤層が設けられて、該緩衝シートが、該接着剤層にて、該支持プレートに接着されている上記態様(1)乃至(8)のうちの何れか一つに記載のレベルワウンドコイルの積載保持体。
(10) 上記態様(1)乃至(9)のうちの何れか一つに記載のレベルワウンドコイル積載保持体の一つ若しくは複数を積み重ねてなり、且つその少なくともレベルワウンドコイル部分が包装されていることを特徴とするレベルワウンドコイルの梱包体。
(11) 最下部に位置する前記レベルワウンドコイル積載保持体の前記支持プレートとして、パレットが用いられていることを特徴とする上記態様(10)に記載のレベルワウンドコイルの梱包体。
(12) 管体を整列巻きして形成されるコイル層の複数を、隣接する一方のコイル層の管体が他方のコイル層の管体間の凹所に嵌め込まれるようにして、積層してなるレベルワウンドコイルを、そのコイル軸方向が垂直となるように、支持プレート上に載置してなる構造を有するレベルワウンドコイル積載保持体の該レベルワウンドコイルと該支持プレートとの間に介在せしめられるレベルワウンドコイル積載保持体用緩衝シートであって、前記支持プレート上に配置されるベースシートと、該ベースシートの該支持プレート側とは反対側の面に、互いに間隔を開けて突出する、可撓性を有する多数の突起とを含んでなり、且つ該多数の突起のそれぞれの先端部からなる接触部において、前記レベルワウンドコイルの該支持プレート側の端面に接触するように構成された、該レベルワウンドコイルを形成する前記管体との間の摺動抵抗が小さな低摩擦部を有していることを特徴とするレベルワウンドコイル積載保持体用緩衝シート。
すなわち、本発明に従うレベルワウンドコイルの積載保持体にあっては、レベルワウンドコイルと支持プレートとの間に介在せしめられる緩衝シートが低摩擦部を有しているところから、例えば、ETS方式で、レベルワウンドコイルから管体を繰り出す際に、所定のコイル層の最下部に位置して、緩衝シートの低摩擦部に接触する管体が、かかる低摩擦部に多数設けられた突起を撓ませつつ、低摩擦部上を極めてスムーズに摺動せしめられるようになる。そのため、そのような緩衝シートの低摩擦部に接触する管体が、たとえ、その直上に位置する管体からの押圧作用を受けていたとしても、かかる管体において、緩衝シートとの間の大きな摺動抵抗に起因したキンク等のトラブルが生ずることが、有利に回避乃至は軽減され得る。
それ故、本発明に係るレベルワウンドコイルの積載保持体では、直上に位置する管体からの押圧作用を受ける管体や、前記せる如き乗越え管体部分等と接触する緩衝シート部分が低摩擦部とされておれば、管体のキンク等のトラブルの発生が、極めて有効に防止され得る。
しかも、本発明のレベルワウンドコイルの積載保持体においては、緩衝シートの低摩擦部が、ベースシートと、それに突設された多数の突起とを含み、それら多数の突起の先端部からなる接触部において、レベルワウンドコイルの管体と接触して、それを支持するようになっている。それ故、緩衝シートに、レベルワウンドコイルの管体と接触しない窪みを設ける場合とは異なって、レベルワウンドコイルの管体が、緩衝シートとの非接触部分で撓んでしまうようなことが、有利に回避され得る。
従って、かくの如き本発明に従うレベルワウンドコイルの積載保持体にあっては、レベルワウンドコイルのコイルの巻き姿の如何に拘わらず、レベルワウンドコイルからの管体の繰出し時におけるキンク等のトラブルの発生が防止され得るだけでなく、その繰出し前の状態での管体の撓みによる部分的な変形も有利に解消され得る。そして、その結果として、レベルワウンドコイルから、全ての管体が、良好な品質をもって繰り出され得て、かかる管体の歩留まりが、極めて効果的に高められ得ることとなるのである。
そして、本発明に従うレベルワウンドコイル積載保持体用緩衝シートを用いることによって、上記せる優れた作用・効果が、極めて有利に享受され得るのである。
また、本発明に従うレベルワウンドコイルの梱包体にあっても、レベルワウンドコイルの積載保において奏され得る優れた作用・効果と実質的に同一の作用・効果が、極めて有効に享受され得るのである。
管体の整列巻きによって形成されるLWCの一つの巻回方式を示す断面説明図である。 管体を整列巻きして形成されるLWCの他の異なる巻回方式を示す断面部分説明図であって、(a)及び(b)は、それぞれ、その異なる例を示している。 LWCを巻き解き、管を取り出すときの形態を示す断面部分説明図であって、(a)及び(b)は、それぞれ、異なる巻き姿のLWCを用いた場合における形態を示している。 一般的なLWCの側面の一部を示す説明図である。 図4におけるV−V断面説明図である。 本発明に従う構造を有するレベルワウンドコイルの積載保持体の一例を示す縦断面説明図である。 図6に示されたレベルワウンドコイルの積載保持体が有する緩衝シートの上面説明図である。 図7のVIII−VIII断面における部分拡大説明図である。 図8のIX矢視説明図である。 図6の要部拡大説明図である。 本発明に従う構造を有するレベルワウンドコイルの梱包体の一例を示す断面説明図である。 本発明に従う構造を有するレベルワウンドコイルの積載保持体が有する緩衝シートの別の例を示す図7に対応する図である。
以下、本発明を更に具体的に明らかにするために、本発明の実施の形態について、図面を参照しつつ、詳細に説明することとする。
先ず、図6には、図本発明に従う構造を有するレベルワウンドコイルの積載保持体の一実施形態が、その縦断面形態において概略的に示されている。かかる図6から明らかなように、本実施形態のレベルワウンドコイル(LWC)の積載保持体は、LWC26と、それを支持する支持プレート20と、それらLWC26と支持プレート20との間に介在せしめられた緩衝シート28とを有して、構成されている。
より具体的には、LWC26は、銅管等の管体10を整列巻きして形成されるコイル層の複数を、隣接する一方のコイル層の管体10が他方のコイル層の管体10,10間の凹所に嵌め込まれるように積層してなる、内側から巻き解かれる公知の構造を有している。即ち、このLWC26は、例えば、前述せる図1に示される如きトラバース巻きによる通常の整列巻き方式にて、管体10が、ボビン12に巻き回された後、ボビン12が取り外されることによって、形成されているである。
支持プレート20は、例えば、全体として、LWC26の外径よりも所定寸法大きな外径を備えた円形の平板形状を呈し、ベニヤ合板や硬質の樹脂板等にて構成されている。このような支持プレート20の一方の板面上に、緩衝シート28が、重ね合わされるように配置されている。
そして、LWC26が、コイル軸方向を上下方向とし、且つ管体10の巻回開始端10aを上部に位置せしめた状態で、かかる管体10の巻回開始端10a側とは反対側のコイル軸方向端面において、支持プレート20上に配置された緩衝シート28に接触するように載置されて、支持プレート20に支持されている。かくして、LWC26の管体10の支持プレート20との直接接触による損傷が緩衝シート28にて防止された状態で、LWC積載保持体が、形成されているのである。
また、ここでは、そのようなLWC積載保持体を形成するLWC26が、図2の(a)に示されるLWC22と同様な巻き姿とされている。それにより、LWC26が支持プレート20上に支持された状態下において、LWC26の内側から数えて偶数列目のコイル層の最下部に位置する管体10と緩衝シート28との間に、管体10の外径の1/2程度の大きさの空間が、形成されている。また、LWC26の内側から数えて奇数列目のコイル層の巻終端の管体部分11aと、かかるコイル層の外側に隣接位置するコイル層の管体10の一部分である、該奇数列目の管体10,10間の凹所への嵌込み始端の管体部分11bとの間には、緩衝シート28(図2では支持プレート20)と接触する、該奇数列目のコイル層の管体部分11cを乗り越えるのに、かかる管体部分11cとコイル軸直角方向に並んで配置される乗越え管体部分11dが、緩衝シート28と接触するように、位置せしめられている(図4参照)。
そして、本実施形態のLWC積載保持体においては、支持プレート20とLWC26との間に介在せしめられた緩衝シート28が、従来には見られない特別な構造を有しているのである。
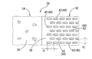
すなわち、図6及び図7に示される如く、緩衝シート28は、円形平板状の支持プレート20と略同程度の大きさの径を有し、中心部に、円形の中心孔30が設けられた円板状のシート材からなっている。そして、その外周部のうちの周方向に延びる一部分が、部分円環形状を呈する低摩擦部32とされ、また、かかる低摩擦部32を除く部分の全部が、高摩擦部34とされている。
より詳細には、緩衝シート28の高摩擦部34は、図8及び図9から明らかなように、例えば、発泡ポリエチレンシート等、厚さ方向において弾性変形可能な発泡樹脂シートにて構成されている。また、この高摩擦部34においては、その支持プレート20側とは反対側の面が、LWC26の管体10に直接に接触する接触面36とされ、そして、かかる接触面36が、平坦面とされている。
かくして、高摩擦部34にあっては、図示されてはいはいものの、緩衝シート28がLWC26と支持プレート20との間に介在せしめられた状態下で、LWC26の各コイル層の最下部に位置する管体10の外周面(コイル層の下端面)に対して、平坦な接触面36において接触せしめられ、また、各コイル層の重量荷重により、下方に沈み込むように(管体10の一部が高摩擦部34にめり込むように)弾性変形せしめられるようになっている。そして、それによって、かかる高摩擦部34がクッション材として機能して、LWC26の管体10の支持プレート20との接触や擦れ等による損傷が、未然に防止され得るようになっている。また、高摩擦部34では、かかる弾性変形によって、接触面36におけるLWC26の管体10との接触面積が、より大なる大きさとされ、以て、高摩擦部34の接触面36とLWC26の管体10との間の摺動抵抗が、比較的に大きくされている。そして、上記せる如く、緩衝シート28の大部分が、そのような高摩擦部34にて占められている。これにより、ここでは、緩衝シート28を介して、支持プレート20上に支持されたLWC26の滑りが、緩衝シート28の高摩擦部34にて、有利に防止され得るようになっているのである。
なお、緩衝シート28の高摩擦部34は、管体10に対するクッション材や滑り止め材として機能するものであるところから、例示の発泡樹脂シート以外にも、弾性変形可能な非発泡体からなる樹脂シートやシート状のゴム弾性体等のシート状弾性体によって、好適に構成されることとなる。換言すれば、高摩擦部34が、シート状弾性体にて構成されることによって、緩衝シート28を介して支持プレート20上に支持されたLWC26の滑りや、コイル層の最下部に位置する管体10の損傷が、より有利に防止され得ることとなるのである。
一方、低摩擦部32は、図8及び図9に示されるように、高摩擦部34よりも薄い厚さを有して、支持プレート20上に配置されるベースシート38と、このベースシート38の支持プレート20側とは反対側の面に、互いに間隔を開けて、一体的に突設された多数の突起40とからなっている。また、この低摩擦部32は、硬質樹脂の一種たるポリアミドを用いて、ベースシート38と多数の突起40とが一体成形された樹脂成形品にて、構成されている。
そして、かかる低摩擦部32における多数の突起40は、それぞれ、極めて径の小さな細長い円柱形態を有して鉛直方向に直立する、硬質で且つ十分な可撓性を備えた針状乃至は毛状突起にて構成されて、ベースシート38に対して密に植設されている。これにより、各突起40が、先端側部分に対して、所定の押圧力が、基部側(ベースシート38側)に向かって加えられたときに、容易に倒伏することなく、十分な腰をもって撓み変形せしめられる一方、かかる押圧力が解除されたときには、撓み変形前の状態に復元されるように、弾性変形可能とされている。
また、各突起40にあっては、高さ(長さ)方向の中間部において略直角に屈曲せしめられて、かかる屈曲部よりも先端側部分が、屈曲部よりも基部側部分に対して直角な方向に延びる形態とされており、この先端側部分が、LWC26の管体10と接触する接触部42として、構成されている。
そして、このような低摩擦部32においては、図10に示されるように、緩衝シート28がLWC26と支持プレート20との間に介在せしめられた状態下で、多数の突起40の幾つかが、LWC26のコイル層の最下部に位置する管体10の外周面(コイル層の下端面)に対して、それぞれの接触部42において接触せしめられ、また、コイル層の重量荷重により、管体10と接触する突起40が撓んで、弾性変形せしめられるようになっている。
かくして、緩衝シート28がLWC26と支持プレート20との間に介在せしめられて、LWC26のコイル層の重量荷重が低摩擦部32に加えられた状態下において、かかる低摩擦部323の多数の突起40が撓み変形せしめられ、その際に、低摩擦部32が、高摩擦部34と同様に、またそれと協働して、クッション材として機能して、支持プレート20に支持されるLWC26の管体10の損傷を未然に防止し得るようになっている。
なお、ここでは、そのように、緩衝シート28がLWC26と支持プレート20との間に介在せしめられて、LWC26のコイル層の重量荷重により、低摩擦部32の突起40が撓み変形せしめられると共に、高摩擦部34が弾性変形せしめられたときに、それら低摩擦部32と高摩擦部34のそれぞれの厚さが、略同一の大きさとなるように、低摩擦部32の突起の硬度乃至は撓み変形量と、高摩擦部34のばね定数乃至は弾性変形量が、それぞれ設定されている。これによって、LWC26が、緩衝シート28を介して支持プレート20に支持された際に、緩衝シート28に薄肉の部分が生じ、そのために、そのような薄肉部分に位置せしめられるコイル層の管体10部分が撓むようなことが、未然に防止され得る。そして、その結果として、LWC積載保持体において、管体10の繰出し前の状態での撓みによる部分的な変形も有利に解消され得る。
また、この低摩擦部32にあっては、互いに間隔を開けて配置された突起40の幾つかのものの先端部からなる接触部42において、管体10に接触せしめられているところから、平坦な接触面36において管体10と接触する高摩擦部34に比して、LWC26のコイル層の最下部に位置する管体10の外周面の単位面積当たりの接触面積が、有利に小さくされている。これにより、そのような低摩擦部32において、LWC26の管体10との間の摺動抵抗が、高摩擦部34とLWC26の管体10との間の摺動抵抗よりも十分に小さくされている。その結果、管体10が、滑り止め機能を有する高摩擦部34上を摺動する場合とは異なって、低摩擦部32上を、よりスムーズに滑るように、摺動せしめられるようになっている。
そして、本実施形態のLWC積載保持体にあっては、低摩擦部32が上記の如き構造とされているところから、LWC26の各コイル層の管体10が前述せるETS方式にて繰り出される場合において、緩衝シート28の低摩擦部32上に配置されたコイル層の最下部に位置する管体10が、図10に白抜きの矢印で示される方向に引っ張られて、横方向移動せしめられる際に、図10に二点鎖線で示される如く、管体10が、それの引っ張られる側に位置する突起40を撓み変形させつつ、それらの突起40の接触部42上を、小さな摺動抵抗で、スムーズに滑るように移動せしめられるようになる。
それ故、ここでは、緩衝シート28の低摩擦部32上に配置されたコイル層の最下部に位置する管体10が、たとえ、その直上に位置する管体10から、コイル層の重量荷重による押圧作用を受けていたとしても、管体10において、緩衝シート28との間の大きな摺動抵抗に起因したキンク等のトラブルが生ずることが、有利に回避乃至は軽減され得るようになっている。しかも、本実施形態のLWC積載保持体においては、従来品とは異なって、コイル層の最下部に位置する管体10に対する、その直上に位置する管体10からの押圧作用の軽減のための窪み等が、緩衝シート28(低摩擦部32と高摩擦部34)に対して、何等設けられていない。このため、LWC26が、管体10を繰り出す前の支持プレート20への静置状態において、緩衝シート28に窪みによって、管体10が撓んで、部分的に曲げ変形してしまうようなこともないのである。
なお、低摩擦部32の突起40の接触部42が、LWC26の各コイル層の最下部に位置する管体10に接触し、且つかかる管体10と低摩擦部32との間の摺動抵抗を十分に小さくした状態で、LWC26のコイル層を低摩擦部32の突起40にて支持させるように為すには、突起40(低摩擦部32)の材質や径、更にはベースシート38上の配置間隔が、適宜に選択乃至は調節されるところであるが、突起40(低摩擦部32)の形成材料としては、例示のポリアミドの他、細長い針状突起や毛状突起の形態において、倒伏することなく、撓み変形せしめられた状態で、LWC26のコイル層を支持し得る樹脂成形体を成形可能な公知の硬質樹脂材料が、好適に用いられる。そして、その中でも、銅管等からなる比較的に軟質の管体10との摺接により、かかる管体10の表面を傷付けないような材質のものが、望ましいのである。
また、突起40の径:dやピッチ:P1 、P2 (図8及び図9参照)も、例えば、管体10の外径:D(図10参照)等に応じて、適宜に決定されるところではるものの、突起40のピッチ:P1 、P2 は、何れも、管体10の外径:Dの1/3以下程度とされていることが、望ましい。それにより、管体10を支持する突起40の数が少な過ぎるために、各突起40が管体10を支えきれずに倒伏する等して、管体10がベースシート38に接触し、その結果、管体10の単位面積当たりにおける低摩擦部32の接触面積が大きくなって、低摩擦部32と管体10との間の摺動抵抗が大きくなってしまうようなことが、有利に回避され得るからである。なお、エアコン等の空調機器における平滑管や内面溝付き管等の伝熱管として、また建築用の給湯配管や給水配管等として利用される銅管からなるLWCの管体の外径:Dは、一般的に3〜10mm程度とされているところから、そのような管外径に基づいて、突起40のピッチ:P1 、P2 が設定されることが、好ましいのである。
さらに、突起40の径:dは、突起40のピッチ:P1 、P2 の小さい方の寸法に対して、好ましくは1/2以下程度とされる。これにより、管体10を弾性的に支持するのに撓み変形せしめられた突起40同士が接触して、各突起40の撓み変形量(弾性変形量)が不十分となることが可及的に抑制され、以て、低摩擦部32において管体10を支持した状態下で、突起40の撓み変形によって発揮されるクッション性、更には管体10の摺動性が、十分に確保され得ることとなる。
そして、図には明示されてはいないものの、本実施形態においては、緩衝シート28の外周部の一部に設けられた低摩擦部32上に、LWC26の最も外側と、それよりも内側のそれぞれのコイル層の最下部に位置する乗越え管体部分11dが接触位置せしめられているのであるが、これは、以下の理由による。
すなわち、LWC26の管体10を繰り出すのに際して、LWC26の内周側のコイル層に存在する巻回始端部10aから管体10を繰り出す場合、内周側のコイル層から繰り出される管体10は、コイルの巻き方向に沿ったループを描きながら巻き解かれていくものの、外周側のコイル層から繰り出される管体10は、コイルの軸方向に沿って、略真っ直ぐに上方に延びるような形に近い形で巻き解かれるようになる。そのため、外周側のコイル層から繰り出される管体10には、コイル層から繰り出される部分において大きな曲げ応力が発生し易く、そして、それが原因で、キンク等のトラブルの発生率が不可避的に高くなってしまう。
また、先に詳述せるように、一般的に、レベルワウンドコイル積載保持体においては、図2の(a)や(b)に示される如く、最下部に位置する管体10と支持プレート20との間に空間が存在するように、管体10を巻回して、LWC22,24を形成しても、かかるLWC22,24の内側から二層目以降のコイル層の全てに存在する乗越え管体部分11dをLWC22,24から繰り出す際に、キンク等のトラブルが生ずる恐れがある。
これらのことから、LWC26の管体10を、ETS方式にて、内周側のコイル層から繰り出す場合には、外側に位置するコイル層程、その最下部に位置する乗越え管体部分11dの繰出し時おいて、キンク等のトラブルが生ずる危険性が高くなると考えられる。それ故、本実施形態のレベルワウンドコイル積載保持体においては、緩衝シート28の低摩擦部32上に、LWC26の最も外側の外側コイル層とそれより1層分だけ内側のコイル層のそれぞれの最下部に位置する乗越え管体部分11dが接触位置せしめられ、それによって、キンク等のトラブルの発生防止が、より十分に図られているのである。
なお、かくの如く、低摩擦部32を、緩衝シート28の外周部の周方向の一部に、LWC26の外側コイル層に沿って、周方向に連続して延びるように設ける場合には、緩衝シート28における低摩擦部32の周方向長さが、特に限定されるものではなく、LWC26の外側コイル層の最下部に位置する乗越え管体部分11dの周方向長さ等に応じて、適宜に決定されるが、ここでは、部分円環形状を呈する低摩擦部32の周方向両側端縁の二つの辺部にて形成される角度:αの大きさが60°となるように、低摩擦部32の周方向長さが設定されている。
そして、本実施形態においては、図8に示されるように、支持プレート20と略同じ大きさの円形の保持シート44の上面に対して、上記の如き構造とされた低摩擦部32と高摩擦部34とが、上側接着剤層46を介して接着されて、緩衝シート28が、構成されているのである。また、かかる保持シート44の下面には、下側接着剤層48が積層形成されており、この下側接着剤層48によって、低摩擦部32と高摩擦部34とを含む緩衝シート28の全体が、支持プレート20の上面に接着されるようになっている。
なお、保持シート44は、樹脂材料や紙、布等を用いて形成されている。また、上側接着剤層46は、樹脂材料や紙、布等の材質からなる保持シート44と、樹脂製の低摩擦部32及び高摩擦部34とを接着可能な公知の接着剤を用いて形成され、更に、下側接着剤層48は、保持シート44と、樹脂製又は木製の支持プレート20とを接着可能な公知の接着剤を用いて形成されている。
かくして、本実施形態のレベルワウンドコイルの積載保持体が、支持プレート20の上面に、上記の如き特別な構造を有する緩衝シート28を介して、LWC26が支持されて、図6に示される如き形態において、形成されているのである。
そして、そのようにして得られる、図6に示される如きLWC26の積載保持体は、従来と同様にして、その少なくともLWC26部分を樹脂フィルム等によって包装したり、また、金属製や樹脂製のバンドを用いて、コイルの巻き姿を固定したり、更には、LWC26と緩衝シート28と支持プレート20とを、適当なバンドにて、緊縛したりする等して梱包され、LWC26の梱包体とされて、出荷、運搬、保管されることとなるのである。また、そのような梱包体が、搬送先のエアコンメーカー等のユーザーの下において開梱され、そして、前述せるように、LWC26が巻き解かれて、管体10が取り出され、目的とする用途に供されることとなるのである。
ところで、かかる梱包体は、単に、LWC26の一つが、緩衝シート28を介して、支持プレート20上に載置されてなる形態を対象とするのみならず、LWC26の複数を段積みしてなる形態においても構成することは可能であるが、その場合においては、図6に示される積載保持体の形態において、二段、三段、或いはそれ以上の段積みが行われることとなる。
図11には、LWC26を三段積みした場合の形態が示されているが、そこにおいて、各LWC26は、何れも、緩衝シート28を介して、支持プレート20上に支持された形態において、下段のLWC26の上に上段の積載保持体の支持プレート20が直接に積み重ねられているのである。なお、ここでは、そのような三段積みのLWC26の搬送のために、最下段のLWC26を支持する支持プレートとして、搬送用のパレット50が用いられている。そして、このような三段積みの構造において、従来と同様な梱包が施されて、梱包体とされ、目的とする場所に搬送され得るようになっているのである。なお、パレット50は、LWC26の複数を段積みする場合に用いられる他、一つのLWC26を載置して、搬送せしめる場合においても、有利に用いられ得ることは、言うまでもないところである。
このように、本実施形態のレベルワウンドコイルの積載保持体にあっては、LWC26と支持プレート20との間に介在せしめられる緩衝シート28に低摩擦部32が設けられて、LWC26の複数のコイル層のうち、特に、LWC26の外側層を形成する外周側の2つの外側コイル層の最下部にそれぞれ位置する管体10の乗越え管体部分11dが、かかる低摩擦部32と接触位置せしめられている。それによって、LWC26の巻き姿の如何に拘わらず、LWC26からの管体10の繰出し時におけるキンク等のトラブルの発生防止が、より十分に図られている。しかも、その繰出し前の状態での管体の撓みによる部分的な変形も有利に解消され得る。そして、その結果として、LWC26から、全ての管体10が、良好な品質をもって繰り出され得て、かかる管体10の歩留まりが、極めて効果的に高められ得ることとなるのである。
また、本実施形態においては、緩衝シート28が、低摩擦部32と協働した管体10の損傷防止機能に加えて、滑り止め機能を発揮する高摩擦部34を有している。そのため、LWC26が積層保持体として構成された状態下での搬送時、或いはLWC26からの管体10の繰り出し時において、支持プレート20やパレット50上でのLWC26の移動や変位が有効に防止され、以て、そのようなLWC26の変位や移動に起因するトラブルの発生も、未然に阻止され得るのである。
さらに、本実施形態では、緩衝シート28の低摩擦部32に設けられる多数の突起40が、硬質の樹脂製の針状乃至は毛状突起にて構成されているため、管体10の単位面積当たりに対する突起40の接触面積が、より有効に小さくされ、それによって、低摩擦部32とLWC26の管体10との間の摺動抵抗が、更に有利に低減せしめられ得る。そして、その結果、ETS方式によるLWC26からの管体10の繰り出し操作が、キンク等のトラブルを生ずることなく、よりスムーズに実施され得る。
更にまた、そのような低摩擦部32の各突起40が、長さ方向の中間部において略直角に屈曲せしめられて、かかる屈曲部よりも先端側部分が、LWC26の管体10と接触する接触部42とされているところから、例えば、各突起40が、屈曲部を何等有することなく、真っ直ぐに直立せしめられた針状乃至は毛状突起にて構成されて、その先端において、管体10と接触せしめられる場合に比して、上記の如き管体10との間の小さな摺動抵抗を可及的に確保しつつ、且つ管体10の外周面を傷付けることも、より有利に防止しつつ、各突起40にて、LWC26の各コイル層が安定的に支持され得るのである。
また、本実施形態では、緩衝シート28が保持シート44を有し、この保持シート44に対して、低摩擦部32と高摩擦部34とが接着されていると共に、かかる保持シート44が、支持プレート20に接着されているところから、支持プレート20上での緩衝シート28の全体や低摩擦部32及び高摩擦部34の無用な位置ズレが有利に防止され得る。それによって、緩衝シート28を介して支持プレート20上に支持されるLWC26が、LWC積載保持体の搬送中に、緩衝シート28と共に位置ズレを起こす等のトラブルが未然に回避され得る。また、支持プレート20と緩衝シート28とを一体品として取り扱うことが可能になり、以て、それら支持プレート20と緩衝シート28の取扱性が、効果的に高められ得る。
以上、本発明の代表的な実施形態について詳述してきたが、それはあくまでも例示に過ぎないものであって、本発明は、そのような実施形態に係る具体的の記述によって、何等限定的に解釈されるものではないことが、理解されるべきである。
例えば、前記実施形態では、低摩擦部32が、緩衝シート28の外周部における周方向の一部分に設けられていたが、低摩擦部32の形成位置は、何等これに限定されるものではない。例えば、図12に示されるように、低摩擦部32を、緩衝シート28の外周部に、その全周に亘って連続して延びるように設けても良い。これによって、例えば、緩衝シート28の低摩擦部32上に、LWC26の外周側に位置する外側コイル層の最下部の管体10における乗越え管体部分11dを接触位置させる場合に、かかる最下部の管体10の周上の1箇所に存在する乗越え管体部分11dが、低摩擦部32上に位置せしめられるように、緩衝シート28上(支持プレート20上)でのLWC26の周方向位置を位置決めするための面倒な作業が不要となり、以て、LWC積載保持体の形成作業における作業性が有利高められ得ることとなる。
なお、それら緩衝シート28の外周部に部分的に或いはその全周に設けられる低摩擦部32に接触位置せしめられる乗越え管体部分11dは、例示される如きLWC26の外周側の2つのコイル層の最下部の管体10における乗越え管体部分11dに限定されるものではなく、LWC26の最も外側に位置するコイル層の乗越え管体部分11dのみが接触位置せしめられように構成されていても、或いはLWC26の外周側の3つ以上のコイル層の各乗越え管体部分11dが接触位置せしめられように構成されていても、何等差し支えない。
また、緩衝シート28の全部を低摩擦部32として構成することも、勿論可能である。
さらに、低摩擦部32の各突起40の形状は、特に限定されるものではなく、角柱形状や、角錐乃至は角錐台形状、円錐乃至は円錐台形状等の単純な形状の他、先端側に、LWC26のコイル軸方向と交差する方向に、直角以外の角度で屈曲して延びる接触部が形成された形状や、先端側に、LWC26のコイル軸方向と交差する方向に、直角又は以外の角度で、円形や矩形の形状をもって拡がる接触部が形成された、例えば全体がきのこ形状とされた形状等が、適宜に採用され得る。
更にまた、高摩擦部34の具体的な構造も、例示のものに、特に限定されるものでないことは、勿論である。
また、前記実施形態には、LWC26の内周側のコイル層から管体10を巻解する方式が示されていたが、LWC26の外周側のコイル層から管体10を巻解するようにしても、何等差し支えない。
さらに、前記実施形態では、両面に接着剤層46,48が設けられた保持シート44を有し、そして、この保持シート44の一方の面に、低摩擦部32と高摩擦部34とが接着されると共に、かかる保持シート44が、他方の面において支持プレート20に接着されるようにした構造をもって、緩衝シート28が構成されていたが、単に、保持シート44の一方の面に、低摩擦部32と高摩擦部34とを接着してなるだけの構造において、緩衝シート28を構成したり、或いは、そのような保持シート44を何等有することなく、低摩擦部32と高摩擦部34とだけからなり、それらが、支持プレート20上に載置されるようにした構造にて、緩衝シート28を構成したりしても良い。
また、前記実施形態の低摩擦部32としては、専用品として作製されるものの他、例えば公知の面ファスナの雄部材等が、利用され得る。
その他、一々列挙はしないが、本発明は、当業者の知識に基づいて種々なる変更、修正、改良等を加えた態様において実施され得るものであり、また、そのような実施態様が、本発明の趣旨を逸脱しない限り、何れも、本発明の範囲内に含まれるものであることは、言うまでもないところである。
以下に、本発明の幾つかの実施例を示し、本発明を更に具体的に明らかにすることとするが、本発明が、そのような実施例の記載によって、何等の制約をも受けるものでないことは、また、言うまでもないところである。
先ず、りん脱酸銅軟質材からなる、外径が7mmで底肉厚が0.24mmの内面溝付管を図2の(a)に示される如き形態を呈するようにトラバース巻きで巻回してなるLWCを、12個を準備した。それら各LWCの外径は1030mm、内径が560mm、高さが350mm、巻数は50巻き、コイル総数は41層、全重量は260kgとした。また、支持プレートとして、外径が1100mmで、内径が130mm、厚さ5.5mmの円環板状を呈するベニヤ合板を、12枚準備した。
一方、本発明に従う構造を有する緩衝シートとして、全体が、図8及び図9に示される如き構造を有する針状乃至は毛状の突起(40)とベースシート(38)とからなる低摩擦部(32)とされた緩衝シートAと、図7に示されるように、緩衝シートAの低摩擦部と同一の構造を有する低摩擦部(32)が、部分円環形状をもって、外周部の一部分に形成されて、かかる低摩擦部(32)以外の部分が、高摩擦部(34)とされた緩衝シートBと、図12に示されるように、緩衝シートA及びBの各低摩擦部と同一の構造を有する低摩擦部(32)が、円環形状をもって、外周部の全周に亘って周方向に連続して延びるように形成されて、かかる低摩擦部(32)以外の部分が、高摩擦部(34)とされた緩衝シートCとを、それぞれ複数枚ずつ作製して、準備した。
なお、それら3種類の緩衝シートA〜Cは、全て、外径が1100mmで、内径が130mmの円環板形状とした。また、各緩衝シートA〜Cの低摩擦部は、ポリアミドを用いて、ベースシートと多数の突起とを一体成形してなる一体成形品にて構成した。そして、各緩衝シートA〜Cの低摩擦部のベースシートの厚さ(図8にTにて示される寸法)を0.5mm、突起の高さ(図8にHにて示される寸法)を1.5mm、突起の径(図8にdにて示される寸法)を0.2mm、突起の縦方向と横方向のピッチ(図9にP1 とP2 とにて示される寸法)をそれぞれ1.2mmとした。一方、緩衝シートB及び緩衝シートCの各高摩擦部は、厚さ2mmの発泡ポリエチレンシートを用いて、形成した。
また、比較のために、従来構造を有する緩衝シートとして、外径が1100mm、内径が130mm、厚さが2mmの円環板形状を呈する発泡ポリエチレンシートからなる、つまり全体が高摩擦部とされた緩衝シートDを4枚作製して、準備した。
そして、ここで、全体が低摩擦部からなる緩衝シートAと、全体が高摩擦部からなる緩衝シートDとを、それぞれ1枚ずつ用い、それら各緩衝シートA、Dから、縦×横=30mm×30mmのサイズを有する矩形の試験片をそれぞれ切り出した。その後、それら各試験片に対して、厚さ5.5mmのベニヤ合板を接着して、貼り付けた。なお、緩衝シートAから切り出された試験片に対しては、低摩擦部のベースシートにベニヤ合板を貼り付けた。
次に、先に準備された複数のLWCをそれぞれ形成する銅管の200mmの長さのものを、並列に複数本並べて固定した後、緩衝シートA、Dからそれぞれ切り出されて、ベニヤ合板が貼り付けられた2つの試験片を、ベニヤ合板側とは反対側において、それら複数本の銅管上に重合せて配置した。その後、各試験片にベニヤ合板側から荷重を加えた状態で、各試験片を、50mmの範囲で摺動させるように往復運動せしめ、そのときの摩擦係数を公知の手法で測定した。なお、各試験片に加えられる荷重の大きさは、100g、200g、500g、1000gの4種類の大きさとした。また、各試験片の往復運動方向は、管軸方向とそれに直角な方向の2種類とした。
その結果、各試験片に加えられる荷重の大きさの違いや往復運動方向の違いに拘わらず、何れの条件においても、全体が低摩擦部からなる緩衝シートAから切り出された試験片の摩擦係数の測定値が、全体が高摩擦部からなる緩衝シートDから切り出された試験片の摩擦係数の測定値の0.18〜0.25倍となっていた。このことから、ポリアミド樹脂製の針状乃至は毛状の多数の突起を有し、且つそれら各突起のの先端部が、銅管との接触部とされた低摩擦部が、発泡ポリエチレンシートからなり、厚さ方向一方の平坦面が銅管との接触面とされた高摩擦部よりも、銅管の滑り性が優れていることが確認された。
そして、上記のようにして準備された4種類の緩衝シートA〜Dの3枚ずつ、合計12枚を、先に準備された12枚の支持プレートのそれぞれの一方の面に、所定の接着剤にて貼り付けた。
次いで、緩衝シートAがそれぞれ貼り付けられた3枚の支持プレートに対して、先に準備された12個のLWCのうちの3個を、緩衝シートAが貼り付けられた側の面にそれぞれ載置して、本発明に従う構造を有するLWCの積載保持体(本発明例1)を3個形成した。その後、それら本発明例1の3個のLWC積載保持体を、図11に示されるように3段積みして、LWCの梱包体Aを得た。この3段積みのLWCの梱包体における最下段のLWC積載保持体(本発明例1)にあっては、低摩擦部の各突起の撓み変形により、緩衝シート全体の厚さが、LWCの載置前に比して、0.3〜0.5mm程度減少していた。
また、それと同様に、緩衝シートBを介して、LWCが支持プレートに支持された、本発明に従う構造を有するLWCの積載保持体(本発明例2)の3個と、緩衝シートCを介して、LWCが支持プレートに支持された、本発明に従う構造を有するLWCの積載保持体(本発明例3)の3個とを、それぞれ、形成した。また、その一方で、緩衝シートDを介して、LWCが支持プレートに支持された、従来構造を有するLWCの積載保持体(比較例1)の3個を、形成した。
その後、LWCの梱包体Aを形成する際と同様にして、本発明例2のLWC積載保持体が3段積みされたLWCの梱包体Bと、本発明例3のLWC積載保持体が3段積みされたLWCの梱包体Cと、比較例1のLWC積載保持体が3段積みされたLWCの梱包体Dとを、それぞれ形成した。これら3種類のLWCの梱包体B〜Dにあっても、最下段のLWC積載保持体における緩衝シート全体の厚さが、LWCの載置前に比して、0.3〜0.5mm程度減少していた。
そして、かくして得られた4種類のLWCの梱包体A〜Dを用い、ETS方式による内側繰り出しにて、各梱包体A〜Dの最上段に位置するLWCからの銅管の巻解テストを実施した。この巻解テストは、各梱包体A〜Dの上方に設置された公知の引出し用固定パイプに、各コイルから繰り出される銅管を挿通して、80m/minの巻解速度で行った。このとき、3段積みされた3個のLWCの最下段の上端面から引出し用固定パイプまでの高さを1920mm程度、中段のLWCの上端面から引出し用固定パイプまでの高さを1560mm程度、最上段のLWCの上端面から引出し用固定パイプまでの高さを1200mm程度とした。
かかる巻解テストを実施した結果、本発明例1〜3の3種類のLWC積載保持体をそれぞれ3段積みしてなるLWCの梱包体A、B、Cは、何れも、巻解の開始から終了まで、キンク等のトラブルを発生することなく、銅管を、各LWCから良好に繰り出すことが出来た。
これに対して、比較例1のLWC積載保持体を3段積みしてなるLWCの梱包体Dでは、最上段と中段にそれぞれ積み上げられた各LWCの巻解に際して、LWCの最も外側に位置する外側コイル層の乗越え管体部分の繰り出し時に、キンクのトラブルが、それぞれ1回ずつ発生し、また、最下段に位置するLWCの巻解に際して、LWCの最も外側に位置する外側コイル層の乗越え管体部分の繰り出し時に、キンクのトラブルが、2回発生した。
これらのことから、本発明に従う構造を有するLWC積載保持体においては、緩衝シートに低摩擦部が設けられていることにより、LWCの巻解に際して、キンク等のトラブルを生ずることなく、管体が良好な品質をもって良好に繰り出され得ることが、明確に認識され得るのである。
10 管体 11d 乗越え管体部分
18,22,24,26 レベルワウンドコイル
20 支持プレート 28 緩衝シート
32 低摩擦部 34 高摩擦部
36 接触面 38 ベースシート
40 突起 42 接触部
50 パレット

Claims (12)

  1. 管体を整列巻きして形成されるコイル層の複数を、隣接する一方のコイル層の管体が他方のコイル層の管体間の凹所に嵌め込まれるようにして、積層してなるレベルワウンドコイルを、そのコイル軸方向が垂直となるように、支持プレート上に載置すると共に、緩衝シートを、該レベルワウンドコイルと該支持プレートとの間に介在せしめてなるレベルワウンドコイルの積載保持体であって、
    前記緩衝シートが、前記支持プレート上に配置されるベースシートと、該ベースシートの該支持プレート側とは反対側の面に、互いに間隔を開けて突出する、可撓性を有する多数の突起とを含んでなり、且つ該多数の突起のそれぞれの先端部からなる接触部において、前記レベルワウンドコイルの該支持プレート側の端面に接触するように構成された、該レベルワウンドコイルを形成する前記管体との間の摺動抵抗が小さな低摩擦部を有していることを特徴とするレベルワウンドコイルの積載保持体。
  2. 前記緩衝シートにおける前記低摩擦部の突起が、前記ベースシートに密に植設された、可撓性を有する硬質樹脂製の毛状突起である請求項1に記載のレベルワウンドコイルの積載保持体。
  3. 前記緩衝シートにおける前記低摩擦部の突起が、その先端側に、前記レベルワウンドコイルのコイル軸方向と交差する方向に延出乃至は拡がる部分を有し、かかる先端側部分にて、前記接触部が構成されている請求項1又は請求項2に記載のレベルワウンドコイルの積載保持体。
  4. 前記レベルワウンドコイルの複数のコイル層のうち、該レベルワウンドコイルの外側層を形成する外側コイル層の前記支持プレート側の端面に接触する前記緩衝シートの外周部分に、前記低摩擦部が、該外側コイル層に沿って、周方向に連続して延びるように設けられている一方、該外側コイル層の支持プレート側の端面との接触部分を除く緩衝シート部分の全部に、前記管体との間の摺動抵抗が該低摩擦部よりも大きな高摩擦部が設けられている請求項1乃至請求項3のうちの何れか1項に記載のレベルワウンドコイルの積載保持体。
  5. 前記緩衝シートにおける前記外側コイル層の支持プレート側の端面と接触する外周部分に対して、前記低摩擦部が、該外周部分の全周に亘って、その周方向に連続して延びるように設けられている請求項4に記載のレベルワウンドコイルの積載保持体。
  6. 前記緩衝シートにおける前記外側コイル層の支持プレート側の端面と接触する外周部分に対して、前記低摩擦部が、該外周部分の周方向の一部分のみに設けられ、そして、該外側コイル層の内側に隣接して位置する内側コイル層の巻終端の管体部分と、該外側コイル層の前記管体間の凹所への嵌込み始端の管体部分との間に位置して、該内側コイル層の最終巻目の管体を乗り越える管体部分であって、且つコイル軸方向と直角な方向に該管体と並んで配置される乗越え管体部分が、該低摩擦部に接触位置せしめられている請求項4に記載のレベルワウンドコイルの積載保持体。
  7. 前記緩衝シートの前記高摩擦部が、シート状弾性体からなり、且つ前記外側コイル層の支持プレート側の端面との接触面が平坦面とされて、該高摩擦部の該端面との単位面積当たりの接触面積が、前記低摩擦部の該端面との単位面積当たりの接触面積よりも大きくされていることにより、前記管体との間の摺動抵抗が、該低摩擦部よりも該高摩擦部の方が大なる大きさとされている請求項4乃至請求項6のうちの何れか1項に記載のレベルワウンドコイルの積載保持体。
  8. 前記緩衝シートが前記レベルワウンドコイルと前記支持プレートとの間に介在せしめられた状態下での前記低摩擦部と前記高摩擦部のそれぞれの厚さが、実質的に同一の厚さとされている請求項4乃至請求項7のうちの何れか1項に記載のレベルワウンドコイルの積載保持体。
  9. 前記緩衝シートの前記支持プレート側の面に接着剤層が設けられて、該緩衝シートが、該接着剤層にて、該支持プレートに接着されている請求項1乃至請求項8のうちの何れか1項に記載のレベルワウンドコイルの積載保持体。
  10. 請求項1乃至請求項9のうちの何れか1項に記載のレベルワウンドコイル積載保持体の一つ若しくは複数を積み重ねてなり、且つその少なくともレベルワウンドコイル部分が包装されていることを特徴とするレベルワウンドコイルの梱包体。
  11. 最下部に位置する前記レベルワウンドコイル積載保持体の前記支持プレートとして、パレットが用いられていることを特徴とする請求項10に記載のレベルワウンドコイルの梱包体。
  12. 管体を整列巻きして形成されるコイル層の複数を、隣接する一方のコイル層の管体が他方のコイル層の管体間の凹所に嵌め込まれるようにして、積層してなるレベルワウンドコイルを、そのコイル軸方向が垂直となるように、支持プレート上に載置してなる構造を有するレベルワウンドコイル積載保持体の該レベルワウンドコイルと該支持プレートとの間に介在せしめられるレベルワウンドコイル積載保持体用緩衝シートであって、
    前記支持プレート上に配置されるベースシートと、該ベースシートの該支持プレート側とは反対側の面に、互いに間隔を開けて突出する、可撓性を有する多数の突起とを含んでなり、且つ該多数の突起のそれぞれの先端部からなる接触部において、前記レベルワウンドコイルの該支持プレート側の端面に接触するように構成された、該レベルワウンドコイルを形成する前記管体との間の摺動抵抗が小さな低摩擦部を有していることを特徴とするレベルワウンドコイル積載保持体用緩衝シート。
JP2009097740A 2008-05-21 2009-04-14 レベルワウンドコイルの積載保持体及びレベルワウンドコイルの梱包体並びにレベルワウンドコイル積載保持体用緩衝シート Active JP5155240B2 (ja)

Priority Applications (1)

Application Number Priority Date Filing Date Title
JP2009097740A JP5155240B2 (ja) 2008-05-21 2009-04-14 レベルワウンドコイルの積載保持体及びレベルワウンドコイルの梱包体並びにレベルワウンドコイル積載保持体用緩衝シート

Applications Claiming Priority (3)

Application Number Priority Date Filing Date Title
JP2008133530 2008-05-21
JP2008133530 2008-05-21
JP2009097740A JP5155240B2 (ja) 2008-05-21 2009-04-14 レベルワウンドコイルの積載保持体及びレベルワウンドコイルの梱包体並びにレベルワウンドコイル積載保持体用緩衝シート

Publications (2)

Publication Number Publication Date
JP2010001072A true JP2010001072A (ja) 2010-01-07
JP5155240B2 JP5155240B2 (ja) 2013-03-06

Family

ID=41583129

Family Applications (1)

Application Number Title Priority Date Filing Date
JP2009097740A Active JP5155240B2 (ja) 2008-05-21 2009-04-14 レベルワウンドコイルの積載保持体及びレベルワウンドコイルの梱包体並びにレベルワウンドコイル積載保持体用緩衝シート

Country Status (1)

Country Link
JP (1) JP5155240B2 (ja)

Cited By (4)

* Cited by examiner, † Cited by third party
Publication number Priority date Publication date Assignee Title
JP2010241453A (ja) * 2009-04-03 2010-10-28 Furukawa Electric Co Ltd:The 緩衝体及びレベルワウンドコイルの載置方法
CN107758114A (zh) * 2016-08-23 2018-03-06 劳德斯玛特联合运输股份公司 用于运输线圈的底板
JP7152830B1 (ja) * 2021-04-23 2022-10-13 Njt銅管株式会社 レベルワウンドコイルの積載保持体及びレベルワウンドコイルの梱包体並びにレベルワウンドコイル積載保持体用敷板
WO2022225021A1 (ja) * 2021-04-23 2022-10-27 Njt銅管株式会社 レベルワウンドコイルの積載保持体及びレベルワウンドコイルの梱包体並びにレベルワウンドコイル積載保持体用敷板

Citations (4)

* Cited by examiner, † Cited by third party
Publication number Priority date Publication date Assignee Title
JP2002370869A (ja) * 2001-03-30 2002-12-24 Kobe Steel Ltd レベルワウンドコイル、レベルワウンドコイルの梱包体及びレベルワウンドコイルからの管供給方法
JP2006290619A (ja) * 2005-03-14 2006-10-26 Hitachi Cable Ltd レベルワウンドコイルのパレット載置体およびレベルワウンドコイルの包装体
JP2007084207A (ja) * 2005-09-21 2007-04-05 Furukawa Electric Co Ltd:The レベルワウンドコイルの管供給方法
JP2007145538A (ja) * 2005-11-29 2007-06-14 Sumitomo Light Metal Ind Ltd レベルワウンドコイルの積載保持体及びレベルワウンドコイルの巻解方法

Patent Citations (4)

* Cited by examiner, † Cited by third party
Publication number Priority date Publication date Assignee Title
JP2002370869A (ja) * 2001-03-30 2002-12-24 Kobe Steel Ltd レベルワウンドコイル、レベルワウンドコイルの梱包体及びレベルワウンドコイルからの管供給方法
JP2006290619A (ja) * 2005-03-14 2006-10-26 Hitachi Cable Ltd レベルワウンドコイルのパレット載置体およびレベルワウンドコイルの包装体
JP2007084207A (ja) * 2005-09-21 2007-04-05 Furukawa Electric Co Ltd:The レベルワウンドコイルの管供給方法
JP2007145538A (ja) * 2005-11-29 2007-06-14 Sumitomo Light Metal Ind Ltd レベルワウンドコイルの積載保持体及びレベルワウンドコイルの巻解方法

Cited By (5)

* Cited by examiner, † Cited by third party
Publication number Priority date Publication date Assignee Title
JP2010241453A (ja) * 2009-04-03 2010-10-28 Furukawa Electric Co Ltd:The 緩衝体及びレベルワウンドコイルの載置方法
CN107758114A (zh) * 2016-08-23 2018-03-06 劳德斯玛特联合运输股份公司 用于运输线圈的底板
JP7152830B1 (ja) * 2021-04-23 2022-10-13 Njt銅管株式会社 レベルワウンドコイルの積載保持体及びレベルワウンドコイルの梱包体並びにレベルワウンドコイル積載保持体用敷板
WO2022225021A1 (ja) * 2021-04-23 2022-10-27 Njt銅管株式会社 レベルワウンドコイルの積載保持体及びレベルワウンドコイルの梱包体並びにレベルワウンドコイル積載保持体用敷板
CN117222584A (zh) * 2021-04-23 2023-12-12 Njt铜管株式会社 平绕盘管的装载保持体、平绕盘管的捆包体以及平绕盘管装载保持体用垫板

Also Published As

Publication number Publication date
JP5155240B2 (ja) 2013-03-06

Similar Documents

Publication Publication Date Title
JP5155240B2 (ja) レベルワウンドコイルの積載保持体及びレベルワウンドコイルの梱包体並びにレベルワウンドコイル積載保持体用緩衝シート
CN101859636B (zh) 变压器用多线多级线圈及其绕线装置
EP2168706A1 (en) Retainer for a welding wire container with flexible flaps; combination of a welding wire coil and such retainer
US12246908B2 (en) Bundle of tubular and/or rod-shaped glass articles, method for its fabrication as well as for unpacking said bundle
CN108025880B (zh) 玻璃卷及其制造方法
KR101258009B1 (ko) 용접 와이어 수납 페일팩, 페일팩용 용기 및 페일팩용 가압 부재
US20230312199A1 (en) Bundle of tubular and/or rod-shaped glass articles, method for its fabrication as well as for unpacking said bundle
JP4936062B2 (ja) ガラス板梱包体
JP5213820B2 (ja) レベルワウンドコイル、レベルワウンドコイルの梱包体
CN103476682B (zh) 切割管芯接合膜的包装结构和包装方法
JP2007145538A (ja) レベルワウンドコイルの積載保持体及びレベルワウンドコイルの巻解方法
JP5580551B2 (ja) 両面テープ製造装置および製造方法
JP7152830B1 (ja) レベルワウンドコイルの積載保持体及びレベルワウンドコイルの梱包体並びにレベルワウンドコイル積載保持体用敷板
JP5342308B2 (ja) 緩衝体及びレベルワウンドコイルの載置方法
JP3599110B2 (ja) レベルワウンドコイルからの管の供給方法及びレベルワウンドコイル梱包体からの管の供給方法
WO2022225021A1 (ja) レベルワウンドコイルの積載保持体及びレベルワウンドコイルの梱包体並びにレベルワウンドコイル積載保持体用敷板
JP5225915B2 (ja) レベルワウンドコイル、レベルワウンドコイルの梱包体
JP4390610B2 (ja) レベルワウンドコイル、レベルワウンドコイルの梱包体及びレベルワウンドコイルからの管の供給方法
JP2005126198A (ja) レベルワウンドコイルからの管の供給方法、レベルワウンドコイルの梱包体からの管の供給方法及び管巻き解き装置
JP2008024397A (ja) レベルワウンドコイルおよびレベルワウンドコイル梱包体
JP5260374B2 (ja) レベルワウンドコイルの梱包体
JP3599111B2 (ja) レベルワウンドコイルの梱包体及びそれからの管供給方法
KR20040070056A (ko) 레벨 권선형 코일로부터의 관의 공급 방법, 및 레벨권선형 코일 곤포체와 그것으로부터의 관의 공급 방법
JP7141228B2 (ja) 梱包物及び被運搬物
CN210102137U (zh) 片材供给装置

Legal Events

Date Code Title Description
A711 Notification of change in applicant

Free format text: JAPANESE INTERMEDIATE CODE: A712

Effective date: 20111206

RD03 Notification of appointment of power of attorney

Free format text: JAPANESE INTERMEDIATE CODE: A7423

Effective date: 20111222

A621 Written request for application examination

Free format text: JAPANESE INTERMEDIATE CODE: A621

Effective date: 20120217

TRDD Decision of grant or rejection written
A01 Written decision to grant a patent or to grant a registration (utility model)

Free format text: JAPANESE INTERMEDIATE CODE: A01

Effective date: 20121204

A61 First payment of annual fees (during grant procedure)

Free format text: JAPANESE INTERMEDIATE CODE: A61

Effective date: 20121206

FPAY Renewal fee payment (event date is renewal date of database)

Free format text: PAYMENT UNTIL: 20151214

Year of fee payment: 3

R150 Certificate of patent or registration of utility model

Free format text: JAPANESE INTERMEDIATE CODE: R150

Ref document number: 5155240

Country of ref document: JP

Free format text: JAPANESE INTERMEDIATE CODE: R150

S533 Written request for registration of change of name

Free format text: JAPANESE INTERMEDIATE CODE: R313533

R350 Written notification of registration of transfer

Free format text: JAPANESE INTERMEDIATE CODE: R350

R250 Receipt of annual fees

Free format text: JAPANESE INTERMEDIATE CODE: R250

R250 Receipt of annual fees

Free format text: JAPANESE INTERMEDIATE CODE: R250

R250 Receipt of annual fees

Free format text: JAPANESE INTERMEDIATE CODE: R250

R250 Receipt of annual fees

Free format text: JAPANESE INTERMEDIATE CODE: R250

R250 Receipt of annual fees

Free format text: JAPANESE INTERMEDIATE CODE: R250

R250 Receipt of annual fees

Free format text: JAPANESE INTERMEDIATE CODE: R250

R250 Receipt of annual fees

Free format text: JAPANESE INTERMEDIATE CODE: R250

R250 Receipt of annual fees

Free format text: JAPANESE INTERMEDIATE CODE: R250

S533 Written request for registration of change of name

Free format text: JAPANESE INTERMEDIATE CODE: R313533

R350 Written notification of registration of transfer

Free format text: JAPANESE INTERMEDIATE CODE: R350

R250 Receipt of annual fees

Free format text: JAPANESE INTERMEDIATE CODE: R250

R250 Receipt of annual fees

Free format text: JAPANESE INTERMEDIATE CODE: R250