JP2010000934A - ラジエータ冷却構造 - Google Patents

ラジエータ冷却構造 Download PDF

Info

Publication number
JP2010000934A
JP2010000934A JP2008161915A JP2008161915A JP2010000934A JP 2010000934 A JP2010000934 A JP 2010000934A JP 2008161915 A JP2008161915 A JP 2008161915A JP 2008161915 A JP2008161915 A JP 2008161915A JP 2010000934 A JP2010000934 A JP 2010000934A
Authority
JP
Japan
Prior art keywords
outside air
engine
radiator
bonnet
heat
Prior art date
Legal status (The legal status is an assumption and is not a legal conclusion. Google has not performed a legal analysis and makes no representation as to the accuracy of the status listed.)
Granted
Application number
JP2008161915A
Other languages
English (en)
Other versions
JP5253900B2 (ja
Inventor
Masaya Osugi
匡哉 尾杉
Current Assignee (The listed assignees may be inaccurate. Google has not performed a legal analysis and makes no representation or warranty as to the accuracy of the list.)
TCM Corp
Original Assignee
TCM Corp
Priority date (The priority date is an assumption and is not a legal conclusion. Google has not performed a legal analysis and makes no representation as to the accuracy of the date listed.)
Filing date
Publication date
Application filed by TCM Corp filed Critical TCM Corp
Priority to JP2008161915A priority Critical patent/JP5253900B2/ja
Publication of JP2010000934A publication Critical patent/JP2010000934A/ja
Application granted granted Critical
Publication of JP5253900B2 publication Critical patent/JP5253900B2/ja
Expired - Fee Related legal-status Critical Current
Anticipated expiration legal-status Critical

Links

Images

Classifications

    • BPERFORMING OPERATIONS; TRANSPORTING
    • B66HOISTING; LIFTING; HAULING
    • B66FHOISTING, LIFTING, HAULING OR PUSHING, NOT OTHERWISE PROVIDED FOR, e.g. DEVICES WHICH APPLY A LIFTING OR PUSHING FORCE DIRECTLY TO THE SURFACE OF A LOAD
    • B66F9/00Devices for lifting or lowering bulky or heavy goods for loading or unloading purposes
    • B66F9/06Devices for lifting or lowering bulky or heavy goods for loading or unloading purposes movable, with their loads, on wheels or the like, e.g. fork-lift trucks
    • B66F9/075Constructional features or details
    • B66F9/07595Cooling arrangements for device or operator

Landscapes

  • Engineering & Computer Science (AREA)
  • Transportation (AREA)
  • Structural Engineering (AREA)
  • Civil Engineering (AREA)
  • Life Sciences & Earth Sciences (AREA)
  • Geology (AREA)
  • Mechanical Engineering (AREA)
  • Cooling, Air Intake And Gas Exhaust, And Fuel Tank Arrangements In Propulsion Units (AREA)
  • Forklifts And Lifting Vehicles (AREA)

Abstract

【課題】 ラジエータの冷却効果を上げることができるラジエータ冷却構造を簡単な機構で実現する。
【解決手段】 車両のエンジン100の後部においてボンネット10に外気導入部1を設けるとともに、外気導入部1の内部においてボンネット10の下面に垂設され、エンジン100からの熱を遮断するための耐熱樹脂製の遮熱板2を設け、遮熱板2の整流作用により、外気導入部1から導入された外気をエンジン100後方のラジエータ101に導くようにした。外気導入部1は、ボンネット10の上面に形成された開口10aと、ボンネット10の上部に設けられ、開口10aに連通する外気導入口11aを有するフード11とから構成されている。
【選択図】 図1

Description

本発明は、ラジエータ冷却構造に関し、詳細には、ラジエータの冷却効果を上げるための構造の改良に関する。
一般に、フォークリフト等の産業車両や自動車のエンジンには、エンジンを冷却するための冷却水を貯留するラジエータが設けられており、車両外部から導入された外気は冷却ファンによってラジエータに導風されることにより、ラジエータ内の冷却水を冷却している。
従来構造のフォークリフトの場合、特開2004−196529号公報の図4に示すように、外気はエンジン下方からエンジンルーム内に導入され、エンジン周りを通過した後、冷却ファンによりファンシュラウド内を流れてラジエータに導風されるようになっている。
しかしながら、前記従来の構造では、ラジエータに導風される外気は、エンジン周りを通過する際に、エンジンの熱により加熱されるため、ラジエータの冷却効果を上げるにも限界があるという問題があった。
特開2004−196529号公報(図4参照)
本発明は、このような従来の実情に鑑みてなされたものであり、本発明が解決しようとする課題は、ラジエータの冷却効果を上げることができるラジエータ冷却構造を簡単な機構で実現することにある。
請求項1の発明に係るラジエータ冷却構造は、車両のエンジン後部においてボンネットに外気導入部を設けるとともに、外気導入部の内部においてエンジンからの熱を遮断するための遮熱板を設け、遮熱板の整流作用により、外気導入部から導入された外気をエンジン後方のラジエータに導くようにしている。
請求項1の発明によれば、外気は、ボンネットの外気導入部から車両のエンジン後部に導入され、外気導入部内部の遮熱板の整流作用により、エンジン後方のラジエータに導かれる。
この場合には、外気導入部がボンネットのエンジン後部位置に配置されていることにより、外気導入部から導入された外気は、エンジンの周囲を流れることなく、エンジン後部に導入される。これにより、導入された外気がエンジン周りを通過することでエンジンの熱により加熱されるのを防止できる。しかも、この場合には、外気導入部の内部に、エンジンからの熱を遮断するための遮熱板が設けられているので、導入された外気がエンジンの輻射熱で加熱されるのを防止できる。さらに、遮熱板を外気導入部の内部に設けたことで、導入された外気を遮熱板の作用で整流させてエンジン後方のラジエータに導くことができるので、外気を効率よくラジエータに導風できる。
請求項2の発明では、請求項1において、外気導入部が、ボンネットの上面に形成された開口と、ボンネットの上部に設けられ、開口に連通する外気導入口を有するフードとから構成されている。
請求項2の発明においては、外気は、フードの外気導入口を介して、ボンネット上面の開口に導入する。この場合には、フードを設けることで、車両前方からの外気を効率よくボンネット内部に導入することができる。
請求項3の発明では、請求項1において、遮熱板がボンネットの下面に垂設されている。
この場合には、遮熱板をエンジンから離して配置することができ、遮熱板がエンジンブロックで直接加熱されるのを防止できる。
請求項4の発明では、請求項1において、遮熱板が耐熱樹脂製である。
この場合には、樹脂製にすることにより、任意の形状のものを容易に成形でき、外気に対する整流作用を向上できるとともに、ボンネット内部への取付けが容易になる。また、耐熱性のものを用いることで、寿命を向上できる。
請求項5の発明では、請求項1において、遮熱板が、熱伝導性の低い材料から構成されている。
この場合には、熱伝導性の低い材料を用いることで、遮熱板の断熱作用が大きくなって、導入された外気がエンジンの輻射熱で加熱されるのを確実に防止できるようになる。
請求項6の発明では、請求項1において、当該車両が産業車両である。
一般に、フォークリフト等の産業車両は、低速で走行する場合が多いため、外気を効率よくラジエータまで導風する必要があるが、本願の請求項1の発明によれば、ボンネットに外気導入部が設けられ、走行中の外気を当該外気導入部により効率よくボンネット内部に導入することができるので、産業車両用のラジエータ冷却構造に好適である。
以上のように本発明によれば、車両のエンジン後部においてボンネットに外気導入部を設けるとともに、外気導入部の内部においてエンジンからの熱を遮断する遮熱板を設けたので、外気はボンネットの外気導入部から車両のエンジン後部に導入され、外気導入部内部の遮熱板の整流作用により、エンジン後方のラジエータに導かれる。この場合には、外気導入部をボンネットのエンジン後部位置に設けたことにより、外気導入部から導入された外気が、エンジンの周囲を流れることなくエンジン後部に導入されるので、導入された外気がエンジン周りを通過することでエンジンの熱により加熱されるのを防止できる。また、エンジンからの熱を遮断するための遮熱板を外気導入部の内部に設けたので、導入された外気がエンジンの輻射熱で加熱されるのを防止できる。さらに、遮熱板を外気導入部の内部に設けたことで、導入された外気を遮熱板の作用で整流させてエンジン後方のラジエータに導くことができ、これにより、外気を効率よくラジエータに導風できる。
以下、本発明の実施例を添付図面に基づいて説明する。
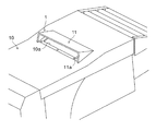
図1ないし図3は、本発明の一実施例によるラジエータ冷却構造を説明するための図であって、図1は本実施例によるラジエータ冷却構造を採用するフォークリフトのエンジンルームの側面図、図2はラジエータ冷却構造を構成するフードおよび外気導入口の斜視図、図3はラジエータ冷却構造を構成する遮熱板の斜視図である。なお、各図において、左方が車両の前方を示し、右方が車両の後方を示している。
図1ないし図3に示すように、フォークリフトのボンネット10には、外気導入部1が設けられている。外気導入部1は、エンジン100の後部に配置されている。外気導入部1は、ボンネット10の上面に形成された開口10aと、ボンネット10の上部に設けられ、開口10aに連通する外気導入口11aを有するフード11とから構成されている。外気導入口11aは、車両の前方に開口している。
外気導入部1の内部には、エンジン100からの熱を遮断するための遮熱板2が設けられている。遮熱板2は、開口10aの前側開口縁部またはその近傍に配置されている。遮熱板2は、取付部材20を介してボンネット10の下面に垂設されている。上述した外気導入部1および遮熱板2により、本実施例によるラジエータ冷却構造が構成されている。
遮熱板2は、耐熱樹脂から構成されているのが好ましく、より好ましくは、熱伝導性の低い材料から構成されている。
また、図1に示すように、エンジン100の後方には、ラジエータ101が設けられている。ラジエータ101の前面には、インタークーラ102およびオイルクーラ103が設けられており、これらの前方にさらにファンシュラウド104が設けられている。
上述のように構成されたラジエータ冷却構造においては、外気は、ボンネット10上に設けられた外気導入部1のフード11の外気導入口11aからフード11内に導入されるとともに、ボンネット10の開口10aを通って、ボンネット10内部のエンジンルーム内に導入される(図1中の外気の流れを示す矢印参照)。
エンジンルーム内に導入された外気は、遮熱板2によって整流されて、エンジン100の後方のファンシュラウド104に導かれ、ファンシュラウド104からラジエータ101に導風される(図1中の外気の流れを示す矢印参照)。なお、図1の下部に示すように、外気は、車両の底部からも導入されており、この外気もファンシュラウド104に導入されている。
この場合には、外気導入部1がボンネット10のエンジン後部位置に配置されていることにより、外気導入部1から導入された外気は、エンジン100の周囲を流れることなく、エンジン100後部に導入される。これにより、導入された外気がエンジン周りを通過することでエンジン100の熱により加熱されるのを防止できる。しかも、この場合には、外気導入部100の内部に、エンジン100からの熱を遮断するための遮熱板2が設けられているので、導入された外気がエンジン100の輻射熱で加熱されるのを防止できる。さらに、遮熱板2を外気導入部1の内部に設けたことで、導入された外気を遮熱板2の作用で整流させてエンジン後方のラジエータ101に導くことができるので、外気を効率よくラジエータに導風できる。
また、この場合、外気導入部1として、ボンネット10上面の開口10aに連通する外気導入口11aを有するフード11が設けられているので、車両前方からの外気を効率よくボンネット内部に導入することができる。
さらに、遮熱板2がボンネット10の下面に垂設されているので、遮熱板を2エンジン100から離して配置することができ、遮熱板2がエンジンブロックで直接加熱されるのを防止できる。
なお、遮熱板2を耐熱樹脂製にしたことにより、寿命を向上できるとともに、任意の形状のものを容易に成形でき、外気に対する整流作用を向上できる。また、遮熱板2が、熱伝導性の低い材料から構成されているので、遮熱板2の断熱作用が大きくなって、導入された外気がエンジン100の輻射熱で加熱されるのを確実に防止できるようになる。
前記実施例では、本発明によるラジエータ冷却構造が適用される車両として、フォークリフトを例にとって説明したが、本発明は、フォークリフト以外の産業車両にも適用できる。一般に、フォークリフト等の産業車両は、低速で走行する場合が多いため、外気を効率よくラジエータまで導風する必要があるが、本発明によれば、ボンネットに外気導入部が設けられており、走行中の外気を当該外気導入部により効率よくボンネット内部に導入することができるので、産業車両用のラジエータ冷却構造に好適である。さらに、本発明は、産業車両のみならず、自動車にも適用可能である。
本発明の一実施例によるラジエータ冷却構造を有するフォークリフトのエンジンルームの側面図である。 ラジエータ冷却構造(図1)を構成するフードおよび外気導入口の斜視図である。 ラジエータ冷却構造(図1)を構成する遮熱板の斜視図である。
符号の説明
1: 外気導入部

2: 遮熱板

10: ボンネット
10a: 開口
11: フード
11a: 外気導入口

100: エンジン
101: ラジエータ

Claims (6)

  1. ラジエータ冷却構造であって、
    車両のエンジン後部においてボンネットに外気導入部を設けるとともに、前記外気導入部の内部においてエンジンからの熱を遮断するための遮熱板を設け、前記遮熱板の整流作用により、前記外気導入部から導入された外気をエンジン後方のラジエータに導くようにした、
    ことを特徴とするラジエータ冷却構造。
  2. 請求項1において、
    前記外気導入部が、前記ボンネットの上面に形成された開口と、前記ボンネットの上部に設けられ、前記開口に連通する外気導入口を有するフードとから構成されている、
    ことを特徴とするラジエータ冷却構造。
  3. 請求項1において、
    前記遮熱板が前記ボンネットの下面に垂設されている、
    ことを特徴とするラジエータ冷却構造。
  4. 請求項1において、
    前記遮熱板が耐熱樹脂製である、
    ことを特徴とするラジエータ冷却構造。
  5. 請求項1において、
    前記遮熱板が、熱伝導性の低い材料から構成されている、
    ことを特徴とするラジエータ冷却構造。
  6. 請求項1において、
    当該車両が産業車両である、
    ことを特徴とするラジエータ冷却構造。
JP2008161915A 2008-06-20 2008-06-20 ラジエータ冷却構造 Expired - Fee Related JP5253900B2 (ja)

Priority Applications (1)

Application Number Priority Date Filing Date Title
JP2008161915A JP5253900B2 (ja) 2008-06-20 2008-06-20 ラジエータ冷却構造

Applications Claiming Priority (1)

Application Number Priority Date Filing Date Title
JP2008161915A JP5253900B2 (ja) 2008-06-20 2008-06-20 ラジエータ冷却構造

Publications (2)

Publication Number Publication Date
JP2010000934A true JP2010000934A (ja) 2010-01-07
JP5253900B2 JP5253900B2 (ja) 2013-07-31

Family

ID=41583010

Family Applications (1)

Application Number Title Priority Date Filing Date
JP2008161915A Expired - Fee Related JP5253900B2 (ja) 2008-06-20 2008-06-20 ラジエータ冷却構造

Country Status (1)

Country Link
JP (1) JP5253900B2 (ja)

Citations (4)

* Cited by examiner, † Cited by third party
Publication number Priority date Publication date Assignee Title
JPS578114U (ja) * 1980-06-17 1982-01-16
JP2002021565A (ja) * 2000-07-11 2002-01-23 Komatsu Ltd 建設車両のエンジン囲い
JP2003237386A (ja) * 2002-02-18 2003-08-27 Calsonic Kansei Corp ラジエータのファンシュラウド
JP2007001526A (ja) * 2005-06-27 2007-01-11 Mazda Motor Corp 車両の補機支持構造

Patent Citations (4)

* Cited by examiner, † Cited by third party
Publication number Priority date Publication date Assignee Title
JPS578114U (ja) * 1980-06-17 1982-01-16
JP2002021565A (ja) * 2000-07-11 2002-01-23 Komatsu Ltd 建設車両のエンジン囲い
JP2003237386A (ja) * 2002-02-18 2003-08-27 Calsonic Kansei Corp ラジエータのファンシュラウド
JP2007001526A (ja) * 2005-06-27 2007-01-11 Mazda Motor Corp 車両の補機支持構造

Also Published As

Publication number Publication date
JP5253900B2 (ja) 2013-07-31

Similar Documents

Publication Publication Date Title
JP5963196B2 (ja) 鞍乗り型車両におけるラジエータの通風構造
JP5085205B2 (ja) ラジエータシール構造
US8763735B2 (en) Cooling system for electric vehicle and cooling method for electrical component
CN106794744B (zh) 具有处于车身内部的冷却的设备室的机动车
JP2013180609A (ja) 車両用アンダーカバー
JP4811444B2 (ja) 作業機械
JP2012241600A (ja) 冷却装置
JP2005163758A (ja) 熱交換装置
JP5253900B2 (ja) ラジエータ冷却構造
EP2574158B1 (en) Electronic component casing
CN106103168B (zh) 用于机动车辆的增压空气冷却器的栅
KR20150073322A (ko) 차량용 루프형 공조장치
CN105626232B (zh) 具有用于防止车辆中的热损伤的空气引导装置的散热器
JP2005186851A (ja) 自動車の冷却風導入構造
JP2012127202A (ja) 車両用排気ガスセンサの冷却装置
JP2017056838A (ja) 車両
JP6147534B2 (ja) 鞍乗型車両
JP2004336971A (ja) ハーネスの配索構造
KR101936723B1 (ko) 쿨링모듈
JP7313776B2 (ja) 車両前部構造
KR20080045374A (ko) 자동차용 엔진의 열해방지 구조
KR101374771B1 (ko) 차량용 엔진 보조냉각장치
JP2018075925A (ja) 車両の冷却器構造
JP2005104359A (ja) フロントエンドパネル
JP2006298190A (ja) エアー取り入れ装置

Legal Events

Date Code Title Description
A621 Written request for application examination

Free format text: JAPANESE INTERMEDIATE CODE: A621

Effective date: 20110531

A131 Notification of reasons for refusal

Free format text: JAPANESE INTERMEDIATE CODE: A131

Effective date: 20120925

A977 Report on retrieval

Free format text: JAPANESE INTERMEDIATE CODE: A971007

Effective date: 20120928

A521 Request for written amendment filed

Free format text: JAPANESE INTERMEDIATE CODE: A523

Effective date: 20121126

TRDD Decision of grant or rejection written
A01 Written decision to grant a patent or to grant a registration (utility model)

Free format text: JAPANESE INTERMEDIATE CODE: A01

Effective date: 20130415

A61 First payment of annual fees (during grant procedure)

Free format text: JAPANESE INTERMEDIATE CODE: A61

Effective date: 20130417

R150 Certificate of patent or registration of utility model

Ref document number: 5253900

Country of ref document: JP

Free format text: JAPANESE INTERMEDIATE CODE: R150

Free format text: JAPANESE INTERMEDIATE CODE: R150

FPAY Renewal fee payment (event date is renewal date of database)

Free format text: PAYMENT UNTIL: 20160426

Year of fee payment: 3

R250 Receipt of annual fees

Free format text: JAPANESE INTERMEDIATE CODE: R250

R250 Receipt of annual fees

Free format text: JAPANESE INTERMEDIATE CODE: R250

S111 Request for change of ownership or part of ownership

Free format text: JAPANESE INTERMEDIATE CODE: R313111

S531 Written request for registration of change of domicile

Free format text: JAPANESE INTERMEDIATE CODE: R313531

S533 Written request for registration of change of name

Free format text: JAPANESE INTERMEDIATE CODE: R313533

R350 Written notification of registration of transfer

Free format text: JAPANESE INTERMEDIATE CODE: R350

LAPS Cancellation because of no payment of annual fees