JP2010000757A - ホログラム積層体の製造方法およびホログラム熱転写装置 - Google Patents

ホログラム積層体の製造方法およびホログラム熱転写装置 Download PDF

Info

Publication number
JP2010000757A
JP2010000757A JP2008163412A JP2008163412A JP2010000757A JP 2010000757 A JP2010000757 A JP 2010000757A JP 2008163412 A JP2008163412 A JP 2008163412A JP 2008163412 A JP2008163412 A JP 2008163412A JP 2010000757 A JP2010000757 A JP 2010000757A
Authority
JP
Japan
Prior art keywords
hologram
transfer
layer
foil
hologram transfer
Prior art date
Legal status (The legal status is an assumption and is not a legal conclusion. Google has not performed a legal analysis and makes no representation as to the accuracy of the status listed.)
Granted
Application number
JP2008163412A
Other languages
English (en)
Other versions
JP5252274B2 (ja
Inventor
Nobuko Oikawa
川 伸 子 老
Koji Eto
藤 浩 司 衛
Current Assignee (The listed assignees may be inaccurate. Google has not performed a legal analysis and makes no representation or warranty as to the accuracy of the list.)
Dai Nippon Printing Co Ltd
Original Assignee
Dai Nippon Printing Co Ltd
Priority date (The priority date is an assumption and is not a legal conclusion. Google has not performed a legal analysis and makes no representation as to the accuracy of the date listed.)
Filing date
Publication date
Application filed by Dai Nippon Printing Co Ltd filed Critical Dai Nippon Printing Co Ltd
Priority to JP2008163412A priority Critical patent/JP5252274B2/ja
Publication of JP2010000757A publication Critical patent/JP2010000757A/ja
Application granted granted Critical
Publication of JP5252274B2 publication Critical patent/JP5252274B2/ja
Active legal-status Critical Current
Anticipated expiration legal-status Critical

Links

Images

Landscapes

  • Holo Graphy (AREA)
  • Decoration By Transfer Pictures (AREA)

Abstract

【課題】バリを発生させること無く被転写媒体にホログラム転写箔を熱圧着することが容易にできる体積型ホログラム積層体の製造方法およびホログラム熱転写装置を提供する。
【解決手段】ホログラム熱転写装置50は、受ローラー10間で、ホログラム転写箔18と被転写媒体14を挟持し、ホログラム転写箔18のホログラム転写層を被転写媒体14に熱圧着する加熱ローラー11を備えている。受ローラー10及び加熱ローラー11の下流側に、ホログラム転写箔18の基材をホログラム転写層から剥離し、被転写媒体14に熱圧着されたホログラム転写層を、それ以外のホログラム転写層から分離する剥離ローラー16が設けられている。受ローラー10及び加熱ローラー11と、剥離ローラー16間に、ホログラム転写箔18のホログラム転写層側から基材に向って延びかつ基材を残す切断部30を形成する切断機構19が設けられている。
【選択図】図1

Description

本発明は、バリを発生させること無く被転写媒体にホログラム転写箔を熱転写することができるホログラム積層体の製造方法およびホログラム熱転写装置に関する。
現在、小切手、商品券等の有価証券、通帳、パスポート、IDカード等の身分証明書類、及び紙幣の偽造が増加しており、その被害は甚大である。この為、従来から、ホログラムを用いた画像形成方法が採用されている。ホログラムは、見る角度によって画像の見え方が変化するという特徴を有し、かつ、モノクロコピー機(カラーコピー機)では複製できないため、比較的セキュリティ性が高いものとされている。
しかしながら、近年、ホログラムの代表例であるレリーフ型ホログラムであっても、その偽造品(模造品)が市場に出回っているのが実情である。レリーフ型ホログラムと別の原理を用いたホログラムとして、体積型ホログラムが挙げられる。体積型ホログラムは、特殊な感光材料にレーザーを用いて画像を形成するものであることから、レリーフ型ホログラムよりもセキュリティ性が高いものとされ、近年、偽造防止手段としての用途が期待されている。
体積型ホログラムは屈折率の異なる複数の材料が用いられるのが一般的であり、通常は特定の光を照射することによって重合させることが可能な光重合性材料が用いられている。このため、体積型ホログラムは機械強度が大きくなる傾向にあることが一般に知られている。また、体積型ホログラムは、屈折率差が三次元的に配列されることによりホログラム像が記録されるという性質上、ホログラムが形成される層の厚みが厚くなる傾向にある。このため、体積型ホログラム転写箔を用いて転写する場合には、レリーフホログラム転写箔と比べて箔切れ性は悪く、体積型ホログラム転写箔が転写領域範囲を超えて被転写媒体に残ってしまう、バリという不良が大きく発生しやすい。
一般的な転写箔のバリの問題を解決するために、バリを切除することができる刃物を設けた画像形成装置が開示されている(特許文献1参照)。熱圧着、剥離工程後に被転写体に残ったバリは刃物により切断され、また切断されたバリはブラシによって掃かれ、片付けられる。
特開平11−58882号公報
しかしながら、特許文献1に示す従来技術においては、熱圧着、剥離工程後にバリを切断するため、箔カスが生じる。このため、箔カスを除去する設備が設けてある。通常の転写箔やレリーフホログラム転写箔においては、バリを切断した箔カスが微小であるため、箔カスの除去が容易であるが、体積型ホログラム転写箔で発生するバリは通常の場合に比べて大きいものであるため、特許文献1に開示してあるような除去設備では箔カスの除去が困難である。従って、さらに大掛かりな箔カス除去設備が特別に必要となり、熱転写装置の構成が複雑になるとともにコストもアップするという問題があった。
本発明は、このような点を考慮してなされたものであり、バリを発生させること無く被転写媒体にホログラム転写層を熱転写することが容易にできる体積型ホログラム積層体の製造方法およびホログラム熱転写装置を提供することを目的とする。
本発明は、基材と、少なくとも体積型ホログラム層を含むホログラム転写層とを有するホログラム転写箔を準備する工程と、ホログラム転写箔を被転写媒体に、そのホログラム転写層が被転写媒体側を向くよう重ねる工程と、ホログラム転写箔を被転写媒体に加熱押圧し、ホログラム転写層を被転写媒体に熱圧着する工程と、ホログラム転写箔の基材をホログラム転写層から剥離するとともに、熱圧着されたホログラム転写層を、それ以外のホログラム転写層から分離して、所定形状を有し少なくとも体積型ホログラム層を含むホログラム積層体を被転写媒体上に形成する工程と、を備え、ホログラム転写箔の熱圧着工程とホログラム積層体の形成工程との間で、ホログラム転写箔のうちホログラム積層体の少なくとも1つの縁に対応する部分に、ホログラム転写箔のホログラム転写層側から基材に向って延びかつ基材を残す切断部を形成したことを特徴とする体積型ホログラム積層体の製造方法である。
本発明は、受ローラーと、受ローラーとの間で、基材と、少なくとも体積型ホログラム層を含むホログラム転写層とを有するホログラム転写箔と、被転写媒体とを挟持して、ホログラム転写層を加熱押圧して被転写媒体に熱圧着する加熱ローラーと、受ローラーおよび加熱ローラーの下流側に設けられ、ホログラム転写箔の基材をホログラム転写層から剥離するとともに、熱圧着されたホログラム転写層を、それ以外のホログラム転写層から分離して、所定形状を有し少なくとも体積型ホログラム層を含むホログラム積層体を被転写媒体上に形成する剥離部材と、を備え、受ローラーおよび加熱ローラーと、剥離部材との間に、ホログラム転写箔のうちホログラム積層体の少なくとも1つの縁に対応する部分にホログラム転写箔のホログラム転写層側から基材に向って延びかつ基材を残す切断部を形成する切断機構を設けたことを特徴とするホログラム熱転写装置である。
本発明は、基材と、少なくとも体積型ホログラム層を含むホログラム転写層とを有するホログラム転写箔を準備する工程と、ホログラム転写箔を被転写媒体に、そのホログラム転写層が被転写媒体側を向くよう重ねる工程と、ホログラム転写箔を被転写媒体に加熱押圧し、ホログラム転写層を被転写媒体に熱圧着する工程と、ホログラム転写箔の基材をホログラム転写層から剥離するとともに、熱圧着されたホログラム転写層を、それ以外のホログラム転写層から分離して、所定形状を有し少なくとも体積型ホログラム層を含むホログラム積層体を被転写媒体上に形成する工程と、を備え、ホログラム積層体の形成工程において、ホログラム転写層のうちホログラム積層体の少なくとも1つの縁に対応する部分に、被転写媒体に向って延びる切断部を形成したことを特徴とする体積型ホログラム積層体の製造方法である。
本発明は、受ローラーと、受ローラーとの間で、基材と、少なくとも体積型ホログラム層を含むホログラム転写層とを有するホログラム転写箔と、被転写媒体とを挟持して、ホログラム転写層を加熱押圧して被転写媒体に熱圧着する加熱ローラーと、受ローラーおよび加熱ローラーの下流側に設けられ、ホログラム転写箔の基材をホログラム転写層から剥離するとともに、熱圧着されたホログラム転写層を、それ以外のホログラム転写層から分離して、所定形状を有し少なくとも体積型ホログラム層を含むホログラム積層体を被転写媒体上に形成する剥離部材と、を備え、剥離部材下流に、ホログラム転写層のうちホログラム積層体の少なくとも1つの縁に対応する部分に被転写媒体に向って延びる切断部を形成する切断機構を設けたことを特徴とするホログラム熱転写装置である。
本発明は、ホログラム転写層は剥離性保護層、体積型ホログラム層、接着剤層を有することを特徴とする体積型ホログラム積層体の製造方法である。
本発明は、ホログラム転写層は剥離性保護層、体積型ホログラム層、接着剤層を有することを特徴とするホログラム熱転写装置である。
本発明によれば、ホログラム転写箔の熱圧着工程とホログラム積層体の形成工程との間で、ホログラム転写箔のうちホログラム積層体の少なくとも1つの縁に対応する部分に、ホログラム転写箔のホログラム転写層側から基材に向って延びかつ基材を残す切断部を形成することができる。このため、ホログラム積層体の少なくとも1つの縁に対応する部分において、熱圧着されたホログラム転写層をそれ以外のホログラム転写層からこの切断部を介して精度よく分離することができる。このため、被転写媒体上にバリのない精度の良好なホログラム積層体を形成することができる。
また本発明によれば、被転写媒体にホログラム転写体を形成する際、ホログラム転写層のうちホログラム積層体の少なくとも1つの縁に対応する部分に、被転写媒体に向って延びる切断部を形成することができる。このため、ホログラム積層体の少なくとも1つの縁に対応する部分において、熱圧着されたホログラム転写層をそれ以外のホログラム転写層からこの切断部を介して精度よく分離することができる。このため、被転写媒体上にバリのない精度の良好なホログラム積層体を形成することができる。
第1の実施の形態
以下、図面を参照して、本発明の第1の実施の形態について説明する。ここで、図1乃至図9は、本発明の第1の実施の形態における体積型ホログラム積層体の製造方法およびホログラム熱転写装置を示す図である。このうち図1は、本発明の第1の実施の形態におけるホログラム熱転写装置を示す図であり、図2は、本発明の第1の実施の形態において、被転写媒体上に形成されたホログラム積層体を示す図である。図3および図4は、本発明の第1の実施の形態において、被転写媒体にホログラム転写層を熱圧着する工程を示す図である。図5は、被転写媒体にバリが生じる比較例を示す図であり、図6は、本発明の第1の実施の形態において、ホログラム転写箔に形成された切断部を示す図である。図7は、本発明の第1の実施の形態において、ホログラム積層体が形成された被転写媒体を示す図であり、図8は、本発明の第1の実施の形態におけるホログラム転写箔の構成を示す図である。図9は、本発明の第1の実施の形態の他の変形例におけるホログラム転写箔の構成を示す図である。
ホログラム積層体、ホログラム転写箔
まず図7および図8により、本発明による体積型ホログラム積層体の製造方法およびホログラム熱転写装置により形成されるホログラム積層体、およびホログラム積層体を形成するために用いられるホログラム転写箔について説明する。図7に示すように、本発明による体積型ホログラム積層体の製造方法およびホログラム熱転写装置により、被転写媒体14上に熱転写によりホログラム積層体22が形成される。ホログラム積層体22は所定形状を有し、後述のように少なくとも体積型ホログラム層26を含んでいる。またホログラム積層体22の前縁37は、被転写媒体14の前縁43と略同一鉛直線上に位置している。同様にホログラム積層体22の後縁28は、被転写媒体14の後縁44と略同一鉛直線上に位置している。なおホログラム積層体22の前縁37は被転写媒体14の前縁43と略同一鉛直線上に位置し、ホログラム積層体22の後縁28は被転写媒体14の後縁44と略同一鉛直線上に位置しているが、例えばホログラム積層体22の前縁37は、被転写媒体14の前縁43よりも内側に位置していてもよく、またホログラム積層体22の後縁28が被転写媒体14の後縁44よりも内側に位置していてもよい。なお、略同一とは、本発明の趣旨を失わない範囲で、同一に近い範囲を含むことを意味する。
なお、被転写媒体14の前縁43は、熱圧着工程において被転写媒体14を搬送する向きに対して、被転写媒体14の前方に位置する縁であり、被転写媒体14の後縁44は、熱圧着工程において被転写媒体14を搬送する向きに対して、被転写媒体14の後方に位置する縁である。同様に、ホログラム積層体22の前縁37は、熱圧着工程において被転写媒体14を搬送する向きに対して、ホログラム積層体22の前方に位置する縁であり、ホログラム積層体22の後縁28は、熱圧着工程において被転写媒体14を搬送する向きに対して、ホログラム積層体22の後方に位置する縁である。
本発明による体積型ホログラム積層体の製造方法およびホログラム熱転写装置によりホログラム積層体22が形成される被転写媒体14としては、例えば銀行券、株券、小切手などの紙や、プラスチックフィルム、通帳、パスポートなどの紙やプラスチックからなる冊子、IDカード、銀行カードなどのカード類などが挙げられる。特に、被転写媒体14が紙やプラスチックフィルムなどの比較的薄い場合に、本発明による体積型ホログラム積層体の製造方法およびホログラム熱転写装置を用いると、被転写媒体14が破損することなく体積型ホログラム積層体22を被転写媒体14上に形成することができるので、本発明は有効である。また、特に被転写媒体が冊子である場合には、頁の折れ、ゆがみなどが少しでもおこると製品価値がなくなるが、本発明によると、冊子の変形・破損を好適に防止できるため、本発明は有効である。
次にホログラム積層体22を構成する各層について説明する。ホログラム積層体22は、外方から順に配置された剥離性保護層25と、体積型ホログラム層26と、接着剤層27とを有する。
このうち剥離性保護層25は、例えばポリメチルアクリレート、ポリメチルメタクリレート等のアクリル系およびメタアクリル系樹脂、ポリ塩化ビニル樹脂、セルロース樹脂、シリコーン樹脂、塩化ゴム、カゼイン、各種界面活性剤、金属酸化物等のうちの一種類または二種類以上を混合したもの等からなる。後述のように、剥離性保護層25は加熱ローラー11から加えられる熱により基材23との剥離が容易となり、これによりホログラム転写箔18の基材23からホログラム転写層24が剥離される。剥離性保護層25の厚さは、例えば約1マイクロメートル(1μm)となっている。
体積型ホログラム層26の構成材料は、体積型ホログラムを記録することができるものであれば特に限定されるものではなく、一般的に体積型ホログラムに用いられる材料を任意に用いることができる。このような材料としては、例えば、銀塩材料、重クロム酸ゼラチン乳剤、光重合性樹脂、光架橋性樹脂等の公知の体積型ホログラム記録材料を挙げることができる。このような材料にレーザー干渉縞を記録して作製されるため、体積型ホログラム層26は、複製が困難であり偽造される可能性の低い体積型ホログラムからなっている。体積型ホログラム層26の厚さは、適宜調整することができるが、通常は1マイクロメートル(1μm)以上50マイクロメートル(50μm)以下程度の範囲であり、好ましくは下限が3マイクロメートル(3μm)以上であり、上限が25マイクロメートル(25μm)以下である。
接着剤層27は、いずれの材料で形成されていてもよいが、熱接着性のものが好ましく、例えば、熱可塑性樹脂が用いられる。熱可塑性樹脂としては、例えば、マレイン酸変性塩化ビニル-酢酸ビニル共重合樹脂、エチレン−酢酸ビニル共重合樹脂、塩化ビニル−酢酸ビニル共重合樹脂、ポリアミド樹脂、ポリエステル樹脂、ポリエチレン樹脂、エチレン−イソブチルアクリレート共重合樹脂、ブチラール樹脂、ポリ酢酸ビニルおよびその共重合体樹脂、アイオノマー樹脂、酸変性ポリオレフィン系樹脂、アクリル系・メタクリル系などの(メタ)アクリル系樹脂、アクリル酸エステル系樹脂、エチレン・(メタ)アクリル酸共重合体、エチレン・(メタ)アクリル酸エステル共重合体、ポリメチルメタクリレート系樹脂、セルロース系樹脂、ポリビニルエーテル系樹脂、ポリウレタン樹脂、ポリカーボネート樹脂、ポリプロピレン樹脂、エポキシ樹脂、フェノール樹脂、ビニル系樹脂、マレイン酸樹脂、アルキッド樹脂、ポリエチレンオキサイド樹脂、ユリア樹脂、メラミン樹脂、メラミン・アルキッド樹脂、シリコーン樹脂、ゴム系樹脂、スチレンブタジエンスチレンブロック共重合体(SBS)、スチレンイソプレンスチレンブロック共重合体(SIS)、スチレンエチレンブチレンスチレンブロック共重合体(SEBS)、スチレンエチレンプロピレンスチレンブロック共重合体(SEPS)等のうちの一種類または二種類以上のものを挙げることができる。
また、接着剤層27は、添加剤として、分散剤、充填剤、可塑剤、帯電防止剤等を添加することが可能である。接着剤層27は被転写媒体14と体積型ホログラム層26とを接着する機能を有している。接着剤層27の厚さは、特に限定されるものではなく適宜設定することができるが、通常は0.3マイクロメートル(0.3μm)以上50マイクロメートル(50μm)以下程度の範囲であり、好ましくは下限が0.5マイクロメートル(0.5μm)以上であり、上限が25マイクロメートル(25μm)以下である。厚みが上記範囲内にあることにより、接着剤層27の接着性がよくなり、また加熱時間を短縮することが可能となる。
次に、ホログラム積層体22を形成するために用いられるホログラム転写箔18について説明する。ホログラム転写箔18は、図8に示すように、基材23と、ホログラム転写層24とを備える。
このうち基材23は、ホログラム転写層24を支持するものであり、このような機能を発揮するものであれば、いずれのものを使用してもよいが、好ましくは樹脂フィルムである。樹脂フィルムの具体例としては、ポリエチレンテレフタレートフィルム等のポリエステルフィルム、ポリエチレンフィルム、ポリプロピレンフィルム、ポリフッ化エチレン系フィルム、ポリフッ化ビニリデンフィルム、ポリ塩化ビニルフィルム、ポリ塩化ビニリデンフィルム、エチレン−ビニルアルコール共重合体フィルム、ポリビニルアルコールフィルム、ポリメチルメタクリレートフィルム、ポリエーテルスルホンフィルム、ポリエーテルエーテルケトンフィルム、ポリアミドフィルム、テトラフルオロエチレン−パーフルオロアルキルビニルエーテル共重合体フィルム、ポリイミドフィルム等を挙げることができ、好ましくはポリエチレンテレフタレートフィルム等のポリエステルフィルムである。基材23の厚さは、積層されるホログラム転写層24の層構成、種類に応じて適宜定めることが可能であるが、転写方法(転写装置)の操作容易性等を考慮して、通常は2マイクロメートル(2μm)以上200マイクロメートル(200μm)以下程度の範囲であり、好ましくは下限が10マイクロメートル(10μm)以上、上限が50マイクロメートル(50μm)以下である。
またホログラム転写層24は、基材23側から順に配置された剥離性保護層25と、体積型ホログラム層26と、接着剤層27とを有している。これら剥離性保護層25、体積型ホログラム層26、および接着剤層27の各材料については各々ホログラム積層体22のものと同一であるから、詳細な説明は省略する。
ホログラム熱転写装置
次に、図1により、ホログラム熱転写装置50について説明する。ホログラム熱転写装置50は、受ローラー10と、受ローラー10との間で、ホログラム転写箔18と被転写媒体14とを挟持して、ホログラム転写箔18のホログラム転写層24を加熱押圧して被転写媒体14に熱圧着する加熱ローラー11とを備えている。また受ローラー10および加熱ローラー11の下流側に、ホログラム転写箔18の基材23をホログラム転写層24から剥離するとともに、被転写媒体14に熱圧着されたホログラム転写層24を、それ以外のホログラム転写層24から分離する剥離ローラー(剥離部材)16が設けられている。そしてこの剥離ローラー16において、被転写媒体14上に、所定形状を有し、接着剤層27と、体積型ホログラム層26と、剥離性保護層25とを含むホログラム積層体22が形成される。なお、ホログラム転写箔18と被転写媒体14は、受ローラー10および加熱ローラー11から剥離ローラー16側に向って搬送される。
また、受ローラー10および加熱ローラー11と、剥離ローラー16との間に、ホログラム転写箔18のホログラム転写層24側から基材23に向って延びかつ基材23を残す切断部30を形成する切断機構19が設けられている。切断機構19は、切断部30を形成するための切断刃物20と、切断時にホログラム転写箔18を支持する切断台21とを有する。この場合、切断機構19は、後述のようにホログラム転写箔18のうち、ホログラム積層体22の前縁37および後縁28に対応する部分に、図6に示す切断部30を形成する。なお、切断機構19は、ホログラム転写箔18のうち、ホログラム積層体22の前縁37および後縁28のうち1つの縁に対応する部分にのみ、切断部30を形成してもよい。
また受ローラー10および加熱ローラー11の上流に、ホログラム転写箔18を供給する転写箔供給ロール15が設けられ、転写箔供給ロール15から供給されるホログラム転写箔18は、転写箔案内ローラー35を介して受ローラー10および加熱ローラー11に搬送される。さらに受ローラー10および加熱ローラー11の上流に、被転写媒体14を送り出す対向する一対の送出ローラー12、12が設けられている。さらに剥離ローラー16の下流には、被転写媒体14を排出する一対の排出ローラー13、13が設けられ、また剥離ローラー16の下流には、ホログラム転写箔18のうち剥離ローラー16において分離された基材23と、基材23上に残るホログラム転写層24の一部とを巻き取る転写箔巻取りロール17が設けられている。
さらにホログラム熱転写装置50は、受ローラー10、加熱ローラー11、送出ローラー12、排出ローラー13、転写箔供給ロール15、転写箔巻取りロール17、切断機構19を各々制御し駆動する制御装置60を有している。
なお、加熱ローラー11は上下方向に移動することもできる。このことにより、ホログラム積層体22の前縁37を、被転写媒体14の前縁43より内側に形成することができる。同様に、ホログラム積層体22の後縁28を、被転写媒体14の後縁44よりも内側に形成することもできる。なお、加熱ローラー11の上下方向移動については、第3の実施の形態において詳述する。
体積型ホログラム積層体の製造方法
次に、図1乃至図6により、体積型ホログラム積層体22の製造方法について説明する。
まず、図1に示すように、ホログラム転写箔18を巻きつけた転写箔供給ロール15を準備し、ホログラム転写箔18の図示しない先端部を、転写箔案内ローラー35、受ローラー10と加熱ローラー11との間、および剥離ローラー16を順次通して転写箔巻取りロール17まで送り、このホログラム転写箔18の先端部を転写箔巻取りロール17に固定する。他方、被転写媒体14を準備し、対向する一対の送出ローラー12、12から被転写媒体14を加熱ローラー11と受ローラー10との間まで送り出す。
このようにして、図3に示すように、ホログラム転写箔18と被転写媒体14は加熱ローラー11および受ローラー10まで送られ、この加熱ローラー11および受ローラー10において、ホログラム転写箔18が被転写媒体14に、そのホログラム転写層24が被転写媒体14を向くよう重ね合わされる。この場合、加熱ローラー11と受ローラー10との間で、ホログラム転写箔18のホログラム転写層24が被転写媒体14に加熱押圧される。このことにより、ホログラム転写層24が被転写媒体14に熱圧着されるとともに、熱圧着されたホログラム転写層24の剥離性保護層25が加熱により基材23と剥離し易くなり、後工程において、熱圧着されたホログラム転写層24を基材23から剥離することができる。
次に、図1および図4に示すように、ホログラム転写箔18と被転写媒体14が剥離ローラー16にくると、剥離ローラー16においてホログラム転写箔18は被転写媒体14から分離される。すなわち図4に示すように、ホログラム転写箔18の基材23がホログラム転写層24から剥離し、熱圧着されたホログラム転写層24がそれ以外のホログラム転写層24から分離して、被転写媒体14上に、所定形状を有し接着剤層27と、体積型ホログラム層26と、剥離性保護層25とを含むホログラム積層体22が形成される。この場合、剥離ローラー16において、ホログラム転写箔18は転写箔巻取りロール17に向かって送り出され、被転写媒体14は排出ローラー13に向かって送り出される。このことにより、上述のようにホログラム転写箔18の基材23がホログラム転写層24から分離され、被転写媒体14に熱圧着されたホログラム転写層24は、それ以外のホログラム転写層24から分離され、このようにして被転写媒体14上にホログラム積層体22が形成される(図2および図4参照)。
この間、すなわちホログラム転写箔18の熱圧着工程とホログラム積層体22の形成工程との間で、ホログラム転写箔18のうちホログラム積層体22の前縁37および後縁28に対応する部分に、ホログラム転写箔18のホログラム転写層24側から基材23に向って延びかつ基材23を残す切断部30が形成される。まず、図1に示すように、ホログラム積層体22の前縁37に対応する部分が切断刃物20と同一平面上に到達するまで、ホログラム転写箔18および被転写媒体14が送り出される。
上述のように、受ローラー10、加熱ローラー11、送出ローラー12、排出ローラー13、転写箔供給ロール15、転写箔巻取りロール17および切断機構19は各々制御装置60により駆動制御されている。この場合、制御装置60により、これら各種ローラー10、11、12、13、およびロール15、17の駆動回転量に基づいて、ホログラム積層体22の前縁37に対応する部分の位置を求めることができる。
ホログラム積層体22の前縁37に対応する部分が切断刃物20と同一平面上に到達すると、制御装置60は各種ローラー10、11、12、13、およびロール15、17を停止して、ホログラム転写箔18と被転写媒体14の送り出しを停止し、ホログラム転写箔18のホログラム転写層側24から基材23に向って、ホログラム転写箔18に切断刃物20を挿入する。その際、切断刃物20で基材23を切断しないように切断刃物20を挿入する。これにより、図6に示すように、ホログラム転写箔18のうちホログラム積層体22の前縁37に対応する部分に切断刃物20によって切断部30が形成される。同様にして、ホログラム転写箔18のうちホログラム積層体22の後縁28に対応する部分にも切断刃物20によって切断部30を形成することができる。
このように本実施の形態によれば、受ローラー10および加熱ローラー11において、被転写媒体14にホログラム転写層24を熱圧着した後、剥離ローラー16においてホログラム転写箔18の基材23をホログラム転写層24から剥離する前に、ホログラム転写箔18のうちホログラム積層体22の前縁37および後縁28に対応する部分に、ホログラム転写箔18のホログラム転写層24側から基材23に向って延びかつ基材23を残す切断部30を各々形成することができる。これにより、剥離ローラー16において、熱圧着されたホログラム転写層24をそれ以外のホログラム転写層24から切断部30を介して精度よく分離することができる。このため、後述するバリ29を発生させること無く被転写媒体14にホログラム転写層24を熱転写することができる。
また、被転写媒体14上に熱圧着されていないホログラム転写層24は基材23とともに転写箔巻取りロール17に送られて巻き取られる。このため、後述する箔カス38を発生させること無く被転写媒体14にホログラム転写層24を熱転写することができる。
次に、本願発明の効果を比較例と比較して説明する。比較例として、図5に、熱圧着工程と剥離工程との間に切断機構19を設けずに、熱圧着工程、剥離工程の後にバリ29を除去する方法によりホログラム積層体22を被転写媒体14上に形成した場合のホログラム積層体22示す。図5に示す比較例では、ホログラム転写箔18は体積型ホログラム層26を含むホログラム転写層24を有するため、ホログラム転写箔18の箔切れ性は悪く、ホログラム転写箔18の一部が被転写媒体14にバリ29として残っている(図5(a))。また、転写、剥離工程後にバリ29を切断するため、箔カス38が生じてしまう(図5(b))。
これに対して本願発明によれば、上述のように、ホログラム転写箔18のうちホログラム積層体22の前縁37および後縁28に対応する部分に、ホログラム転写箔18のホログラム転写層24側から基材23に向って延びかつ基材23を残す切断部30を各々形成することができる。これにより、剥離ローラー16において、熱圧着されたホログラム転写層24をそれ以外のホログラム転写層24から切断部30を介して精度よく分離することができる。このため、バリ29を発生させること無く被転写媒体14にホログラム転写層24を熱転写することができる。また、被転写媒体14上に熱圧着されていないホログラム転写層24は基材23とともに転写箔巻取りロール17に送られて巻き取られる。このため、箔カス38を発生させること無く被転写媒体14にホログラム転写層24を熱転写することができる。
なお、本実施の形態においては、ホログラム転写箔18のホログラム転写層側24から基材23に向って、すなわち図1の下方から上方に向ってホログラム転写箔18に切断刃物20を挿入し、切断部30を形成した。しかしながら、これに限られることはなく、ホログラム転写箔18と同一平面上に切断刃物20を配置した後、図1の紙面手前から紙面奥に向ってホログラム転写箔18に平行に切断刃物20を動かして切断部30を形成してもよい。
また、本実施の形態においては、ホログラム積層体22が形成される前の被転写媒体14が、一対の送出ローラー12、12により加熱ローラー11と受ローラー10との間まで送り出され、その後、加熱ローラー11と受ローラー10との間で被転写媒体14上にホログラム積層体22が形成され、次いでホログラム積層体22が形成された被転写媒体14が、一対の排出ローラー13、13から排出される例を示した。しかしながら、これに限られることはなく、初めに、本実施の形態の場合と逆の向きに各種ローラー10、11、13、およびロール15、17を回転させて、ホログラム積層体22が形成される前の被転写媒体14を一対の排出ローラー13、13により加熱ローラー11と受ローラー10との間まで逆方向に送り出し、その後、本実施の形態の場合と同じ向きに各種ローラー10、11、13、およびロール15、17を回転させることで、ホログラム積層体22が形成された被転写媒体14を一対の排出ローラー13、13から排出してもよい。この場合は、一対の送出ローラー12、12は不要となる。
次に図9により本発明の第1の実施の形態の他の変形例について説明する。すなわち、図1乃至図8に示す第1の実施の形態において、基材23に設けられたホログラム転写層24が、剥離性保護層25と、体積型ホログラム層26と、接着剤層27とを有する例を示したが、これに限られず、図9に示すように、ホログラム転写層24は、基材23側から順に配置された剥離性保護層25と、紫外線吸収層31と、体積型ホログラム層26と、光学可変インキ層32と、蛍光画像形成層33と、接着剤層27とを有していてもよい。
このうち、紫外線吸収層31の材料としては、例えば、有機系紫外線吸収剤、反応性紫外線吸収剤、および無機系紫外線吸収剤を挙げることができる。紫外線吸収層31の厚さは、通常は0.1マイクロメートル(0.1μm)以上10マイクロメートル(10μm)以下程度の範囲であり、好ましくは下限が0.5マイクロメートル(0.5μm)以上、上限が5マイクロメートル(5μm)以下である。厚さが上記範囲内にあることにより、紫外線吸収層31の紫外線吸収性能と透明性とを両立させることができる。
光学可変インキ層32は、光学可変材料によって画像が形成された光学可変画像形成層である。光学可変材料としては、所望の色を発現できるものであれば特に限定されるものではないが、なかでも所定の角度から見た際に、体積型ホログラム層26の画像と同一の色を発現できるものであることが好ましい。このような光学可変材料が用いられることにより、所定の角度から視認する際に、光学可変画像形成層の画像と体積型ホログラム層26の画像とを同一の色の画像にすることができるため、例えば、光学可変画像形成層の画像と体積型ホログラム層26の画像とが重なるようにそれぞれの層を形成することにより、特定の角度において体積型ホログラム層26の画像を視認されないようにすることが可能になり、さらにセキュリティ性を向上させることができる。
光学可変材料としては、例えば、パール顔料、偏光インキ、液晶インキ、および再帰反射性インキ等を挙げることができる。本発明においてはこれらの光学可変材料を一種類又は二種類以上用いてもよい。光学可変インキ層32の厚さは、通常は0.5マイクロメートル(0.5μm)以上50マイクロメートル(50μm)以下程度の範囲であり、好ましくは1マイクロメートル(1μm)以上20マイクロメートル(20μm)以下である。厚さが上記範囲内にあることにより、十分な光学可変効果を得ることができる。
蛍光画像形成層33は、紫外線を吸収することにより蛍光を発する蛍光材料によって画像が形成された層である。本変形例に用いられる蛍光材料としては、紫外線を吸収することにより所望の波長の蛍光を発することができるものであれば特に限定されるものではない。
本変形例に用いられる蛍光材料は少なくとも1種類が用いられるものであるが、本変形例においては発光する蛍光の波長が異なる複数の蛍光材料が用いられることが好ましく、特に赤、緑、青の各色を発色する蛍光材料が用いられることが好ましい。これにより本変形例に用いられる体積型ホログラム層26に蛍光でフルカラーの画像を形成することが可能になるからである。
本変形例に用いられる蛍光材料としては、例えば、有機蛍光色素および無機蛍光色素を挙げることができる。有機蛍光色素としては、例えば、ジアミノスチルベンジスルホン酸誘導体、イミダゾール誘導体、クマリン誘導体、トリアゾール、カルバゾール、ピリジン、ナフタル酸、イミダゾロン等の誘導体、フルオレセイン、エオシン等の色素、アントラセン等のベンゼン環を持つ化合物などが挙げられる。具体的には、可視光で無色の蛍光染料としては、EB−501(三井化学(株)製、発光色:青色)、EG−302(三井化学(株)製、発光色:黄緑色)、EG−307(三井化学(株)製、発光色:緑色)、ER−120(三井化学(株)製、発光色:赤色)、ER−122(三井化学(株)製、発光色:赤色)、蛍光増白剤と呼ばれるユビテックスOB(チバスペシャルティケミカルズ社製、発光色:青色)、ユーロピウム−テノイルトリフルオロアセトンキレート(シンロイヒ(株)、赤橙色)等を挙げることができる。
また、無機蛍光色素としては、例えば、Ca、Ba、Mg、Sr、などの酸化物、硫化物、ケイ酸塩、リン酸塩、タングステン酸塩のなどの結晶を主成分とし、Eu、Mn、Pb、Fe、Mn、Zn、Ag、Cuなどの金属元素または希土類元素をドープ剤として添加した顔料を用いることができる。具体的には、可視光下では無色から白色のG−300シリーズ(SrAl2O4:Eu,Dy 根本特殊化学製 発光色:緑)やV−300シリーズ(CaAl2O4:Eu,Nd 根本特殊化学製 発光色:紫)等を挙げることができる。
また、本変形例に用いられる蛍光材料としては、たとえば、チオフェン系蛍光色素、β−キノフタロン系蛍光色素、クマリン系蛍光色素、ビススチリルベンゼン系蛍光色素、オキサゾール系蛍光色素、およびユーロピウム錯体系蛍光色素等も挙げることができる。これらの蛍光色素の具体例としては、例えば特開2004−122690号公報に記載されたものを例示することができる。
なお、本変形例に用いられる蛍光画像形成層33には、上記蛍光材料以外に、通常、バインダー樹脂が含まれることが好ましい。本変形例に用いられるバインダー樹脂としては、例えば、エチルセルロース、エチルヒドロキシセルロース、ヒドロキシプロピルセルロース、メチルセルロース、酢酸セルロース等のセルロース系樹脂、ポリビニルアルコール、ポリ酢酸ビニル、ポリビニルブチラール、ポリビニルアセタール、ポリビニルピロリドン等のビニル系樹脂、ポリ(メタ)アクリレート、ポリ(メタ)アクリルアミド等のアクリル系樹脂、ポリウレタン樹脂、ポリアミド樹脂、ポリエステル系樹脂、これらの樹脂の混合物等が挙げられる。本変形例においては、これらのいずれの樹脂であっても好適に用いることができる。
蛍光画像形成層33の厚さは、例えば約10マイクロメートル(10μm)となっている。
この変形例においても、ホログラム転写箔18の熱圧着工程とホログラム積層体22の形成工程との間で、ホログラム転写箔18のうちホログラム積層体の前縁37および後縁28に対応する部分に、切断刃物20によって、ホログラム転写箔18のホログラム転写層24側から基材23に向って延びかつ基材23を残す切断部30が各々形成される。
このように本変形例によれば、受ローラー10および加熱ローラー11において、剥離性保護層25と、紫外線吸収層31と、体積型ホログラム層26と、光学可変インキ層32と、蛍光画像形成層33と、接着剤層27とを有するホログラム転写層24を被転写媒体14に熱圧着した後、剥離ローラー16においてホログラム転写箔18の基材23をホログラム転写層24から剥離する前に、ホログラム転写箔18のうちホログラム積層体22の前縁37および後縁28に対応する部分に、ホログラム転写箔18のホログラム転写層24側から基材23に向って延びかつ基材23を残す切断部30を各々形成することができる。これにより、剥離ローラー16において、熱圧着されたホログラム転写層24をそれ以外のホログラム転写層24から切断部30を介して精度よく分離することができる。このため、バリ29を発生させること無く被転写媒体14にホログラム転写層24を熱転写することができる。また、被転写媒体14上に熱圧着されていないホログラム転写層24は基材23とともに転写箔巻取りロール17に送られて巻き取られる。このため、箔カス38を発生させること無く被転写媒体14にホログラム転写層24を熱転写することができる。
第2の実施の形態
次に、図10および図11を参照して、本発明の第2の実施の形態について説明する。ここで、図10は、本発明の第2の実施の形態におけるホログラム熱転写装置を示す図であり、図11は、本発明の第2の実施の形態において、ホログラム転写箔に形成された切断部を示す図である。
図10および図11に示す第2の実施の形態は、切断機構19とは別に切断機構39が剥離ローラー16の下流に設けられている点が異なるのみであり、他の構成は、図1乃至図9に示す第1の実施の形態と略同一である。図10および図11に示す第2の実施の形態において、図1乃至図9に示す第1の実施の形態と同一部分には同一符号を付して詳細な説明は省略する。
ホログラム熱転写装置
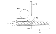
図10に示すように、剥離ローラー16の下流に、基材23から剥離したホログラム転写層24にホログラム転写層24側から被転写媒体14に向って延びる切断部42を形成する切断機構39が設けられている。切断機構39は、切断部30を形成するための切断刃物40と、切断時に被転写媒体14およびホログラム転写層24を支持する切断台41とを有する。この場合、切断機構39は、後述のようにホログラム転写層24のうち、ホログラム積層体22の後縁28に対応する部分に切断部42を形成する。
体積型ホログラム積層体の製造方法
次に、体積型ホログラム積層体22の製造方法について説明する。
まずホログラム転写箔18を巻きつけた転写箔供給ロール15および被転写媒体14を準備し、次にホログラム転写箔18と被転写媒体14を加熱ローラー11および受ローラー10まで送りホログラム転写層24を被転写媒体14に熱圧着する。次に、剥離ローラー16においてホログラム転写箔18を被転写媒体14から分離し、被転写媒体14上にホログラム積層体22を形成する(図2および図4参照)。また、ホログラム転写箔18の熱圧着工程とホログラム積層体22の形成工程との間で、ホログラム転写箔18のうちホログラム積層体22の前縁37に対応する部分に、ホログラム転写箔18のホログラム転写層24側から基材23に向って延びかつ基材23を残す切断部30が切断機構19によって形成される。詳細は本発明の第1の実施の形態の場合と同一であるので省略する。この場合、ホログラム転写箔18のうちホログラム積層体22の後縁28に対応する部分については、切断機構19により切断部30が形成されることはない。
ところで、ホログラム積層体22の形成工程においては、ホログラム転写層24のうちホログラム積層体の後縁28に対応する部分に、剥離ローラー16において基材23から剥離されたホログラム転写層24側から被転写媒体14に向って延びる切断部42が切断機構39によって形成される。まず、図10に示すように、ホログラム積層体22の後縁28に対応する部分が、切断刃物40と同一平面上に到達するまで、ホログラム転写箔18および被転写媒体14が送り出される。
ところで上述のように、受ローラー10、加熱ローラー11、送出ローラー12、排出ローラー13、転写箔供給ロール15、転写箔巻取りロール17および切断機構39は各々制御装置60により駆動制御されている。この場合、制御装置60により、これら各種ローラー10、11、12、13、およびロール15、17の駆動回転量に基づいて、ホログラム積層体22の後縁28に対応する部分の位置を求めることができる。
ホログラム積層体22の後縁28に対応する部分が切断刃物40と同一平面上に到達すると、制御装置60は各種ローラー10、11、12、13、およびロール15、17を停止して、ホログラム転写箔18と被転写媒体14の送り出しを停止し、被転写媒体14に向って、基材23から剥離したホログラム転写層24に切断刃物40を挿入する。これにより、図11に示すように、ホログラム転写層24のうちホログラム積層体22の後縁28に対応する部分に切断刃物40によって切断部42が形成される。
このように本実施の形態によれば、受ローラー10および加熱ローラー11において、被転写媒体14にホログラム転写層24を熱圧着した後、剥離ローラー16において熱圧着されたホログラム転写層24をそれ以外のホログラム転写層24から分離する前に、ホログラム転写層24のうちホログラム積層体22の後縁28に対応する部分に、被転写媒体14に向って延びる切断部42を形成することができる。これにより、剥離ローラー16において、熱圧着されたホログラム転写層24をそれ以外のホログラム転写層24から切断部42を介して精度よく分離することができる。このため、バリ29を発生させること無く被転写媒体14にホログラム転写層24を熱転写することができる。
また、被転写媒体14上に熱圧着されていないホログラム転写層24は基材23とともに転写箔巻取りロール17に送られて巻き取られる。このため、箔カス38を発生させること無く被転写媒体14にホログラム転写層24を熱転写することができる。
なお、本実施の形態においては、ホログラム積層体22の後縁28は被転写媒体14の後縁44と略同一鉛直線上に位置しているが、例えばホログラム積層体22の後縁28は、被転写媒体14の後縁44より内側(図11の右側)に位置していてもよい。
第3の実施の形態
次に、図12乃至図14を参照して、本発明の第3の実施の形態について説明する。ここで、図12は、本発明の第3の実施の形態におけるホログラム熱転写装置を示す図であり、図13は、本発明の第3の実施の形態において、被転写媒体上に形成されたホログラム積層体を示す図である。図14は、本発明の第3の実施の形態より切断機構を省略した場合において、被転写媒体にバリが生じる比較例を示す図である。
図12および図13に示す第3の実施の形態は、切断機構19を設ける代わりに切断機構39が剥離ローラー16の下流に設けられている点が異なるのみであり、他の構成は、図1乃至図9に示す第1の実施の形態と略同一である。図12および図13に示す第3の実施の形態において、図1乃至図9に示す第1の実施の形態と同一部分には同一符号を付して詳細な説明は省略する。
体積型ホログラム積層体の製造方法
体積型ホログラム積層体22の製造方法について説明する。
まずホログラム転写箔18を巻きつけた転写箔供給ロール15および被転写媒体14を準備する。次に、ホログラム転写箔18と被転写媒体14を加熱ローラー11および受ローラー10まで送る。この際、加熱ローラー11がホログラム転写箔18に接触しないように、加熱ローラー11を上方に移動させておく。従って、この間、加熱ローラー11と受ローラー10との間でホログラム転写箔18のホログラム転写層24と被転写媒体14とが加熱押圧されることはない
制御装置60は、被転写媒体14のうち前縁43と後縁44の中間に位置する部分が加熱ローラー11と受ローラー10との間まで送り出されると、各種ローラー10、11、12、13、およびロール15、17の回転を停止して、ホログラム転写箔18と被転写媒体14の送り出しを停止する。その後、加熱ローラー11を下方へ移動させ、加熱ローラー11をホログラム転写箔18に接触させる。次に、制御装置60は各種ローラー10、11、12、ロール15、17の回転を再開し、加熱ローラー11と受ローラー10との間で、ホログラム転写箔18のホログラム転写層24が被転写媒体14のうち前縁43と後縁44の中間に位置する部分から後縁44までの領域に熱圧着される。
次に、剥離ローラー16において、ホログラム転写箔18の基材23がホログラム転写層24から剥離され、熱圧着されたホログラム転写層24がそれ以外のホログラム転写層24から分離して、被転写媒体14のうち前縁43と後縁44の中間に位置する部分から後縁44までの領域に、ホログラム積層体22が形成される(図13参照)。
この間、ホログラム転写層24のうちホログラム積層体の後縁28に対応する部分に、剥離ローラー16において基材23から剥離されたホログラム転写層24側から被転写媒体14に向って延びる切断部42が切断機構39によって形成される。まず、ホログラム積層体22の後縁28に対応する部分が切断刃物40と同一平面上に到達するまで、ホログラム転写箔18および被転写媒体14が送り出される。
上述のように、受ローラー10、加熱ローラー11、送出ローラー12、排出ローラー13、転写箔供給ロール15、転写箔巻取りロール17および切断機構39は各々制御装置60により駆動制御されている。この場合、制御装置60により、これら各種ローラー10、11、12、13、およびロール15、17の駆動回転量に基づいて、ホログラム積層体22の後縁28に対応する部分の位置を求めることができる。
ホログラム積層体22の後縁28に対応する部分が切断刃物40と同一平面上に到達すると、制御装置60は各種ローラー10、11、12、13、およびロール15、17を停止して、ホログラム転写箔18と被転写媒体14の送り出しを停止し、被転写媒体14に向って、基材23から剥離したホログラム転写層24に切断刃物40を挿入する。これにより、ホログラム転写層24のうちホログラム積層体22の後縁28に対応する部分に切断刃物40によって切断部42が形成される。
このように本実施の形態によれば、受ローラー10および加熱ローラー11において、被転写媒体14にホログラム転写層24を熱圧着した後、剥離ローラー16において熱圧着されたホログラム転写層24をそれ以外のホログラム転写層24から分離する前に、ホログラム転写層24のうちホログラム積層体22の後縁28に対応する部分に、被転写媒体14に向って延びる切断部42を形成することができる。これにより、剥離ローラー16において、熱圧着されたホログラム転写層24をそれ以外のホログラム転写層24から切断部42を介して精度よく分離することができる。このため、バリ29を発生させること無く被転写媒体14にホログラム転写層24を熱転写することができる。
また、被転写媒体14上に熱圧着されていないホログラム転写層24は基材23とともに転写箔巻取りロール17に送られて巻き取られる。このため、箔カス38を発生させること無く被転写媒体14にホログラム転写層24を熱転写することができる。
次に、本願発明の効果を比較例と比較して説明する。比較例として、図14に、剥離ローラー16の下流に切断機構39を設けずに、熱圧着工程、剥離工程の後にバリを除去する方法により被転写媒体上にホログラム積層体を形成した場合のホログラム積層体を示す。図14に示す比較例では、ホログラム転写箔18は体積型ホログラム層26を含むホログラム転写層24を有するため、ホログラム転写箔18の箔切れ性は悪く、ホログラム転写箔18の一部が被転写媒体14にバリ29として残っている(図14(a))。また、熱圧着、剥離工程後にバリ29を切断するため、箔カス38が生じてしまう(図14(b))。
これに対して本願発明によれば、上述のように、ホログラム転写層24のうちホログラム積層体22の後縁28に対応する部分に、被転写媒体14に向って延びる切断部42を形成することができる。これにより、剥離ローラー16において、熱圧着されたホログラム転写層24をそれ以外のホログラム転写層24から切断部42を介して精度よく分離することができる。このため、バリ29を発生させること無く被転写媒体14にホログラム転写層24を熱転写することができる。また、被転写媒体14上に熱圧着されていないホログラム転写層24は基材23とともに転写箔巻取りロール17に送られて巻き取られる。このため、箔カス38を発生させること無く被転写媒体14にホログラム転写層24を熱転写することができる。
なお、本実施の形態においては、ホログラム積層体22の後縁28は被転写媒体14の後縁44と略同一鉛直線上に位置しているが、例えばホログラム積層体22の後縁28を、被転写媒体14の後縁44より内側(図13の右側)にもってきてもよい。
図1は、本発明の第1の実施の形態におけるホログラム熱転写装置を示す図。 図2は、本発明の第1の実施の形態において、被転写媒体上に形成されたホログラム積層体を示す図。 図3は、本発明の第1の実施の形態において、被転写媒体にホログラム転写層を熱圧着する工程を示す図。 図4は、本発明の第1の実施の形態において、被転写媒体にホログラム転写層を熱圧着する工程を示す図。 図5は、被転写媒体にバリが生じる比較例を示す図。 図6は、本発明の第1の実施の形態において、ホログラム転写箔に形成された切断部を示す図。 図7は、本発明の第1の実施の形態において、ホログラム積層体が形成された被転写媒体を示す図。 図8は、本発明の第1の実施の形態におけるホログラム転写箔の構成を示す図。 図9は、本発明の第1の実施の形態の他の変形例におけるホログラム転写箔の構成を示す図。 図10は、本発明の第2の実施の形態におけるホログラム熱転写装置を示す図。 図11は、本発明の第2の実施の形態において、ホログラム転写箔に形成された切断部を示す図。 図12は、本発明の第3の実施の形態におけるホログラム熱転写装置を示す図。 図13は、本発明の第3の実施の形態において、被転写媒体上に形成されたホログラム積層体を示す図。 図14は、本発明の第3の実施の形態より切断機構を省略した場合において、被転写媒体にバリが生じる比較例を示す図。
符号の説明
10 受ローラー
11 加熱ローラー
12 送出ローラー
13 排出ローラー
14 被転写媒体
15 転写箔供給ロール
16 剥離ローラー
17 転写箔巻取りロール
18 ホログラム転写箔
19 切断機構
20 切断刃物
21 切断台
22 ホログラム積層体
23 基材
24 ホログラム転写層
25 剥離性保護層
26 体積型ホログラム層
27 接着剤層
28 ホログラム積層体の後縁
29 バリ
30 切断部
31 紫外線吸収層
32 光学可変インキ層
33 蛍光画像形成層
35 転写箔案内ローラー
37 ホログラム積層体の前縁
38 箔カス
39 切断機構
40 切断刃物
41 切断台
42 切断部
43 被転写媒体の前縁
44 被転写媒体の後縁
50 ホログラム熱転写装置
60 制御装置

Claims (6)

  1. 基材と、少なくとも体積型ホログラム層を含むホログラム転写層とを有するホログラム転写箔を準備する工程と、
    ホログラム転写箔を被転写媒体に、そのホログラム転写層が被転写媒体側を向くよう重ねる工程と、
    ホログラム転写箔を被転写媒体に加熱押圧し、ホログラム転写層を被転写媒体に熱圧着する工程と、
    ホログラム転写箔の基材をホログラム転写層から剥離するとともに、熱圧着されたホログラム転写層を、それ以外のホログラム転写層から分離して、所定形状を有し少なくとも体積型ホログラム層を含むホログラム積層体を被転写媒体上に形成する工程と、を備え、
    ホログラム転写箔の熱圧着工程とホログラム積層体の形成工程との間で、ホログラム転写箔のうちホログラム積層体の少なくとも1つの縁に対応する部分に、ホログラム転写箔のホログラム転写層側から基材に向って延びかつ基材を残す切断部を形成したことを特徴とする体積型ホログラム積層体の製造方法。
  2. 受ローラーと、
    受ローラーとの間で、基材と、少なくとも体積型ホログラム層を含むホログラム転写層とを有するホログラム転写箔と、被転写媒体とを挟持して、ホログラム転写層を加熱押圧して被転写媒体に熱圧着する加熱ローラーと、
    受ローラーおよび加熱ローラーの下流側に設けられ、ホログラム転写箔の基材をホログラム転写層から剥離するとともに、熱圧着されたホログラム転写層を、それ以外のホログラム転写層から分離して、所定形状を有し少なくとも体積型ホログラム層を含むホログラム積層体を被転写媒体上に形成する剥離部材と、を備え、
    受ローラーおよび加熱ローラーと、剥離部材との間に、ホログラム転写箔のうちホログラム積層体の少なくとも1つの縁に対応する部分にホログラム転写箔のホログラム転写層側から基材に向って延びかつ基材を残す切断部を形成する切断機構を設けたことを特徴とするホログラム熱転写装置。
  3. 基材と、少なくとも体積型ホログラム層を含むホログラム転写層とを有するホログラム転写箔を準備する工程と、
    ホログラム転写箔を被転写媒体に、そのホログラム転写層が被転写媒体側を向くよう重ねる工程と、
    ホログラム転写箔を被転写媒体に加熱押圧し、ホログラム転写層を被転写媒体に熱圧着する工程と、
    ホログラム転写箔の基材をホログラム転写層から剥離するとともに、熱圧着されたホログラム転写層を、それ以外のホログラム転写層から分離して、所定形状を有し少なくとも体積型ホログラム層を含むホログラム積層体を被転写媒体上に形成する工程と、を備え、
    ホログラム積層体の形成工程において、ホログラム転写層のうちホログラム積層体の少なくとも1つの縁に対応する部分に、被転写媒体に向って延びる切断部を形成したことを特徴とする体積型ホログラム積層体の製造方法。
  4. 受ローラーと、
    受ローラーとの間で、基材と、少なくとも体積型ホログラム層を含むホログラム転写層とを有するホログラム転写箔と、被転写媒体とを挟持して、ホログラム転写層を加熱押圧して被転写媒体に熱圧着する加熱ローラーと、
    受ローラーおよび加熱ローラーの下流側に設けられ、ホログラム転写箔の基材をホログラム転写層から剥離するとともに、熱圧着されたホログラム転写層を、それ以外のホログラム転写層から分離して、所定形状を有し少なくとも体積型ホログラム層を含むホログラム積層体を被転写媒体上に形成する剥離部材と、を備え、
    剥離部材下流に、ホログラム転写層のうちホログラム積層体の少なくとも1つの縁に対応する部分に被転写媒体に向って延びる切断部を形成する切断機構を設けたことを特徴とするホログラム熱転写装置。
  5. ホログラム転写層は剥離性保護層、体積型ホログラム層、接着剤層を有することを特徴とする請求項1または請求項3のいずれかに記載の体積型ホログラム積層体の製造方法。
  6. ホログラム転写層は剥離性保護層、体積型ホログラム層、接着剤層を有することを特徴とする請求項2または請求項4のいずれかに記載のホログラム熱転写装置。
JP2008163412A 2008-06-23 2008-06-23 ホログラム積層体の製造方法およびホログラム熱転写装置 Active JP5252274B2 (ja)

Priority Applications (1)

Application Number Priority Date Filing Date Title
JP2008163412A JP5252274B2 (ja) 2008-06-23 2008-06-23 ホログラム積層体の製造方法およびホログラム熱転写装置

Applications Claiming Priority (1)

Application Number Priority Date Filing Date Title
JP2008163412A JP5252274B2 (ja) 2008-06-23 2008-06-23 ホログラム積層体の製造方法およびホログラム熱転写装置

Publications (2)

Publication Number Publication Date
JP2010000757A true JP2010000757A (ja) 2010-01-07
JP5252274B2 JP5252274B2 (ja) 2013-07-31

Family

ID=41582859

Family Applications (1)

Application Number Title Priority Date Filing Date
JP2008163412A Active JP5252274B2 (ja) 2008-06-23 2008-06-23 ホログラム積層体の製造方法およびホログラム熱転写装置

Country Status (1)

Country Link
JP (1) JP5252274B2 (ja)

Citations (3)

* Cited by examiner, † Cited by third party
Publication number Priority date Publication date Assignee Title
JPH10109811A (ja) * 1996-09-30 1998-04-28 Asahi Glass Co Ltd ホログラムフィルムの貼付け方法
JP2007011318A (ja) * 2005-06-02 2007-01-18 Dainippon Printing Co Ltd 体積ホログラム転写箔および体積ホログラム積層体
JP2007160775A (ja) * 2005-12-15 2007-06-28 Konica Minolta Photo Imaging Inc ホログラム感光材料の貼付方法

Patent Citations (3)

* Cited by examiner, † Cited by third party
Publication number Priority date Publication date Assignee Title
JPH10109811A (ja) * 1996-09-30 1998-04-28 Asahi Glass Co Ltd ホログラムフィルムの貼付け方法
JP2007011318A (ja) * 2005-06-02 2007-01-18 Dainippon Printing Co Ltd 体積ホログラム転写箔および体積ホログラム積層体
JP2007160775A (ja) * 2005-12-15 2007-06-28 Konica Minolta Photo Imaging Inc ホログラム感光材料の貼付方法

Also Published As

Publication number Publication date
JP5252274B2 (ja) 2013-07-31

Similar Documents

Publication Publication Date Title
CA2786796C (en) Volume hologram sheet to be embedded, forgery prevention paper, and card
TWI842711B (zh) 層合體和層壓薄膜的製造方法以及層合體和層壓薄膜
CN101872577B (zh) 防伪介质
JP5609029B2 (ja) 積層体の製造方法、ステッカーの製造方法及びパターニング方法
WO2004073997A1 (ja) 認証記録媒体、認証記録媒体作成方法
JP5115206B2 (ja) 中間転写記録媒体ならびにそれを用いる情報記録方法および情報記録体の製造方法
JP5169529B2 (ja) ホログラム熱転写装置および体積型ホログラム積層体の製造方法
JP5024202B2 (ja) 長尺体積ホログラム層転写箔、および、これを用いた体積ホログラム積層体の製造方法
JP5103937B2 (ja) 中間転写記録媒体ならびにそれを用いる情報記録方法および情報記録体の製造方法
JP4998384B2 (ja) ホログラム熱転写装置およびホログラム積層体の製造方法
WO2005006166A1 (ja) 偽造防止用ラベルおよびその製造方法
JP2011215296A (ja) 貼り換え防止機能付き偽造防止封印ラベル
JP5169528B2 (ja) 体積型ホログラム積層体の製造方法およびホログラム熱転写装置
JP5252274B2 (ja) ホログラム積層体の製造方法およびホログラム熱転写装置
JP5103936B2 (ja) 中間転写記録媒体ならびにそれを用いる情報記録方法および情報記録体の製造方法
WO2005084960A1 (ja) 画像形成方法及び記録物
WO2005068218A1 (ja) 熱転写シート、その製造法およびこの熱転写シートが転写された画像形成体
JP4962386B2 (ja) パッチ中間転写記録媒体、及びそれを用いた偽造防止媒体
JP2009000839A (ja) ホログラム転写箔およびホログラム積層体
JP5359250B2 (ja) パッチ転写媒体の製造方法
JP5003612B2 (ja) 体積ホログラム積層体の製造方法、および、体積ホログラム積層体製造装置
JP2019008165A (ja) 体積ホログラム積層体、体積ホログラム積層体の製造方法、および情報記録媒体
CN110198845A (zh) 具有至少一个衍射元件的聚合物层压板及其制造方法
JP5407292B2 (ja) パッチ転写媒体
JP5303946B2 (ja) 記録媒体に体積型ホログラム層を形成させる転写方法及びその装置

Legal Events

Date Code Title Description
A621 Written request for application examination

Free format text: JAPANESE INTERMEDIATE CODE: A621

Effective date: 20110427

A977 Report on retrieval

Free format text: JAPANESE INTERMEDIATE CODE: A971007

Effective date: 20120530

TRDD Decision of grant or rejection written
A01 Written decision to grant a patent or to grant a registration (utility model)

Free format text: JAPANESE INTERMEDIATE CODE: A01

Effective date: 20130322

A61 First payment of annual fees (during grant procedure)

Free format text: JAPANESE INTERMEDIATE CODE: A61

Effective date: 20130404

R150 Certificate of patent or registration of utility model

Ref document number: 5252274

Country of ref document: JP

Free format text: JAPANESE INTERMEDIATE CODE: R150

Free format text: JAPANESE INTERMEDIATE CODE: R150

FPAY Renewal fee payment (event date is renewal date of database)

Free format text: PAYMENT UNTIL: 20160426

Year of fee payment: 3