JP2010000740A - ペレット製造装置用のカッター刃およびペレット製造装置 - Google Patents

ペレット製造装置用のカッター刃およびペレット製造装置 Download PDF

Info

Publication number
JP2010000740A
JP2010000740A JP2008163011A JP2008163011A JP2010000740A JP 2010000740 A JP2010000740 A JP 2010000740A JP 2008163011 A JP2008163011 A JP 2008163011A JP 2008163011 A JP2008163011 A JP 2008163011A JP 2010000740 A JP2010000740 A JP 2010000740A
Authority
JP
Japan
Prior art keywords
cutter
blade
cooling water
tip
extrusion nozzle
Prior art date
Legal status (The legal status is an assumption and is not a legal conclusion. Google has not performed a legal analysis and makes no representation as to the accuracy of the status listed.)
Granted
Application number
JP2008163011A
Other languages
English (en)
Other versions
JP4838286B2 (ja
Inventor
Hidetaka Kawashima
秀隆 川島
Takeshi Ushio
剛 牛尾
Current Assignee (The listed assignees may be inaccurate. Google has not performed a legal analysis and makes no representation or warranty as to the accuracy of the list.)
Japan Steel Works Ltd
Original Assignee
Japan Steel Works Ltd
Priority date (The priority date is an assumption and is not a legal conclusion. Google has not performed a legal analysis and makes no representation as to the accuracy of the date listed.)
Filing date
Publication date
Application filed by Japan Steel Works Ltd filed Critical Japan Steel Works Ltd
Priority to JP2008163011A priority Critical patent/JP4838286B2/ja
Publication of JP2010000740A publication Critical patent/JP2010000740A/ja
Application granted granted Critical
Publication of JP4838286B2 publication Critical patent/JP4838286B2/ja
Active legal-status Critical Current
Anticipated expiration legal-status Critical

Links

Images

Classifications

    • BPERFORMING OPERATIONS; TRANSPORTING
    • B29WORKING OF PLASTICS; WORKING OF SUBSTANCES IN A PLASTIC STATE IN GENERAL
    • B29BPREPARATION OR PRETREATMENT OF THE MATERIAL TO BE SHAPED; MAKING GRANULES OR PREFORMS; RECOVERY OF PLASTICS OR OTHER CONSTITUENTS OF WASTE MATERIAL CONTAINING PLASTICS
    • B29B9/00Making granules
    • B29B9/02Making granules by dividing preformed material
    • B29B9/06Making granules by dividing preformed material in the form of filamentary material, e.g. combined with extrusion
    • B29B9/065Making granules by dividing preformed material in the form of filamentary material, e.g. combined with extrusion under-water, e.g. underwater pelletizers
    • BPERFORMING OPERATIONS; TRANSPORTING
    • B29WORKING OF PLASTICS; WORKING OF SUBSTANCES IN A PLASTIC STATE IN GENERAL
    • B29CSHAPING OR JOINING OF PLASTICS; SHAPING OF MATERIAL IN A PLASTIC STATE, NOT OTHERWISE PROVIDED FOR; AFTER-TREATMENT OF THE SHAPED PRODUCTS, e.g. REPAIRING
    • B29C48/00Extrusion moulding, i.e. expressing the moulding material through a die or nozzle which imparts the desired form; Apparatus therefor
    • B29C48/001Combinations of extrusion moulding with other shaping operations
    • B29C48/0022Combinations of extrusion moulding with other shaping operations combined with cutting
    • BPERFORMING OPERATIONS; TRANSPORTING
    • B29WORKING OF PLASTICS; WORKING OF SUBSTANCES IN A PLASTIC STATE IN GENERAL
    • B29CSHAPING OR JOINING OF PLASTICS; SHAPING OF MATERIAL IN A PLASTIC STATE, NOT OTHERWISE PROVIDED FOR; AFTER-TREATMENT OF THE SHAPED PRODUCTS, e.g. REPAIRING
    • B29C48/00Extrusion moulding, i.e. expressing the moulding material through a die or nozzle which imparts the desired form; Apparatus therefor
    • B29C48/03Extrusion moulding, i.e. expressing the moulding material through a die or nozzle which imparts the desired form; Apparatus therefor characterised by the shape of the extruded material at extrusion
    • B29C48/05Filamentary, e.g. strands
    • BPERFORMING OPERATIONS; TRANSPORTING
    • B29WORKING OF PLASTICS; WORKING OF SUBSTANCES IN A PLASTIC STATE IN GENERAL
    • B29CSHAPING OR JOINING OF PLASTICS; SHAPING OF MATERIAL IN A PLASTIC STATE, NOT OTHERWISE PROVIDED FOR; AFTER-TREATMENT OF THE SHAPED PRODUCTS, e.g. REPAIRING
    • B29C48/00Extrusion moulding, i.e. expressing the moulding material through a die or nozzle which imparts the desired form; Apparatus therefor
    • B29C48/25Component parts, details or accessories; Auxiliary operations
    • B29C48/30Extrusion nozzles or dies
    • B29C48/345Extrusion nozzles comprising two or more adjacently arranged ports, for simultaneously extruding multiple strands, e.g. for pelletising

Landscapes

  • Engineering & Computer Science (AREA)
  • Mechanical Engineering (AREA)
  • Manufacturing & Machinery (AREA)
  • Processing And Handling Of Plastics And Other Materials For Molding In General (AREA)

Abstract


【課題】装置を大型化しても粒径、形状等において高品質なペレットを製造することができるペレット製造装置用のカッター刃を提供する。
【解決手段】取付部(2)と、押出ノズル(10)から冷却水中にストランド状に押し出される溶融樹脂を切断する刃部(3)とから構成する。刃部(3)は、頂面(6)と、該頂面(6)の所定位置から回転方向に見て先端部に向けて薄くなるように傾斜しているすくい面(7)とからなり、該すくい面(7)の先端部が刃先(8)となっている。すくい面(7)は、取付部(2)側の根元側よりも先端部側が広くなるように構成する。これにより、冷却水の反力(Pa、Pb、Pc)は先端部側が大きくなり、カッター刃(1)に曲げモーメントは生じない。すなわち、粒径、形状等の不揃いの原因となる、刃部(3)と押出ノズル(10)の表面との間に隙間は生じない。
【選択図】 図2

Description

本発明は、ダイスから冷却水中にストランド状に連続して押し出される溶融樹脂を、ダイスの表面に接しながら回転駆動されるカッター刃により冷却水中で切断して、ペレットを製造するペレット製造装置用のカッター刃およびペレット製造装置に関するものである。
合成樹脂成形品の成形には、従来周知のように、合成樹脂に安定剤、可塑剤、無機充填剤等の添加剤が混合・分散された成形材料が使用される。このような成形材料は一般にペレット化されている。ペレタイザーすなわちペレット製造装置は、押出機、この押出機の先端部に設けられているダイス、このダイスに対応して設けられているカッター装置等から構成されている。したがって、ダイスの複数個のノズル孔からストランド状に連続的に押し出される樹脂を、所定速度で回転駆動されるカッター装置のカッター刃で切断すると、所定大きさのペレットが得られる。このようなペレットの製造方式として水中カット方式が知られている。水中カット方式は、押出機に合成樹脂と所定の添加剤を供給し、溶融混練してダイスから冷却水中にストランド状に押し出した直後に、ダイス表面にカッター刃を直接接触させた状態で回転駆動して水中で切断する方式で、ホットカット方式とも呼ばれている。このような水中カット方式のペレット製造装置が特許文献1に示されている。
特開2000−301532号公報
特許文献1に示されているペレット製造装置は、図5にも示されているように、ハウジング21、ハウジング21内に回転可能に設けられているカッター軸22、カッター軸22の先端に固着されているカッターホルダ23、カッターホルダ23に取り付けられている複数本のカッター刃24、24、…、図示されない押出機の先端部に取り付けられているダイス40等から構成されている。図6は、カッターホルダ23、ダイス40等の拡大詳細図で、その(ア)は側断面図、その(イ)は(ア)においてイ−イ方向に見た側面図であるが、これらの図に示されているように、カッターホルダ23は、全体として略円錐状を呈している。すなわち、ダイス40側に面した底面は、周辺部を残して所定深さに切り抜かれ、反対側は所定大きさに切り取られた面となっている。そして、軸心には貫通孔23aが明けられ、カッターホルダ23は、貫通孔23aを利用してカッター軸22に取り付けられている。
このように構成されているカッターホルダ23の、底面の周辺部には2個を1組とするカッター刃取付用の所定深さの雌ネジ26、26が等間隔に複数組形成されている。カッター刃24は、図7の(ア)の斜視図に示されているように、略直方体状を呈し、長さ方向に厚さ「h」が一定の刃部24aと、カッターホルダ23に取り付けられる取付部24bとから構成されている。刃部24aは、頂面24iと、この頂面24iから回転方向の先端部に向けて薄くなるように傾斜している傾斜面すなわちすくい面24kとからなり、すくい面24kの先端部が刃先24hとなっている。頂面24iとすくい面24kの裏側は、所定の厚肉になるように切り抜かれている。取付部24bには2個のボルト孔24c、24cが明けられている。上記のように構成されている複数本のカッター刃24、24、…が、カッターホルダ23にボルト25、25、…によって取り外し自在に取り付けられている。このようにして取り付けられた状態が、図6の(イ)に示されている。
押出機の先端部に取り付けられているダイス40には、リング状の押出ノズル41が設けられている。この押出ノズル41の断面形状は、図6の(ア)に示されているように略台形を呈し、その頂面あるいは表面に複数個のノズル孔42、42、…が開口している。したがって、カッター軸22をダイス40の方向に所定の力で押しつけると、カッター刃24、24、…の刃部24aが複数個のノズル孔42、42、…が開口している押出ノズル41の表面に所定の力で接するようになる。
ダイス40、押出ノズル41、カッター刃24、24、…、カッターホルダ23等は、図5にも示されているように、冷却水注入口30aと冷却水排出口30bとを備えたカッターケース30によって密閉されている。したがって、冷却水注入口30aから冷却水を注入すると、カッターケース30内は冷却水で満たされ、ダイス40、押出ノズル41、カッター刃24、24、…等は冷却水中に没することになる。
冷却水を冷却水注入口30aから注入しながら、図に示されていない押出機のスクリュを回転駆動すると、溶融樹脂は従来周知のように押出ノズル41の複数個のノズル孔42、42、…からストランド状に押し出される。このとき、図に示されていない駆動装置によりカッター軸22をダイス40の方向に押しつけながら回転駆動すると、カッター刃24、24、…は押出ノズル41の表面に接しながら回転駆動するので、ストランド状に連続的に押し出される溶融樹脂は、カッター刃24、24、…により冷却水中で切断され、所定の大きさのペレットが得られる。ペレットは冷却水と共に冷却水排出口30bから排出された後、冷却水と分離されて乾燥される。
このようにしてペレットを製造するとき、押出ノズル41の表面とカッター刃24、24、・・・の刃部24aと間にクリアランス、すなわち隙間が生じると、製造されるペレットの形状および大きさが不均一になり、品質に悪影響を及ぼす。このような隙間は色々な要因で生じるが、押出ノズル41の表面とカッター軸22の垂直度が正確でない場合にも生じる。垂直度が正確でないと、押出ノズル41の表面とカッター刃24、24、…の回転面との平行度が保たれないので、複数本のカッター刃24、24、…が回転駆動されるとき、所定位置では押出ノズル41の表面から離間して、隙間が生じてしまう。
特許文献1には、前記したような平行度の問題を解決したカッター装置、すなわちカッターホルダ23がフレキシブル継手を介してカッター軸22に取り付けられたカッター装置が示されている。フレキシブル継手は、屈曲自在であり、カッター軸22を所定の力で押出ノズル41の表面に押しつけると、常に押出ノズル41の表面とカッター軸22の垂直度の誤差は吸収される。これにより、カッター刃24、24、・・・の回転面と、押出ノズル41の表面との平行度は保たれる。
特許文献1に示されているカッター装置によると、フレキシブル継手が介在されているので、押出ノズル41の表面とカッター刃24、24、・・・の回転面との平行度が保たれて、全てのカッター刃24、24、・・・が同時にダイス40の押出ノズル41の表面に接しながら回転駆動され、カッター刃24、24、・・・と押出ノズル41の表面との間に隙間が生じるようなことはない。しかしながら、一本のカッター刃24について見てみると、特許文献1に記載のフレキシブル継手は刃先24hの全長が押出ノズル41の表面に均等に接することを保証するものではない。以下、従来のカッター刃24が、その刃先24hの一部が押出ノズル41の表面から離間して隙間が生じてしまう現象について説明する。
初めに、冷却水中で、カッター刃24が押出ノズル41の表面に接しながら回転駆動されるときに、冷却水からカッター刃24が受ける力について説明する。図7の(イ)は、図7の(ア)においてD−Dで切断したカッター刃24の断面図で、その近傍を流れる冷却水の様子も同時に模式的に示されている。実際には、静止した冷却水中をカッター刃24が回転するが、静止したカッター刃24に対して冷却水が右方から左方に流れるものとして説明する。また、流速はカッター刃24の軸方向あるいは長さ方向の位置により多少異なるが、カッターホルダ23の径は大きく、カッター刃24の軸方向の位置の変化による流速の違いは小さいので、以下一様であると仮定して説明する。
押出ノズル41の表面近傍の冷却水は、流線「r1’」で示されているように、右方から押出ノズル41の表面に平行に流れ、カッター刃24のすくい面24kの近傍で急激に上方に曲げられ、そしてカッター刃24の後方に流れる。流線r2’で示されている冷却水も、流線r1’で示されている冷却水と同様に流れるが、カッター刃24のすくい面24k近傍での流線の曲がりは緩やかである。押出ノズル41の表面から離間した冷却水は、流線r3’で示されているように、押出ノズル41の表面とほぼ平行に流れる。したがって、流れ方向が変化するのは押出ノズル41の表面の近傍の冷却水であり、この近傍の冷却水について考える。この冷却水は、図面垂直方向の単位長さに対して、単位時間当たりの流量Q’だけ流れるが、カッター刃24から離間した前方の位置では、押出ノズル41と平行に平均流速v1’で、すくい面24k近傍では、仰角θ’の平均流速v2’で流れる。この冷却水の流れの変化によって生じる運動量の単位時間当たりの変化のうち、上向きの成分は、冷却水の比質量をρとすると、次式(1)で表すことができる。
ρ・Q’・v2’・sinθ’ (1)
この変化は、すくい面24kから冷却水が受けた上向きの力によって生じたものであり、すくい面24kには、その反力として下向きの反力P’が生じる。この反力P’は図面垂直方向の単位長さに対して作用する力であり、その値は上記式で与えられる。
図7の(ウ)は、1本のカッター刃24を側面から見た断面図であり、この断面図にはカッター刃24がカッターホルダ23と、押出ノズル41の表面および冷却水から受ける力が模式的に示されている。カッター刃24の取付部24bには、カッターホルダ23から押付圧力として下向きの押付力F’が与えられる。一方、冷却水中でカッター刃24が回転すると、すでに説明したように、冷却水から刃部24aに、単位長さ当たりの力P’として一様に分布する下向きの冷却水の反力P1’、P1’、…が与えられる。また、カッター刃24は、押出ノズル41の表面に接しているので、押付力F’と冷却水の反力P1’、P1’、…の反力として、押出ノズル41の表面から一様に分布する上向きの反力N’、N’、…が与えられる。ところで、カッター刃24に作用する上向きの反力N’、N’、…の中心点は、ちょうど押出ノズル41の中心、すなわち刃部24aの長さ方向の中心であって、図に示されているように合力G2’が作用していると考えられる。一方、下向きの押付力Fと冷却水の反力P1’、P1’、…の合力G1’の作用点は、刀部24aの中心よりも取付部24bに寄った位置となる。合力G1’と合力G2’は向きが反対で大きさが同じであるが、作用点が距離dずれているので偶力となり、カッター刃24に曲げモーメントMが生じてしまう。この曲げモーメントMによってカッター刃24が弾性変形して、カッター刃24の刀部24aは、長さ方向の先端部において押出ノズル41の表面との間に隙間が生じる。この隙間により、得られるペレットに不揃いが生じる。
ところで、カッター刃24が弾性変形しないように、あるいは曲げモーメントMを小さくするために、カッター刃24に作用する押付力F’を小さくして、下向きの反力P1’、P1’、…を大きくすることが考えられる。押付力F’は、カッター軸22を軸方向に押しつける力で制御可能である。一方、冷却水の反力P1’、P1’、…は、刃部24aの形状および冷却水の流速すなわちカッター刃24の回転速度に依存しており、カッター刃24の回転速度は、ペレット製造装置の製造能力により決まるので、容易に変更することはできず、制御することは難しい。また、カッター刃24と押出ノズル41の表面との間に隙間が生じないように十分な押付力を得るためには、押付力F’はある程度の大きさが必要となるので、曲げモーメントMの発生は避けられない。
押出ノズル41の表面積が狭く、換言するとノズル孔42、42、…の数が少なく、刃部24aが軸方向に短い場合、曲げモーメントMによるカッター刃24の弾性変形は小さいので、問題は比較的小さい。しかし、ペレットの製造能力を高めるために、押出ノズル41の表面積を広くしてノズル孔42、42,…の数を増やすと、カッター刃24の刃部24aは軸方向に長くなり、曲げモーメントMによりカッター刃24が弾性変形して、カッター刃24の先端部近傍が、押出ノズル41の表面から浮き上がり、隙間が生じてしまう。この隙間が、ペレット製造装置の大型化の妨げともなっている。
本発明は、上記したような従来の問題点を解決したペレット製造装置用のカッター刃およびペレット製造装置を提供することを目的とし、具体的には均一なペレットを製造することができるペレット製造装置用のカッター刃およびペレット製造装置を提供することを目的とし、さらに具体的には曲げモーメントが生じ難く、さらには刃部が長くても弾性変形することなく、したがってペレット製造装置の大型化が可能な、ペレット製造装置用のカッター刃およびペレット製造装置を提供することも目的としている。
本発明に係るカッター刃は、カッターホルダに取り付けられる取付部と、ダイスの表面に接してストランド状に冷却水中に押し出される溶融樹脂を切断する刃部とから構成される。刃部は、ダイスの表面から離間した頂面と、この頂面の所定位置から回転方向にみて先端部に向けてテーパ状に薄くなっているすくい面と、このすくい面の先端部の刃先とから構成される。カッター刃が回転駆動されるとき、その刃部の刃先がダイスの表面に所定の力で押圧され、すくい面が冷却水の反力を受ける。
上記のように構成されているカッター刃のすくい面は、本発明の前記目的を達成するために、取付部側の根元側よりも先端部側が幅広になるように構成される。具体的には、刃部は、側面的にみると取付部側の根元側よりも先端部側が厚くなるように構成される。先端部側が根元側よりも厚くなっているので、すくい面は先端部側が広くなっている。さらには、刃部の頂面は、取付部側の根元側よりも先端部側が狭くなるように構成される。先端部側が狭くなっているので、厚さが一様でも、すくい面は先端部側が広くなっている。側面的に見て先端部側が厚く、平面的に見て頂面が狭くなるように構成され、それによってすくい面は先端部側が一層広くなって、本発明の前記目的が達成される。
かくして、請求項1に記載の発明は、上記目的を達成するために、カッターホルダに取り付けられる取付部と、ダイスの表面上を移動して前記ダイスから冷却水中にストランド状に押し出される溶融樹脂を冷却水中で切断する軸方向に所定長さの刃部とからなり、前記刃部は、前記ダイスの表面から離間した側の頂面と、該頂面の所定位置から回転方向に見て先端部に向けて薄くなるように傾斜しているすくい面とからなり、該すくい面の、回転方向に見て先端部が刃先となっているカッター刃であって、前記すくい面は、前記取付部側の根元側よりも先端部側が広くなるように構成されている。請求項2に記載の発明は、請求項1に記載のカッター刃において、前記刃部は、前記取付部側の根元側よりも先端部側が厚くなっていると共に、前記頂面は前記取付部側の根元側よりも先端部側が狭くなり、それによって前記すくい面は、前記取付部側の根元側よりも先端部側が広くなるように構成される。
請求項3に記載の発明は、押出機と、該押出機の前方に取り付けられているダイスと、該ダイスの先端部に設けられている押出ノズルと、該押出ノズルに対応して設けられているカッター装置とからなり、前記押出ノズルから冷却水中にストランド状に押し出される溶融樹脂を冷却水中で前記カッター装置により切断してペレットを得る製造装置であって、前記カッター装置は、前記押出ノズル側へ所定の力で押圧され、そして所定の回転速度で駆動されるカッターホルダと、該カッターホルダの円周部に円周方向に所定の間隔をおいて取り付けられている複数枚のカッター刃とからなり、前記カッター刃は、前記カッターホルダに取り付けられる取付部と、押出ノズルの表面上を移動して前記押出ノズルから冷却水中にストランド状に押し出される溶融樹脂を冷却水中で切断する軸方向に所定長さの刃部とからなり、前記刃部は、前記押出ノズルの表面から離間した側の頂面と、該頂面の所定位置から回転方向に見て先端部に向けて薄くなるように傾斜しているすくい面とからなり、該すくい面の、回転方向に見て先端部が刃先となっていると共に、前記すくい面は、前記取付部側の根元側よりも先端部側が広くなるように構成される。
以上のように、本発明によると、カッター刃のすくい面は、取付部側の根元側よりも先端部側が広くなるように構成されているので、換言するとカッター刃が冷却水中で回転駆動されるとき、冷却水から受ける反力は先端部側が大きくなるように構成されているので、カッターホルダを介して加えられる押付圧力と、カッター刃に冷却水から加えられる反力の第1の合力の作用点は、刃部の長手方向の略中心点の方へ移動する、あるいは移動させることができる。
一方、カッター刃には、前記第1の合力の反力としてダイスの表面から第2の合力が作用するが、この第2の合力の作用点は刃部の長手方向の略中心点である。すなわち、第1、2の合力の作用点は一致するので、あるいはすくい面を広くすることにより一致させることができるので、カッター刃に曲げモーメントは生じない。したがって、本発明によると、カッター刃の刃部が軸方向に長くてもカッター刃とダイスの表面との間に隙間が生じるようなことはなく、均一な粒径の、品質の高いペレットを製造することができるという、本発明に特有の効果が得られる。また、刃部が軸方向に長くても弾性変形をしないので、ペレット製造装置の大型化が可能である。
請求項2に記載の発明によると、刃部は、取付部側の根元側よりも先端部側が厚くなっていると共に、その頂面は前記取付部側の根元側よりも先端部側が狭くなっているので、先端部側を極端に厚くしなくてもすくい面は広くなり、同様な効果が得られる。
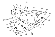
以下、本発明の実施の形態を図1〜3によって説明する。本実施の形態に係るペレット製造装置は、従来周知のように押出機、押出機の先端部に取り付けられているダイス、ダイスに対応して配置されるカッタ装置等から構成されている。押出機は、シリンダバレルと、シリンダバレル内に回転駆動可能に設けられているスクリュとからなり、シリンダバレルの先端部にはダイスが、そしてダイスの先端部には、図2の斜視図に一部が示されているように、リング状の押出ノズル10が取り付けられている。押出ノズル10は断面形状は略台形を呈し、この押出ノズル10には前記シリンダバレルのボアに連通した複数個のノズル孔11、11、…が所定の間隔をおいて明けられている。これらのノズル孔11、11、…は、押出ノズル10の表面に開口している。このように複数個のノズル孔11、11、…がカッター刃1側に開口している状態が、図2に示されている。
カッタ装置の構成要素であるカッター刃1、1、…が取り付けられるカッターホルダも図には示されていないが、面積の比較的広い底面と、狭い頂面とから略円錐台形を呈するように構成されている。底面がダイスあるいは押出ノズル10の表面と対面する面になっているが、この底面の中心部は窪んでいる。換言すると、円周部は厚肉になっている。そして、カッター刃1、1、…は、厚肉部分に円周方向に所定間隔をおいて取り付けられるようになっている。このように構成されているカッターホルダは、カッター軸に取り付けられ、ダイスの方向に所定の力で押された状態で回転駆動される。また、上記したダイス、押出ノズル、カッター刃、カッターホルダ等はケーシング内に収納され、押出ノズル10から冷却水中に押し出されるストランド状の溶融樹脂は、カッタ装置により冷却水中で切断され、そして排出されるようになっているが、カッター軸の駆動装置、ケーシング、冷却水の給排装置等も図には示されていない。
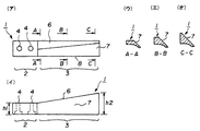
図1には、本発明の実施の形態に係るカッタ装置のカッター刃1が示されている。図1の(ア)はその平面図、図1の(イ)はその側面図、そして図1の(ウ)、(エ)および(オ)は、図1の(ア)において線A−A、B−BおよびC−Cのそれぞれで切断して示す断面図である。本実施の形態に係るカッター刃1は、従来周知のカッター刃と同様に、カッターホルダに取り付けられる取付部2と、ダイスの押出ノズル10の表面側に位置する軸方向に所定長さの刃部3とから構成されている。取付部2には2個のボルト孔4、4が明けられている。一方、刃部3の形状は、従来周知のカッター刃のそれとは、以下に説明するように異なっている。すなわち、図1〜3に示されているように、刃部3は頂面6と、この頂面6の所定位置から回転方向に見て先端部に向けて薄くなるように傾斜している傾斜面すなわちすくい面7とからなり、すくい面7の先端部が刃先8となっている。このような頂面6、すくい面7および刃先8の関係は、図2の斜視図に比較的理解しやすいように示されている。また、側面的に見ると、取付部2の厚さは、図1の(イ)に示されているように一様の「h1」になっているが、刃部3は取付部2の方から先端部にかけて「h1」から「h2」と厚さがテーパ状に増すように構成されている。
このように、刃部3が取付部2から先端部にかけて厚さが増しているので、すくい面7の面積は先端部にかけて広くなっているが、本実施の形態によると、図2に示されているように頂面6の面積が先端部にかけて狭くなるようにして、すくい面7が形成されている。これにより、すくい面7の面積は先端部にかけてさらに広くなっている。このように、刃部3のすくい面7の面積が先端部にかけて徐々に広くなっている状態が、図1の(ウ)、(エ)および(オ)にも示されている。
図2には、本発明の実施の形態に係る1本のカッター刃1が、図に示されていないカッターホルダにボルト孔4、4を利用して取り付けられ、カッター刃1の刃部3がダイスの押出ノズル10の表面に接している様子が示されている。
次に、本発明の実施の形態に係るカッター刃1が、冷却水中で押出ノズル10の表面に接しながら回転駆動されるときに、冷却水から受ける力について説明する。図3は、本実施の形態に係るカッター刃1の各部位における断面図で、その(ア)、(イ)および(ウ)は、図1の(ア)において線A−A、B−BおよびC−Cでそれぞれ切断して冷却水の流れと共に模式的に示す断面図である。
図3に示されているように、カッター刃1の刃部3の冷却水の流れは、図7の(イ)に示されている従来周知のカッター刃の冷却水の流れと同様である。すなわち、押出ノズル10の表面近傍の流線r1は、押出ノズル10の表面に平行に右方から左方に流れ、そしてカッター刃1のすくい面7の近傍で上向きの流れに変えられ、そしてカッター刃1の後方に流れる。流線r1よりも押出ノズル10の表面から離間している冷却水は、流線r2で示されている。この流線r2の曲がりは緩やかである。押出ノズル10の表面から離間した冷却水は、流線r3に示されているように、押出ノズル10の表面とほぼ平行に流れる。したがって、流れ方向が変化するのは押出ノズル10の表面の近傍の冷却水であり、この近傍の冷却水について考える。断面A−Aにおいては、図3の(ア)に示されているように、この冷却水は、図面垂直方向の単位長さに対して、単位時間当たりの流量Qaだけ流れるが、カッター刃1から離間した位置では、押出ノズル10の表面と平行に平均流速v1で、すくい面7の近傍では、仰角θの平均流速v2で流れる。この冷却水の流れの変化によって生じる運動量の単位時間当たりの変化のうち、上向きの成分は、冷却水の比質量をρとすると、次式(2)で表すことができる。
ρ・Qa・v2・sinθ (2)
この運動量の変化は、すくい面7から冷却水が受けた上向きの力によって生じたものであり、すくい面7には反力として単位長さ当たり、下向きの冷却水の反力Paが生じ、その値は上記式(2)により与えられる。
断面B−Bにおける刃部3の厚さ「hb」は、断面A−Aにおける刃部3の厚さ「ha」よりも厚い。したがって、断面B−Bにおいては、図3の(イ)に示されているように、すくい面7の近傍で、仰角θの平均流速v2に曲げられて流れる冷却水は、Qaよりも量が多く、図面垂直方向の単位長さに対して、単位時間当たりの流量Qbだけ流れる。すくい面7に与えられる、単位長さ当たりの下向きの冷却水の反力Pbは、次式(3)で表すことができる。
ρ・Qb・v2・sinθ (3)
同様に、断面C−Cにおいては、刃部3の厚さ「hc」が厚いので、Qbよりも量が多い、図面垂直方向の単位長さに対して、単位時間当たりの流量Qcがすくい面7によって曲げられる。したがって、すくい面7に与えられる、単位長さ当たりの下向きの冷却水の反力Pcは、次式(4)で表すことができる。
ρ・Qc・v2・sinθ (4)
流量Qa、Qb、Qcは、Qa<Qb<Qcの関係があるので、すくい面7に与えられる冷却水の反力Pa、Pb、Pcの関係は次式(5)で与えられる。
Pa<Pb<Pc (5)
図4は、カッターホルダ15に1本のカッター刃1が取り付けられている状態を示す側断面図であり、この側断面図にカッター刃1がカッターホルダ15を介して加えられる力と、押出ノズル10の表面および冷却水から受ける力が模式的に示されている。カッター刃1には、その取付部2にはカッターホルダ15を介して押付圧力として下向きの押付力Fが与えられる。一方、冷却水中でカッター刃1が回転駆動されると、刃部3は冷却水から先端部に行くほど大きな下向きの冷却水の反力Pa、Pb、Pcが与えられる。また、カッター刃1は、押出ノズル10の表面に接しているので、押付圧力Fと冷却水の反力Pa、Pb、Pcの反力として、押出ノズル10の表面から一様に分布する上向きの反力N、N、…が与えられる。
ところで、カッター刃1に作用する上向きの反力N、N、…の中心点は、ちょうど押出ノズル10の表面の幅方向の中心、すなわち刃部1の長さ方向の中心であって、図に示されているように合力G2が作用していると考えられる。一方、下向きの押付力Fと冷却水の反力Pa、Pb、Pcの合力G1の作用点は、Pa<Pb<Pcの関係になっているので、従来の作用点よりも先端部に寄った位置となる。この位置は冷却水の反力Pa、Pb、Pc、換言すると刃部3のすくい面7の広さと、流速とにより決まり、合力G1の作用点を反力の合力G2と一致させることができる。これにより、カッター刃1に曲げモーメントは生じない。
本実施の形態に係るカッター刃1は、上記のように構成されているので、取付部2のボルト孔4、4を利用してカッターホルダの円周部に、円周方向に所定の間隔をおいて取り付ける。取り付けると、カッター刃1の刃部3はカッターホルダから外方へ出る。押出機の先端部に取り付けられている押出ノズル10の表面にカッター刃1の刃部3が接するように押し付けて、カッターホルダを冷却水中で回転駆動する。押出ノズル10のノズル孔11、11、…から連続的にストランド状に冷却水中に押し出される溶融樹脂は、回転しているカッター刃の刃先8により所定長さに切断される。このとき、本実施の形態によると、カッター刃1の刃部3が軸方向に長くてもカッター刃1に曲げモーメントが生じないので、換言するとカッター刃1の刃部3と押出ノズル10の表面との間に隙間が生じないので、粒径、形状等において均一なペレットを製造することができる。
本発明の実施の形態に係るカッター刃を示す図、その(ア)は平面図、その(イ)は側面図、その(ウ)、(エ)および(オ)は、その(ア)において、それぞれA−A、B−BおよびC−C方向に見た横断面図である。 本発明の実施の形態に係るカッター刃が押出ノズルの表面に接して取り付けられている状態を拡大して示す斜視図である。 本発明の実施の形態に係るカッター刃の、図1の(ア)において、それぞれA−A、B−BおよびC−C方向に見た図で、冷却水の流れ状態も同時に示す横断面図である。 本発明の実施の形態に係るカッター刃がカッターホルダに取り付けられている状態を示す図で、カッター刃に作用する力も同時に示す縦断面図である。 従来のペレット製造装置を示す断面図である。 従来のペレット製造装置の要部を示す図で、その(ア)はダイスとカッターホルダとカッター刃と関係を拡大して示す断面図、その(イ)は(ア)においてイーイ方向に見た側面図である。 従来のカッター刃を示す図で、その(ア)は斜視図、その(イ)は冷却水の流れ状態も同時に示す横断面図、その(ウ)はカッター刃に作用する力も同時に示す縦断面図である。
符号の説明
1 カッター刃 2 取付部
3 刃部 6 頂面
7 すくい面 8 刃先
10 押出ノズル 11 ノズル孔

Claims (3)

  1. カッターホルダに取り付けられる取付部(2)と、ダイスの表面上を移動して前記ダイスから冷却水中にストランド状に押し出される溶融樹脂を冷却水中で切断する軸方向に所定長さの刃部(3)とからなり、
    前記刃部(3)は、前記ダイスの表面から離間した側の頂面(6)と、該頂面の所定位置から回転方向に見て先端部に向けて薄くなるように傾斜しているすくい面(7)とからなり、該すくい面の、回転方向に見て先端部が刃先(8)となっているカッター刃であって、
    前記すくい面(7)は、前記取付部(2)側の根元側よりも先端部側が広くなっていることを特徴とする、ペレット製造装置用のカッター刃。
  2. 請求項1に記載のカッター刃において、前記刃部は、前記取付部(2)側の根元側(h1)よりも先端部側(h2)が厚くなっていると共に、前記頂面(6)は前記取付部(2)側の根元側よりも先端部側が狭くなり、それによって前記すくい面(7)は、前記取付部(2)側の根元側よりも先端部側が広くなっていることを特徴とする、ペレット製造装置用のカッター刃。
  3. 押出機と、該押出機の前方に取り付けられているダイスと、該ダイスの先端部に設けられている押出ノズルと、該押出ノズルに対応して設けられているカッター装置とからなり、前記押出ノズルから冷却水中にストランド状に押し出される溶融樹脂を冷却水中で前記カッター装置により切断してペレットを得る製造装置であって、
    前記カッター装置は、前記押出ノズル側へ所定の力で押圧され、そして所定の回転速度で駆動されるカッターホルダと、該カッターホルダの円周部に円周方向に所定の間隔をおいて取り付けられている複数枚のカッター刃とからなり、
    前記カッター刃は、前記カッターホルダに取り付けられる取付部(2)と、押出ノズル(10)の表面上を移動して前記押出ノズル(10)から冷却水中にストランド状に押し出される溶融樹脂を冷却水中で切断する軸方向に所定長さの刃部(3)とからなり、
    前記刃部(3)は、前記押出ノズル(10)の表面から離間した側の頂面(6)と、該頂面の所定位置から回転方向に見て先端部に向けて薄くなるように傾斜しているすくい面(7)とからなり、該すくい面の、回転方向に見て先端部が刃先(8)となっていると共に、前記すくい面(7)は、前記取付部(2)側の根元側よりも先端部側が広くなっていることを特徴とする、ペレット製造装置。
JP2008163011A 2008-06-23 2008-06-23 ペレット製造装置用のカッター刃およびペレット製造装置 Active JP4838286B2 (ja)

Priority Applications (1)

Application Number Priority Date Filing Date Title
JP2008163011A JP4838286B2 (ja) 2008-06-23 2008-06-23 ペレット製造装置用のカッター刃およびペレット製造装置

Applications Claiming Priority (1)

Application Number Priority Date Filing Date Title
JP2008163011A JP4838286B2 (ja) 2008-06-23 2008-06-23 ペレット製造装置用のカッター刃およびペレット製造装置

Publications (2)

Publication Number Publication Date
JP2010000740A true JP2010000740A (ja) 2010-01-07
JP4838286B2 JP4838286B2 (ja) 2011-12-14

Family

ID=41582844

Family Applications (1)

Application Number Title Priority Date Filing Date
JP2008163011A Active JP4838286B2 (ja) 2008-06-23 2008-06-23 ペレット製造装置用のカッター刃およびペレット製造装置

Country Status (1)

Country Link
JP (1) JP4838286B2 (ja)

Cited By (6)

* Cited by examiner, † Cited by third party
Publication number Priority date Publication date Assignee Title
JP2012245739A (ja) * 2011-05-30 2012-12-13 Japan Steel Works Ltd:The ペレット製造装置のカッタ刃およびペレット製造装置
KR101401032B1 (ko) 2013-07-12 2014-05-29 김동순 합성수지 펠릿제조장치의 커팅장치부
CN110353763A (zh) * 2019-07-10 2019-10-22 北京大学口腔医学院 一种片状软组织切取装置
WO2022168359A1 (ja) * 2021-02-03 2022-08-11 株式会社日本製鋼所 造粒装置用ダイス、造粒装置用カッター刃ホルダ、造粒装置用カッター刃ユニット、樹脂切断装置、造粒装置、および樹脂ペレットの製造方法
CN116160581A (zh) * 2023-02-13 2023-05-26 佛山市色邦新材料有限公司 一种色母粒切粒装置
JP2025010374A (ja) * 2020-12-24 2025-01-20 株式会社日本製鋼所 造粒方法

Citations (9)

* Cited by examiner, † Cited by third party
Publication number Priority date Publication date Assignee Title
JPS4951862A (ja) * 1972-09-19 1974-05-20
JPS57103829A (en) * 1980-12-20 1982-06-28 Hitachi Ltd Automatic operation control system of injection molding apparatus
JPS61105114A (ja) * 1985-10-29 1986-05-23 Citizen Watch Co Ltd 相補型絶縁ゲート型電界効界トランジスタ回路
JPH1128723A (ja) * 1997-07-08 1999-02-02 Kobe Steel Ltd 水中カット造粒装置
JPH11198134A (ja) * 1998-01-14 1999-07-27 Kobe Steel Ltd 水中カット造粒装置
JP2000301532A (ja) * 1999-04-22 2000-10-31 Japan Steel Works Ltd:The 造粒装置のカッター装置
JP2002307378A (ja) * 2001-04-17 2002-10-23 Japan Steel Works Ltd:The 樹脂造粒機用カッタナイフ
JP2003039427A (ja) * 2001-07-31 2003-02-13 Kobe Steel Ltd ペレタイザ用ナイフとこれを用いたペレタイザ
JP2003266433A (ja) * 2002-02-12 2003-09-24 Borsig Gmbh 低乱流高速回転刃

Patent Citations (9)

* Cited by examiner, † Cited by third party
Publication number Priority date Publication date Assignee Title
JPS4951862A (ja) * 1972-09-19 1974-05-20
JPS57103829A (en) * 1980-12-20 1982-06-28 Hitachi Ltd Automatic operation control system of injection molding apparatus
JPS61105114A (ja) * 1985-10-29 1986-05-23 Citizen Watch Co Ltd 相補型絶縁ゲート型電界効界トランジスタ回路
JPH1128723A (ja) * 1997-07-08 1999-02-02 Kobe Steel Ltd 水中カット造粒装置
JPH11198134A (ja) * 1998-01-14 1999-07-27 Kobe Steel Ltd 水中カット造粒装置
JP2000301532A (ja) * 1999-04-22 2000-10-31 Japan Steel Works Ltd:The 造粒装置のカッター装置
JP2002307378A (ja) * 2001-04-17 2002-10-23 Japan Steel Works Ltd:The 樹脂造粒機用カッタナイフ
JP2003039427A (ja) * 2001-07-31 2003-02-13 Kobe Steel Ltd ペレタイザ用ナイフとこれを用いたペレタイザ
JP2003266433A (ja) * 2002-02-12 2003-09-24 Borsig Gmbh 低乱流高速回転刃

Cited By (11)

* Cited by examiner, † Cited by third party
Publication number Priority date Publication date Assignee Title
JP2012245739A (ja) * 2011-05-30 2012-12-13 Japan Steel Works Ltd:The ペレット製造装置のカッタ刃およびペレット製造装置
KR101401032B1 (ko) 2013-07-12 2014-05-29 김동순 합성수지 펠릿제조장치의 커팅장치부
CN110353763A (zh) * 2019-07-10 2019-10-22 北京大学口腔医学院 一种片状软组织切取装置
JP2025010374A (ja) * 2020-12-24 2025-01-20 株式会社日本製鋼所 造粒方法
JP7707401B2 (ja) 2020-12-24 2025-07-14 株式会社日本製鋼所 造粒方法
WO2022168359A1 (ja) * 2021-02-03 2022-08-11 株式会社日本製鋼所 造粒装置用ダイス、造粒装置用カッター刃ホルダ、造粒装置用カッター刃ユニット、樹脂切断装置、造粒装置、および樹脂ペレットの製造方法
JP2022119010A (ja) * 2021-02-03 2022-08-16 株式会社日本製鋼所 造粒装置用ダイス、造粒装置用カッター刃ホルダ、造粒装置用カッター刃ユニット、樹脂切断装置、造粒装置、および樹脂ペレットの製造方法
CN116829322A (zh) * 2021-02-03 2023-09-29 株式会社日本制钢所 造粒装置用模具、造粒装置用切割刃保持器、造粒装置用切割刃单元、树脂切断装置、造粒装置及树脂颗粒的制造方法
CN116829322B (zh) * 2021-02-03 2026-01-02 株式会社日本制钢所 造粒装置用模具、造粒装置用切割刃保持器、造粒装置用切割刃单元、树脂切断装置、造粒装置及树脂颗粒的制造方法
CN116160581A (zh) * 2023-02-13 2023-05-26 佛山市色邦新材料有限公司 一种色母粒切粒装置
CN116160581B (zh) * 2023-02-13 2023-09-01 佛山市色邦新材料有限公司 一种色母粒切粒装置

Also Published As

Publication number Publication date
JP4838286B2 (ja) 2011-12-14

Similar Documents

Publication Publication Date Title
JP4838286B2 (ja) ペレット製造装置用のカッター刃およびペレット製造装置
JP5564010B2 (ja) ペレット製造装置のカッタ刃およびペレット製造装置
KR20080092456A (ko) 평편 말단 절삭구를 구비한 급경사 커터 허브
US4097212A (en) Pelletizer
KR101822590B1 (ko) 언더워터 커팅기의 펠렛 압출다이
JP2010520090A (ja) プラスチック溶融液から粒状化された粒子を生産するための装置
JPS6073811A (ja) 熱塑性材の線の切断用刃身
JP2012066387A (ja) ペレットの製造方法およびペレット製造装置
US6547549B2 (en) Pelletizing die for a pelletizer
WO2005028184A1 (ja) 樹脂材料の可塑化用スクリュー及び可塑化機構
JP2003266433A (ja) 低乱流高速回転刃
JP6116600B2 (ja) ペレット造粒装置用のカッター刃の取付方法
JPS5812841B2 (ja) プラスチツクオシダシセイケイキ
WO1998039147A1 (en) Underwater cutting pelletizer, knife used for the same pelletizer, and underwater cutting pelletization method using the same knife
JP2019089250A (ja) ブレーカプレート、ストランド製造装置、ペレット製造装置及びペレット製造方法
JP2011083920A (ja) アンダーウォターカット方式の造粒方法および造粒装置
JP6473098B2 (ja) 混練用スクリュ及び単軸押出機
JP2002355879A (ja) コニカル形二軸押出機用スクリュおよびそれを用いた押出成形方法
CN211968373U (zh) 一种挤出机防反流进料组件
JP2002307378A (ja) 樹脂造粒機用カッタナイフ
JP2013035202A (ja) スクリュー押し出し機
JP5186413B2 (ja) 樹脂造粒装置
JP4647076B2 (ja) ペレット化用樹脂カッティング装置及びペレット化方法
US12296506B2 (en) Resin cutter, granulator and pellet manufacturing method
JP6436454B2 (ja) 溶融材料供給装置

Legal Events

Date Code Title Description
A521 Request for written amendment filed

Free format text: JAPANESE INTERMEDIATE CODE: A523

Effective date: 20080716

A621 Written request for application examination

Free format text: JAPANESE INTERMEDIATE CODE: A621

Effective date: 20090316

A977 Report on retrieval

Free format text: JAPANESE INTERMEDIATE CODE: A971007

Effective date: 20110711

A131 Notification of reasons for refusal

Free format text: JAPANESE INTERMEDIATE CODE: A131

Effective date: 20110720

A521 Request for written amendment filed

Free format text: JAPANESE INTERMEDIATE CODE: A523

Effective date: 20110817

TRDD Decision of grant or rejection written
A01 Written decision to grant a patent or to grant a registration (utility model)

Free format text: JAPANESE INTERMEDIATE CODE: A01

Effective date: 20110927

A01 Written decision to grant a patent or to grant a registration (utility model)

Free format text: JAPANESE INTERMEDIATE CODE: A01

A61 First payment of annual fees (during grant procedure)

Free format text: JAPANESE INTERMEDIATE CODE: A61

Effective date: 20110929

FPAY Renewal fee payment (event date is renewal date of database)

Free format text: PAYMENT UNTIL: 20141007

Year of fee payment: 3

R150 Certificate of patent or registration of utility model

Ref document number: 4838286

Country of ref document: JP

Free format text: JAPANESE INTERMEDIATE CODE: R150

Free format text: JAPANESE INTERMEDIATE CODE: R150

R250 Receipt of annual fees

Free format text: JAPANESE INTERMEDIATE CODE: R250

R250 Receipt of annual fees

Free format text: JAPANESE INTERMEDIATE CODE: R250

R250 Receipt of annual fees

Free format text: JAPANESE INTERMEDIATE CODE: R250

R250 Receipt of annual fees

Free format text: JAPANESE INTERMEDIATE CODE: R250

R250 Receipt of annual fees

Free format text: JAPANESE INTERMEDIATE CODE: R250

R250 Receipt of annual fees

Free format text: JAPANESE INTERMEDIATE CODE: R250

R250 Receipt of annual fees

Free format text: JAPANESE INTERMEDIATE CODE: R250