JP2009257737A - 地中熱利用ヒートポンプシステム - Google Patents

地中熱利用ヒートポンプシステム Download PDF

Info

Publication number
JP2009257737A
JP2009257737A JP2009069499A JP2009069499A JP2009257737A JP 2009257737 A JP2009257737 A JP 2009257737A JP 2009069499 A JP2009069499 A JP 2009069499A JP 2009069499 A JP2009069499 A JP 2009069499A JP 2009257737 A JP2009257737 A JP 2009257737A
Authority
JP
Japan
Prior art keywords
heat
heat exchange
pump system
underground
heat pump
Prior art date
Legal status (The legal status is an assumption and is not a legal conclusion. Google has not performed a legal analysis and makes no representation as to the accuracy of the status listed.)
Granted
Application number
JP2009069499A
Other languages
English (en)
Other versions
JP4966330B2 (ja
Inventor
Kazuo Oshima
和夫 大島
Current Assignee (The listed assignees may be inaccurate. Google has not performed a legal analysis and makes no representation or warranty as to the accuracy of the list.)
Mitsubishi Materials Techno Corp
Original Assignee
Mitsubishi Materials Techno Corp
Priority date (The priority date is an assumption and is not a legal conclusion. Google has not performed a legal analysis and makes no representation as to the accuracy of the date listed.)
Filing date
Publication date
Application filed by Mitsubishi Materials Techno Corp filed Critical Mitsubishi Materials Techno Corp
Priority to JP2009069499A priority Critical patent/JP4966330B2/ja
Publication of JP2009257737A publication Critical patent/JP2009257737A/ja
Application granted granted Critical
Publication of JP4966330B2 publication Critical patent/JP4966330B2/ja
Active legal-status Critical Current
Anticipated expiration legal-status Critical

Links

Images

Classifications

    • FMECHANICAL ENGINEERING; LIGHTING; HEATING; WEAPONS; BLASTING
    • F24HEATING; RANGES; VENTILATING
    • F24TGEOTHERMAL COLLECTORS; GEOTHERMAL SYSTEMS
    • F24T10/00Geothermal collectors
    • F24T10/10Geothermal collectors with circulation of working fluids through underground channels, the working fluids not coming into direct contact with the ground
    • YGENERAL TAGGING OF NEW TECHNOLOGICAL DEVELOPMENTS; GENERAL TAGGING OF CROSS-SECTIONAL TECHNOLOGIES SPANNING OVER SEVERAL SECTIONS OF THE IPC; TECHNICAL SUBJECTS COVERED BY FORMER USPC CROSS-REFERENCE ART COLLECTIONS [XRACs] AND DIGESTS
    • Y02TECHNOLOGIES OR APPLICATIONS FOR MITIGATION OR ADAPTATION AGAINST CLIMATE CHANGE
    • Y02EREDUCTION OF GREENHOUSE GAS [GHG] EMISSIONS, RELATED TO ENERGY GENERATION, TRANSMISSION OR DISTRIBUTION
    • Y02E10/00Energy generation through renewable energy sources
    • Y02E10/10Geothermal energy

Landscapes

  • Engineering & Computer Science (AREA)
  • Life Sciences & Earth Sciences (AREA)
  • Sustainable Development (AREA)
  • Sustainable Energy (AREA)
  • Chemical & Material Sciences (AREA)
  • Combustion & Propulsion (AREA)
  • Mechanical Engineering (AREA)
  • General Engineering & Computer Science (AREA)
  • Central Air Conditioning (AREA)
  • Other Air-Conditioning Systems (AREA)
  • Road Paving Structures (AREA)
  • Heat-Pump Type And Storage Water Heaters (AREA)

Abstract

【課題】地中熱交換井内の循環管路体に、交換井熱交換量増加手段を隣接して埋設し、地中熱交換井の熱交換量を増加させる地中熱利用ヒートポンプシステムの提供。
【解決手段】本発明は、地中に掘削された地中熱交換井2と、地中熱交換井2に埋設されて地中熱側熱交換部3を形成し、第1の循環流体が循環する第1の循環管路体Aと、熱制御対象物を加熱又は冷却するための負荷側熱交換部29を有し、第2の循環流体が循環する第2の循環管路体Bと、第1の循環管路体Aと、第2の循環管路体Bとの間に設けられ、第1の循環流体より高温又は低温の第2の循環流体を造成する地中熱利用ヒートポンプ6と、地中熱交換井2内に、地中熱側熱交換部3に隣接して埋設され、地中熱交換井2の熱交換量を増加させるための交換井熱交換量増加手段とからなる。交換井熱交換量増加手段は一方の側に穴が形成されたU状管路体15であるとよい。
【選択図】 図1

Description

本発明は、地中熱交換井の地中熱を利用して熱制御対象物を加熱又は冷却する地中熱利用ヒートポンプシステムに関する。さらに詳しくは、地中熱交換井内の循環管路体の地中熱側熱交換部に、地中熱交換井用熱補助装置を隣接して埋設し、地中熱交換井の地中熱交換量を増加させた地中熱利用ヒートポンプシステムに関する。
従来から、地中熱を利用する地中熱交換井の方式としては、地中熱交換井内にポリエチレン製パイプをU字状に曲げて構成されたUチューブを埋設する方式(以下、Uチューブ方式と記載)、地中熱交換井内にステンレス管を外管にポリエチレン製パイプを内管とする二重管等を埋設する方式(以下、同軸二重管方式と記載)等が知られている。地中の温度は、年間を通してほぼ一定であり、外気温度に比べると、夏は低く、冬は高くなっている。従って、外気との温度差を利用するために地中にUチューブ、同軸二重管等を埋設し、Uチューブ、同軸二重管等によりこの地中熱を採熱し、ヒートポンプの熱源として利用することが行われており、これに関しては種々の提案がなされている。
即ち、地中においてほぼ一定である10〜15℃の恒温状態にある地中熱を利用して熱交換を行なうもので、例えば、冬であれば高温エネルギーとして暖房用熱源又は融雪用熱源等のため採熱し利用することができる。又、夏であれば低温エネルギーとして冷房用熱源等のために採熱し利用することができる。このような地中熱利用ヒートポンプシステムは、人工的な熱源、例えば冷暖房装置等からの排熱を大気に放熱しない。そのため、自然エネルギー利用の1つとして例えば夏における都心部のヒートアイランド抑制対策としても注目されている。又、寒冷地における暖房装置として使用されるとよい。
又、大気よりも安定した温度のエネルギーであるので、効率的な省エネルギーとなり且つCO(二酸化炭素)の発生の少ない熱源の熱供給システムとして促進されつつある。このような従来における地中熱利用ヒートポンプの例として、掘削した後の地中井戸に筒状のケーシングと、このケーシング内に配設され往路管部、復路管部、折曲部を有する配管と、この配管に接続され熱媒体を循環させるヒートポンプ本体とを備えた地中熱利用ヒートポンプの構造に関する技術が知られている(例えば、特許文献1参照)。この技術では、ケーシング内に充填されている水を強制的に循環させ熱効率を高めることができるとされている。
又、地中に配設された熱媒体循環方式の地中熱採熱井戸の融雪装置において、隣接して別に掘削された井戸から地下水をヒートポンプで熱交換した熱水と混ぜて、採熱井戸に圧力を注入し採熱井戸内で熱交換させ地中熱の採熱量を多くし、地上部のヒートポンプ熱交換器の熱効率を高める地中熱採熱井戸の融雪装置に関する技術が知られている(例えば、特許文献2参照)。
又、複数の熱交換器を組み合わせ、地下水の温度を利用することにより、居住区内で空気を自然対流させて室内空調を行う地下水を利用した住宅空調システムに関する技術も知られている(例えば、特許文献3参照)。この技術は、ヒートポンプを備え、このヒートポンプの熱源側通路として、地熱との熱交換を行う地下水を循環させる地下水循環通路を用いることを特徴としたものである。
さらに、本出願人もハイブリッド式地中熱利用ヒートポンプ装置に関する技術を提案している(特許文献4参照)。これは、地中に掘削された地中熱交換井に循環水を循環させる循環路体を埋設し、この循環水を加熱する補助熱源と、熱量不足の場合この補助熱源を稼動させるための制御を行なう制御装置を設けて構成されるものである。
特開2005−090902号公報 特開2005−207718号公報 特開2005−207704号公報 特開2006−145059号公報
以上、説明したように、地中熱交換井としては、一般にUチューブ方式、同軸二重管方式が開発され実用化されている。このように、地中熱を、Uチューブ、同軸二重管を介して採熱し利用することは公知である。しかしながら、その技術は、まだ不十分であり、特に恒温状態にある地中熱を効率よく活用する点においては、さらに改善の余地がある。
特許文献1の技術は、地下水が豊富にある地層の地中熱を利用するものであるが、井戸にケーシングを使用している。このケーシング内に水を充填させた熱交換井となっていて、地中熱はこの水を介して熱採取している。この水を強制的に流動させるためにエアー又は水を供給しケーシング底より噴出させている構成のものである。この技術は地下水が存在することを前提にしており、ケーシング等の設置等コスト負担の大きい構成のものである。
特許文献2の技術は、融雪装置に関するものであり、ヒートポンプで熱交換された熱水の貯湯槽に地下水を通過させ、熱水となった地下水を地下採熱井戸に圧入し、地中熱の採熱量を多くできるようにしたものである。しかし、この技術も、地下水が存在することが前提であり、混合させる地下水の取水のための専用の掘削井戸と地下水を汲み上げ供給する設備を必要とする。地下水を採熱井戸の底部にもたらし、混合させる方式のものであるが、温度変化の少ない地下水を流動させているのみであるので、投資した設備に見合う熱交換効果が得られているかどうか疑問を呈するものである。
特許文献3の技術は、住宅空調用のものであるが、この技術も地下水を利用する技術である。この地下水による熱採取方法は、地中に地下水循環通路を埋設し採熱する構成であるが、地中に補助的に熱移動を可能にする装置を有して熱効率を向上させる技術ではない。
一般に、地中熱利用ヒートポンプシステムにおいて、地中熱交換量を増やすためには、多くの地中熱交換井、より深い地中熱交換井を掘削する必要がある。又、異なる方法で地中熱利用ヒートポンプシステムで熱を多く発生させて運転効率を上げようとする場合は、熱エネルギーを補給する必要がある。同一の地中熱利用ヒートポンプシステムの中での熱エネルギー交換は、システム全体のエネルギー増加を図ることができず、運転効率を向上させる改善は望めない。
このように、他のエネルギー源からの熱エネルギーを地中熱利用ヒートポンプシステムに補給する場合において、システムの全体設備の中に蓄熱槽がある場合は、熱エネルギーの温度等にも左右されるが補給する熱エネルギーを蓄熱槽に直接補給する方法が一般的である。しかしながら、蓄熱槽を別に設置するにはそれなりに専用の設備を要しコストアップとなる。全体システムの中に畜熱槽を必要としない場合は、地中熱交換井の周囲の地中に熱エネルギーを補給し、貯えることができれば別に掘削の必要がないので経済的である。
さらに地中熱利用ヒートポンプシステムを運転すると、どうしても地中熱交換井近傍の温度勾配が低下した状態となりがちである。この低下は、採取される熱エネルギー(地中熱交換量)が地層の有効熱伝導率に影響されることに関与している。地層がどのような有効熱伝導率になっているかを考慮し、又どの程度の時間で低下又は上昇するのかは、シミュレーションでその温度変化傾向を推測することは可能である。このように、地中熱交換井の周囲の温度勾配が低下して熱交換量が低くなる状況から、熱交換量を増やすための方法の1つは、地中熱交換井近傍の温度勾配を高くすることである。
地中熱交換井近傍の温度勾配を高くする方法として、例えば地中熱交換井近傍の地下水を少し汲み上げ、あるいは循環させることがある。このことは既に従来から行われており、又外部からエネルギーを加えることにより熱交換を効率よくすることも行なわれている。このエネルギー供給は、一般に専用の熱源を有するものになっている。しかし、その外部エネルギーはCO(二酸化炭素)の発生のない自然エネルギーの使用で補給するのが好ましく、又、地下水の有無に関わらずさらにケーシング等の設備を要しないで熱交換効率を高める装置が好ましくその開発が望まれている。
本発明は、このような従来のシステムにおける問題点を解決するために開発されたものであり、エネルギーの有効活用により熱交換効率を向上させたシステムとし、次の目的を達成する。
本発明の目的は、簡素な設備で自然エネルギー等を補助的に使用して地中熱交換井の地中熱交換量の増大を図り、熱効率を向上させることができる地中熱利用ヒートポンプシステムを提供することにある。
本発明は、前記目的を達成するために次の手段をとる。即ち、
本発明1の地中熱利用ヒートポンプシステムは、地中に所定深さまで掘削された地中熱交換井と、この地中熱交換井に埋設されて地中熱側熱交換部を形成し、第1の循環流体が循環する第1の循環管路体と、熱制御対象物を加熱又は冷却するため第2の循環流体が循環する第2の循環管路体と、前記第1の循環管路体と、前記第2の循環管路体との間に設けられ、前記第1の循環流体より高温又は低温の前記第2の循環流体を造成する地中熱利用ヒートポンプと、前記地中熱交換井内に、前記第1の循環管路体の前記地中熱側熱交換部に隣接して埋設され、前記地中熱交換井の熱交換量を増加させるための交換井熱交換量増加手段とからなっている。
本発明2の地中熱利用ヒートポンプシステムは、本発明1において、前記交換井熱交換量増加手段は、U状管路体、直線状管路体、及び、螺旋状管路体から選択される1種以上が、前記地中熱側熱交換部に隣接して埋設されているものであることを特徴とする。
本発明3の地中熱利用ヒートポンプシステムは、本発明2において、前記U状管路体は、埋設されているU状部位の一方の直線状管路部に複数の穴が形成されたものであることを特徴とする。
本発明4の地中熱利用ヒートポンプシステムは、本発明3において、前記U状管路体には、前記U状部位の他方の直線状管路部に、気体供給体からの気体が供給可能な供給パイプが設けられていることを特徴とする。
本発明5の地中熱利用ヒートポンプシステムは、本発明4において、前記U状管路体の前記一方の直線状管路部には、管路を所定の位置で遮断するパッカーが設けられていることを特徴とする。
本発明6の地中熱利用ヒートポンプシステムは、本発明4において、前記U状管路体は、前記U状部位の上端部が連結された循環管路体を構成するものであり、前記循環管路体には、前記上端部及び連結部に前記地下水を異なる経路に導くことを可能とする開閉バルブが設けられていることを特徴とする。
本発明7の地中熱利用ヒートポンプシステムは、本発明2において、前記直線状管路体は、下方側の所定の範囲に、複数の穴が形成され、この穴を介して前記直線状管路体内に地下水の流入を可能にしたものであり、前記直線状管路体の内部には、気体供給体からの気体が供給可能な気体供給パイプ又は地下水を汲み上げるための揚水ポンプが設けられていることを特徴とする。
本発明8の地中熱利用ヒートポンプシステムは、本発明2において、前記直線状管路体は、1本以上埋設され、前記地中から地下水を揚水するための揚水用管路体、又は、前記揚水用管路体と揚水された水を前記地中に注水するための注水用管路体とであることを特徴とする。
本発明9の地中熱利用ヒートポンプシステムは、本発明2において、前記交換井熱交換量増加手段は、前記地中熱交換井側熱交換部に隣接して埋設されているU状管路体を含む補助エネルギー供給用循環管路体と、この補助エネルギー供給用循環管路体に、加熱又は冷却された補助循環流体を循環させて前記U状管路体に供給する補助エネルギー供給装置とからなっていることを特徴とする。
本発明10の地中熱利用ヒートポンプシステムは、本発明9において、前記補助エネルギー供給装置は、太陽熱、地熱、温泉熱から選択される1種以上で加熱又は冷却された補助循環流体を循環供給する装置であることを特徴とする。
本発明11の地中熱利用ヒートポンプシステムは、本発明9において、前記補助エネルギー供給装置は、排熱により加熱された補助循環流体を循環供給させる装置であることを特徴とする。
本発明12の地中熱利用ヒートポンプシステムは、本発明9において、前記補助エネルギー供給装置は、夜間電力又は余剰電力により加熱又は冷却された補助循環流体を循環供給させる装置であることを特徴とする。
本発明13の地中熱利用ヒートポンプシステムは、本発明1において、前記交換井熱交換量増加手段は、電気ヒーターであることを特徴とする。
以上のように、本発明の地中熱利用ヒートポンプシステムは、自然エネルギー、排熱エネルギー等の利用により補助的に熱を加えて地中熱交換井の地中熱を維持するようにしたので、簡素な構成でCO(二酸化炭素)の発生等のない熱交換効率の向上したシステムを構築することが可能となった。又、このシステムは地下水の有無に関わらずどの地層においても適用することができ、低コストで簡素な構成のシステムとすることができた。
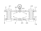
図1は、本発明の地中熱利用ヒートポンプシステムの実施の形態1を示し、地中熱交換井に地中熱交換用Uチューブと穴のあるU状管路体を埋設した形態の地中熱利用ヒートポンプシステムを模式的に示した構成図である。 図2は、地中熱利用ヒートポンプの構成を模式的に示した説明図である。 図3は、地中熱利用ヒートポンプシステムの実施の形態2を示し、地中熱交換井に地中熱交換用Uチューブと穴のないU状管路体を埋設した形態の地中熱利用ヒートポンプシステムを模式的に示した構成図である。 図4は、地中熱利用ヒートポンプシステムの実施の形態3を示し、地中熱交換井に地中熱交換用Uチューブと電気ヒーターを埋設した形態の地中熱利用ヒートポンプシステムを模式的に示した構成図である。 図5は、地中熱利用ヒートポンプシステムの実施の形態4を示し、U状管路体の所定の位置にパッカーを設けた形態の地中熱利用ヒートポンプシステムを模式的に示した構成図である。 図6は、地中熱利用ヒートポンプシステムの実施の形態5、6を示し、地中熱交換井に地中熱交換用Uチューブと穴のある2本の直線状管路体を埋設した形態の地中熱利用ヒートポンプシステムを模式的に示した構成図である。
以下、本発明の実施の形態を図面に基づき説明する。
図1は、本発明の実施の形態1を示し、地中熱交換井に地中熱交換用Uチューブと穴のあるU状管路体を埋設した形態の地中熱利用ヒートポンプシステムを模式的に示した構成図である。図2は、地中熱利用ヒートポンプの構成を模式的に示した説明図である。図3は、本発明の実施の形態2を示し、地中熱交換井に地中熱交換用Uチューブと穴のないU状管路体を埋設した形態の地中熱利用ヒートポンプシステムを模式的に示した構成図である。
図4は、本発明の実施の形態3を示し、地中熱交換井に地中熱交換用Uチューブと電気ヒーターを埋設した形態の地中熱利用ヒートポンプシステムを模式的に示した構成図である。図5は、本発明の実施の形態4を示し、U状管路体の所定の位置にパッカーを設けた形態の地中熱利用ヒートポンプシステムを模式的に示した構成図である。
図1に示すように、地中に、地中熱利用ヒートポンプシステム1の地中熱交換井2が掘削されている。この地中熱交換井2は、例えば深さ100〜150mの掘削深さのもので、掘削壁にケーシング等を設置するものではない。
この地中熱交換井2に、熱交換パイプとしてポリエチレン製パイプをU字状に曲げて構成されたU字状の管、即ち地中熱交換用Uチューブ(以下Uチューブと記載する)3が埋設されている。このUチューブ3が埋設された後、地中熱交換井2は硅砂等充填材で充填される。なお、埋設されるUチューブ3は、通常は1本であるが、複数本設置されてもよい。また、地中熱交換井の充填材は、硅砂等充填材と掘削した砂等とが混合されたものであってもよい。このUチューブ3は、第1循環流体4を循環させるための閉じられた管路を構成し、中間部が地中熱交換井2の底部でU字状に折り曲げ部5の形状をなし、両端部が地上に張り出し地中熱利用ヒートポンプ6の第1熱交換部21に接続されている。
封入されている第1循環流体4は、第1循環管路体A内を、矢印で示す方向に循環している。この第1循環流体4は、不凍液、水等であり、地中熱利用ヒートポンプ6内の第1熱交換部21、Uチューブ3の一部である第1循環経路7、折り曲げ部5、第2循環経路8を経て循環している。このような構成の循環経路を循環する第1循環流体4は、例えば冬季の場合、地上側の地中熱利用ヒートポンプ6の第1熱交換部21で熱交換し、第1循環経路7、折り曲げ部5、第2循環経路8を循環し、再び第1熱交換部21に戻る。Uチューブ3に形成された第1循環経路7、折り曲げ部5、第2循環経路8が地中熱交換井側熱交換部を構成する。又、第1循環経路7、折り曲げ部5、第2循環経路8、第1熱交換部21を含み、第1循環流体4が循環する循環経路(循環管路)が第1循環管路体Aを構成する。
このとき地中は地上の外気温度に比べ恒温状態で地中温度が高くなっているので、第1循環流体4は地上側から地中に送り込まれると、地中熱交換井側熱交換部(第1循環経路7、折り曲げ部5、第2循環経路8)で採熱し、暖められて第1熱交換部21側に循環することになる。第1熱交換部21で、第1循環流体4と熱交換された熱媒体26(図2参照)は地中熱利用ヒートポンプ6によってさらに暖められ、循環する。熱媒体26は第2熱交換部23で第2循環流体10と熱交換する。温水となった第2循環流体10は、熱制御対象物(例えば、建物、道路等)の融雪、暖房等の設備である熱交換装置9の負荷側熱交換部29で融雪、暖房等のための熱源として利用される。第2循環流体10は、不凍液、水等であるとよい。
地中熱利用ヒートポンプ6は公知の装置ではあるが、理解を容易にするため次に図2をもとに説明する。
地中熱用ヒートポンプ6は第1熱交換部21、第2熱交換部23、圧縮部(圧縮機)22、膨張部(膨張弁)24、熱媒体循環路25等から構成されている。熱媒体循環路25内には、融雪、暖房用の熱源とする場合、熱媒体26が矢印で示した方向に循環している。第1熱交換部21は、第1循環流体4と熱媒体26との間で熱交換を行なう部位である。即ちUチューブ3を循環する第1循環流体4の熱量を熱媒体26に熱移動させる。第2熱交換部23は、熱媒体26と第2循環流体10との間で熱交換を行なう部位である。即ち、熱媒体26の熱量を第2循環流体10に熱移動させる。熱移動された第2循環流体10は、管路11、管路12、利用側の熱交換装置9を含む第2循環管路体Bを循環し、負荷側熱交換部29で熱源として利用される。
地中熱交換井2に配設したUチューブ3の第1循環経路7、第2循環経路8等を循環する第1循環流体4は、第1循環ポンプ13によって循環する。第1循環流体4は、Uチューブ3を介し、地中熱交換井2の地中との間で熱交換(熱採取)を行う。熱交換によって熱を得た第1循環流体4は中温水となって地上に戻り、地中熱利用ヒートポンプ6の第1熱交換部21を通過する。
第1循環流体4は、第1熱交換部21において熱媒体26との間で熱交換を行なって低温水となってUチューブ3に戻り、地中熱交換井2の地中と熱交換(熱採取)を行なう。第1熱交換部21において、第1循環流体4との間で熱交換した熱媒体26は、図2に示すように、圧縮機22において圧縮されることによってさらに高温となり、第2熱交換部23に送られる。
第2熱交換部23で、熱媒体26は、第2循環流体10との間で熱交換を行う。第2循環流体10は、熱交換装置9の負荷側熱交換部29に循環し熱源として利用される。熱媒体26との間で熱交換を行ない、熱を得た第2循環流体10は温水となって、第2循環ポンプ14によって管路11、12等第2循環管路体Bを循環し、負荷側熱交換部29において、地上側の暖房システム、暖房装置、融雪システム、融雪装置等の熱源として利用される。
一方、例えば夏季の場合には、図2に示した矢印と反対方向に熱媒体26は循環する。第1循環流体4は、Uチューブ3を通過する際、外気温度より低い温度の地中と熱交換し、低い温度の第1循環流体4となる。第1循環流体4と熱交換した熱媒体26は冷却され、膨張弁24によって減圧されることによって、さらに低温となって第2熱交換部23に送られる。ここで、低温の熱媒体26は、第2熱交換部23で第2循環流体10と熱交換する。低温になった第2循環流体10は負荷側熱交換部29において、冷房システム、冷房装置等の熱源として利用される。
〔実施の形態1〕
図1に基づいて、地中熱利用ヒートポンプシステムの実施の形態1について説明を行う。この実施の形態1の地中熱利用ヒートポンプシステム1は、地下水の流動性が少ない地域に好適な形態である。
前述したような地中熱利用ヒートポンプシステムの構成に対し、同じ地中熱交換井2内に、前述したUチューブ3に隣接してU状管路体15を設けている。このU状管路体15の材質は、例えばポリエチレンパイプであり、交換井熱交換量増加手段を構成する。このU状管路体15は、塩化ビニル製のいわゆるVP管など他の材質のものであってもよい。
このU状管路体15はUチューブ3の全長あるいは一部に沿って配置され、閉じられた管路を構成している。このU管路体15は、第1管路16と、折り曲げ部17と、第2管路18で構成され、第1管路16と第2管路18の端部は、中間開閉バルブ30を介して接続されている。又、この第1管路16の端部には第1開閉バルブ31、第2管路18の端部には第2開閉バルブ32が設けられ、外気との間でU状管路体15の開閉が可能となっている。
又、第2管路18には複数の穴19が全長に亘って設けられている。この第2管路18に穴19を設けたことで、この穴19を介してU状管路体15内に地中熱交換井2内の地下水が流れ込む。第1管路16は穴を設けていない。この第1管路16には、エアーホース33が挿入されていて、地上からコンプレッサー20を介して圧縮空気が供給される。この穴19は丸穴、溝状の穴が好ましいが、長穴、楕円穴、角穴、星形穴等他の形状の穴であってもよい。溝状の穴、長穴、楕円穴は、第2管路18の長手方向が長手側、長径側になっていることが好ましい。
供給された圧縮空気は第1管路16内に放出される。この圧縮空気放出により、U状管路体15内にたまった地下水を上方へもたらし汲み上げることができ、地下水の流動を促進する。このことで、地中の温度上昇又は温度低下を抑制しながら、効率的に地中熱交換を行うことができる。なお、U状管路体15に供給される媒体はエアーで説明したが、他の気体、ガス等であってもよい。
圧縮空気供給により地下水を汲み上げる方式(いわゆる、エアーリフト方式)で汲み上げられた地下水は、地上の配管に設置したバルブ開閉操作で地上に排出することも、閉回路にして地上に汲み上げないまま第1管路16に戻しU状管路体15内を循環させることも可能である。すなわち、第1開閉バルブ31、第2開閉バルブ32を閉じ、中間バルブ30を開くことで循環させることができる。又、中間バルブ30を閉じ、第1開閉バルブ31及び/又は第2開閉バルブ32を開くことで地上側に汲み上げることができる。地中熱交換井2を設置した地域の地下特性や地下水流動の状況により、最適な構成を選定するとよい。
又、地中熱利用ヒートポンプシステムの運転に伴う地中温度の変化(上昇又は低下)の状況にあわせて、地下水の汲み上げ状態や循環状態を制御するようにしてもよい。
さらに状況によっては、別の井戸で汲み上げられた地下水をこれらのバルブを活用し注入することも可能である。
このようにこのU状管路体15をUチューブ3に隣接させて設けたことは、冷房運転時の温度上昇を少なくし、暖房運転時の温度下降を少なくすることができる。言い換えると、地中熱交換井2として、より効率的な熱交換を行なうことができる。
地中熱交換井2の地中温度が予め設定した温度より上昇あるいは下降した場合に、圧縮空気供給運転、開閉バルブ操作等を行うことで、U状管路体15の穴19から取り込んだ地下水を汲み上げたり、地下水を循環させたりするとよい。このような運転をすることで、地中熱交換井2の地下水の流動形態や地中熱交換井2全体の温度分布状態に変化を与えることができ、その結果、従来の地中熱交換井2よりも効率的な地中熱交換をすることができる。
地中熱利用ヒートポンプシステムの運転に伴なう地中温度の上昇や下降状況は地中の有効熱伝導率や運転時間により変化するが、このような地中温度の変化状況は地中温度シミュレーションにより予め想定することができる。タイマー等の制御システムを利用することで地中温度の上昇に適応して地下水の汲み上げ、循環、注入等の運転制御をすることができ、有効な地中熱交換が可能となる。又、これら循環流体、熱媒体を循環させるためのポンプ、コンプレッサー等のエネルギー源は太陽熱等の自然エネルギーを活用することが可能である。
地中熱交換井2内で採熱される地中熱は、井戸全深さに亘って均等ではない。このためU状管路体15に圧縮空気を噴出させると、地中熱交換井2に地下水の攪拌、対流等が起こり地中熱交換井2の底部側の地下水を上方へもたらすことになり、熱移動が発生する。
詳述すると、地中熱交換井2の底部側の加熱、あるいは、冷却された地下水を汲み上げることで地中熱交換井内の温度勾配を変えることにより、これに伴なって変化する熱を移動熱としている。移動熱は後述するように、交換井熱交換量増加手段の補助エネルギー供給装置により加熱又は冷却された補助循環流体の循環により、地中熱交換井内に熱を移動させることも同様の移動熱とみなす。
〔実施の形態2〕
図3に基づいて、地中熱利用ヒートポンプシステムの実施の形態2について説明を行う。この実施の形態2の地中熱利用ヒートポンプシステム1Aは、地下水の流動速度が極めて遅い地域や地下水が存在しない地域の場合に好適な形態である。なお、この実施の形態2におけるUチューブ3等の構成は、前述した実施の形態1のものと同一であり、同一の符号を付与して詳細な説明を省略する。
この形態2は前述のようにUチューブ3に沿って穴のないU状管路体40を地中熱交換井2内に埋設した例である。地中熱交換井2の近傍の地中を利用して蓄熱を行うことも可能な地中熱交換井システムの構築にも利用することができる。
一般に地下水流動が極めて少ない地層や地下水が存在しない地層の場合は、有効熱伝導率が低い。従って地中熱交換量が少ないため、同じ地中熱交換量が必要であるといって地中熱交換井の長さを延長して長くすると経済的には不利益となる。
しかし、このような地層は蓄熱が可能なことから、この実施の形態2で示すシステムを適用すると有効なシステムが構築できる。この形態2は、前述のように地中熱交換井2内に、前述同様、Uチューブ3に隣接してU状管路体40を埋設するものである。U状管路体40は、補助エネルギー供給用循環管路体Cの一部を構成するものである。U状管路体40は、穴のあいていない管路体であり、このU状管路体40はUチューブ3の全長あるいは一部に沿って配置されるとよい。この補助エネルギー供給用循環管路体Cに、補助循環流体43をポンプ42を介して循環させ、U状管路体40に供給させる構成になっている。補助循環流体43は、不凍液、水等であるとよい。補助循環流体43は、補助エネルギー供給装置41により加熱または冷却される。この形態2の交換井熱交換量増加手段は、U状管路体40を含む補助エネルギー供給用循環管路体C、補助エネルギー供給装置41、補助循環流体43で構成される。
この補助エネルギー供給装置41は、冬季の場合、太陽熱、地熱、温泉熱等の自然エネルギー、不要とする排熱、排気熱、廃熱等のエネルギー(例えば、廃棄物、産業廃棄物等燃焼による排熱、空調設備等の機械設備からの排熱、エンジンなど他の設備で発生する排熱等のエネルギー)、ガス等の排熱エネルギー、余剰電力、夜間電力等の使用で得られるエネルギーなどを利用して補助循環流体43を加熱するとよい。この補助エネルギー供給用循環管路体CのU状管路体40を地中熱交換井2に埋設することで、地中熱の温度を高めると同時に蓄熱してその温度を維持しUチューブ3の第1循環流体4の温度を効率的に高めることができる。従って、地中熱交換井2は蓄熱槽としての機能を有することにもなる。
又、夏季の場合には、温水に代わって冷水を補助エネルギー供給用循環管路体Cに循環させ、U状管路体40を介して冷熱を地中熱交換井2に蓄熱することも可能である。なお、このような地中熱交換井2の近傍の地中への蓄熱に利用するU状管路体40は、循環する温水、冷水の流量、温度により適切なサイズや材質を選定することで効率的、経済的な熱交換を行うことができる。
〔実施の形態3〕
図4に基づいて、地中熱利用ヒートポンプシステムの実施の形態3について説明を行う。図4は、実施の形態3の地中熱利用ヒートポンプシステム1Bを示している。なお、この実施の形態3におけるUチューブ3等の構成も、前述した実施の形態1のものと同一であり、同一の符号を付与して詳細な説明を省略している。
この形態3は、Uチューブ3に沿って地中熱交換井2内に電気ヒーター50を埋設した例である。この形態3は、地中熱交換井2の地中を電気ヒーター50を介して暖め、又は、蓄熱させて熱移動を行う方式である。この電気ヒーター50のエネルギー源は、前述同様太陽熱等の自然エネルギーを利用することが可能である。又、人工的に得られたものではあるが不要とする排熱、排気熱、廃熱のエネルギー(例えば、廃棄物、産業廃棄物等燃焼による排熱、空調設備等の機械設備からの排熱、エンジンなど他の設備で発生する排熱、ガス等の排熱等のエネルギー)を利用してもよい。さらに、夜間電力、余剰電力等のエネルギーを利用してもよい。この形態3では、電気ヒーター50が交換井熱交換量増加手段となる。
なお、電気ヒーター50は、前述した実施の形態1のU状管路体15及び/またはUチューブ、実施の形態2のU状管路体40及び/またはUチューブ等と隣接して埋設させてもよい。
〔実施の形態4〕
図5に基づいて、地中熱利用ヒートポンプシステムの実施の形態4について説明を行う。この実施の形態4の地中熱利用ヒートポンプシステム1Cは、地下水位面が地表から深い位置にある地域に好適なものである。なお、この実施の形態4におけるUチューブ3等の構成も、前述した実施の形態1のものと同一であり、同一の符号を付与して詳細な説明を省略している。
図5に示すように、この形態4の地中の状況は、地下水位面68は地表から深い位置にある。そこで、U状管路体15aの第2管路18aの地下水位面68に対応する位置にパッカー65を設け、第2管路18aを途中で遮断している。パッカー65は、U状管路体15aの第2管路18a内に挿入後、膨張させることで第2管路18aを遮断するものとして周知であり、この形態の説明では詳細な説明を省略する。U状管路体15aは、第1管路16a、折り曲げ部17a、第2管路18aで構成されている。
この第2管路18aには、エアーホース133が挿入されていて、地上からコンプレッサー20を介して圧縮空気が供給される。又、第2管路18aの端部には第3開閉バルブ132が設けられ、外気との間でU状管路体15aの開閉が可能となっている。又、第1管路16aには、エアーホース33が挿入されていて、地上からコンプレッサー20を介して圧縮空気が供給される。この第1管路16aの端部には第1開閉バルブ31が設けられ、外気との間でU状管路体15aの開閉が可能となっている。第1管路16aと第2管路18aとは、中間開閉バルブ30を介して接続されている。U状管路体15a、パッカー65等が交換井熱交換量増加手段となる。
このような構成とすることで、地下水位面68から下部側の穴19aを介して、第2管路18aの下部側、第1管路16a等に流入した地下水を汲み上げることができる。また、第2管路18aの下部側、第1管路16a等に流入した地下水を汲み上げながら第2管路18aの上部側の穴19bから地下水等を、地下水位面68より上の地中に注入処理してもよい。コンプレッサー20とエアホース33、133の間には、エア開閉バルブ121、122が設けられており、エアホース33、エアホース133には、個別に、圧縮空気を供給することができる。もちろん、エアホース33、エアホース133の両方に、圧縮空気を供給することもできる。エアホース33から圧縮空気を供給する動作で、第2管路18aの下部側、第1管路16a等に溜まった地下水を汲み上げることができる。汲み上げられた地下水は、第1開閉バルブ31、中間開閉バルブ30の開閉操作によって、地上に排出することができる。また、第3開閉バルブ132から別の地下水等を注入することができる。
このようにすることで、パッカー65から下の地下水の流動を促進し、地中の温度上昇又は温度低下を抑制しながら、効率的に地中熱交換を行うことができる。なお、パッカー65の位置は、熱交換効果に最適な位置を任意に選択することができる。また、この地中熱利用ヒートポンプシステム1Cは、電気ヒーターが、地中熱交換井に、Uチューブ及び/またはU状管路体に隣接して埋設された構成のものであってもよい。電気ヒーターは太陽熱等の自然エネルギー、排熱、排気熱、廃熱のエネルギー、夜間電力等を利用するとよい。
〔実施の形態5〕
図6は、地中熱交換井に地中熱交換用Uチューブと穴のある2本の直線状管路体(揚水用管路体、注水用管路体)を埋設した形態の地中熱利用ヒートポンプシステムを模式的に示した構成図である。
図6に基づいて、地中熱利用ヒートポンプシステムの実施の形態5について説明を行う。この実施の形態5の地中熱利用ヒートポンプシステム1Dは、前述した実施の形態1の変形例に相当するものであり、Uチューブ3に隣接して、直線状の揚水用管路体201を地中熱交換井2に埋設した形態としている。なお、この実施の形態5におけるUチューブ3等の構成は、前述した実施の形態1のものと同一であり、同一の符号を付与して詳細な説明を省略している。
この揚水用管路体201は、下端が閉じているとともに、下方側の所定の範囲に、穴202が形成されている。なお、この揚水用管路体201は、砂等が入らないように下端が閉じているものが好ましいが、開いていてもよい。この揚水用管路体201に穴202を設けたことで、この穴202を介して揚水用管路体201内に地中熱交換井2内の地下水が流れ込む。この穴202は丸穴、溝状の穴が好ましいが、長穴、楕円穴、角穴、星形穴等他の形状の穴であってもよい。溝状の穴、長穴、楕円穴は、揚水用管路体201の長手方向が長手側、長径側になっていることが好ましい。
この揚水用管路体201には、エアーホース33が挿入されていて、地上からコンプレッサー20を介して圧縮空気が供給される。供給された圧縮空気は揚水用管路体201内に放出される。この圧縮空気放出により、揚水用管路体201内にたまった地下水を上方へもたらし汲み上げることができ、汲み上げた地下水は、図示しない管路を介して地中熱交換井2の外部(地上)に排出して、地下水の流動を促進する。いわゆる、エアーリフト方式で、揚水用管路体201内の地下水を揚水する。この実施の形態5の場合には、揚水用管路体201のみを地中熱交換井2に埋設したものであってもよく、図6に示した形態の中間開閉バルブ30を閉状態にしたものであってもよい。このことで、地中の温度上昇又は温度低下を抑制しながら、効率的に地中熱交換を行うことができる。なお、揚水用管路体201に供給される媒体はエアーで説明したが、他の気体、ガス等であってもよい。さらに、圧縮空気の供給で地下水を汲み上げる方式(エアーリフト方式)の形態で説明したが、揚水用管路体201に小型の揚水ポンプを内蔵して、地下水を汲み上げる揚水ポンプ方式のものであってもよい。
〔実施の形態6〕
さらに、図6に基づいて、地中熱利用ヒートポンプシステムの実施の形態6について説明を行う。実施の形態6の地中熱利用ヒートポンプシステム1Eは、実施の形態5の変形例であり、揚水用管路体201に隣接して、直線状の注水用管路体211を埋設した形態のものである。すなわち、直線状の揚水用管路体201、注水用管路体211を、Uチューブ3に隣接して地中熱交換井2に埋設した形態となっている。なお、この実施の形態6におけるUチューブ3等の構成も、前述した実施の形態1のものと同一であり、同一の符号を付与して詳細な説明を省略している。
この注水用管路体211は、地中熱交換井2から揚水した水を、地中熱交換井2側に戻すため注水するものである。揚水用管路体201と注水用管路体211との間には、管路及び中間開閉バルブ30が設けられている。注水用管路体211の下方側の所定の範囲に、穴212が形成されている。この注水用管路体211に穴212を設けたことで、この穴212を介して注水用管路体211内の水が地中熱交換井2側に注水される。すなわち、中間開閉バルブ30を開状態にしたとき、エアリフト方式、揚水ポンプ等により揚水用管路体201内から揚水された地下水が、管路、中間開閉バルブ30を介して注水用管路体211側に移動し、注水用管路体211の穴212から地中熱交換井2側に注水される。すなわち、地下水が循環する。
なお、この地中熱利用ヒートポンプシステム1Eは、中間開閉バルブが無い形態のものであってもよい。また、この地中熱利用ヒートポンプシステム1D、1Eは、電気ヒーターが、地中熱交換井に、Uチューブ及び/または直線状管路体に隣接して埋設された構成のものであってもよい。電気ヒーターは太陽熱等の自然エネルギー、排熱、排気熱、廃熱のエネルギー、夜間電力等を利用するとよい。
なお、注水用管路体は、穴が形成された直線状の管体と、この管体内に挿入されたパッカーとで構成された注水用管路構成体で代用してもよい。また、予め注水する位置が確認されている場合には、注水用管路体の長さをこの位置に相当する長さのもの(例えば、図6に示した注水用管路体より長さが短いもの)としてもよい。
本発明の実施の形態について以上のとおり説明したが、本発明はこの実施の形態に限定されない。本発明の目的、趣旨を逸脱しない範囲内での変更が可能なことはいうまでもない。例えば、図示していないが、交換井熱交換量増加手段の管路体は、Uチューブの周囲を螺旋状に囲むようにした管路を含む管路体であってもよく、又、熱伝導率の高い部材をUチューブとU状管路体に接触あるいは結合させる構成にしてもよい。この場合はU状管路体の熱をUチューブに直接熱移動させることができる。さらに、Uチューブのみが既に設置されている井戸であれば、U状管路体を追加の形で設置しこのシステムを構築することも可能である。
1、1A、1B、1C、1D、1E…地中熱利用ヒートポンプシステム
2…地中熱交換井
3…地中熱交換用Uチューブ
4…第1循環流体
6…地中熱利用ヒートポンプ
9…熱交換装置
10…第2循環流体
15、40…U状管路体
19、119…穴
20…コンプレッサー
33…エアーホース
41…補助エネルギー供給装置
43…補助循環流体
50…電気ヒーター
65…パッカー
201…揚水用管路体
211…注水用管路体
A…第1循環管路体
B…第2循環管路体
C…補助エネルギー供給用循環管路体

Claims (13)

  1. 地中に所定深さまで掘削された地中熱交換井と、
    この地中熱交換井に埋設され前記地中と熱交換を行うための地中熱交換井側熱交換部を有し、第1循環流体が循環する第1循環管路体と、
    熱制御対象物を加熱又は冷却するための負荷側熱交換部を有し、第2循環流体が循環する第2循環管路体と、
    前記第1循環管路体と、前記第2循環管路体との間に設けられ、前記第1循環流体より高温又は低温の前記第2循環流体を造成する地中熱利用ヒートポンプと、
    前記地中熱交換井内に、前記第1循環管路体の前記地中熱交換井側熱交換部に隣接して埋設され、前記地中熱交換井の熱交換量を増加させるための交換井熱交換量増加手段と
    からなる地中熱利用ヒートポンプシステム。
  2. 請求項1に記載の地中熱利用ヒートポンプシステムにおいて、
    前記交換井熱交換量増加手段は、U状管路体、直線状管路体、及び、螺旋状管路体から選択される1種以上が、前記地中熱交換井側熱交換部に隣接して埋設されているものである
    ことを特徴とする地中熱利用ヒートポンプシステム。
  3. 請求項2に記載の地中熱利用ヒートポンプシステムにおいて、
    前記U状管路体は、埋設されているU状部位の一方の直線状管路部に複数の穴が形成され、この穴を介して前記U状管路体内に地下水の流入を可能にしたものである
    ことを特徴とする地中熱利用ヒートポンプシステム。
  4. 請求項3に記載の地中熱利用ヒートポンプシステムにおいて、
    前記U状管路体には、前記U状部位の他方の直線状管路部に、気体供給体からの気体が供給可能な供給パイプが設けられている
    ことを特徴とする地中熱利用ヒートポンプシステム。
  5. 請求項4に記載の地中熱利用ヒートポンプシステムにおいて、
    前記U状管路体の前記一方の直線状管路部には、管路を所定の位置で遮断するパッカーが設けられている
    ことを特徴とする地中熱利用ヒートポンプシステム。
  6. 請求項4に記載の地中熱利用ヒートポンプシステムにおいて、
    前記U状管路体は、前記U状部位の上端部が連結された循環管路体を構成するものであり、
    前記循環管路体には、前記上端部及び連結部に前記地下水を異なる経路に導くことを可能とする開閉バルブが設けられている
    ことを特徴とする地中熱利用ヒートポンプシステム。
  7. 請求項2に記載の地中熱利用ヒートポンプシステムにおいて、
    前記直線状管路体は、下方側の所定の範囲に、複数の穴が形成され、この穴を介して前記直線状管路体内に地下水の流入を可能にしたものであり、前記直線状管路体の内部には、気体供給体からの気体が供給可能な気体供給パイプ、又は、地下水を汲み上げるための揚水ポンプが設けられている
    ことを特徴とする地中熱利用ヒートポンプシステム。
  8. 請求項2に記載の地中熱ヒートポンプシステムにおいて、
    前記直線状管路体は、1本以上埋設され、前記地中から地下水を揚水するための揚水用管路体、又は、前記揚水用管路体と揚水された水を前記地中に注水するための注水用管路体とである
    ことを特徴とする地中熱利用ヒートポンプシステム。
  9. 請求項2に記載の地中熱利用ヒートポンプシステムにおいて、
    前記交換井熱交換量増加手段は、前記地中熱交換井側熱交換部に隣接して埋設されている前記U状管路体を含む補助エネルギー供給用循環管路体と、加熱又は冷却された補助循環流体を、前記補助エネルギー供給用循環管路体の前記U状管路体に循環させて供給する補助エネルギー供給装置とからなっている
    ことを特徴とする地中熱利用ヒートポンプシステム。
  10. 請求項9に記載の地中熱利用ヒートポンプシステムにおいて、
    前記補助エネルギー供給装置は、太陽熱、地熱、温泉熱から選択される1種以上で加熱又は冷却された補助循環流体を循環供給する装置である
    ことを特徴とする地中熱利用ヒートポンプシステム。
  11. 請求項9に記載の地中熱利用ヒートポンプシステムにおいて、
    前記補助エネルギー供給装置は、排熱により加熱された補助循環流体を循環供給させる装置である
    ことを特徴とする地中熱利用ヒートポンプシステム。
  12. 請求項9に記載の地中熱利用ヒートポンプシステムにおいて、
    前記補助エネルギー供給装置は、夜間電力又は余剰電力により加熱又は冷却された補助循環流体を循環供給させる装置である
    ことを特徴とする地中熱利用ヒートポンプシステム。
  13. 請求項1に記載の地中熱利用ヒートポンプシステムにおいて、
    前記交換井熱交換量増加手段は、電気ヒーターである
    ことを特徴とする地中熱利用ヒートポンプシステム。
JP2009069499A 2008-03-24 2009-03-23 地中熱利用ヒートポンプシステム Active JP4966330B2 (ja)

Priority Applications (1)

Application Number Priority Date Filing Date Title
JP2009069499A JP4966330B2 (ja) 2008-03-24 2009-03-23 地中熱利用ヒートポンプシステム

Applications Claiming Priority (3)

Application Number Priority Date Filing Date Title
JP2008075842 2008-03-24
JP2008075842 2008-03-24
JP2009069499A JP4966330B2 (ja) 2008-03-24 2009-03-23 地中熱利用ヒートポンプシステム

Publications (2)

Publication Number Publication Date
JP2009257737A true JP2009257737A (ja) 2009-11-05
JP4966330B2 JP4966330B2 (ja) 2012-07-04

Family

ID=41385378

Family Applications (1)

Application Number Title Priority Date Filing Date
JP2009069499A Active JP4966330B2 (ja) 2008-03-24 2009-03-23 地中熱利用ヒートポンプシステム

Country Status (1)

Country Link
JP (1) JP4966330B2 (ja)

Cited By (19)

* Cited by examiner, † Cited by third party
Publication number Priority date Publication date Assignee Title
JP2011191014A (ja) * 2010-03-16 2011-09-29 Sumitomo Fudosan Kk 地中熱利用システム
CN102287945A (zh) * 2011-06-28 2011-12-21 沈阳中建东设岩土工程有限公司 一种多井合一水源热能交换方法及地热井
JP2012215377A (ja) * 2011-03-25 2012-11-08 Tohoku Univ 地中熱交換システムと熱交換井の施工方法
JP2013036694A (ja) * 2011-08-09 2013-02-21 Nakamura Bussan Kk 地熱利用構造および地熱熱交換器埋設構造
KR101307039B1 (ko) * 2013-04-05 2013-09-11 삼양에코너지 주식회사 고착방지용 지중열교환기
CN103954060A (zh) * 2014-05-07 2014-07-30 李建峰 深层干热岩层地热组合换热系统
CN103968605A (zh) * 2014-04-26 2014-08-06 山东建筑大学 一种集群竖埋管地热换热器传热简化分析方法
JP2015021621A (ja) * 2013-07-16 2015-02-02 ジオシステム株式会社 揚水型熱交換装置
WO2015053430A1 (ko) * 2013-10-08 2015-04-16 서울시립대학교 산학협력단 지중 열교환 시스템
KR101580078B1 (ko) * 2015-04-03 2015-12-23 주식회사 신성엔지니어링 열효율이 향상된 지중 열교환 시스템
JP2016161193A (ja) * 2015-02-27 2016-09-05 三菱マテリアルテクノ株式会社 冷温熱同時蓄熱システムを有する地中熱ヒートポンプシステム
CN106440428A (zh) * 2016-10-21 2017-02-22 浙江陆特能源科技股份有限公司 地源双u型地埋管强化换热传导装置
CN108151344A (zh) * 2017-12-13 2018-06-12 湖南中大经纬地热开发科技有限公司 一种单u形埋地换热器
CN108151365A (zh) * 2017-12-13 2018-06-12 湖南中大经纬地热开发科技有限公司 一种埋地换热器
CN108151554A (zh) * 2017-12-13 2018-06-12 湖南中大经纬地热开发科技有限公司 一种双u形埋地换热器
CN111609574A (zh) * 2019-02-25 2020-09-01 国家电投集团科学技术研究院有限公司 可持续利用的跨季节地热能开发系统
CN111750552A (zh) * 2013-06-26 2020-10-09 杨泰和 借埋设式支柱管体构成内循环热传流体散热结构及应用装置
CN115875849A (zh) * 2022-11-29 2023-03-31 重庆交通大学 高寒地区中高地热利用系统
KR102660042B1 (ko) * 2023-01-10 2024-04-23 주식회사 지앤지테크놀러지 복합열원 지중열교환기를 구성한 지열 시스템

Families Citing this family (1)

* Cited by examiner, † Cited by third party
Publication number Priority date Publication date Assignee Title
CN104075485A (zh) * 2014-07-03 2014-10-01 李建峰 干热岩双效溴化锂吸收式热泵供热系统

Citations (5)

* Cited by examiner, † Cited by third party
Publication number Priority date Publication date Assignee Title
JPS61186757A (ja) * 1985-02-13 1986-08-20 Keijiro Yokoo 地熱利用融雪方法及びその装置
JP2004036972A (ja) * 2002-07-02 2004-02-05 Snow Techno:Kk ヒートパイプを用いた融雪装置
JP2005207718A (ja) * 2004-01-22 2005-08-04 Sakamoto Kazuhiko 地中熱利用の融雪装置
JP2006071134A (ja) * 2004-08-31 2006-03-16 Sekkei Kobo Flex:Kk 杭型熱交換装置及び該杭型熱交換装置を用いた蓄熱システム
JP2006145059A (ja) * 2004-11-16 2006-06-08 Mitsubishi Materials Natural Resources Development Corp ハイブリッド式地中熱利用ヒートポンプ装置及びその運転方法

Patent Citations (5)

* Cited by examiner, † Cited by third party
Publication number Priority date Publication date Assignee Title
JPS61186757A (ja) * 1985-02-13 1986-08-20 Keijiro Yokoo 地熱利用融雪方法及びその装置
JP2004036972A (ja) * 2002-07-02 2004-02-05 Snow Techno:Kk ヒートパイプを用いた融雪装置
JP2005207718A (ja) * 2004-01-22 2005-08-04 Sakamoto Kazuhiko 地中熱利用の融雪装置
JP2006071134A (ja) * 2004-08-31 2006-03-16 Sekkei Kobo Flex:Kk 杭型熱交換装置及び該杭型熱交換装置を用いた蓄熱システム
JP2006145059A (ja) * 2004-11-16 2006-06-08 Mitsubishi Materials Natural Resources Development Corp ハイブリッド式地中熱利用ヒートポンプ装置及びその運転方法

Cited By (26)

* Cited by examiner, † Cited by third party
Publication number Priority date Publication date Assignee Title
JP2011191014A (ja) * 2010-03-16 2011-09-29 Sumitomo Fudosan Kk 地中熱利用システム
JP2012215377A (ja) * 2011-03-25 2012-11-08 Tohoku Univ 地中熱交換システムと熱交換井の施工方法
CN102287945A (zh) * 2011-06-28 2011-12-21 沈阳中建东设岩土工程有限公司 一种多井合一水源热能交换方法及地热井
JP2013036694A (ja) * 2011-08-09 2013-02-21 Nakamura Bussan Kk 地熱利用構造および地熱熱交換器埋設構造
KR101307039B1 (ko) * 2013-04-05 2013-09-11 삼양에코너지 주식회사 고착방지용 지중열교환기
CN111750552A (zh) * 2013-06-26 2020-10-09 杨泰和 借埋设式支柱管体构成内循环热传流体散热结构及应用装置
JP2015021621A (ja) * 2013-07-16 2015-02-02 ジオシステム株式会社 揚水型熱交換装置
US10006668B2 (en) 2013-10-08 2018-06-26 University Of Seoul Industry Cooperation Foundation Underground heat-exchange system
WO2015053430A1 (ko) * 2013-10-08 2015-04-16 서울시립대학교 산학협력단 지중 열교환 시스템
CN103968605A (zh) * 2014-04-26 2014-08-06 山东建筑大学 一种集群竖埋管地热换热器传热简化分析方法
CN103968605B (zh) * 2014-04-26 2016-05-11 山东建筑大学 一种集群竖埋管地热换热器传热简化分析方法
CN103954060A (zh) * 2014-05-07 2014-07-30 李建峰 深层干热岩层地热组合换热系统
JP2016161193A (ja) * 2015-02-27 2016-09-05 三菱マテリアルテクノ株式会社 冷温熱同時蓄熱システムを有する地中熱ヒートポンプシステム
KR101580078B1 (ko) * 2015-04-03 2015-12-23 주식회사 신성엔지니어링 열효율이 향상된 지중 열교환 시스템
CN106440428A (zh) * 2016-10-21 2017-02-22 浙江陆特能源科技股份有限公司 地源双u型地埋管强化换热传导装置
CN108151554A (zh) * 2017-12-13 2018-06-12 湖南中大经纬地热开发科技有限公司 一种双u形埋地换热器
CN108151365A (zh) * 2017-12-13 2018-06-12 湖南中大经纬地热开发科技有限公司 一种埋地换热器
CN108151554B (zh) * 2017-12-13 2019-04-30 湖南中大经纬地热开发科技有限公司 一种双u形埋地换热器
CN108151365B (zh) * 2017-12-13 2019-07-19 湖南中大经纬地热开发科技有限公司 一种埋地换热器
CN108151344A (zh) * 2017-12-13 2018-06-12 湖南中大经纬地热开发科技有限公司 一种单u形埋地换热器
CN111609574A (zh) * 2019-02-25 2020-09-01 国家电投集团科学技术研究院有限公司 可持续利用的跨季节地热能开发系统
CN115875849A (zh) * 2022-11-29 2023-03-31 重庆交通大学 高寒地区中高地热利用系统
CN115875849B (zh) * 2022-11-29 2024-04-26 重庆交通大学 高寒地区中高地热利用系统
KR102660042B1 (ko) * 2023-01-10 2024-04-23 주식회사 지앤지테크놀러지 복합열원 지중열교환기를 구성한 지열 시스템
KR20240111681A (ko) * 2023-01-10 2024-07-17 주식회사 지앤지테크놀러지 열매체의 전환이 가능한 복합열원 지중열교환기를 구성한 지열 시스템
KR102804531B1 (ko) * 2023-01-10 2025-05-09 주식회사 지앤지테크놀러지 열매체의 전환이 가능한 복합열원 지중열교환기를 구성한 지열 시스템

Also Published As

Publication number Publication date
JP4966330B2 (ja) 2012-07-04

Similar Documents

Publication Publication Date Title
JP4966330B2 (ja) 地中熱利用ヒートポンプシステム
JP4535981B2 (ja) トンネル熱交換用パネル及びトンネル熱利用熱交換システム
Self et al. Geothermal heat pump systems: Status review and comparison with other heating options
CN105865085B (zh) 耦合咸水层强制对流井式土壤源热泵系统及运行方法
CN106223312B (zh) 一种提高浅层地热能利用效率的新型钢管能量桩及其制作方法
CN101581517B (zh) 单回路地热井下换热器热泵系统
JP4642579B2 (ja) 地熱採熱システム
US20100064710A1 (en) Self contained water-to-water heat pump
JP5963790B2 (ja) 地下水循環型地中熱採熱システム及び地中熱利用冷暖房又は給湯システム
WO2018014607A1 (zh) 一种冷热电联产地下连续墙装置及其施工方法
CN108518894B (zh) 储能式地埋管换热系统
WO2018014606A1 (zh) 一种冷热电联产pcc桩装置及其制作方法
JP2008292107A (ja) 熱交換器、熱交換システム及び熱交換システムの施工方法
WO2018014604A1 (zh) 一种冷热电联产灌注桩装置及其施工方法
WO2018014609A1 (zh) 一种冷热电联产高压旋喷插芯组合桩系统及其施工方法
JP2003262430A (ja) 地中熱利用のヒートポンプ
CN103090553A (zh) 寒区隧道衬砌太阳能-地源热泵联合蓄热加热系统及方式
KR20190053330A (ko) 충적대수층 계간축열 온실냉난방시스템
JP2006145059A (ja) ハイブリッド式地中熱利用ヒートポンプ装置及びその運転方法
JP2002054857A (ja) 地下水を利用したヒートポンプシステム
CN100513928C (zh) 地源热泵地下热换器的强化换热方法及其装置
CN111074906A (zh) 一种结合基坑支护结构和建筑结构的采暖系统及其施工方法
US20100251710A1 (en) System for utilizing renewable geothermal energy
JP2003307353A (ja) 不凍液循環式地中熱利用装置
CN101598474A (zh) 埋设在钻孔灌注桩内的地源热泵地埋管系统

Legal Events

Date Code Title Description
A621 Written request for application examination

Free format text: JAPANESE INTERMEDIATE CODE: A621

Effective date: 20091130

A977 Report on retrieval

Free format text: JAPANESE INTERMEDIATE CODE: A971007

Effective date: 20110823

A131 Notification of reasons for refusal

Free format text: JAPANESE INTERMEDIATE CODE: A131

Effective date: 20110901

A521 Request for written amendment filed

Free format text: JAPANESE INTERMEDIATE CODE: A523

Effective date: 20111006

TRDD Decision of grant or rejection written
A01 Written decision to grant a patent or to grant a registration (utility model)

Free format text: JAPANESE INTERMEDIATE CODE: A01

Effective date: 20120301

A01 Written decision to grant a patent or to grant a registration (utility model)

Free format text: JAPANESE INTERMEDIATE CODE: A01

A61 First payment of annual fees (during grant procedure)

Free format text: JAPANESE INTERMEDIATE CODE: A61

Effective date: 20120330

R150 Certificate of patent or registration of utility model

Free format text: JAPANESE INTERMEDIATE CODE: R150

FPAY Renewal fee payment (event date is renewal date of database)

Free format text: PAYMENT UNTIL: 20150406

Year of fee payment: 3

R250 Receipt of annual fees

Free format text: JAPANESE INTERMEDIATE CODE: R250

R250 Receipt of annual fees

Free format text: JAPANESE INTERMEDIATE CODE: R250

R250 Receipt of annual fees

Free format text: JAPANESE INTERMEDIATE CODE: R250

R250 Receipt of annual fees

Free format text: JAPANESE INTERMEDIATE CODE: R250

R250 Receipt of annual fees

Free format text: JAPANESE INTERMEDIATE CODE: R250