JP2009112902A - 流動槽、流動槽からの固体粒子の排出方法および被処理物の処理方法 - Google Patents
流動槽、流動槽からの固体粒子の排出方法および被処理物の処理方法 Download PDFInfo
- Publication number
- JP2009112902A JP2009112902A JP2007286421A JP2007286421A JP2009112902A JP 2009112902 A JP2009112902 A JP 2009112902A JP 2007286421 A JP2007286421 A JP 2007286421A JP 2007286421 A JP2007286421 A JP 2007286421A JP 2009112902 A JP2009112902 A JP 2009112902A
- Authority
- JP
- Japan
- Prior art keywords
- hopper
- solid particles
- gas
- solid particle
- fluidized bed
- Prior art date
- Legal status (The legal status is an assumption and is not a legal conclusion. Google has not performed a legal analysis and makes no representation as to the accuracy of the status listed.)
- Granted
Links
- 239000002245 particle Substances 0.000 title claims abstract description 399
- 239000007787 solid Substances 0.000 title claims abstract description 391
- 238000007599 discharging Methods 0.000 title claims abstract description 104
- 238000000034 method Methods 0.000 title claims abstract description 44
- 239000012530 fluid Substances 0.000 title claims abstract description 28
- 239000006185 dispersion Substances 0.000 claims description 9
- 238000003672 processing method Methods 0.000 claims description 9
- 238000005243 fluidization Methods 0.000 claims description 8
- 239000000463 material Substances 0.000 claims description 3
- 238000000354 decomposition reaction Methods 0.000 abstract description 111
- 239000007789 gas Substances 0.000 description 258
- 239000007788 liquid Substances 0.000 description 81
- 239000011347 resin Substances 0.000 description 78
- 229920005989 resin Polymers 0.000 description 78
- 238000001816 cooling Methods 0.000 description 52
- IJGRMHOSHXDMSA-UHFFFAOYSA-N Atomic nitrogen Chemical compound N#N IJGRMHOSHXDMSA-UHFFFAOYSA-N 0.000 description 33
- 238000010438 heat treatment Methods 0.000 description 25
- 229910052757 nitrogen Inorganic materials 0.000 description 17
- 239000003595 mist Substances 0.000 description 15
- 229920003229 poly(methyl methacrylate) Polymers 0.000 description 15
- 239000004926 polymethyl methacrylate Substances 0.000 description 15
- 238000005979 thermal decomposition reaction Methods 0.000 description 12
- 238000003756 stirring Methods 0.000 description 11
- CERQOIWHTDAKMF-UHFFFAOYSA-N Methacrylic acid Chemical compound CC(=C)C(O)=O CERQOIWHTDAKMF-UHFFFAOYSA-N 0.000 description 10
- 239000004925 Acrylic resin Substances 0.000 description 9
- 229920000178 Acrylic resin Polymers 0.000 description 9
- 238000009835 boiling Methods 0.000 description 9
- 238000002156 mixing Methods 0.000 description 8
- XLYOFNOQVPJJNP-UHFFFAOYSA-N water Chemical compound O XLYOFNOQVPJJNP-UHFFFAOYSA-N 0.000 description 8
- VVQNEPGJFQJSBK-UHFFFAOYSA-N Methyl methacrylate Chemical compound COC(=O)C(C)=C VVQNEPGJFQJSBK-UHFFFAOYSA-N 0.000 description 7
- VYPSYNLAJGMNEJ-UHFFFAOYSA-N Silicium dioxide Chemical compound O=[Si]=O VYPSYNLAJGMNEJ-UHFFFAOYSA-N 0.000 description 7
- 230000003247 decreasing effect Effects 0.000 description 7
- 239000012535 impurity Substances 0.000 description 7
- 239000000178 monomer Substances 0.000 description 7
- 238000000197 pyrolysis Methods 0.000 description 7
- 150000001412 amines Chemical class 0.000 description 6
- 238000000926 separation method Methods 0.000 description 6
- 230000007423 decrease Effects 0.000 description 5
- 239000008394 flocculating agent Substances 0.000 description 5
- -1 polyethylene Polymers 0.000 description 5
- 239000004576 sand Substances 0.000 description 5
- PPBRXRYQALVLMV-UHFFFAOYSA-N Styrene Chemical compound C=CC1=CC=CC=C1 PPBRXRYQALVLMV-UHFFFAOYSA-N 0.000 description 4
- 229920000642 polymer Polymers 0.000 description 4
- 239000002699 waste material Substances 0.000 description 4
- 239000002028 Biomass Substances 0.000 description 3
- HEMHJVSKTPXQMS-UHFFFAOYSA-M Sodium hydroxide Chemical compound [OH-].[Na+] HEMHJVSKTPXQMS-UHFFFAOYSA-M 0.000 description 3
- ZMANZCXQSJIPKH-UHFFFAOYSA-N Triethylamine Chemical compound CCN(CC)CC ZMANZCXQSJIPKH-UHFFFAOYSA-N 0.000 description 3
- 239000008346 aqueous phase Substances 0.000 description 3
- 239000007864 aqueous solution Substances 0.000 description 3
- 239000003054 catalyst Substances 0.000 description 3
- 238000002485 combustion reaction Methods 0.000 description 3
- 239000000110 cooling liquid Substances 0.000 description 3
- 239000000945 filler Substances 0.000 description 3
- 230000009477 glass transition Effects 0.000 description 3
- 239000007791 liquid phase Substances 0.000 description 3
- 239000003921 oil Substances 0.000 description 3
- VILCJCGEZXAXTO-UHFFFAOYSA-N 2,2,2-tetramine Chemical compound NCCNCCNCCN VILCJCGEZXAXTO-UHFFFAOYSA-N 0.000 description 2
- HZAXFHJVJLSVMW-UHFFFAOYSA-N 2-Aminoethan-1-ol Chemical compound NCCO HZAXFHJVJLSVMW-UHFFFAOYSA-N 0.000 description 2
- KUDUQBURMYMBIJ-UHFFFAOYSA-N 2-prop-2-enoyloxyethyl prop-2-enoate Chemical compound C=CC(=O)OCCOC(=O)C=C KUDUQBURMYMBIJ-UHFFFAOYSA-N 0.000 description 2
- SOGAXMICEFXMKE-UHFFFAOYSA-N Butylmethacrylate Chemical compound CCCCOC(=O)C(C)=C SOGAXMICEFXMKE-UHFFFAOYSA-N 0.000 description 2
- VTYYLEPIZMXCLO-UHFFFAOYSA-L Calcium carbonate Chemical compound [Ca+2].[O-]C([O-])=O VTYYLEPIZMXCLO-UHFFFAOYSA-L 0.000 description 2
- CURLTUGMZLYLDI-UHFFFAOYSA-N Carbon dioxide Chemical compound O=C=O CURLTUGMZLYLDI-UHFFFAOYSA-N 0.000 description 2
- QUSNBJAOOMFDIB-UHFFFAOYSA-N Ethylamine Chemical compound CCN QUSNBJAOOMFDIB-UHFFFAOYSA-N 0.000 description 2
- BAPJBEWLBFYGME-UHFFFAOYSA-N Methyl acrylate Chemical compound COC(=O)C=C BAPJBEWLBFYGME-UHFFFAOYSA-N 0.000 description 2
- 239000004793 Polystyrene Substances 0.000 description 2
- KKEYFWRCBNTPAC-UHFFFAOYSA-N Terephthalic acid Chemical compound OC(=O)C1=CC=C(C(O)=O)C=C1 KKEYFWRCBNTPAC-UHFFFAOYSA-N 0.000 description 2
- 239000000654 additive Substances 0.000 description 2
- 230000004931 aggregating effect Effects 0.000 description 2
- 239000003795 chemical substances by application Substances 0.000 description 2
- 150000001875 compounds Chemical class 0.000 description 2
- 238000004821 distillation Methods 0.000 description 2
- 230000000694 effects Effects 0.000 description 2
- 238000001125 extrusion Methods 0.000 description 2
- 238000007710 freezing Methods 0.000 description 2
- 230000008014 freezing Effects 0.000 description 2
- 230000006870 function Effects 0.000 description 2
- 238000004817 gas chromatography Methods 0.000 description 2
- 230000005484 gravity Effects 0.000 description 2
- 238000002844 melting Methods 0.000 description 2
- 230000008018 melting Effects 0.000 description 2
- 229910052751 metal Inorganic materials 0.000 description 2
- 239000002184 metal Substances 0.000 description 2
- 239000012071 phase Substances 0.000 description 2
- 229920003023 plastic Polymers 0.000 description 2
- 239000004033 plastic Substances 0.000 description 2
- 229920000515 polycarbonate Polymers 0.000 description 2
- 239000004417 polycarbonate Substances 0.000 description 2
- 229920000139 polyethylene terephthalate Polymers 0.000 description 2
- 239000005020 polyethylene terephthalate Substances 0.000 description 2
- 229920005672 polyolefin resin Polymers 0.000 description 2
- 229920002223 polystyrene Polymers 0.000 description 2
- 238000010298 pulverizing process Methods 0.000 description 2
- 239000002910 solid waste Substances 0.000 description 2
- 239000007921 spray Substances 0.000 description 2
- 229910001220 stainless steel Inorganic materials 0.000 description 2
- 239000010935 stainless steel Substances 0.000 description 2
- 230000036962 time dependent Effects 0.000 description 2
- SMZOUWXMTYCWNB-UHFFFAOYSA-N 2-(2-methoxy-5-methylphenyl)ethanamine Chemical compound COC1=CC=C(C)C=C1CCN SMZOUWXMTYCWNB-UHFFFAOYSA-N 0.000 description 1
- JJBFVQSGPLGDNX-UHFFFAOYSA-N 2-(2-methylprop-2-enoyloxy)propyl 2-methylprop-2-enoate Chemical compound CC(=C)C(=O)OC(C)COC(=O)C(C)=C JJBFVQSGPLGDNX-UHFFFAOYSA-N 0.000 description 1
- NIXOWILDQLNWCW-UHFFFAOYSA-N 2-Propenoic acid Natural products OC(=O)C=C NIXOWILDQLNWCW-UHFFFAOYSA-N 0.000 description 1
- VFZKVQVQOMDJEG-UHFFFAOYSA-N 2-prop-2-enoyloxypropyl prop-2-enoate Chemical compound C=CC(=O)OC(C)COC(=O)C=C VFZKVQVQOMDJEG-UHFFFAOYSA-N 0.000 description 1
- XOJWAAUYNWGQAU-UHFFFAOYSA-N 4-(2-methylprop-2-enoyloxy)butyl 2-methylprop-2-enoate Chemical compound CC(=C)C(=O)OCCCCOC(=O)C(C)=C XOJWAAUYNWGQAU-UHFFFAOYSA-N 0.000 description 1
- DBCAQXHNJOFNGC-UHFFFAOYSA-N 4-bromo-1,1,1-trifluorobutane Chemical compound FC(F)(F)CCCBr DBCAQXHNJOFNGC-UHFFFAOYSA-N 0.000 description 1
- JHWGFJBTMHEZME-UHFFFAOYSA-N 4-prop-2-enoyloxybutyl prop-2-enoate Chemical compound C=CC(=O)OCCCCOC(=O)C=C JHWGFJBTMHEZME-UHFFFAOYSA-N 0.000 description 1
- SAPGBCWOQLHKKZ-UHFFFAOYSA-N 6-(2-methylprop-2-enoyloxy)hexyl 2-methylprop-2-enoate Chemical compound CC(=C)C(=O)OCCCCCCOC(=O)C(C)=C SAPGBCWOQLHKKZ-UHFFFAOYSA-N 0.000 description 1
- FIHBHSQYSYVZQE-UHFFFAOYSA-N 6-prop-2-enoyloxyhexyl prop-2-enoate Chemical compound C=CC(=O)OCCCCCCOC(=O)C=C FIHBHSQYSYVZQE-UHFFFAOYSA-N 0.000 description 1
- NLHHRLWOUZZQLW-UHFFFAOYSA-N Acrylonitrile Chemical compound C=CC#N NLHHRLWOUZZQLW-UHFFFAOYSA-N 0.000 description 1
- VEXZGXHMUGYJMC-UHFFFAOYSA-M Chloride anion Chemical compound [Cl-] VEXZGXHMUGYJMC-UHFFFAOYSA-M 0.000 description 1
- RPNUMPOLZDHAAY-UHFFFAOYSA-N Diethylenetriamine Chemical compound NCCNCCN RPNUMPOLZDHAAY-UHFFFAOYSA-N 0.000 description 1
- JIGUQPWFLRLWPJ-UHFFFAOYSA-N Ethyl acrylate Chemical compound CCOC(=O)C=C JIGUQPWFLRLWPJ-UHFFFAOYSA-N 0.000 description 1
- PIICEJLVQHRZGT-UHFFFAOYSA-N Ethylenediamine Chemical compound NCCN PIICEJLVQHRZGT-UHFFFAOYSA-N 0.000 description 1
- MBMLMWLHJBBADN-UHFFFAOYSA-N Ferrous sulfide Chemical compound [Fe]=S MBMLMWLHJBBADN-UHFFFAOYSA-N 0.000 description 1
- 229910021578 Iron(III) chloride Inorganic materials 0.000 description 1
- CERQOIWHTDAKMF-UHFFFAOYSA-M Methacrylate Chemical compound CC(=C)C([O-])=O CERQOIWHTDAKMF-UHFFFAOYSA-M 0.000 description 1
- 239000004698 Polyethylene Substances 0.000 description 1
- 239000004743 Polypropylene Substances 0.000 description 1
- GSEJCLTVZPLZKY-UHFFFAOYSA-N Triethanolamine Chemical compound OCCN(CCO)CCO GSEJCLTVZPLZKY-UHFFFAOYSA-N 0.000 description 1
- ULQMPOIOSDXIGC-UHFFFAOYSA-N [2,2-dimethyl-3-(2-methylprop-2-enoyloxy)propyl] 2-methylprop-2-enoate Chemical compound CC(=C)C(=O)OCC(C)(C)COC(=O)C(C)=C ULQMPOIOSDXIGC-UHFFFAOYSA-N 0.000 description 1
- 239000002253 acid Substances 0.000 description 1
- 230000000996 additive effect Effects 0.000 description 1
- XYLMUPLGERFSHI-UHFFFAOYSA-N alpha-Methylstyrene Chemical compound CC(=C)C1=CC=CC=C1 XYLMUPLGERFSHI-UHFFFAOYSA-N 0.000 description 1
- WNROFYMDJYEPJX-UHFFFAOYSA-K aluminium hydroxide Chemical compound [OH-].[OH-].[OH-].[Al+3] WNROFYMDJYEPJX-UHFFFAOYSA-K 0.000 description 1
- DIZPMCHEQGEION-UHFFFAOYSA-H aluminium sulfate (anhydrous) Chemical compound [Al+3].[Al+3].[O-]S([O-])(=O)=O.[O-]S([O-])(=O)=O.[O-]S([O-])(=O)=O DIZPMCHEQGEION-UHFFFAOYSA-H 0.000 description 1
- 125000000129 anionic group Chemical group 0.000 description 1
- 229920006318 anionic polymer Polymers 0.000 description 1
- 239000003963 antioxidant agent Substances 0.000 description 1
- QVGXLLKOCUKJST-UHFFFAOYSA-N atomic oxygen Chemical compound [O] QVGXLLKOCUKJST-UHFFFAOYSA-N 0.000 description 1
- CQEYYJKEWSMYFG-UHFFFAOYSA-N butyl acrylate Chemical compound CCCCOC(=O)C=C CQEYYJKEWSMYFG-UHFFFAOYSA-N 0.000 description 1
- 229910000019 calcium carbonate Inorganic materials 0.000 description 1
- 239000003990 capacitor Substances 0.000 description 1
- 239000001569 carbon dioxide Substances 0.000 description 1
- 229910002092 carbon dioxide Inorganic materials 0.000 description 1
- 125000002091 cationic group Chemical group 0.000 description 1
- 229920006317 cationic polymer Polymers 0.000 description 1
- 239000000919 ceramic Substances 0.000 description 1
- 239000004927 clay Substances 0.000 description 1
- 230000000052 comparative effect Effects 0.000 description 1
- ZBCBWPMODOFKDW-UHFFFAOYSA-N diethanolamine Chemical compound OCCNCCO ZBCBWPMODOFKDW-UHFFFAOYSA-N 0.000 description 1
- HPNMFZURTQLUMO-UHFFFAOYSA-N diethylamine Chemical compound CCNCC HPNMFZURTQLUMO-UHFFFAOYSA-N 0.000 description 1
- 239000000975 dye Substances 0.000 description 1
- SUPCQIBBMFXVTL-UHFFFAOYSA-N ethyl 2-methylprop-2-enoate Chemical compound CCOC(=O)C(C)=C SUPCQIBBMFXVTL-UHFFFAOYSA-N 0.000 description 1
- STVZJERGLQHEKB-UHFFFAOYSA-N ethylene glycol dimethacrylate Substances CC(=C)C(=O)OCCOC(=O)C(C)=C STVZJERGLQHEKB-UHFFFAOYSA-N 0.000 description 1
- 238000002474 experimental method Methods 0.000 description 1
- 239000011790 ferrous sulphate Substances 0.000 description 1
- 235000003891 ferrous sulphate Nutrition 0.000 description 1
- 239000000446 fuel Substances 0.000 description 1
- 239000000295 fuel oil Substances 0.000 description 1
- 230000004927 fusion Effects 0.000 description 1
- 239000003365 glass fiber Substances 0.000 description 1
- RBTARNINKXHZNM-UHFFFAOYSA-K iron trichloride Chemical compound Cl[Fe](Cl)Cl RBTARNINKXHZNM-UHFFFAOYSA-K 0.000 description 1
- BAUYGSIQEAFULO-UHFFFAOYSA-L iron(2+) sulfate (anhydrous) Chemical compound [Fe+2].[O-]S([O-])(=O)=O BAUYGSIQEAFULO-UHFFFAOYSA-L 0.000 description 1
- 229910000359 iron(II) sulfate Inorganic materials 0.000 description 1
- 239000003350 kerosene Substances 0.000 description 1
- 239000004973 liquid crystal related substance Substances 0.000 description 1
- 238000011068 loading method Methods 0.000 description 1
- FPYJFEHAWHCUMM-UHFFFAOYSA-N maleic anhydride Chemical compound O=C1OC(=O)C=C1 FPYJFEHAWHCUMM-UHFFFAOYSA-N 0.000 description 1
- 229910001507 metal halide Inorganic materials 0.000 description 1
- 150000005309 metal halides Chemical class 0.000 description 1
- 229910000000 metal hydroxide Inorganic materials 0.000 description 1
- 150000004692 metal hydroxides Chemical class 0.000 description 1
- 229910044991 metal oxide Inorganic materials 0.000 description 1
- 150000004706 metal oxides Chemical class 0.000 description 1
- 239000002923 metal particle Substances 0.000 description 1
- YDKNBNOOCSNPNS-UHFFFAOYSA-N methyl 1,3-benzoxazole-2-carboxylate Chemical compound C1=CC=C2OC(C(=O)OC)=NC2=C1 YDKNBNOOCSNPNS-UHFFFAOYSA-N 0.000 description 1
- 239000000203 mixture Substances 0.000 description 1
- LSHROXHEILXKHM-UHFFFAOYSA-N n'-[2-[2-[2-(2-aminoethylamino)ethylamino]ethylamino]ethyl]ethane-1,2-diamine Chemical compound NCCNCCNCCNCCNCCN LSHROXHEILXKHM-UHFFFAOYSA-N 0.000 description 1
- 238000006386 neutralization reaction Methods 0.000 description 1
- QJGQUHMNIGDVPM-UHFFFAOYSA-N nitrogen group Chemical group [N] QJGQUHMNIGDVPM-UHFFFAOYSA-N 0.000 description 1
- 239000001301 oxygen Substances 0.000 description 1
- 229910052760 oxygen Inorganic materials 0.000 description 1
- PNJWIWWMYCMZRO-UHFFFAOYSA-N pent‐4‐en‐2‐one Natural products CC(=O)CC=C PNJWIWWMYCMZRO-UHFFFAOYSA-N 0.000 description 1
- 230000002093 peripheral effect Effects 0.000 description 1
- 238000005191 phase separation Methods 0.000 description 1
- 150000002989 phenols Chemical class 0.000 description 1
- 239000000049 pigment Substances 0.000 description 1
- 229920001495 poly(sodium acrylate) polymer Polymers 0.000 description 1
- 229920002401 polyacrylamide Polymers 0.000 description 1
- 229920000728 polyester Polymers 0.000 description 1
- 229920000573 polyethylene Polymers 0.000 description 1
- 229920001155 polypropylene Polymers 0.000 description 1
- 239000004800 polyvinyl chloride Substances 0.000 description 1
- 229920000915 polyvinyl chloride Polymers 0.000 description 1
- 238000000746 purification Methods 0.000 description 1
- 239000012744 reinforcing agent Substances 0.000 description 1
- 239000000377 silicon dioxide Substances 0.000 description 1
- NNMHYFLPFNGQFZ-UHFFFAOYSA-M sodium polyacrylate Chemical compound [Na+].[O-]C(=O)C=C NNMHYFLPFNGQFZ-UHFFFAOYSA-M 0.000 description 1
- 239000003381 stabilizer Substances 0.000 description 1
- 239000000126 substance Substances 0.000 description 1
- 238000001308 synthesis method Methods 0.000 description 1
- 239000000454 talc Substances 0.000 description 1
- 229910052623 talc Inorganic materials 0.000 description 1
- FAGUFWYHJQFNRV-UHFFFAOYSA-N tetraethylenepentamine Chemical compound NCCNCCNCCNCCN FAGUFWYHJQFNRV-UHFFFAOYSA-N 0.000 description 1
Images
Classifications
-
- Y—GENERAL TAGGING OF NEW TECHNOLOGICAL DEVELOPMENTS; GENERAL TAGGING OF CROSS-SECTIONAL TECHNOLOGIES SPANNING OVER SEVERAL SECTIONS OF THE IPC; TECHNICAL SUBJECTS COVERED BY FORMER USPC CROSS-REFERENCE ART COLLECTIONS [XRACs] AND DIGESTS
- Y02—TECHNOLOGIES OR APPLICATIONS FOR MITIGATION OR ADAPTATION AGAINST CLIMATE CHANGE
- Y02W—CLIMATE CHANGE MITIGATION TECHNOLOGIES RELATED TO WASTEWATER TREATMENT OR WASTE MANAGEMENT
- Y02W30/00—Technologies for solid waste management
- Y02W30/50—Reuse, recycling or recovery technologies
- Y02W30/62—Plastics recycling; Rubber recycling
Landscapes
- Fluidized-Bed Combustion And Resonant Combustion (AREA)
- Gasification And Melting Of Waste (AREA)
- Separation, Recovery Or Treatment Of Waste Materials Containing Plastics (AREA)
- Devices And Processes Conducted In The Presence Of Fluids And Solid Particles (AREA)
Abstract
【解決手段】固体粒子を充填した流動層106と、流動層106の下部の流動化ガス室118または流動層106の中に設置された分散装置104と、分散装置104に流動化ガスを供給する流動化ガス供給流路30と、流動層106の固体粒子を排出する固体粒子排出装置114と、固体粒子排出装置114の出口に配置された第1のホッパー120と、第1のホッパー120にガスを供給するホッパーへのガス供給流路136とを具備する分解槽10(流動槽)を用い、分解槽10に入る直前の流動化ガス供給流路30の圧力と、第1のホッパー120の圧力とを同じにする。
【選択図】図1
Description
樹脂の熱分解を行う装置としては、例えば、固形廃棄物投入口と、固体熱媒体投入口と、分解ガス取出口とを、また底部に固形廃棄物と固体熱媒体との混合物排出口を備えた熱分解炉が提案されている(特許文献1)。
(i)廃棄物を分解すると分解残渣が生成するので、固体熱媒体と一緒に排出して、焼却する必要がある。
(ii)熱分解炉の温度を高温に維持するために、熱分解炉へ高温の固体熱媒体を供給する必要がある。
また、固体粒子排出手段を設けた場合、固体粒子排出手段を通って、固体粒子とともに、樹脂の分解生成物を含むガスが漏れ出す場合がある。
本発明の流動槽は、さらに、ホッパー内の固体粒子を排出する固体粒子排出流路と、固体粒子排出流路の途中に設けられた弁とを具備することが好ましい。
本発明の流動槽は、さらに、前記弁を開いている間は前記ホッパーにガスを供給し、前記弁が閉じている間は前記ホッパーへのガスの供給を停止する制御手段を具備することが好ましい。
また、ホッパーへのガス供給流路が、流動化ガス供給流路から分岐した流路であることが好ましい。
また、流動槽が、さらに、ホッパー内の固体粒子を排出する固体粒子排出流路と、固体粒子排出流路の途中に設けられた弁とを具備することが好ましい。
また、前記弁を開いている間は前記ホッパーにガスを供給し、前記弁が閉じている間は前記ホッパーへのガスの供給を停止することが好ましい。
(I)流動槽に入る直前の流動化ガス供給流路の圧力と、ホッパーの圧力とを同じにすることによって、一定の排出速度で流動層の固体粒子を排出する。
(II)前記排出速度と同じ供給速度で流動層に高温の固体粒子を供給する。
また、ホッパーへのガス供給流路が、流動化ガス供給流路から分岐した流路であることが好ましい。
また、流動槽が、さらに、ホッパー内の固体粒子を排出する固体粒子排出流路と、固体粒子排出流路の途中に設けられた弁とを具備することが好ましい。
また、前記弁を開いている間は前記ホッパーにガスを供給し、前記弁が閉じている間は前記ホッパーへのガスの供給を停止することが好ましい。
本発明の流動槽からの固体粒子の排出方法によれば、固体粒子排出手段によってほぼ一定の排出速度で流動層の固体粒子を排出でき、かつ内部のガスが固体粒子排出手段から漏れ出しにくい。
本発明の被処理物の処理方法によれば、被処理物を高温の固体粒子で安定して処理でき、かつ該処理によって発生するガスが固体粒子排出手段から漏れ出しにくい。
以下に、これを、2つの実施形態を例に挙げて説明する。
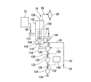
図1は、樹脂を熱分解し、分解生成物を含む液体を回収する装置の第1の実施形態を示す概略図である。該装置は、樹脂を高温の固体粒子に接触させて、樹脂を熱分解する分解槽10(流動槽)と、固体粒子を加熱する固体粒子加熱装置12と、分解槽10から排出される分解生成物を含むガスから固体粒子を除去するサイクロン20と、サイクロン20から排出されるガスを冷却して液体を回収する第1の冷却装置22と、第1の冷却装置22から排出されるガスを冷却して液体を回収する第2の冷却装置24と、第2の冷却装置24から排出されるガスに含まれる液体のミストを回収するミストセパレータ26と、第1の冷却装置22、第2の冷却装置24およびミストセパレータ26で回収された液体の一部を冷却する第3の冷却装置28と、ミストセパレータ26から排出される流動化ガスを分解槽10に供給する流動化ガス供給流路30と、流動化ガス供給流路30の途中から分岐し、流動化ガスの一部を外部に排出する流動化ガス排出流路32と、流動化ガス供給流路30の途中に合流し、新鮮な流動化ガスを補充する流動化ガス補充流路34と、固体粒子加熱装置12で加熱された固体粒子を分解槽10に供給する固体粒子供給流路40と、分解槽10から排出された固体粒子を固体粒子加熱装置12に移送するコンベア42と、分解槽10から排出される分解生成物を含むガスをサイクロン20に供給する第1のガス流路50と、サイクロン20から排出されるガスを第1の冷却装置22に供給する第2のガス流路52と、第1の冷却装置22から排出されるガスを第2の冷却装置24に供給する第3のガス流路54と、第2の冷却装置24から排出されるガスをミストセパレータ26に供給する第4のガス流路56と、第1の冷却装置22、第2の冷却装置24およびミストセパレータ26で回収された液体をつぎの精製工程に移送する液体移送流路60と、液体移送流路60の途中から分岐し、液体の一部を第3の冷却装置28に供給する液体分岐流路62と、第3の冷却装置28で冷却された液体を第1の冷却装置22に供給する冷却用液体流路64と、液体を排出する液体排出流路66を具備する。
なお、「分解槽(流動槽)10に入る直前の流動化ガス供給流路30」とは、分解槽(流動槽)の本体102と流動化ガス供給流路30の合流点から3m以内の流路のことをいう。
第2の冷却装置24は、管式コンデンサである。第2の冷却装置24として、プレート式コンデンサ、スクラバ、スプレー塔等を用いてもよい。
第3の冷却装置28は、管式熱交換器である。第3の冷却装置28として、プレート式コンデンサ等を用いてもよい。
なお、分散装置104から吹き上げる流動化気体によって流動層106が充分に流動するのであれば、必ずしも撹拌装置108を設ける必要はない。
インターフェイス部は、各弁等と、処理部との間を電気的に接続するものである。
処理部は、下記の処理を行うものである。
第1のホッパー120内の固体粒子が所定量となった時点で、第1の弁130を開き、第1のホッパー120内の固体粒子を第1の固体粒子排出流路126経由で第2のホッパー122に排出する。同時に、第3の弁138を開き、ホッパーへのガス供給流路136経由で、第1のホッパー120へガスを供給する。固体粒子の排出後、第1の弁130を閉じる。
そして、第1ホッパー圧力計146の圧力が、流動化ガス供給流路圧力計144の圧力と同じになった時点で、第3の弁138を閉じる。ついで、第2の弁132を開き、第2のホッパー122内の固体粒子を第2の固体粒子排出流路128経由で第3のホッパー124に排出する。固体粒子の排出後、第2の弁132を閉じる。
ここで「圧力が同じ」とは、双方の圧力差が、圧力計の指示圧力の高い方の圧力の20%以内となることをいう。
また、制御装置140には、周辺機器として、入力装置、表示装置等が接続されるものとする。ここで、入力装置とは、ディスプレイタッチパネル、スイッチパネル、キーボード等の入力デバイスのことをいい、表示装置とは、CRTや液晶表示装置のことをいう。
(a)樹脂を熱分解して分解生成物を含むガスを得る工程。
(b)分解生成物を含むガスを冷却して、分解生成物を含む液体を得る工程。
(c)液体を精製する工程。
第1の弁130、第2の弁132および第3の弁138をすべて閉じる。分解槽10内に所定量の固体粒子を充填し、流動層106とする。
固体粒子加熱装置12で加熱された高温の固体粒子を、固体粒子供給流路40経由で分解槽10に供給し、分解槽10の固体粒子供給装置112から流動層106に連続的に所定速度にて供給する。同時に、流動層106の固体粒子を、分解槽10の固体粒子排出装置114から第1のホッパー120に連続的に所定速度にて排出する。
分解槽10の流動層106は、分散装置104から吹き上げる流動化ガス、および撹拌装置108によって流動化される。
なお、分散装置104から吹き上げる流動化気体によって流動層106が充分に流動するのであれば、必ずしも撹拌装置108を設ける必要はない。
ついで、制御装置140により第2の弁132を開き、第2のホッパー122内の固体粒子を第2の固体粒子排出流路128経由で第3のホッパー124に排出する。固体粒子の排出後、制御装置140により第2の弁132を閉じる。
第3のホッパー124内の固体粒子を、ロータリーバルブ134によってコンベア42に排出し、コンベア42にて固体粒子加熱装置12に移送する。
樹脂は、固体粒子よりも比重が小さいため、流動化ガスとともに流動層106内を上昇する。この際、樹脂は、高温の固体粒子と接触し、熱分解される。
樹脂の熱分解によって生成した分解生成物は、流動化ガスとともに分解槽10から排出される。
固体粒子の平均粒子径は、0.01mm〜1mmが好ましく、0.05mm〜0.8mmがより好ましい。
本明細書においては、(メタ)アクリル酸は、アクリル酸またはメタクリル酸を意味する。
(メタ)アクリル酸エステルとしては、メタクリル酸メチル、メタクリル酸エチル、メタクリル酸ブチル、アクリル酸メチル、アクリル酸エチル、アクリル酸ブチル等が挙げられ、樹脂を構成するモノマーを高収率で回収する点から、メタクリル酸メチルが好ましい。
アクリル系樹脂は、充填剤を含んでいてもよい。充填剤としては、水酸化アルミニウム、シリカ、炭酸カルシウム、ガラス繊維、タルク、クレイ等が挙げられる。
アクリル系樹脂は、充填剤を除く添加剤を含んでいてもよい。添加剤としては、顔料、染料、補強剤、酸化防止剤、各種安定剤等が挙げられる。
分解槽10の本体102の気相部から排出される分解生成物を含むガスを、第1のガス流路50経由でサイクロン20に供給し、サイクロン20にてガスに含まれる比較的大きい固体粒子を除去する。
第2の冷却装置24から排出されるガスを、第4のガス流路56経由でミストセパレータ26に供給し、該ガスに含まれる液体のミストをミストセパレータ26にて回収する。
第3のガス流路54を流れるガスの温度は、(回収する液体の凝固点+10℃)〜(回収する液体の沸点−20℃)が好ましい。
工程(b)で回収された液体を、フィルタにてろ過し、液体に含まれる比較的大きい固体粒子の粉砕片を除去する。
固体粒子分離工程は、水または凝集剤を含む水溶液と、工程(b)で得た液体を混合する混合槽、その混合液を相分離する分離槽からなる。混合槽にて、液体と水または凝集剤を含む水溶液を混合した後、その混合液を分離槽に送る。分離槽において、液体相と水相とに相分離させる。この際、液体に含まれる固体粒子の粉砕片は、液体相から水相に移動する、または、液体相と水相との界面付近に集合する。
凝集剤としては、高分子系凝集剤、無機系凝集剤、アミン系凝集剤が挙げられる。
アニオン系高分子凝集剤としては、ポリアクリル酸ソーダが挙げられる。
カチオン系高分子凝集剤としては、ポリジメチルアミノエチルメタクリレートが挙げられる。
ノニオン系高分子凝集剤としては、ポリアクリルアミドが挙げられる。
モノアミンとしては、エチルアミン、ジエチルアミン、トリエチルアミン、エタノールアミン、ジエタノールアミン、トリエタノールアミンが挙げられる。
多価アミンとしては、エチレンジアミン、ジエチレントリアミン、トリエチレンテトラミン、テトラエチレンペンタミン、ペンタエチレンヘキサミンが挙げられる。
液体と水または凝集剤を含む水溶液とを混合槽において混合する場合、撹拌装置を用いることが好ましい。
低沸点不純物が除去された液体を、第2の蒸留塔にて蒸留し、高沸点不純物を除去する。低沸点不純物除去、高沸点不純物除去の順番は逆であってもよい。この操作により精製された液体を得ることができる。
低沸点不純物および高沸点不純物が除去された精製された液体をフィルタにてろ過し、極微量の固体粒子を除去してもよい。
図2は、樹脂を熱分解し、分解生成物を含む液体を回収する装置の第2の実施形態を示す概略図である。第1の実施形態からの変更点は、ガス流路142からガスを供給する代わりに、ホッパーへのガス供給流路136を流動化ガス供給流路30の途中から分岐させ、ホッパーへのガス供給流路136を経由して、固体粒子排出装置114の出口に設けられた第1のホッパー120に、ガスを供給するようにする。また、第3の弁138を取り外す。さらに、制御装置140(制御手段)は、第1の弁130および第2の弁132に電気的に接続する。
第1のホッパー120内の固体粒子が所定量となった時点で、第1の弁130を開き、第1のホッパー120内の固体粒子を第1の固体粒子排出流路126経由で第2のホッパー122に排出する。この時、第1のホッパー120の第1ホッパー圧力計146の圧力は低下する。そのため、流動化ガス供給流路30から分岐したホッパーへのガス供給流路136を通して、流動化ガスの一部が自然に第1のホッパー120へ流れ始める。
固体粒子の排出後、第1の弁130を閉じる。第1の弁130を閉じることにより、第1ホッパー圧力計146の圧力は上昇していく。流動化ガス供給流路圧力計144の圧力と、第1ホッパー圧力計146の圧力とが同じになったところで、自然に流動化ガス供給流路30から分岐したホッパーへのガス供給流路136を通して流れるガスは止まる。
ついで、第2の弁132を開き、第2のホッパー122内の固体粒子を第2の固体粒子排出流路128経由で第3のホッパー124に排出する。固体粒子の排出後、第2の弁132を閉じる。
第1の弁130および第2の弁132をすべて閉じる。分解槽10内に所定量の固体粒子を充填し、流動層106とする。
固体粒子加熱装置12で加熱された高温の固体粒子を、固体粒子供給流路40経由で分解槽10に供給し、分解槽10の固体粒子供給装置112から流動層106に連続的に所定速度にて供給する。同時に、流動層106の固体粒子を、分解槽10の固体粒子排出装置114から第1のホッパー120に連続的に所定速度にて排出する。
分解槽10の流動層106は、分散装置104から吹き上げる流動化ガス、および撹拌装置108によって流動化される。
なお、分散装置104から吹き上げる流動化気体によって流動層106が充分に流動するのであれば、必ずしも撹拌装置108を設ける必要はない。
第3のホッパー124内の固体粒子を、ロータリーバルブ134によってコンベア42に排出し、コンベア42にて固体粒子加熱装置12に移送する。
樹脂は、固体粒子よりも比重が小さいため、流動化ガスとともに流動層106内を上昇する。この際、樹脂は、高温の固体粒子と接触し、熱分解される。
樹脂の熱分解によって生成した分解生成物は、流動化ガスとともに分解槽10から排出される。
図3は、樹脂を熱分解し、分解生成物を含む液体を回収する装置の第3の実施形態を示す概略図である。第1の実施形態からの変更点は、図3においては、流動化ガス室を有さず、分散装置104を流動層106の中に設置する。それ以外は第1の実施形態と同じである。分散装置104としては、パイプにノズルを取り付けた物や、パイプに穴加工を施された物が挙げられる。
図4は、樹脂を熱分解し、分解生成物を含む液体を回収する装置の第4の実施形態を示す概略図である。第2の実施形態からの変更点は、図4においては、流動化ガス室を有さず、分散装置104を流動層106の中に設置する。それ以外は第2の実施形態と同じである。分散装置104としては、パイプにノズルを取り付けた物や、パイプに穴加工を施された物が挙げられる。
また、第2および第4の実施形態の分解槽10にあっては、第1の弁130を開いている間は第1のホッパー120に流動化ガスが自然に供給され、第1の弁130が閉じている間は第1のホッパー120への流動化ガスの供給が自然に停止するため、固体粒子排出装置114の入口と出口との差圧の変動を最小限に抑えることができる。
(I)分解槽10(流動槽)に入る直前の流動化ガス供給流路30の圧力と、第1のホッパー120の圧力とを同じにすることによって、所定の排出速度で流動層106の固体粒子を排出する。
(II)前記排出速度と同じ供給速度で流動層に高温の固体粒子を供給する。
また、第2および第4の実施形態における前記各方法にあっては、流動層106に供給される流動化ガスと、第1のホッパー120におけるガスとが、同じガス源(流動化ガス供給流路30)から供給されているため、第3の弁138が不要であるし、制御装置140を流動化ガス供給流路圧力計144および第1ホッパー圧力計146に電気的に接続する必要がない。
また、第1、第2、第3および第4の実施形態における前記各方法にあっては、分解槽10が、さらに、第2のホッパー122と、第2の固体粒子排出流路128と、第2の弁132とを有し、常に、第1の弁130および第2の弁132の一方または両方が閉じるようにしているため、内部のガスがさらに外部に漏れ出しにくい。
また、本発明の流動槽からの固体粒子の排出方法は、上述の分解槽10からの固体粒子の排出方法に限定されない。本発明の流動槽からの固体粒子の排出方法としては、例えば、焼却炉からの固体粒子の排出方法、触媒塔からの固体粒子の排出方法、バイオマス処理装置からの固体粒子の排出方法等が挙げられる。
また、本発明の被処理物の処理方法は、上述の分解槽10を用いた樹脂の分解方法に限定されない。本発明の被処理物の処理方法としては、例えば、焼却炉を用いた可燃物の焼却方法、触媒塔を用いた化合物の合成方法、バイオマスの処理方法等が挙げられる。
図5に示す分解槽10について、固体粒子排出装置114からの固体粒子の排出の様子を確認した。
固体粒子としては、天然川砂(昌栄マテリアル社製、商品名:エバラロズナ、平均粒子径:0.3mm、かさ密度:1600kg/m3)を用意した。
分解槽10としては、直径:350mm、高さ:1400mmのものを用いた。撹拌翼としては、2枚の傾斜パドル翼(直径:310mm、幅:20mm、傾斜角度:45度)を5段(パドル間ピッチ:140mm)にしたものを用いた。上下の段のパドル翼は直交するようにした。撹拌速度は毎分25回転(25rpm)とした。分散装置104として、焼結金属フィルタ(富士フィルター工業社製)からなる分散器(厚さ1.6mm、ステンレス製)を円錐状に配置した。円錐の直径は350mm、円錐高さは100mmとした。前記分散器の円錐の頂点に、固体粒子排出管116を接続した。固体粒子供給装置112および固体粒子排出装置114として、同じ一軸スクリューを設置した。
すなわち、最初の段階では、第1の弁130、第2の弁132とも閉とした。
まず、第1の弁130を開として、開の状態を5秒保持した。その後、第1の弁130を閉として、閉の状態を35秒とした。その後、第1の弁130を開とした。第1の弁130はこの繰り返しとした。
第2の弁132は、第1の弁130が閉になってから15秒後に開とし、開の状態を5秒保持した。その後、第2の弁132を閉として、閉の状態を35秒とした。その後、第2の弁132を開とした。第2の弁132はこの繰り返しとした。
制御装置140による第1の弁130、第2の弁132、第3の弁138の開閉状況を図7に示した。
第1のホッパー120の覗き窓(図示略)から、第1のホッパー120内を観察したところ、固体粒子排出装置114を運転していないのにもかかわらず、固体粒子排出装置114から第1のホッパー120へ固体粒子が排出されているのが確認された。また、ロータリーバルブ134の下から、固体粒子の排出が確認された。分解槽本体102と流動化ガス供給流路30の合流点から1mの所に設置した流動化ガス供給流路圧力計144は、最初5.0kPa(ゲージ圧)であったが、徐々に低下していった。この圧力が低下したということは、流動層106の固体粒子の量が減ったということである。第1の弁130が開になると、第1ホッパー圧力計146は、低下していき最終的には、ほぼ0kPa(ゲージ圧)であった。流動化ガス供給流路30の圧力と、第1のホッパー120の圧力の差が原因で、固体粒子排出装置114を運転していないのにもかかわらず、固体粒子排出装置114から第1のホッパー120へ固体粒子が流れていった。
第1のホッパー120の覗き窓から、第1のホッパー120内を観察したところ、固体粒子排出装置114から第1のホッパー120への固体粒子の排出は無かった。また、ロータリーバルブ134の下から、固体粒子の排出は無かった。流動化ガス供給流路圧力計144の圧力は、常に5.0kPa(ゲージ圧)であった。
制御装置140への第3の弁138の電気的な接続は断ち、ホッパーへのガス供給流路136の第3の弁138を閉じた状態では、固体粒子の量が増えるにしたがって、固体粒子排出装置114から第1のホッパー120への固体粒子の排出量が多くなった。ロータリーバルブ134の下からの固体粒子の排出量が多くなった。
一方、ホッパーへのガス供給流路136の第3の弁138を制御装置140で制御した状態では、充填した固体粒子の量が増えても、固体粒子排出装置114から第1のホッパー120へ固体粒子が排出されることはなかった。また、ロータリーバルブ134の下から、固体粒子の排出は無かった。
図6に示す装置を用いた以外は、実験例1と同様な操作を実施した。
分解槽10内に、固体粒子の50kgを充填した。
まず、ホッパーへのガス供給流路136を設置しない状態で、実験例1と同様な操作を実施した。第1のホッパー120の覗き窓(図示略)から、第1のホッパー120内を観察したところ、固体粒子排出装置114を運転していないのにもかかわらず、固体粒子排出装置114から第1のホッパー120への固体粒子の排出が確認された。また、ロータリーバルブ134の下から、固体粒子の排出が確認された。分解槽本体102と流動化ガス供給流路30の合流点から1mの所に設置した流動化ガス供給流路圧力計144は、最初5.0kPa(ゲージ圧)であったが、徐々に低下していった。この圧力が低下したということは、流動層106の固体粒子の量が減ったということである。第1の弁130が開になると、第1ホッパー圧力計146は、低下していき最終的には、ほぼ0kPa(ゲージ圧)であった。流動化ガス供給流路30の圧力と、第1のホッパー120の圧力の差が原因で、固体粒子排出装置114を運転していないのにもかかわらず、固体粒子排出装置114から第1のホッパー120へ固体粒子が流れていった。
以上のようにして、固体粒子排出装置114の入口と出口との差圧を小さくすることによって、固体粒子が固体粒子排出装置114の出口側に押し出されにくくなることを確認した。
ホッパーへのガス供給流路136を設置しない状態では、固体粒子の量が増えるにしたがって、固体粒子排出装置114から第1のホッパー120への固体粒子の排出量が多くなった。ロータリーバルブ134の下からの固体粒子の排出量が多くなった。
一方、ホッパーへのガス供給流路136を設置した状態では、充填した固体粒子の量が増えても、固体粒子排出装置114から第1のホッパー120へ固体粒子が排出されることはなかった。また、ロータリーバルブ134の下から、固体粒子の排出は無かった。
ロータリーバルブ134の下に天秤を設置して(図示略)、固体粒子供給装置112の一軸スクリューと、固体粒子排出装置114の一軸スクリューを運転した以外は、実験例2と同様な操作を実施した。天秤をパーソナルコンピュータに接続し、固体粒子の排出速度(kg/時間)を算出した。
流動化ガス供給流路30から窒素の供給、固体粒子供給装置112と固体粒子排出装置114の運転、制御装置140の制御、およびロータリーバルブ134の運転を同時に開始した。また、制御装置140の制御の開始により、第1の弁130と第2の弁132の開閉動作が開始した。
固体粒子供給装置112の一軸スクリューと固体粒子排出装置114の一軸スクリューの回転速度は20rpm(毎分20回転)とした。
すなわち、最初の段階では、第1の弁130、第2の弁132とも閉とした。
まず、第1の弁130を開として、開の状態を5秒保持した。その後、第1の弁130を閉として、閉の状態を35秒とした。その後、第1の弁130を開とした。第1の弁130はこの繰り返しとした。
第2の弁132は、第1の弁130が閉になってから15秒後に開とし、開の状態を5秒保持した。その後、第2の弁132を閉として、閉の状態を35秒とした。その後、第2の弁132を開とした。第2の弁132はこの繰り返しとした。
窒素の供給開始をスタートとして、10分おきに、固体粒子の排出速度を天秤により1時間にわたって計測したところ、最大121.5kg/時間、最小118.5kg/時間であった。平均排出速度は120kg/時間となった。流動化ガス供給流路圧力計144は、一定しており、常に7.0kPa(ゲージ圧)であった。この圧力が一定であるということは、流動層106の固体粒子の量が常に一定であることを示す。このことから、固体粒子供給装置112からの固体粒子の供給速度は120kg/時間であることがわかった。
図6において、ホッパーへのガス供給流路136を取り外した以外は、実施例1と同様な操作を実施した。
流動化ガス供給流路30からの窒素の供給、固体粒子供給装置112と固体粒子排出装置114の運転、制御装置140の制御、およびロータリーバルブ134の運転を同時に開始した。また、制御装置140の制御の開始により、第1の弁130および第2の弁132の開閉動作が開始した。
開始から10分の時点で、ロータリーバルブ134の下に固体粒子30.0kgが排出されていた。排出速度に換算すると、30.0kg/10分×60=180kg/時間となった。
開始から10分の時点で、流動化ガス供給流路30からの窒素の供給、固体粒子供給装置112と固体粒子排出装置114の運転、制御装置140の制御、およびロータリーバルブ134の運転を停止した。また、制御装置140の制御の停止により、第1の弁130および第2の弁132は閉とした。
流動化ガス供給流路圧力計144の圧力が、開始直後7.0kPa(ゲージ圧)であって、開始から10分後6.0kPa(ゲージ圧)であった。この圧力が下がったということは、流動層106の固体粒子の量が減っていることを示す。分解槽10に残っている固体粒子を全部だして、その質量を測ったところ60kgであった。
ポリメタクリル酸メチル(メタクリル酸メチル単位:100質量%、質量平均分子量:40万、ガラス転移温度:100℃)からなる成形板を粉砕し、粉砕片を得た。破砕機の下には目開き5mmのスクリーンを設置した。その破砕片を、別の目開き3mmのスクリーンで篩った。このスクリーンの上に残った破砕片を樹脂分解に用いた。したがって、破砕片の平均粒子径は4mmであった。
固体粒子としては、天然川砂(昌栄マテリアル社製、商品名:エバラロズナ、平均粒子径:0.3mm、かさ密度:1600kg/m3)を用意した。
分解槽10としては、直径:350mm、高さ:1400mmのものを用いた。撹拌翼としては、2枚の傾斜パドル翼(直径:310mm、幅:20mm、傾斜角度:45度)を5段(パドル間ピッチ:140mm)にしたものを用いた。撹拌速度は毎分25回転(25rpm)とした。分散装置104として、焼結金属フィルタ(富士フィルター工業社製)からなる分散器(厚さ1.6mm、ステンレス製)を円錐状に配置した。円錐の直径は350mm、円錐高さは100mmとした。前記分散器の円錐の頂点に、固体粒子排出管116を接続した。
固体粒子加熱装置12としては、熱風で固体粒子を流動化させる流動層を有する加熱炉を用い、固体粒子加熱装置12内には、あらかじめ固体粒子を60kg入れた。
流動化ガス供給流路30から流動化ガスの供給、固体粒子供給装置112と固体粒子排出装置114の運転、制御装置140の制御、およびロータリーバルブ134の運転を同時に開始した。また、制御装置140の制御の開始により、第1の弁130および第2の弁132の開閉動作が開始した。
すなわち、最初の段階では、第1の弁130、第2の弁132とも閉とした。まず、第1の弁130を開として、開の状態を5秒保持した。その後、第1の弁130を閉として、閉の状態を35秒とした。その後、第1の弁130を開とした。第1の弁130はこの繰り返しとした。
第2の弁132は、第1の弁130が閉になってから15秒後に開とし、開の状態を5秒保持した。その後、第2の弁132を閉として、閉の状態を35秒とした。その後、第2の弁132を開とした。第2の弁132はこの繰り返しとした。
分解槽10の流動層106の固体粒子を固体粒子排出装置114から120kg/時間で連続的に排出し、各ホッパーおよびコンベア42経由で固体粒子加熱装置12に移送した。固体粒子排出装置114として、実施例1と同じ一軸スクリューを用い、その回転速度は20rpmとした。
分解槽10における固体粒子の平均滞在時間は、70(kg)/120(kg/時間)=0.58時間であった。
新鮮な窒素を2kg/時間で混合させた後の流動化ガス供給流路30の途中からホッパーへのガス供給流路136を分岐させ、第1のホッパー120に接続した。流動化ガスの一部が、第1の弁130が開いている際には、ホッパーへのガス供給流路136経由で第1のホッパー120に供給された。
流動化ガスの供給速度(kg/時間)とポリメタクリル酸メチルの供給速度(kg/時間)の比は、1.67であった。
固体粒子の供給速度(kg/時間)とポリメタクリル酸メチルの供給速度(kg/時間)の比は、10であった。
ポリメタクリル酸メチルの供給開始から30分後に分解槽10の流動層106の温度は定常状態となった。該温度は405℃であった。
第2の冷却装置24から出てくる30℃のガスをミストセパレータ26に供給した。ミストセパレータ26としては、サイクロン式のものを用いた。ミストセパレータ26に設けられたジャケットに10℃の冷水を流した。
ポリメタクリル酸メチルの供給開始からこの操作を24時間継続した。ポリメタクリル酸メチルの総供給量288kgに対して、液体排出流路66の出口に設置した容器に270kgの液体を回収した。その液体をガスクロマトグラフィーで分析すると、メタクリル酸メチルの濃度(質量%)が、95.5%であった。
図1に示す装置を用いた以外は、実施例2と同様な操作を実施した。ガス流路142に流すガスは窒素とした。
ポリメタクリル酸メチルの供給開始からこの操作を24時間継続した。ポリメタクリル酸メチルの総供給量288kgに対して、液体排出流路66の出口に設置した容器に268kgの液体を回収した。その液をガスクロマトグラフィーで分析すると、メタクリル酸メチルの濃度(質量%)が、95.7%であった。
30 流動化ガス供給流路
104 分散装置
106 流動層
110 樹脂供給装置(被処理物供給手段)
112 固体粒子供給装置(固体粒子供給手段)
114 固体粒子排出装置(固体粒子排出手段)
118 流動化ガス室
120 第1のホッパー
122 第2のホッパー
126 第1の固体粒子排出流路
128 第2の固体粒子排出流路
130 第1の弁
132 第2の弁
136 ホッパーへのガス供給流路
140 制御装置(制御手段)
Claims (14)
- 固体粒子を充填した流動層と、
流動層下部の流動化ガス室または流動層の中に設置された分散装置と、
分散装置に流動化ガスを供給する流動化ガス供給流路と、
流動層の固体粒子を排出する固体粒子排出手段と、
固体粒子排出手段により排出される固体粒子の出口に設置されるホッパーと、
ホッパーにガスを供給するホッパーへのガス供給流路と
を具備する、流動槽。 - ホッパーへのガス供給流路が、流動化ガス供給流路から分岐した流路である、請求項1に記載の流動槽。
- さらに、ホッパー内の固体粒子を排出する固体粒子排出流路と、固体粒子排出流路の途中に設けられた弁とを具備する、請求項1または2に記載の流動槽。
- さらに、前記弁を開いている間は前記ホッパーにガスを供給し、前記弁が閉じている間は前記ホッパーへのガスの供給を停止する制御手段を具備する、請求項3に記載の流動槽。
- 固体粒子を充填した流動層と、流動層下部の流動化ガス室または流動層の中に設置された分散装置と、分散装置に流動化ガスを供給する流動化ガス供給流路と、流動層の固体粒子を排出する固体粒子排出手段と、固体粒子排出手段により排出される固体粒子の出口に設置されるホッパーと、ホッパーにガスを供給するホッパーへのガス供給流路とを具備する流動槽から固体粒子を排出する方法であって、
流動槽に入る直前の流動化ガス供給流路の圧力と、ホッパーの圧力とを同じにする、流動槽からの固体粒子の排出方法。 - 固体粒子排出手段として一軸スクリューを用い、かつ一定の回転数で運転する、請求項5に記載の流動槽からの固体粒子の排出方法。
- ホッパーへのガス供給流路が、流動化ガス供給流路から分岐した流路である、請求項5または6に記載の流動槽からの固体粒子の排出方法。
- 流動槽が、さらに、ホッパー内の固体粒子を排出する固体粒子排出流路と、固体粒子排出流路の途中に設けられた弁とを具備する、請求項5〜7のいずれかに記載の流動槽からの固体粒子の排出方法。
- 前記弁を開いている間は前記ホッパーにガスを供給し、前記弁が閉じている間は前記ホッパーへのガスの供給を停止する、請求項8に記載の流動槽からの固体粒子の排出方法。
- 固体粒子を充填した流動層と、流動層下部の流動化ガス室または流動層の中に設置された分散装置と、分散装置に流動化ガスを供給する流動化ガス供給流路と、流動層の固体粒子を排出する固体粒子排出手段と、固体粒子排出手段により排出される固体粒子の出口に設置されるホッパーと、ホッパーにガスを供給するホッパーへのガス供給流路と、流動層に高温の固体粒子を供給する固体粒子供給手段と、流動層に被処理物を供給する被処理物供給手段とを具備する流動槽にて、被処理物を高温の固体粒子で処理する方法であって、
下記の条件(I)および(II)を満足する、被処理物の処理方法。
(I)流動槽に入る直前の流動化ガス供給流路の圧力と、ホッパーの圧力とを同じにすることによって、一定の排出速度で流動層の固体粒子を排出する。
(II)前記排出速度と同じ供給速度で流動層に高温の固体粒子を供給する。 - 固体粒子排出手段および固体粒子供給手段として同じ一軸スクリューを用い、かつ同じ回転数で運転する、請求項10に記載の被処理物の処理方法。
- ホッパーへのガス供給流路が、流動化ガス供給流路から分岐した流路である、請求項10または11に記載の被処理物の処理方法。
- 流動槽が、さらに、ホッパー内の固体粒子を排出する固体粒子排出流路と、固体粒子排出流路の途中に設けられた弁とを具備する、請求項10〜12のいずれかに記載の被処理物の処理方法。
- 前記弁を開いている間は前記ホッパーにガスを供給し、前記弁が閉じている間は前記ホッパーへのガスの供給を停止する、請求項13に記載の被処理物の処理方法。
Priority Applications (1)
| Application Number | Priority Date | Filing Date | Title |
|---|---|---|---|
| JP2007286421A JP5678400B2 (ja) | 2007-11-02 | 2007-11-02 | 流動槽、流動槽からの固体粒子の排出方法および被処理物の処理方法 |
Applications Claiming Priority (1)
| Application Number | Priority Date | Filing Date | Title |
|---|---|---|---|
| JP2007286421A JP5678400B2 (ja) | 2007-11-02 | 2007-11-02 | 流動槽、流動槽からの固体粒子の排出方法および被処理物の処理方法 |
Publications (2)
| Publication Number | Publication Date |
|---|---|
| JP2009112902A true JP2009112902A (ja) | 2009-05-28 |
| JP5678400B2 JP5678400B2 (ja) | 2015-03-04 |
Family
ID=40780644
Family Applications (1)
| Application Number | Title | Priority Date | Filing Date |
|---|---|---|---|
| JP2007286421A Expired - Fee Related JP5678400B2 (ja) | 2007-11-02 | 2007-11-02 | 流動槽、流動槽からの固体粒子の排出方法および被処理物の処理方法 |
Country Status (1)
| Country | Link |
|---|---|
| JP (1) | JP5678400B2 (ja) |
Cited By (5)
| Publication number | Priority date | Publication date | Assignee | Title |
|---|---|---|---|---|
| JP2011236342A (ja) * | 2010-05-11 | 2011-11-24 | Mitsubishi Rayon Co Ltd | アクリル系樹脂の熱分解方法 |
| JP2011236338A (ja) * | 2010-05-11 | 2011-11-24 | Mitsubishi Rayon Co Ltd | アクリル系樹脂の熱分解方法 |
| CN103076361A (zh) * | 2013-01-10 | 2013-05-01 | 北京交通大学 | 一种煤粉加压富氧燃烧沉降炉实验装置 |
| JP2020159839A (ja) * | 2019-03-26 | 2020-10-01 | 株式会社カワタ | 粉粒体処理方法および粉粒体処理装置 |
| JP7460843B1 (ja) | 2023-10-27 | 2024-04-02 | 住友化学株式会社 | (メタ)アクリル系重合体の再生システム、(メタ)アクリル系重合体の再生方法、および(メタ)アクリル基を有するモノマーの製造方法 |
Citations (18)
| Publication number | Priority date | Publication date | Assignee | Title |
|---|---|---|---|---|
| JPS4969545A (ja) * | 1972-03-06 | 1974-07-05 | ||
| JPS62206315A (ja) * | 1986-03-04 | 1987-09-10 | Tsukishima Kikai Co Ltd | 圧力容器から固形物を抜出す装置 |
| JPH09503154A (ja) * | 1993-03-08 | 1997-03-31 | ザ・サイエンティフィック・エコロジー・グループ・インコーポレイテッド | 液体又はスラリー供給物の蒸気改質方法及び装置 |
| JPH1067992A (ja) * | 1996-04-23 | 1998-03-10 | Ebara Corp | 有機性廃棄物の資源化方法及び資源化装置 |
| JPH10300047A (ja) * | 1997-04-30 | 1998-11-13 | Kobe Steel Ltd | 流動層熱分解炉の温度制御方法及び廃棄物熱分解炉並びに廃棄物処理設備 |
| JPH10306910A (ja) * | 1997-05-06 | 1998-11-17 | Kobe Steel Ltd | 流動層熱分解炉及び被燃焼物処理装置 |
| JPH1158367A (ja) * | 1997-08-27 | 1999-03-02 | Mitsui Chem Inc | 二軸押出機および二軸押出機の圧力制御方法 |
| JPH11153310A (ja) * | 1997-11-21 | 1999-06-08 | Tsukishima Kikai Co Ltd | 廃棄物の熱分解炉および該熱分解炉を備えた廃棄物の処理装置 |
| JP2000199603A (ja) * | 1998-12-28 | 2000-07-18 | Mitsubishi Heavy Ind Ltd | 減圧容器 |
| JP2000257810A (ja) * | 1999-03-03 | 2000-09-22 | Hitachi Ltd | 流動層反応装置 |
| JP2000319671A (ja) * | 1999-03-11 | 2000-11-21 | Ebara Corp | 廃棄物の二段ガス化システムの運転制御方法 |
| JP2001235134A (ja) * | 2000-02-22 | 2001-08-31 | Electric Power Dev Co Ltd | 精密脱塵装置の灰処理装置及びその灰処理方法 |
| JP2002146093A (ja) * | 2000-11-16 | 2002-05-22 | Toshiba Corp | 廃プラスチック処理装置 |
| JP2002146096A (ja) * | 2000-11-16 | 2002-05-22 | Toshiba Corp | 廃プラスチック処理装置 |
| JP2003074822A (ja) * | 2001-08-30 | 2003-03-12 | Kobe Steel Ltd | 廃棄物のガス化溶融方法 |
| JP2003193063A (ja) * | 2001-12-27 | 2003-07-09 | Toshiba Corp | 残渣処理装置 |
| JP2004028466A (ja) * | 2002-06-26 | 2004-01-29 | Kyushu Electric Power Co Inc | ベッド材サンプリング装置及びベッド材評価装置 |
| JP2004251618A (ja) * | 1994-03-10 | 2004-09-09 | Ebara Corp | 可燃物の処理方法及びガス化及び熔融装置 |
-
2007
- 2007-11-02 JP JP2007286421A patent/JP5678400B2/ja not_active Expired - Fee Related
Patent Citations (18)
| Publication number | Priority date | Publication date | Assignee | Title |
|---|---|---|---|---|
| JPS4969545A (ja) * | 1972-03-06 | 1974-07-05 | ||
| JPS62206315A (ja) * | 1986-03-04 | 1987-09-10 | Tsukishima Kikai Co Ltd | 圧力容器から固形物を抜出す装置 |
| JPH09503154A (ja) * | 1993-03-08 | 1997-03-31 | ザ・サイエンティフィック・エコロジー・グループ・インコーポレイテッド | 液体又はスラリー供給物の蒸気改質方法及び装置 |
| JP2004251618A (ja) * | 1994-03-10 | 2004-09-09 | Ebara Corp | 可燃物の処理方法及びガス化及び熔融装置 |
| JPH1067992A (ja) * | 1996-04-23 | 1998-03-10 | Ebara Corp | 有機性廃棄物の資源化方法及び資源化装置 |
| JPH10300047A (ja) * | 1997-04-30 | 1998-11-13 | Kobe Steel Ltd | 流動層熱分解炉の温度制御方法及び廃棄物熱分解炉並びに廃棄物処理設備 |
| JPH10306910A (ja) * | 1997-05-06 | 1998-11-17 | Kobe Steel Ltd | 流動層熱分解炉及び被燃焼物処理装置 |
| JPH1158367A (ja) * | 1997-08-27 | 1999-03-02 | Mitsui Chem Inc | 二軸押出機および二軸押出機の圧力制御方法 |
| JPH11153310A (ja) * | 1997-11-21 | 1999-06-08 | Tsukishima Kikai Co Ltd | 廃棄物の熱分解炉および該熱分解炉を備えた廃棄物の処理装置 |
| JP2000199603A (ja) * | 1998-12-28 | 2000-07-18 | Mitsubishi Heavy Ind Ltd | 減圧容器 |
| JP2000257810A (ja) * | 1999-03-03 | 2000-09-22 | Hitachi Ltd | 流動層反応装置 |
| JP2000319671A (ja) * | 1999-03-11 | 2000-11-21 | Ebara Corp | 廃棄物の二段ガス化システムの運転制御方法 |
| JP2001235134A (ja) * | 2000-02-22 | 2001-08-31 | Electric Power Dev Co Ltd | 精密脱塵装置の灰処理装置及びその灰処理方法 |
| JP2002146093A (ja) * | 2000-11-16 | 2002-05-22 | Toshiba Corp | 廃プラスチック処理装置 |
| JP2002146096A (ja) * | 2000-11-16 | 2002-05-22 | Toshiba Corp | 廃プラスチック処理装置 |
| JP2003074822A (ja) * | 2001-08-30 | 2003-03-12 | Kobe Steel Ltd | 廃棄物のガス化溶融方法 |
| JP2003193063A (ja) * | 2001-12-27 | 2003-07-09 | Toshiba Corp | 残渣処理装置 |
| JP2004028466A (ja) * | 2002-06-26 | 2004-01-29 | Kyushu Electric Power Co Inc | ベッド材サンプリング装置及びベッド材評価装置 |
Cited By (8)
| Publication number | Priority date | Publication date | Assignee | Title |
|---|---|---|---|---|
| JP2011236342A (ja) * | 2010-05-11 | 2011-11-24 | Mitsubishi Rayon Co Ltd | アクリル系樹脂の熱分解方法 |
| JP2011236338A (ja) * | 2010-05-11 | 2011-11-24 | Mitsubishi Rayon Co Ltd | アクリル系樹脂の熱分解方法 |
| CN103076361A (zh) * | 2013-01-10 | 2013-05-01 | 北京交通大学 | 一种煤粉加压富氧燃烧沉降炉实验装置 |
| JP2020159839A (ja) * | 2019-03-26 | 2020-10-01 | 株式会社カワタ | 粉粒体処理方法および粉粒体処理装置 |
| JP7743031B2 (ja) | 2019-03-26 | 2025-09-24 | 株式会社カワタ | 粉粒体処理方法および粉粒体処理装置 |
| JP7460843B1 (ja) | 2023-10-27 | 2024-04-02 | 住友化学株式会社 | (メタ)アクリル系重合体の再生システム、(メタ)アクリル系重合体の再生方法、および(メタ)アクリル基を有するモノマーの製造方法 |
| WO2025089130A1 (ja) * | 2023-10-27 | 2025-05-01 | 住友化学株式会社 | (メタ)アクリル系重合体の再生システム、(メタ)アクリル系重合体の再生方法、および(メタ)アクリル基を有するモノマーの製造方法 |
| JP2025073735A (ja) * | 2023-10-27 | 2025-05-13 | 住友化学株式会社 | (メタ)アクリル系重合体の再生システム、(メタ)アクリル系重合体の再生方法、および(メタ)アクリル基を有するモノマーの製造方法 |
Also Published As
| Publication number | Publication date |
|---|---|
| JP5678400B2 (ja) | 2015-03-04 |
Similar Documents
| Publication | Publication Date | Title |
|---|---|---|
| JP5678400B2 (ja) | 流動槽、流動槽からの固体粒子の排出方法および被処理物の処理方法 | |
| US8304573B2 (en) | Recovery method of pyrolysis product of resin | |
| SE451033B (sv) | Sett och anordning for omvandling av avfallsmaterial med plasmagenerator | |
| JP2005272529A (ja) | 廃棄プラスチックの油化設備 | |
| KR102499082B1 (ko) | 합성가스 생산을 위한 열분해·가스화 시스템 및 장치 | |
| JP2011527236A (ja) | 多段加熱ゾーンのガス化装置 | |
| CN113195685A (zh) | 处理含碳材料的工艺和用于其的设备 | |
| EP3692115A1 (en) | Apparatus and method for producing synthesis gas | |
| JPH09268293A (ja) | 合成重合体の接触分解装置及びそれを用いる油状物の製造方法 | |
| JP5128150B2 (ja) | メタクリル酸メチルの回収方法 | |
| CA2835611A1 (en) | Moving bed reactor | |
| JP7460843B1 (ja) | (メタ)アクリル系重合体の再生システム、(メタ)アクリル系重合体の再生方法、および(メタ)アクリル基を有するモノマーの製造方法 | |
| JP2008163254A (ja) | 連続式廃プラスチック油化装置 | |
| JP5133029B2 (ja) | 液体中の無機粒子の除去方法 | |
| JP2006021069A (ja) | 超臨界水反応装置 | |
| JP2008214589A (ja) | 樹脂の分解生成物の回収方法 | |
| KR101424678B1 (ko) | 유동층 급속열분해 기술을 이용한 폐인조대리석의 재활용 처리 장치와 그 방법 | |
| JPH1190387A (ja) | 廃プラスチックの脱塩素方法および脱塩素装置 | |
| JP3653946B2 (ja) | 廃プラスチックリサイクルシステム | |
| JP2003213269A (ja) | 高温炭化装置および高温炭化方法 | |
| TWI819970B (zh) | 由廢塑膠製造熱分解油的方法及廢塑膠油化設備 | |
| JP5593819B2 (ja) | アクリル系樹脂の熱分解方法 | |
| JP2011236342A (ja) | アクリル系樹脂の熱分解方法 | |
| JP2011236391A (ja) | 樹脂の処理装置および処理方法 | |
| JPH10328641A (ja) | 塩素含有樹脂の処理方法および処理設備 |
Legal Events
| Date | Code | Title | Description |
|---|---|---|---|
| A621 | Written request for application examination |
Free format text: JAPANESE INTERMEDIATE CODE: A621 Effective date: 20101025 |
|
| A521 | Written amendment |
Free format text: JAPANESE INTERMEDIATE CODE: A523 Effective date: 20110905 |
|
| A977 | Report on retrieval |
Free format text: JAPANESE INTERMEDIATE CODE: A971007 Effective date: 20120413 |
|
| A131 | Notification of reasons for refusal |
Free format text: JAPANESE INTERMEDIATE CODE: A131 Effective date: 20120424 |
|
| A521 | Written amendment |
Free format text: JAPANESE INTERMEDIATE CODE: A523 Effective date: 20120611 |
|
| A131 | Notification of reasons for refusal |
Free format text: JAPANESE INTERMEDIATE CODE: A131 Effective date: 20130305 |
|
| A521 | Written amendment |
Free format text: JAPANESE INTERMEDIATE CODE: A523 Effective date: 20130502 |
|
| A131 | Notification of reasons for refusal |
Free format text: JAPANESE INTERMEDIATE CODE: A131 Effective date: 20140225 |
|
| A521 | Written amendment |
Free format text: JAPANESE INTERMEDIATE CODE: A523 Effective date: 20140424 |
|
| TRDD | Decision of grant or rejection written | ||
| A01 | Written decision to grant a patent or to grant a registration (utility model) |
Free format text: JAPANESE INTERMEDIATE CODE: A01 Effective date: 20141209 |
|
| A61 | First payment of annual fees (during grant procedure) |
Free format text: JAPANESE INTERMEDIATE CODE: A61 Effective date: 20141222 |
|
| S533 | Written request for registration of change of name |
Free format text: JAPANESE INTERMEDIATE CODE: R313533 |
|
| R350 | Written notification of registration of transfer |
Free format text: JAPANESE INTERMEDIATE CODE: R350 |
|
| LAPS | Cancellation because of no payment of annual fees |