JP2008266910A - 緊張材の定着部または偏向部の突起構造及びその施工方法 - Google Patents

緊張材の定着部または偏向部の突起構造及びその施工方法 Download PDF

Info

Publication number
JP2008266910A
JP2008266910A JP2007108292A JP2007108292A JP2008266910A JP 2008266910 A JP2008266910 A JP 2008266910A JP 2007108292 A JP2007108292 A JP 2007108292A JP 2007108292 A JP2007108292 A JP 2007108292A JP 2008266910 A JP2008266910 A JP 2008266910A
Authority
JP
Japan
Prior art keywords
concrete
fixing
concrete frame
deflecting
deflection
Prior art date
Legal status (The legal status is an assumption and is not a legal conclusion. Google has not performed a legal analysis and makes no representation as to the accuracy of the status listed.)
Withdrawn
Application number
JP2007108292A
Other languages
English (en)
Inventor
Takahiro Arai
崇裕 新井
Shinichi Yamanobe
慎一 山野辺
Hiroaki Okamoto
裕昭 岡本
Tadahiro Sato
忠宏 佐藤
Atsushi Kurokawa
篤 黒川
Yasuhiro Suzuki
康博 鈴木
Hiroyuki Nagumo
広幸 南雲
Shunsuke Kita
俊介 喜多
Current Assignee (The listed assignees may be inaccurate. Google has not performed a legal analysis and makes no representation or warranty as to the accuracy of the list.)
Kajima Corp
Original Assignee
Kajima Corp
Priority date (The priority date is an assumption and is not a legal conclusion. Google has not performed a legal analysis and makes no representation as to the accuracy of the date listed.)
Filing date
Publication date
Application filed by Kajima Corp filed Critical Kajima Corp
Priority to JP2007108292A priority Critical patent/JP2008266910A/ja
Publication of JP2008266910A publication Critical patent/JP2008266910A/ja
Withdrawn legal-status Critical Current

Links

Images

Landscapes

  • Bridges Or Land Bridges (AREA)
  • Reinforcement Elements For Buildings (AREA)

Abstract

【課題】PC構造物の緊張材の定着部や偏向部の施工に際して、定着具、鉄筋、型枠等の設置の作業足場をコンクリート面とすることができ、作業性・安全性の向上を図れ、定着部等の型枠が浮き型枠とならず、型枠の組立ての時間と労力を低減でき、桁をブロック施工するサイクル工程中でクリティカルパスとなる突起の組立てをサイクル工程から外すことができ、サイクル工程の短縮を図れるようにする。
【解決手段】PC箱桁橋の下床版1などの所定の位置にPC鋼材の定着突起部2を施工するに当たり、下床版1の施工時に一体化用のコンクリートジベルとしての孔あき鋼板ジベル10の下部を埋設しておき、定着突起部2を下床版1の施工と分離して後施工で構築し、定着突起部2を接続部材10を介して下床版1と一体化する。
【選択図】 図1

Description

この発明は、プレストレストコンクリート構造物においてPC鋼材等の緊張材の端部を定着する定着部または緊張材の向きを変える偏向部の突起構造及びこれら定着部または偏向部の施工方法に関するものである。
橋梁等のプレストレストコンクリート構造物(以下、PC構造物)において、油圧ジャッキ等により緊張された緊張材(以下、PC鋼材)の端部は、一般に図6に示すような支圧板61と筒形等の鋼製の定着具62に固定され、その緊張力が保持される。また、定着具62は、図7に示すような定着突起71を介して、PC鋼材60の緊張力をプレストレスとしてコンクリート躯体70に導入する。
定着突起71の周辺のコンクリートには、大きな局部応力が生じるため、定着具62の背面には、図6に示すようなスパイラル筋63や図7に示すような格子状に組まれたグリッド筋72が配置され、さらに図7に示すような鉄筋73が密に配置されることになる。ここに示した例は、PC箱桁橋の下床版における突起定着方式の例であるが、上床版の突起定着方式やウェブ突起定着方式の場合も同様である。
また、外ケーブル方式のPC構造物においては、図8に示すようなPC鋼材の外ケーブル80を偏向させるための偏向部(ディビエータ)81が設けられるが、上記の定着突起と同様に局部応力補強のための鉄筋等が密に配置される。
また、本発明に関連する先行技術文献として、定着具と補強鉄筋の一部をプレキャストコンクリート中に埋設してなるプレキャストブロックの定着部材を場所打ちのPC構造物の型枠の所定位置に前もって設置し、この定着部材をそれから突出させた補強鉄筋によりPC構造物のコンクリートに一体化させる方法がある(特許文献1参照)。
また、PC構造物のコンクリートの内、定着部周辺のコンクリートに繊維補強セメント系複合材料を用い、この定着部に接する一般部には強度の低い普通コンクリートを用いることで、定着具と補強鉄筋を不要にする方法がある(特許文献2参照)。
特開平9−144212号公報 特開2003−129612号公報
前述した従来の場所打ち工法(図6、図7)によるPC鋼材の定着部や偏向部の施工には、以下に示す安全性、生産性にかかわる課題がある。
(1) 下床版の鉄筋が配置された上で、即ち足元の悪い状態で、定着部の場合、重量物である定着具を設置しなければならず、安全性に問題がある。
(2) 定着部では、定着具や補強筋が複雑に配置されるため、また偏向部でも、補強筋が複雑に配置されるため、これらの配置と組み立てに時間と労力を要する。
(3) 定着部や偏向部の突起の型枠は、浮き型枠としなければならないため、サポート等の設置が必要であり、型枠の組立てに時間と労力を要する。また、サポートが桁の中の空間を占有するため、下床版施工時のコンクリートの打設作業性を劣らせる。
(4)上記の(2)、(3)の理由により、桁をブロック施工するサイクル工程の中で、定着部や偏向部の突起の組立てがクリティカルパス(最も問題が生じやすく時間もかかる工程部分)となる場合がある。
これらの課題に対し、先行技術文献の特許文献1の発明では、定着突起一式を工場製作することで、現場における定着部の組立て及びコンクリート打設を省き、工数削減を図ろうとしている。しかし、このようにして製作されたプレキャスト定着突起は、図7に示すような標準的な形状寸法において、重量が約1.4tonとなり、狭い桁の中で所定の位置に設置することは、作業上非常に困難である。
また、特許文献2の発明では、定着具と補強鉄筋が不要になり、それらの組み立て作業も不要になり、コンクリートの充填性の問題も解消されるが、部位毎に種類の異なるコンクリートを打設することは品質管理及び施工管理の面から煩雑である。また、コンクリートを分割打設する場合には、打設したコンクリート自身の硬化時の水和熱に伴う、不均一な温度分布に起因する温度応力によるひび割れや、後打ちする部位に打設したコンクリートの収縮時に先行して打設されたコンクリートから外部拘束を受けることによる収縮ひび割れ等の発生が懸念されるため、コンクリートの品質に与える影響が大きい。この他、高性能の特殊コンクリートは材料費が高価であるため、広範囲な部分に使用すれば、不経済となる。
この発明は、プレストレストコンクリート構造物の緊張材の定着部や偏向部の施工に際して、重量物である定着具、補強鉄筋、型枠などを設置するための作業足場をコンクリート面とすることができ、作業性及び安全性の向上を図ることができ、また定着部や偏向部の突起の型枠が浮き型枠とならず、型枠の組立ての時間と労力の低減を図ることができ、さらに桁をブロック施工するサイクル工程において、クリティカルパスとなる定着部や偏向部の突起の組立てをサイクル工程から外すことができ、サイクル工程の短縮を図ることができる緊張材の定着部または偏向部の突起構造及びその施工方法を提供するものである。
本発明の請求項1に係る発明は、プレストレストコンクリート構造物に配置される緊張材(PC鋼材など)の端部が定着される定着部または緊張材が挿通される偏向部の突起構造であり、定着部または偏向部の位置においてコンクリート躯体の内部に一端側が埋設され、他端側がコンクリート躯体の外部へ突出する接続部材(コンクリートジベル)と、この接続部材を介してコンクリート躯体に一体化される定着部または偏向部のコンクリート突起とを備えていることを特徴とする緊張材の定着部または偏向部の突起構造である。コンクリート躯体とコンクリート突起を分割し、予めコンクリート躯体部分に接続部材の下部を埋設しておき、コンクリート突起部分は後施工で打設するのが好ましい。
本発明は、例えば、図1に示すように、PC箱桁橋の下床版等におけるPC鋼材等の定着部あるいは偏向部に適用されるものであり、定着部や偏向部を下床版等のコンクリート躯体の施工と分離して後施工で構築するものである。この後施工に当り、下床版等と定着部等とを一体化するための接続手段として孔あき鋼板ジベル等のコンクリートジベルを下床版等の施工時に予め埋設しておくものである。
本発明によれば、定着部や偏向部の施工に際して、重量物であるPC鋼材等の定着具、補強鉄筋、型枠などを設置する際に、作業足場がコンクリート面となるため、従来のように鉄筋が配置された足元が悪い状態での作業とはならず、作業性及び安全性を向上させることができる。また、コンクリート面の上に定着部や偏向部の型枠を設置でき、型枠が浮き型枠とならないため、型枠の組立ての時間と労力を低減することができる。さらに、桁をブロック施工するサイクル工程において、クリティカルパスとなる定着部や偏向部の突起の組立てをサイクル工程から外すことができる。
なお、本発明の突起構造は、上述の理由から、コンクリート突起部分を後施工で打設するのが好ましいが、コンクリート躯体部分の配筋作業時に接続部材を設置し、コンクリート突起とコンクリート躯体を同時に打設することも可能である。
本発明の請求項2に係る発明は、プレストレストコンクリート構造物に配置される緊張材(PC鋼材など)の端部が定着される定着部または緊張材が挿通される偏向部の突起構造であり、定着部または偏向部の位置においてコンクリート躯体の内部に一端側が埋設され、他端側がコンクリート躯体の外部へ突出する接続部材(コンクリートジベル)と、この接続部材の突出部分に一体的に接続される定着部または偏向部の鋼製突起とを備えていることを特徴とする緊張材の定着部または偏向部の突起構造である。
これは、例えば、図3に示すように、コンクリート製の突起の代わりに鋼製の突起を用いる場合であり、コンクリートジベルの突出部分に鋼製突起をボルトや溶接で接合し、この鋼製突起をコンクリートジベルを介してコンクリート躯体と一体化する。
本発明の請求項3に係る発明は、請求項1または請求項2のいずれか一つに記載の突起構造において、接続部材(コンクリートジベル)が孔あき鋼板ジベルであり、コンクリート躯体内の部分の孔にコンクリート躯体の鉄筋が挿通され、あるいは前記孔をスリットとし、このスリットにコンクリート躯体の鉄筋が配置されていることを特徴とする緊張材の定着部または偏向部の突起構造である。
これは、例えば、図1〜図4に示すように、コンクリートジベルに孔あき鋼板ジベルを用いる場合であり、コンクリート躯体内に埋設される下部の孔にコンクリート躯体の鉄筋を挿通し、引抜け耐力を確保する。スリットを用いた場合には、コンクリート躯体の鉄筋の上に設置しやすくなる利点がある。このスリットタイプの場合には、孔あき鋼板ジベルの下端にフランジを設け、あるいは下部を波形とするなどして、引抜け耐力の増加を図るのが好ましい。また、孔あき鋼板ジベルのコンクリート躯体内の孔やスリットに挿通される貫通鉄筋は、コンクリートの割裂を拘束する割裂補強筋としての機能も有するが、図5に示すように、横方向の貫通鉄筋(配力筋)の他に必要に応じて弓形等の貫通鉄筋を割裂補強筋として用いる。貫通鉄筋を弓形とすれば、複雑な配筋の斜め上から挿入し挿通させることができ、また軸回りに回転させることで貫通鉄筋の向きを好ましい方向にすることができる。
本発明の請求項4に係る発明は、請求項1または請求項3のいずれか一つに記載の突起構造において、接続部材が緊張材を挟んで配置される一対の孔あき鋼板ジベルであり、この一対の孔あき鋼板ジベルがボルト部材で連結されていることを特徴とする緊張材の定着部または偏向部の突起構造である。
これは、例えば、図5(a)に示すように、コンクリート製の突起において、一対の孔あき鋼板ジベルをねじ鉄筋とカップラー等のボルト部材で連結し、これを緊張材方向に間隔をおいて複数配置することにより、コンクリートの割裂補強筋として用いる場合であり、スパイラル筋を省略することができる。
本発明の請求項5に係る発明は、請求項1、請求項3または請求項4のいずれか一つに記載の突起構造において、接続部材(コンクリートジベル)がコンクリート躯体内に位置する内部部分とコンクリート躯体の外に位置する外部部分とに分割され、内部部分に外部部分が接合されることを特徴とする緊張材の定着部または偏向部の突起構造である。
これは、例えば、図5(b)に示すように、コンクリート製の突起において、コンクリートジベルをコンクリート上面で上下に2分割し、ボルト等で接合する場合である。コンクリート躯体の施工時にコンクリートジベルがコンクリート上面から突出せず、コンクリート躯体の施工が容易となる、定着部等の補強鉄筋の設置が容易になるなどの利点がある。
本発明の請求項6に係る発明は、プレストレストコンクリート構造物に配置される緊張材(PC鋼材など)の端部が定着される定着部または緊張材が挿通される偏向部の施工方法であり、請求項1から請求項5までのいずれか一つに記載の接続部材(コンクリートジベル)をコンクリート躯体の配筋時にコンクリート躯体の定着部または偏向部の位置に設置し、コンクリート躯体のコンクリートを打設し、コンクリートの硬化後、コンクリート突起の場合、コンクリート躯体上に定着部または偏向部の鉄筋、型枠を配置し、型枠内にコンクリートを打設し、前記接続部材を介してコンクリート躯体と一体化された定着部または偏向部のコンクリート突起を形成し、あるいは鋼製突起の場合、前記接続部材に鋼製突起を接続し、前記接続部材を介してコンクリート躯体と一体化された定着部または偏向部の鋼製突起を形成することを特徴とする緊張材の定着部または偏向部の施工方法である。
コンクリート突起や鋼製突起を後施工で構築する場合であり、例えば、図2に示すような手順で施工を行う。コンクリート躯体の配筋時には接続部材を配置するだけなので、配筋作業への支障はない。コンクリート躯体のコンクリートを打設する段階で定着部等の施工がブロック施工のサイクル工程から外れる。定着部等の定着具、補強鉄筋、型枠などの設置作業をコンクリート面の上で行うことができ、作業性が向上する。
本発明は、以上のような構成からなるので、次のような効果が得られる。
(1)定着部や偏向部において、重量物であるPC鋼材等の定着具を設置する際に、また補強鉄筋の配筋作業や型枠設置作業などを行う際に、作業足場がコンクリート面となるため、従来のように鉄筋が配置された足元が悪い状態での作業とはならず、作業性及び安全性を向上させることができる。
(2)コンクリート面の上に定着部や偏向部の型枠を設置でき、型枠が浮き型枠とならないため、型枠の組立ての時間と労力を低減することができる。
(3)桁をブロック施工するサイクル工程の中で、定着部や偏向部の突起の組立てをサイクル工程から外すことができ、定着部や偏向部の突起の組立てがクリティカルパスとならず、サイクル工程の短縮を図ることができる。
この実施の形態は、PC箱桁橋の下床版におけるPC鋼材の定着突起に本発明の突起構造を適用した例である。図1は、本発明のコンクリート製の突起構造の一例を示す鉛直断面図である。図2は、図1の突起構造の施工手順を示す鉛直断面図である。図3は、本発明の鋼製の突起構造の一例を示す鉛直断面図である。図4は、本発明で用いる孔あき鋼板ジベルの他の例を示す側面図等である。図5は、本発明のコンクリート製の突起構造の変形例を示す鉛直断面図である。
図1の実施形態において、PC箱桁橋の下床版1の所定の位置にPC鋼材の定着突起部2を施工するに当たり、下床版1の施工時に一体化用のコンクリートジベルとしての接続部材10の下部を埋設しておき、コンクリート製の定着突起部2を下床版1の施工と分離して後施工で構築する。定着突起部2は接続部材10を介して下床版1と一体化される。
接続部材10には、例えばSM鋼などの孔あき鋼板ジベルを用いる。下床版1には、縦横に鉄筋1a、1bが配筋されており、縦方向(橋軸方向)の鉄筋1aの間に孔あき鋼板ジベル10を立てて配置し、下床版1に埋設される下部の孔10aに横方向の鉄筋1bを挿通する。この孔あき鋼板ジベル10は、橋軸方向のPC鋼材3を挟むように一対で配置するのが好ましい。
施工は以下のような手順で行う(図2参照)。
(a)下床版1の配筋時に孔あき鋼板ジベル10を設置する。この配筋時には、鋼板を配置するだけなので、下床版1の配筋作業への支障はない。
(b)下床版1のコンクリートを打設する。この段階で、定着突起の施工が桁のブロック施工のサイクル工程から外れる。
(c)下床版1のコンクリート硬化後、定着突起部2の定着具4、スパイラル筋5、補強鉄筋6等を配置し、型枠7を設置する。この段階では、コンクリート面上の作業となるため、作業性がよい。なお、下床版1にはPC鋼材3のシース管8が配設されている。
(d)型枠7内にコンクリートを打設し、コンクリート製の定着突起部2を形成する。この定着突起部2は、孔あき鋼板ジベル10を介して下床版1に一体化される。
後施工する定着突起部2は、コンクリート製でなくてもよい。例えば、図3に示すように、鋼製の定着突起20でもよい。孔あき鋼板ジベル10は、下床版1から大きく突出させる必要はなく、この突出部分に鋼製の定着突起20をボルトや溶接などで接合する。
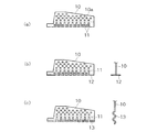
また、コンクリートジベルとしての接続部材は孔あき鋼板ジベルでなくてもよい。例えば、図4に示すように、孔あき鋼板ジベル10の下部の孔10aを下に向かって開口するスリット11としてもよい。このスリットタイプの場合、横方向の鉄筋を挿通させる必要がなく、横方向の鉄筋の上から配置することができ、設置が容易となる利点がある。また、このスリットタイプの場合、下端にフランジ12を付けたり、下部を波形13とすることにより、引抜け耐力を増加させるのが好ましい。
また、コンクリート定着突起の場合、図5(a)に示すように、定着具4を挟んで配置された孔あき鋼板ジベル10の上端部同士をねじ鉄筋14とカップラー15を用いて連結し、これを橋軸方向に間隔をおいて複数配置し、割裂補強筋として用い、スパイラル筋の代替えとすることもできる。さらに、孔あき鋼板ジベル10の下部には、横方向の貫通鉄筋1bや比較的短い弓形等の貫通鉄筋16を挿通し、これら貫通鉄筋を割裂補強筋として用いる。
ここで、孔あき鋼板ジベル10では、その孔10aに鉄筋を配置した方が、強度や剛性に優れている。しかし、孔あき鋼板ジベル10を配置した後に、コンクリート躯体(下床版)1に埋設される部分にある孔10aに、割裂補強筋としての横方向の鉄筋1bを挿通することは、施工上、必ずしも容易ではない。そこで、孔あき鋼板ジベル10の孔を図4に示すようにスリットタイプとし、このスリットに、孔あき鋼板ジベル10と直交するコンクリート躯体の鉄筋1bが配置されるようにすれば、施工が容易となる。この場合、設計上コンクリート躯体の貫通鉄筋1bだけで強度が不足する場合に、別途設けた孔10aに割裂補強筋として直線状等の貫通鉄筋16を挿通しておく。
また、孔あき鋼板ジベル10の孔をスリットとせず、通常の孔10aとする場合は、コンクリート躯体の鉄筋が配置された状態、例えば図2(a)の状態においても、容易に割裂補強筋を挿通できるように、図5(b)に示すように、弓形あるいは緩い角度でV字形状や折れ線形状に加工した鉄筋16を割裂補強筋として用いる。即ち、図5の床版下配力筋1b、上下の主筋1a、1aを配筋した状態で、孔あき鋼板ジベル10を設置してから、上筋と下筋の間にある孔10aに鉄筋16を挿通するのは、容易ではない。しかし、鉄筋16を図5(b)に示すように曲げると、斜め上から挿通することが可能であり、上配力筋1bを設置した後からでも、挿通は可能となる。
なお、弓形等の鉄筋16は、図5(b)に示すように、左右一対の孔あき鋼板ジベル10の両方の孔10aに跨る長さのものでもよく、図5(a)に示すように、それぞれの孔あき鋼板ジベル10ごとに配置してもよい。
また、PC鋼材の緊張力や偏向力が作用し、接続部材である孔あき鋼板ジベル10がコンクリートに対してずれが生じると、コンクリートが割裂する。これに対して、割裂補強筋は引張力が生じ、その反作用が割裂補強筋の付着を介してコンクリートの割裂を拘束する。従って、弓形の割裂補強筋16の場合、孔あき鋼板ジベル10がずれようとする方向に凹あるいはV字状に開いていると、割裂補強筋にはむしろ圧縮力が生じるので好ましくない。弓形の割裂補強筋16では、挿通した後、割裂補強筋を任意の向き、例えば鉄筋を含む面が水平になるように鉄筋の軸回りに回転させることも可能である。これにより、図5(c)に示すように、孔あき鋼板ジベル10に対する鉄筋16の交差角度を少しでも好ましい方向にすることが可能である。図5(c)は孔あき鋼板レベル10のずれる方向に対してV字状の鉄筋16が反対方向に開き、引っ張り力が作用する好ましい配置の場合である。また、隣接して配置されているPC鋼材と鉄筋16との錯綜を避けることも可能となる。
また、図5(d)に示すように、孔あき鋼板ジベル10を下床版1の上面で2分割し、分割した上部10Aと下部10Bにそれぞれフランジ17を形成しておき、下床版1に埋設したインサート18とナット19などにより上部10Aと下部10Bとをフランジ接合するようにしてもよい。この分割接合タイプの場合、下床版1の施工時に上から突出するものがないため、施工が容易となる、定着突起部の鉄筋等の設置が容易になるなどの利点がある。
なお、以上はPC箱桁橋の下床版の定着突起について説明したが、ウェブの定着突起、偏向部、その他の突起にも本発明を適用することができる。
本発明の定着部または偏向部のコンクリート製の突起構造の一例を示す鉛直断面図であり、(a)は下床版施工時、(b)は定着突起施工時である。 図1の突起構造の施工方法を工程順に示す鉛直断面図である。 本発明の定着部または偏向部の鋼製の突起の一例を示す鉛直断面図である。 本発明で用いる孔あき鋼板ジベルのスリットタイプを示す(a)は側面図、(b)は側面図と部分拡大正面図、(c)は側面図と部分拡大正面図である。 本発明のコンクリート製の突起構造の変形例を示したものであり、(a)は孔あき鋼板レベルの連結タイプの鉛直断面図、(b)は割裂補強筋の形状を示す鉛直断面図、(c)は孔あき鋼板ジベルと割裂補強筋の関係を示す水平断面図、(d)は孔あき鋼板ジベルの分割タイプを示す鉛直断面図である。 PC鋼材の定着具であり、(a)は正面図、(b)は鉛直断面図である。 PC箱桁橋の定着突起であり、(a)は橋軸方向に平行な鉛直断面図、(b)は橋軸直角方向に平行な鉛直断面図である。 外ケーブル方式のPC箱桁橋を示す側部を破断して示す斜視図である。
符号の説明
1……プレストレストコンクリート構造物(PC箱桁橋の下床版)
1a、1b……鉄筋
2……定着突起部
3……PC鋼材
4……定着具
5……スパイラル筋
6……補強鉄筋
7……型枠
8……シース管
10……接続部材(孔あき鋼板ジベル)
10a……孔
11……スリット
12……フランジ
13……波形
14……ねじ鉄筋
15……カップラー
16……鉄筋
17……フランジ
18……インサート
19……ナット
20……鋼製の定着突起

Claims (6)

  1. プレストレストコンクリート構造物に配置される緊張材の端部が定着される定着部または緊張材が挿通される偏向部の突起構造であり、
    定着部または偏向部の位置においてコンクリート躯体の内部に一端側が埋設され、他端側がコンクリート躯体の外部へ突出する接続部材と、この接続部材を介してコンクリート躯体に一体化される定着部または偏向部のコンクリート突起とを備えていることを特徴とする緊張材の定着部または偏向部の突起構造。
  2. プレストレストコンクリート構造物に配置される緊張材の端部が定着される定着部または緊張材が挿通される偏向部の突起構造であり、
    定着部または偏向部の位置においてコンクリート躯体の内部に一端側が埋設され、他端側がコンクリート躯体の外部へ突出する接続部材と、この接続部材の突出部分に一体的に接続される定着部または偏向部の鋼製突起とを備えていることを特徴とする緊張材の定着部または偏向部の突起構造。
  3. 請求項1または請求項2のいずれか一つに記載の突起構造において、接続部材が孔あき鋼板ジベルであり、コンクリート躯体内の部分の孔にコンクリート躯体の鉄筋が挿通され、あるいは前記孔をスリットとし、このスリットにコンクリート躯体の鉄筋が配置されていることを特徴とする緊張材の定着部または偏向部の突起構造。
  4. 請求項1または請求項3のいずれか一つに記載の突起構造において、接続部材が緊張材を挟んで配置される一対の孔あき鋼板ジベルであり、この一対の孔あき鋼板ジベルがボルト部材で連結されていることを特徴とする緊張材の定着部または偏向部の突起構造。
  5. 請求項1、請求項3または請求項4のいずれか一つに記載の突起構造において、接続部材がコンクリート躯体内に位置する内部部分とコンクリート躯体の外に位置する外部部分とに分割され、内部部分に外部部分が接合されることを特徴とする緊張材の定着部または偏向部の突起構造。
  6. プレストレストコンクリート構造物に配置される緊張材の端部が定着される定着部または緊張材が挿通される偏向部の施工方法であり、
    請求項1から請求項5までのいずれか一つに記載の接続部材をコンクリート躯体の配筋時にコンクリート躯体の定着部または偏向部の位置に設置し、コンクリート躯体のコンクリートを打設し、コンクリートの硬化後、コンクリート突起の場合、コンクリート躯体上に定着部または偏向部の鉄筋、型枠を配置し、型枠内にコンクリートを打設し、前記接続部材を介してコンクリート躯体と一体化された定着部または偏向部のコンクリート突起を形成し、あるいは鋼製突起の場合、前記接続部材に鋼製突起を接続し、前記接続部材を介してコンクリート躯体と一体化された定着部または偏向部の鋼製突起を形成することを特徴とする緊張材の定着部または偏向部の施工方法。
JP2007108292A 2007-04-17 2007-04-17 緊張材の定着部または偏向部の突起構造及びその施工方法 Withdrawn JP2008266910A (ja)

Priority Applications (1)

Application Number Priority Date Filing Date Title
JP2007108292A JP2008266910A (ja) 2007-04-17 2007-04-17 緊張材の定着部または偏向部の突起構造及びその施工方法

Applications Claiming Priority (1)

Application Number Priority Date Filing Date Title
JP2007108292A JP2008266910A (ja) 2007-04-17 2007-04-17 緊張材の定着部または偏向部の突起構造及びその施工方法

Publications (1)

Publication Number Publication Date
JP2008266910A true JP2008266910A (ja) 2008-11-06

Family

ID=40046765

Family Applications (1)

Application Number Title Priority Date Filing Date
JP2007108292A Withdrawn JP2008266910A (ja) 2007-04-17 2007-04-17 緊張材の定着部または偏向部の突起構造及びその施工方法

Country Status (1)

Country Link
JP (1) JP2008266910A (ja)

Cited By (7)

* Cited by examiner, † Cited by third party
Publication number Priority date Publication date Assignee Title
CN103194966A (zh) * 2012-01-09 2013-07-10 上海市基础工程有限公司 埋入式仪器导线的保护方法
CN103321148A (zh) * 2013-07-19 2013-09-25 济南金曰公路工程有限公司 桥梁护栏基座对拉螺栓孔洞封堵结构及封堵工艺
CN109024271A (zh) * 2018-06-20 2018-12-18 广西交通科学研究院有限公司 限制局部开裂的内置式混凝土梁桥钢混锚固件的施工方法
CN109024310A (zh) * 2018-06-20 2018-12-18 广西交通科学研究院有限公司 限制局部开裂的外置式混凝土梁桥钢混锚固件的施工方法
JP2019108725A (ja) * 2017-12-18 2019-07-04 黒沢建設株式会社 プレキャストpc床版の連結構造及び連結方法
CN113605717A (zh) * 2021-08-05 2021-11-05 中国二十二冶集团有限公司 大口径弯扭钢管柱牛腿定位及组装方法
CN113738119A (zh) * 2021-09-07 2021-12-03 青建集团股份公司 一种大跨度有粘结预应力混凝土梁梁顶齿块张拉施工方法

Cited By (8)

* Cited by examiner, † Cited by third party
Publication number Priority date Publication date Assignee Title
CN103194966A (zh) * 2012-01-09 2013-07-10 上海市基础工程有限公司 埋入式仪器导线的保护方法
CN103321148A (zh) * 2013-07-19 2013-09-25 济南金曰公路工程有限公司 桥梁护栏基座对拉螺栓孔洞封堵结构及封堵工艺
CN103321148B (zh) * 2013-07-19 2015-08-19 济南金曰公路工程有限公司 桥梁护栏基座对拉螺栓孔洞封堵结构及封堵工艺
JP2019108725A (ja) * 2017-12-18 2019-07-04 黒沢建設株式会社 プレキャストpc床版の連結構造及び連結方法
CN109024271A (zh) * 2018-06-20 2018-12-18 广西交通科学研究院有限公司 限制局部开裂的内置式混凝土梁桥钢混锚固件的施工方法
CN109024310A (zh) * 2018-06-20 2018-12-18 广西交通科学研究院有限公司 限制局部开裂的外置式混凝土梁桥钢混锚固件的施工方法
CN113605717A (zh) * 2021-08-05 2021-11-05 中国二十二冶集团有限公司 大口径弯扭钢管柱牛腿定位及组装方法
CN113738119A (zh) * 2021-09-07 2021-12-03 青建集团股份公司 一种大跨度有粘结预应力混凝土梁梁顶齿块张拉施工方法

Similar Documents

Publication Publication Date Title
KR101903628B1 (ko) 내진 성능이 강화된 더블 pc벽체 및 이를 이용한 pc벽체 구조물의 시공방법
KR102075165B1 (ko) 콘크리트 충전 강관 기둥과 콘크리트 충전 강관기둥의 연결구조 및 그 연결시공방법
KR101064731B1 (ko) 포물선 형상의 웨브와 거푸집형 플랜지를 가지는 강재 빔과 콘크리트로 이루어진 강합성 거더 및 그 제작방법
CN102449247A (zh) 半预制楼板及使用该半预制楼板的板材的构筑方法
KR101663132B1 (ko) 자립 기둥구조체
JP2008266910A (ja) 緊張材の定着部または偏向部の突起構造及びその施工方法
KR20090068536A (ko) 콘크리트 복합 형강보 및 이를 이용한 슬래브 시공 방법
KR101320571B1 (ko) 강합성 거더 모듈 및 이의 제작방법
JP7158231B2 (ja) 合成柱及びそれを用いた橋脚、施工方法
KR100894650B1 (ko) 프리플렉션 하중이 도입된 라멘교 및 그 시공방법
KR101200563B1 (ko) 콘크리트 크로스 빔을 이용하여 강 주형을 연결한 강 합성교량 및 시공방법
JP2019052424A (ja) PCa版の継手構造及びその構築方法
JP5602455B2 (ja) 梁部材および建物構造体
KR100540625B1 (ko) 하부플랜지 매립 구조를 가지는 콘크리트 일체 타설방식의 콘크리트 패널 합성빔의 시공방법
KR101124820B1 (ko) 슬래브 구축용 결합구조
JP4447632B2 (ja) 梁、および梁と柱の接合構造ならびにその接合方法
JP4841446B2 (ja) 梁端rc造の鉄骨梁の柱への施工方法
KR20190057672A (ko) 철골 보, 합성 기둥, 및 이들의 접합 구조
CN118756812A (zh) 一种装配整体式梁板一体化框架结构及其安装方法
KR100865133B1 (ko) 결속구, 선조립 콘크리트 구조물용 거푸집 구조체 및 이를이용한 시공방법
JP5439016B2 (ja) 埋設型枠
JP2017014713A (ja) 既存コンクリート構造物補強構造
KR100653283B1 (ko) 철근 콘크리트 구조물의 연결 방법
KR102331556B1 (ko) Pc더블거더, 이의 제조방법 및 시공방법과 pc더블거더 구조물
KR101698807B1 (ko) 파형강판을 이용한 psc거더의 제작방법 및 이에 의해 제작된 psc거더

Legal Events

Date Code Title Description
A300 Withdrawal of application because of no request for examination

Free format text: JAPANESE INTERMEDIATE CODE: A300

Effective date: 20100706