JP2008133003A - 詰替え用袋 - Google Patents
詰替え用袋 Download PDFInfo
- Publication number
- JP2008133003A JP2008133003A JP2006319605A JP2006319605A JP2008133003A JP 2008133003 A JP2008133003 A JP 2008133003A JP 2006319605 A JP2006319605 A JP 2006319605A JP 2006319605 A JP2006319605 A JP 2006319605A JP 2008133003 A JP2008133003 A JP 2008133003A
- Authority
- JP
- Japan
- Prior art keywords
- bag
- laminated resin
- resin film
- region
- raised
- Prior art date
- Legal status (The legal status is an assumption and is not a legal conclusion. Google has not performed a legal analysis and makes no representation as to the accuracy of the status listed.)
- Pending
Links
Images
Landscapes
- Bag Frames (AREA)
Abstract
【課題】注出口が閉塞することがなく、かつ、十分な注出流路を確保できる、詰替え性が良好な詰替え用袋を提供することを目的とする。
【解決手段】可撓性の積層樹脂フィルムを貼り合わせて形成した袋本体に内容物を密封して収納するための詰替え用袋であって、袋本体から突出した両側シール部と注出流路とを有するノズル部の先端領域に、注出口を開口するための切断予定線を備え、注出流路形成部の2枚の積層樹脂フィルムの少なくとも一方に、該積層樹脂フィルムの表側から見て凹型に形成した陥没部を注出流路形成部の両側シール部寄りの領域に設けると共に、注出流路形成部の該陥没部に挟まれた領域に該積層樹脂フィルムの表側から見て凸型に形成した隆起部を設けてなる袋とする。
【選択図】図4
【解決手段】可撓性の積層樹脂フィルムを貼り合わせて形成した袋本体に内容物を密封して収納するための詰替え用袋であって、袋本体から突出した両側シール部と注出流路とを有するノズル部の先端領域に、注出口を開口するための切断予定線を備え、注出流路形成部の2枚の積層樹脂フィルムの少なくとも一方に、該積層樹脂フィルムの表側から見て凹型に形成した陥没部を注出流路形成部の両側シール部寄りの領域に設けると共に、注出流路形成部の該陥没部に挟まれた領域に該積層樹脂フィルムの表側から見て凸型に形成した隆起部を設けてなる袋とする。
【選択図】図4
Description
本発明は、可撓性の積層樹脂フィルムを貼り合わせて形成した袋本体に内容物を密封して収納するための詰替え用袋に関する。
可撓性の積層樹脂フィルムを貼り合わせて形成された袋本体の上部端縁部の一部に注出流路を有するノズル部を設けた可撓性の袋は、液体、粒体、粉粒体などの流動性を有する内容物を密封して収納するための袋として採用され、内容物を他の容器に移し替えて使用する詰替え用の袋は、廃棄物減量の目的に合致するものとして、多く用いられる傾向にある。
この詰替え用袋においては、2枚のフィルムの両側シール部とその間に形成した内容物注出流路とを有するノズル部を半切れ線等により形成した切断予定線で切断して注出口を形成する形式が採られている。
しかし、このようにして形成した注出口より内容物を注ぎ出す際には、最初の内容物がまだ多く存在する状態では、内容物の流出圧力により注出口が拡がり、比較的スムースに取り出すことができるが、内容物が少なくなってくると、注出口が閉塞気味となり、内容物の取り出しに時間がかかり、又は、内容物を完全に取り出すことが困難となる。
しかし、このようにして形成した注出口より内容物を注ぎ出す際には、最初の内容物がまだ多く存在する状態では、内容物の流出圧力により注出口が拡がり、比較的スムースに取り出すことができるが、内容物が少なくなってくると、注出口が閉塞気味となり、内容物の取り出しに時間がかかり、又は、内容物を完全に取り出すことが困難となる。
この注出流路の閉塞を防止するものとして、注出流路形成部の中央領域に凸状エンボス加工を施すことによって、流路を確保した詰替え用袋(特許文献1参照)が提案されているが、詰替え用袋は内容物の充填前段階においては圧縮包装されているため、その圧縮包装の段階で注出流路が潰れて、内容物の詰替え段階において、十分な立体的流路を確保することが難しい。また、注出流路形成部の両側領域に凹状エンボス加工を施すことによって、該凹状エンボスに挟まれた部分に流路を確保した詰替え用袋(特許文献2参照)も提案されており、この袋は特許文献1の凸状エンボス加工した袋に比べて、注出流路が潰れ難いが、実質的な流路は凹状エンボスに挟まれた部分のみとなり易いため、やはり、十分な流路を確保することは難しい。
本発明は、上記背景技術の問題点に鑑み、注出口が閉塞することがなく、かつ、十分な注出流路を確保できる、詰替え性が良好な詰替え用袋を提供することを目的とする。
本発明者らは、注出流路形成部の両側シール部寄りの領域に陥没部を設けると共に、注出流路形成部の該陥没部に囲まれた領域に隆起部を設けた詰替え用袋とすることにより、その課題を解決しうることを着想した。
即ち本発明は、
可撓性の積層樹脂フィルムを貼り合わせて形成した袋本体に内容物を密封して収納するための詰替え用袋であって、袋本体から突出した両側シール部と注出流路とを有するノズル部の先端領域に、注出口を開口するための切断予定線を備え、注出流路形成部の2枚の積層樹脂フィルムの少なくとも一方に、該積層樹脂フィルムの表側から見て凹型に形成した陥没部を注出流路形成部の両側シール部寄りの領域に設けると共に、注出流路形成部の該陥没部に挟まれた領域に該積層樹脂フィルムの表側から見て凸型に形成した隆起部を設けてなる詰替え用袋である。
即ち本発明は、
可撓性の積層樹脂フィルムを貼り合わせて形成した袋本体に内容物を密封して収納するための詰替え用袋であって、袋本体から突出した両側シール部と注出流路とを有するノズル部の先端領域に、注出口を開口するための切断予定線を備え、注出流路形成部の2枚の積層樹脂フィルムの少なくとも一方に、該積層樹脂フィルムの表側から見て凹型に形成した陥没部を注出流路形成部の両側シール部寄りの領域に設けると共に、注出流路形成部の該陥没部に挟まれた領域に該積層樹脂フィルムの表側から見て凸型に形成した隆起部を設けてなる詰替え用袋である。
本発明によれば、ノズル部の先端を切断予定線で切断して内容物を詰替える際には、注出流路形成部の両側シール部寄りの領域に設けた陥没部によって、陥没部に挟まれた領域が外側に脹らみ、更にその領域に設けた隆起部によって、陥没部の間の幅を広く確保しつつ十分な流路を形成することができる。しかも、内容物充填前の圧縮包装によっても、陥没部が存在することによって隆起部は潰れ難くなっている。尚、充填後には、詰替え用袋に内容物が収容され、内容物が注出流路の内部に付着する場合があり、この場合に注出流路の2枚のフィルムが密着して離れにくくなるが、陥没部の輪郭に沿って形成された段差と、陥没部の間の隆起部により、容易に2枚のフィルムの間に注出流路を形成可能とする。例えば、ノズル部の両側シール部のシール端部同士を近づけるようにノズル部又は注出口を手指で挟み込むことで、隆起部と隆起部近傍の陥没部の輪郭に沿って形成された段差によって、隆起部と他方のフィルムとの密着が解除されて、注出流路を確保しやすくなっている。
更に、隆起部を、陥没部に挟まれた領域からノズル部の先端領域に延在させ、且つ、該先端領域において幅広となった、概ねT字となる形状とすれば、陥没部で広く形成された注出流路が、ノズル部の先端領域で更に広がった形で注出口が形成されることになり、更に詰替え性が向上する。
更に、隆起部を、陥没部に挟まれた領域からノズル部の先端領域に延在させ、且つ、該先端領域において幅広となった、概ねT字となる形状とすれば、陥没部で広く形成された注出流路が、ノズル部の先端領域で更に広がった形で注出口が形成されることになり、更に詰替え性が向上する。
以下、本発明の詰替え用袋を、図を参照して説明する。
図1は、内容物を収納した状態における本発明の詰替え用袋の1実施例を示す正面図である。
図1に示す如く、詰替え用袋1は、可撓性の積層樹脂からなる2枚の胴部フィルム2、3と、可撓性の積層樹脂からなる1枚の底部フィルム4とからなり、胴部フィルム2、3の下縁部と底部フィルム4の周縁部とを熱融着、超音波融着等により接合してボトムシール部5を形成するとともに、胴部フィルム2、3の両側縁部と上縁部とを互いに熱融着等により接合してサイドシール部6とトップシール部7を形成し、それらのシール部によって囲まれる内容物収容部8を形成したものである。尚、詰替え用袋1にあっては、上述のフィルム接合過程の最終段階前、例えば胴部フィルム2、3のトップシール部7の接合前段階で、内容物収容部8に内容物を充填する。
図1は、内容物を収納した状態における本発明の詰替え用袋の1実施例を示す正面図である。
図1に示す如く、詰替え用袋1は、可撓性の積層樹脂からなる2枚の胴部フィルム2、3と、可撓性の積層樹脂からなる1枚の底部フィルム4とからなり、胴部フィルム2、3の下縁部と底部フィルム4の周縁部とを熱融着、超音波融着等により接合してボトムシール部5を形成するとともに、胴部フィルム2、3の両側縁部と上縁部とを互いに熱融着等により接合してサイドシール部6とトップシール部7を形成し、それらのシール部によって囲まれる内容物収容部8を形成したものである。尚、詰替え用袋1にあっては、上述のフィルム接合過程の最終段階前、例えば胴部フィルム2、3のトップシール部7の接合前段階で、内容物収容部8に内容物を充填する。
詰替え用袋1においては、袋の上角部を、両側シール部、即ち、一方のサイドシール部の一部であるシール部6'とトップシール部の一部であるシール部7'とその間に形成した注出流路9とを有するノズル部10としており、使用する際には、該ノズル部10を切断予定線11で切断することにより注出口を形成する。
図2は、図1に示す詰替え用袋1のノズル部10を拡大して示す正面図であり、図3は図2に示すノズル部をA−A線で切断した場合の断面図である。
図2及び図3に示す如く、積層樹脂フィルム2、3の表側から見て凹型に形成した陥没部12A、12Bを注出流路形成部の両側シール部6'、7'寄りの領域に設けると共に、陥没部12A、12Bに挟まれた領域に積層樹脂フィルム2、3の表側から見て凸型に形成した隆起部13を設けている。なお、図3中、14A,14Bは、陥没部と隆起部との隙間を示している。
切断予定線11は、隆起部13のノズル部先端側の端より更にノズル部先端側に近接して設けることもできるが、注出口を広く確保するためには、図1及び図2に示すように、少なくとも隆起部13を跨いで設けることが好ましく、形状も、直線的ではなく、袋本体中央部方向に脹らんだ円弧状とするのが、注出口をより広くする意味で好ましい。
陥没部12A,12B及び隆起部13は、注出流路を形成する2枚の積層樹脂フィルム2、3のいずれか一方に設けてもよいが、図3に示すように、注出流路を形成する2枚の積層樹脂フィルムの両方に設け、且つ、両方のフィルムの隆起部を互いに重なる位置に設けるのが、広い注出口を形成する上で好ましい。
図2及び図3に示す如く、積層樹脂フィルム2、3の表側から見て凹型に形成した陥没部12A、12Bを注出流路形成部の両側シール部6'、7'寄りの領域に設けると共に、陥没部12A、12Bに挟まれた領域に積層樹脂フィルム2、3の表側から見て凸型に形成した隆起部13を設けている。なお、図3中、14A,14Bは、陥没部と隆起部との隙間を示している。
切断予定線11は、隆起部13のノズル部先端側の端より更にノズル部先端側に近接して設けることもできるが、注出口を広く確保するためには、図1及び図2に示すように、少なくとも隆起部13を跨いで設けることが好ましく、形状も、直線的ではなく、袋本体中央部方向に脹らんだ円弧状とするのが、注出口をより広くする意味で好ましい。
陥没部12A,12B及び隆起部13は、注出流路を形成する2枚の積層樹脂フィルム2、3のいずれか一方に設けてもよいが、図3に示すように、注出流路を形成する2枚の積層樹脂フィルムの両方に設け、且つ、両方のフィルムの隆起部を互いに重なる位置に設けるのが、広い注出口を形成する上で好ましい。
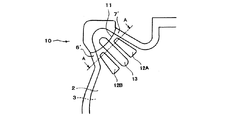
図4及び図5は、本発明の詰替え用袋の他の実施例におけるノズル部10を拡大して示す正面図である。
図4の例では、隆起部13は、陥没部12A,12Bに挟まれる領域において陥没部12A,12Bに接すると共に、更に、当該領域からノズル部の先端領域に延在させ、且つ、該先端領域において幅広となった、概ねT字となる形状、言い換えれば、キノコ形状をなしている。
一方、図5の例では、隆起部13は、図4に実施例の場合と同様に、陥没部12A,12Bに挟まれる領域から、更に、ノズル部の先端領域に延在させた概ねT字となる形状をなしているが、図4に実施例の場合と異なり、陥没部12A,12Bには接せず、それらの近傍に設けている。
図4の例では、隆起部13は、陥没部12A,12Bに挟まれる領域において陥没部12A,12Bに接すると共に、更に、当該領域からノズル部の先端領域に延在させ、且つ、該先端領域において幅広となった、概ねT字となる形状、言い換えれば、キノコ形状をなしている。
一方、図5の例では、隆起部13は、図4に実施例の場合と同様に、陥没部12A,12Bに挟まれる領域から、更に、ノズル部の先端領域に延在させた概ねT字となる形状をなしているが、図4に実施例の場合と異なり、陥没部12A,12Bには接せず、それらの近傍に設けている。
図4及び図5の例のように、隆起部13を概ねT字となる形状とした場合、注出口は実質的に隆起部のみで形成されることになるので、非常に広い開口をもった注出口が形成される。そのため、詰め替えている最中に注出流路先端に荷重がかかりやすく、注出口が閉塞しにくい。注出流路に陥没部(又は凹状エンボス)のみを設けた場合には、陥没部の輪郭を形成する段差の剛性のみをもって注出口や注出流路を形成しているため、陥没部の輪郭領域を除く部分では閉塞しやすいが、本発明の実施例では陥没部の輪郭領域によって付与された開口性を隆起部に与え、注出口と注出流路を閉塞しにくくしている。
さらに、陥没部と組み合わせた隆起部を概ねT字の形状とすることで、ノズル部の先端をカットして注ぎ口を開封すると、シール部によって閉じられていた隆起部が解放され、注ぎ口の隆起部で構成された部分が開こうとするため、この開こうとする力に誘導されて注出口の先端部から注出流路を開くこととなる。従って、外気は隆起部に形成された幅広い空隙から注出流路を経由して内容物収容部に入り易く、2枚のフィルムが密着していても容易に隙間を形成し、内容物収容部に通ずる注出流路をスムースに形成可能にする。
さらに、陥没部と組み合わせた隆起部を概ねT字の形状とすることで、ノズル部の先端をカットして注ぎ口を開封すると、シール部によって閉じられていた隆起部が解放され、注ぎ口の隆起部で構成された部分が開こうとするため、この開こうとする力に誘導されて注出口の先端部から注出流路を開くこととなる。従って、外気は隆起部に形成された幅広い空隙から注出流路を経由して内容物収容部に入り易く、2枚のフィルムが密着していても容易に隙間を形成し、内容物収容部に通ずる注出流路をスムースに形成可能にする。
又、図5に示すように、切断予定線11のシール部7'上の部分において、切り抜き穴15を設け、切断予定線11の上端から切断した場合には、切り抜き穴で一旦切断が中断され、更に切断を進めるのには抵抗が生じる形となるので、取り扱いの際に誤開封されることを防止することができ、好ましい態様である。なお、切り抜き穴15は、シール部6'上の部分に設けても、又シール部7'上の部分とシール部6'上の部分の両方に設けてもよい。
切断予定線11を形成する方法については、特に制限はなく、公知の方法の何れもが採用可能であるが、2枚のフィルムのいずれか一方の表面又は両方のフィルムの表面に、連続的又は断続的なハーフカット線をフィルムの表側層にレーザー等で形成するのが、生産性の点から好ましい。
また、陥没部12A,12B及び隆起部13を形成する方法についても特に制限はなく、公知の方法の何れもが採用可能であるが、フィルム面にプレス加工を行う等のエンボス加工法により形成するのが、生産性の点から好ましい。
また、陥没部12A,12B及び隆起部13を形成する方法についても特に制限はなく、公知の方法の何れもが採用可能であるが、フィルム面にプレス加工を行う等のエンボス加工法により形成するのが、生産性の点から好ましい。
本発明の詰替え用袋の形状としては、特に制約はなく、三方シール形式、四方シール形式等のパウチが適当であるが、特にスタンディングパウチ形式の袋は、自立可能であるので、取り扱い易く、好ましい形式である。
詰替え用袋を形成するフィルムとしては、可撓性の単層樹脂フィルムを使用することも可能であり、積層樹脂フィルムが一般的に使用されるが、その素材としては、この種の目的に通常使用される素材のいずれもが使用可能であり、延伸ナイロンフィルム(ONy)、延伸ポリプロピレン(OPP)、無延伸ポリプロピレン(CPP)、直線状低密度ポリエチレン(LLDPE)、高密度ポリエチレン(HDPE)、低密度ポリエチレン(LDPE)、ポリエチレンテレフタレート (PET)、金属蒸着ポリエチレンテレフタレート (VM-PET)等を例示することができる。また、バリヤー性を持たせるために、アルミニウム等の金属フィルムを、上記の樹脂フィルムと共に使用してもよい。
積層樹脂フィルムの層構成も、この種の目的に通常使用される構成のいずれもが採用可能であるが、好ましい層構成としては、外層側より、ONy、PET等からなる基材層と、CPP、LLDPE、 LDPE等からなるシーラント層とを積層した構成及び、それらの基材層とシーラント層との間に、更にOPP、HDPE、VM-PET、金属フィルム等を積層した構成を例示することができる。
詰替え用袋1の一部に設けるノズル部10の位置は、詰替え用袋1の上縁角部(図1の態様)でも、上縁中央部であってもよい。また、ノズル部の形状も種々の形状を採用でき、その向きも、設ける位置により、上方向、斜め上方向、横方向のいずれかを選択し得る。
図1に示した形状、即ち、サイドシール部6の上部から内側に向かう傾斜部に連続し凹型円弧状に上方に延びるシール部と、トップシール部7より内側に窪む凹型屈曲部を介して斜め上方に延びるシール部とから形成されたノズルの形状は、詰め替えの際の取り扱い性に優れた、特に好ましい形状である。
図1に示した形状、即ち、サイドシール部6の上部から内側に向かう傾斜部に連続し凹型円弧状に上方に延びるシール部と、トップシール部7より内側に窪む凹型屈曲部を介して斜め上方に延びるシール部とから形成されたノズルの形状は、詰め替えの際の取り扱い性に優れた、特に好ましい形状である。
本発明の詰替え用袋は、洗浄剤、界面活性剤、化粧品、食品等の、液体、粒体、粉粒体を収納するための袋として利用し、内容物を容器に詰替えて使用するために用いる。
1:詰替え用袋
2、3:胴部フィルム
4:底部フィルム
5:ボトムシール部
6:サイドシール部
6':サイドシール部の注出流路形成部における部分
7:トップシール部
7':トップシール部の注出流路形成部における部分
8:内容物収容部
7、7':トップシール部
9:注出流路
10:ノズル部
11:切断予定線
12A、12B:陥没部
13:隆起部
14:陥没部と隆起部との隙間
15:抜き穴
2、3:胴部フィルム
4:底部フィルム
5:ボトムシール部
6:サイドシール部
6':サイドシール部の注出流路形成部における部分
7:トップシール部
7':トップシール部の注出流路形成部における部分
8:内容物収容部
7、7':トップシール部
9:注出流路
10:ノズル部
11:切断予定線
12A、12B:陥没部
13:隆起部
14:陥没部と隆起部との隙間
15:抜き穴
Claims (4)
- 可撓性の積層樹脂フィルムを貼り合わせて形成した袋本体に内容物を密封して収納するための詰替え用袋であって、袋本体から突出した両側シール部と注出流路とを有するノズル部の先端領域に、注出口を開口するための切断予定線を備え、注出流路形成部の2枚の積層樹脂フィルムの少なくとも一方に、該積層樹脂フィルムの表側から見て凹型に形成した陥没部を注出流路形成部の両側シール部寄りの領域に設けると共に、注出流路形成部の該陥没部に挟まれた領域に該積層樹脂フィルムの表側から見て凸型に形成した隆起部を設けてなる詰替え用袋。
- 前記注出流路形成部の2枚の積層樹脂フィルムの両方に、前記陥没部と前記隆起部とを設け、且つ、両方のフィルムの隆起部が互いに重なる位置にある請求項1に記載の詰替え用袋。
- 前記隆起部を、前記陥没部に挟まれた領域からノズル部の先端領域に延在させ、且つ、該先端領域において幅広の概ねT字の形状に設けてなる請求項1又は2に記載の詰替え用袋。
- 前記切断予定線を、少なくとも前記隆起部を跨いで設けてなる請求項1〜3のいずれかに記載の詰替え用袋。
Priority Applications (1)
| Application Number | Priority Date | Filing Date | Title |
|---|---|---|---|
| JP2006319605A JP2008133003A (ja) | 2006-11-28 | 2006-11-28 | 詰替え用袋 |
Applications Claiming Priority (1)
| Application Number | Priority Date | Filing Date | Title |
|---|---|---|---|
| JP2006319605A JP2008133003A (ja) | 2006-11-28 | 2006-11-28 | 詰替え用袋 |
Publications (1)
| Publication Number | Publication Date |
|---|---|
| JP2008133003A true JP2008133003A (ja) | 2008-06-12 |
Family
ID=39558135
Family Applications (1)
| Application Number | Title | Priority Date | Filing Date |
|---|---|---|---|
| JP2006319605A Pending JP2008133003A (ja) | 2006-11-28 | 2006-11-28 | 詰替え用袋 |
Country Status (1)
| Country | Link |
|---|---|
| JP (1) | JP2008133003A (ja) |
Cited By (8)
| Publication number | Priority date | Publication date | Assignee | Title |
|---|---|---|---|---|
| JP2010155651A (ja) * | 2009-01-05 | 2010-07-15 | Taisei Lamick Co Ltd | 自立型液体包装用小袋 |
| JP2010228770A (ja) * | 2009-03-26 | 2010-10-14 | Toppan Printing Co Ltd | 包装容器 |
| JP2011184065A (ja) * | 2010-03-08 | 2011-09-22 | Toppan Printing Co Ltd | 詰替え容器 |
| WO2012063974A1 (ja) * | 2010-11-11 | 2012-05-18 | 東洋製罐株式会社 | 詰め替えパウチ |
| JP2012121583A (ja) * | 2010-12-06 | 2012-06-28 | Toppan Printing Co Ltd | 詰替え容器 |
| JP2012246010A (ja) * | 2011-05-27 | 2012-12-13 | Toppan Printing Co Ltd | 詰替え容器 |
| JP2014034417A (ja) * | 2012-08-10 | 2014-02-24 | Dainippon Printing Co Ltd | 詰め替え袋 |
| JP2018030621A (ja) * | 2016-08-25 | 2018-03-01 | 藤森工業株式会社 | 包装袋 |
-
2006
- 2006-11-28 JP JP2006319605A patent/JP2008133003A/ja active Pending
Cited By (9)
| Publication number | Priority date | Publication date | Assignee | Title |
|---|---|---|---|---|
| JP2010155651A (ja) * | 2009-01-05 | 2010-07-15 | Taisei Lamick Co Ltd | 自立型液体包装用小袋 |
| JP2010228770A (ja) * | 2009-03-26 | 2010-10-14 | Toppan Printing Co Ltd | 包装容器 |
| JP2011184065A (ja) * | 2010-03-08 | 2011-09-22 | Toppan Printing Co Ltd | 詰替え容器 |
| WO2012063974A1 (ja) * | 2010-11-11 | 2012-05-18 | 東洋製罐株式会社 | 詰め替えパウチ |
| JP5459631B2 (ja) * | 2010-11-11 | 2014-04-02 | 東洋製罐株式会社 | 詰め替えパウチ |
| JP2012121583A (ja) * | 2010-12-06 | 2012-06-28 | Toppan Printing Co Ltd | 詰替え容器 |
| JP2012246010A (ja) * | 2011-05-27 | 2012-12-13 | Toppan Printing Co Ltd | 詰替え容器 |
| JP2014034417A (ja) * | 2012-08-10 | 2014-02-24 | Dainippon Printing Co Ltd | 詰め替え袋 |
| JP2018030621A (ja) * | 2016-08-25 | 2018-03-01 | 藤森工業株式会社 | 包装袋 |
Similar Documents
| Publication | Publication Date | Title |
|---|---|---|
| CN101415612B (zh) | 袋容器 | |
| JP2010023914A (ja) | 逆止機能ノズルを備えるフレキシブル包装袋および液状物充填包装構造体 | |
| KR20090047522A (ko) | 스파우트가 부착된 파우치 | |
| JP2008133003A (ja) | 詰替え用袋 | |
| JP2011178458A (ja) | 注出口を有する袋体 | |
| JP4015592B2 (ja) | 包装容器 | |
| JP7110555B2 (ja) | 注出ノズルを有する包装袋 | |
| JP2006193173A (ja) | 包装袋及びその製造方法 | |
| JP2008074479A (ja) | 詰替え用袋 | |
| JP2004075187A (ja) | 注出通路付き包装用袋 | |
| JP2002128093A (ja) | 自立袋 | |
| JP5483191B2 (ja) | 注出キャップ | |
| JP2001048197A (ja) | 詰め替え用パウチ | |
| JP2012111502A (ja) | 紙容器の再封性開封装置 | |
| JP3139752U (ja) | 流体包装容器 | |
| JP2008150073A (ja) | 詰替え用袋 | |
| KR200427803Y1 (ko) | 리필용 파우치 | |
| JP2005088894A (ja) | 袋状容器 | |
| JP2007326581A (ja) | 逆止機能を有する液体注出ノズルおよびそれを用いた包装袋 | |
| JP6012966B2 (ja) | スパウト付き収容体 | |
| JP6264630B2 (ja) | 詰め替え袋 | |
| JP4554270B2 (ja) | 水切り機能を有する包装袋及び包装体 | |
| JP2012046252A (ja) | 逆止機能を有する液体注出ノズルおよびそれを用いた包装袋 | |
| JP4069703B2 (ja) | 注出機能付き袋状容器 | |
| JP2018002183A (ja) | 注出用パウチ |