JP2007288963A - プラグイン分電盤 - Google Patents
プラグイン分電盤 Download PDFInfo
- Publication number
- JP2007288963A JP2007288963A JP2006115480A JP2006115480A JP2007288963A JP 2007288963 A JP2007288963 A JP 2007288963A JP 2006115480 A JP2006115480 A JP 2006115480A JP 2006115480 A JP2006115480 A JP 2006115480A JP 2007288963 A JP2007288963 A JP 2007288963A
- Authority
- JP
- Japan
- Prior art keywords
- pole
- plug
- distribution board
- breaker
- phase module
- Prior art date
- Legal status (The legal status is an assumption and is not a legal conclusion. Google has not performed a legal analysis and makes no representation as to the accuracy of the status listed.)
- Withdrawn
Links
- 239000002184 metal Substances 0.000 claims abstract description 9
- 230000000903 blocking effect Effects 0.000 description 8
- 238000007689 inspection Methods 0.000 description 3
- 238000012423 maintenance Methods 0.000 description 3
- 238000004519 manufacturing process Methods 0.000 description 3
- 238000009413 insulation Methods 0.000 description 2
- 230000017525 heat dissipation Effects 0.000 description 1
- 239000011810 insulating material Substances 0.000 description 1
- 238000000034 method Methods 0.000 description 1
- 230000007935 neutral effect Effects 0.000 description 1
- 230000001681 protective effect Effects 0.000 description 1
Images
Landscapes
- Distribution Board (AREA)
Abstract
【課題】三相4線式のプラグイン分電盤において安価に量産されているプラグイン式の3極用ブレーカを使用して三相4線の配線を行うことのできるプラグイン分電盤を提供する。
【解決手段】電圧極の3本の母線バー2に幅方向より接続するプラグ端子金具51を備えた3極用ブレーカ5に隣接させてN極の母線バー2に接続するプラグ端子金具61を備えたN相モジュール6を配置して、電圧極の3本の母線バー2とN極の母線バー2とよりなる三相4線式の配線を行うことを特徴とするプラグイン分電盤。
【選択図】 図2
【解決手段】電圧極の3本の母線バー2に幅方向より接続するプラグ端子金具51を備えた3極用ブレーカ5に隣接させてN極の母線バー2に接続するプラグ端子金具61を備えたN相モジュール6を配置して、電圧極の3本の母線バー2とN極の母線バー2とよりなる三相4線式の配線を行うことを特徴とするプラグイン分電盤。
【選択図】 図2
Description
本発明は、三相4線式のプラグイン分電盤において3極用ブレーカを使用して三相4線の配線を行うことのできるプラグイン分電盤に関するものである。
三相4線式の分電盤は、主幹の4極用ブレーカに接続したR、S、T、Nの4本の母線バーの任意の2本又は3本に2極用又は3極用分岐ブレーカの電源側端子と接続することにより単相2線、単相3線、三相3線の電源として負荷に供給することができる(特許文献1参照)ものである。ところが、R、S、T、Nの4本の母線バーから他の三相4線式の分電盤に分岐する場合には4極用ブレーカを介して行うことが一般的である。この場合に送り側の分電盤がプラグイン式の場合には分岐用としてプラグイン式の4極用ブレーカを採用する必要がある。
しかし、4極用ブレーカは、需要が少ないため国内で普及し量産化が進んでいる3極用ブレーカに比べて種類が少ない上、高価である。このような4極用ブレーカを分岐ブレーカとした場合には、非常にコスト高な分電盤となるという問題点がある。
特開平4−58797公開公報(特に、図1参照)
本発明は前記のような従来の問題点を解決して、三相4線式の分電盤において安価に量産されているプラグイン端子金具を備えた3極用ブレーカを使用して三相4線の配線を行うことのできるプラグイン分電盤を提供することである。
本発明のプラグイン分電盤は、電圧極の3本の母線バーに幅方向より接続するプラグ端子金具を備えた3極用ブレーカに隣接させてN極の母線バーに接続するプラグ端子金具を備えたN相モジュールを配置して、電圧極の3本の母線バーとN極の母線バーとよりなる三相4線式の配線を行うことを特徴とするものを基本の発明とする。
この発明において、3極用ブレーカの各プラグ端子金具とN相モジュールのプラグ端子金具をそれぞれの底面に設け、N極の母線バーを電圧極の3本の母線バーの外側に配置してこれにN相モジュールのプラグ端子金具を対応させることが好ましい。また、N相モジュールにハンドルにより操作される断路装置を設けたり、プラグイン分電盤の内部レールに固定されるN相モジュールに、該N相モジュールのプラグ端子金具をN極の母線バーからの接続を解除した状態で保持させる弾性片を設けてもよい。
前記した本発明のプラグイン分電盤は、電圧極の3本の母線バーに幅方向より接続するプラグ端子金具を備えた3極用ブレーカに隣接させてN極の母線バーに接続するプラグ端子金具を備えたN相モジュールを配置したものであるので、電圧極と接続する遮断機能のある3極用ブレーカと特に遮断機能を必要としないN相モジュールとを一組として4極用ブレーカと同様の機能を持つこととなるから、他の三相4線式の分電盤に回路を遮断できるように分岐配線をすることができると共に3極用ブレーカとN相モジュールとを一組として引込電線を接続すれば4極の主幹ブレーカとして使用できるものである。このように、安価に量産できる3極用ブレーカとN相モジュールを採用することにより製造コストを安くできるプラグイン分電盤を提供することができる。
また、3極用ブレーカの各プラグ端子金具とN相モジュールのプラグ端子金具をそれぞれの底面に設け、N極の母線バーを電圧極の3本の母線バーの外側に配置してこれにN相モジュールのプラグ端子金具を対応させるものとすると、プラグ端子金具と母線バーとの接続作業が容易であり、また、電圧極の母線バーとN極の母線バーとの識別が容易なものである。
さらに、N相モジュールにハンドルにより操作される断路装置を設けたり、プラグイン分電盤の内部レールに固定されるN相モジュールに、該N相モジュールのプラグ端子金具をN極の母線バーからの接続を解除した状態で保持させる弾性片を設けることにより、N相モジュールの回路を遮断でき保守・点検時により安全に作業できるものである。
次に、本発明の好ましい第1の実施の形態を図に基づき説明する。
図1において、1はプラグイン分電盤のキャビネットであり、該キャビネット1の 背面板11にR、S、T、Nの4本の母線バー2がその幅方向をキャビネット1の開口に向けて、互いに平行に配置されている。母線バー2のうち電圧極のR、S、T、の3本の母線バー2は背面板11に間隔をおいて配置した取付バー12の前面に取り付けた絶縁材よりなる第1のバーホルダー12aに支持されている。
図1において、1はプラグイン分電盤のキャビネットであり、該キャビネット1の 背面板11にR、S、T、Nの4本の母線バー2がその幅方向をキャビネット1の開口に向けて、互いに平行に配置されている。母線バー2のうち電圧極のR、S、T、の3本の母線バー2は背面板11に間隔をおいて配置した取付バー12の前面に取り付けた絶縁材よりなる第1のバーホルダー12aに支持されている。
そして、R、S、T、の3本の母線バー2の両側には一対の内部レール3、3が配置されている。また、一方の内部レールの外側に取付バー12に取り付けた第2のバーホルダー12bが位置しており、この第2のバーホルダー12bに中性極であるN極の母線バー2が支持されて電圧極の3本の母線バー2の外側に配置したものとされている。このような母線バー2の配置により電圧極の母線バー2とN極の母線バー2との識別が容易なものである。また、N極の母線バー2の外側には第2の内部レール3aが設けられている。
4は前記R、S、T、Nの4本の母線バー2に電源を供給する主幹の4極用ブレーカであり、該4極用ブレーカ4は背面板11の上部に設置して負荷側の4極の端子を接続バー41を介して各母線バー2と接続している。なお、主幹の4極用ブレーカは必要がなければ、特に設ける必要がなく、外部からの引込電線が直接母線バー2に接続したものとしてもよい。
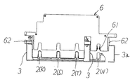
図13に示す、5は3極用ブレーカであり、該3極用ブレーカ5は電圧極の3本の母線バーに幅方向より接続するプラグ端子金具51を備えたものである。この3極用ブレーカ5は、図14、図15に示すように底面にバネ板よりなるクリップ状のプラグ端子金具51を備えたプラグインアダプタ50にねじ式の3極用ブレーカを搭載して該ねじ式の3極用ブレーカの一次側端子をプラグ端子金具51と接続バー、被覆電線等により電気的に接続して構成されたものである。
また、このプラグインアダプタ50の底面には図15、図16に示すように母線バー2が介入できる切込52aを形成したプラグ端子金具51を囲装する保護壁52bを設けたサブベース52が取り付けらており、作業者がプラグ端子金具51に設けた挟持力を強めるリング状のばね金具51aに触れて該ばね金具51aを離脱することがないものとしている。なお、3極用ブレーカ5は底面にプラグ端子金具51を直接備えたプラグイン式のものであってもよいことは勿論である。
そして、該3極用ブレーカ5はプラグ端子金具51に電圧極の3本の母線バー2を幅方向より挟み込むように接続し、負荷側端子5aをN極の母線バー2とは反対側に位置させて前記一対の内部レール3、3の上端にネジ止めして取り付けられている。
6は前記3極用ブレーカ5に隣接させて配置してN極の母線バー2が接続するプラグ端子金具61を備えたN相モジュールである。このN相モジュール6は、電圧極の3本の母線バー2の外側に配置したN極の母線バー2に対応させて底面にプラグ端子金具61を設けたものとしている。そして、この底面に設けたプラグ端子金具61と前記3極用ブレーカ5の負荷側端子5aと対応する箇所に設けた負荷側端子6aとをN相モジュール6のケース60内により線により接続している。また、ケース60は底面を開放させたものとして天板面に放熱用の孔を設けて母線バー2の発熱を逃がす構成としてもよい。
このように、電圧極の3本の母線バー2に幅方向より接続するプラグ端子金具51を備えた3極用ブレーカ5に隣接させてN極の母線バー2と接続するプラグ端子金具61を備えたN相モジュール6を配置したものであるので、電圧極と接続する遮断機能のある3極用ブレーカ5と特に遮断機能を必要としないN相モジュール6とを一組として4極用ブレーカの同様の機能を持つこととなるから、図12に示すように、これから分岐した他の三相4線式のプラグイン分電盤(A)との回路を遮断して保守・点検を行うことができるものである。また、安価に量産できる3極用ブレーカ5とN相モジュール6を採用することにより製造コストを安くできるプラグイン分電盤を提供することができる。また、3極用ブレーカ5の各プラグ端子金具51とN相モジュール6のプラグ端子金具61をそれぞれの底面に設けたものとしているので、3極用ブレーカ5又はN相モジュール6を内部レール3、3及び3aに取り付ける際にプラグ端子金具51又はプラグ端子金具61が同時に母線バー2と接続するので接続作業が容易なものである。
また、N相モジュール6をN極の母線バー2と断路する手段として、図11に示すようにN相モジュール6にハンドル7により操作される断路装置を設けてもよい、さらに、断路装置はこのN相モジュール6と隣接する対となる3極用ブレーカ5のハンドル操作によりリンク機構と連動して開閉できるものとしてもよい。また、プラグ端子金具61と負荷側端子6bとの間に断路装置を設けていない図2−図10に示すN相モジュールにあっては、N相モジュール6のプラグ端子金具61をN極の母線バー2との接続を解除して母線バーからの断路を行うものである。この場合に図7−図10に示すようにN相モジュール6を内部レール3から完全に離脱することなく母線バー2との接続を解除した状態を保持させるものとして、内部レール3、3aの前端と係合する弾性片62、62をN相モジュール6の長手方向の両端に設けている。これにより、N相モジュール6の回路を断路ができ保守・点検時に安全に作業できるものである。
なお、図17に示すようにN極の母線バー2が3極用ブレーカ5及びN相モジュール6の負荷側端子5a、6aが臨む位置に配置してもよい、この場合にはN相モジュール6は負荷側端子6aの下方底面にプラグイン端子金具61を設けたものとなる。
さらに、図18、図19に示すようにN極母線バー2を電圧極の母線バー2の間例えばR極とS極の間に配置してもよい。この場合には電圧極とN極の間は絶縁を確保するため、絶縁壁を設ける等の絶縁処理を行うものとする。また、N極母線バー2を3本の電圧極の各間に2本配設したものとすると、負荷側端子を分電盤の右側と左側に選択して配置することができるものである。これにより分電盤の幅方向を小さく形成することができるという利点がある。
図20に示すプラグイン分電盤は、本発明の第2の実施形態を示すものであり、第1の実施形態と同様の部分は同じ符号を付して説明を省略する。
この実施形態では、遮断機能を有した3極用ブレーカ80と、遮断機能を有しないN相モジュール90とが一組で4極の主幹ブレーカとしての機能しており、分岐配線が接続される3極用ブレーカ5及びN相モジュール6と同列の母線バー2の最上部に配置されている。
この実施形態では、遮断機能を有した3極用ブレーカ80と、遮断機能を有しないN相モジュール90とが一組で4極の主幹ブレーカとしての機能しており、分岐配線が接続される3極用ブレーカ5及びN相モジュール6と同列の母線バー2の最上部に配置されている。
そして、最上部の3極用ブレーカ80の負荷側端子80aがプラグインアダプタ50を介して分電盤の母線バー2に接続されると共に、電源側端子80bに分電盤外部からの引込配線が接続されている。すなわち、3極用ブレーカ80は分岐配線を行う3極用ブレーカ5とは逆向きにプラグインアダプタ50に取り付けられたものである。また、N相モジュール90は分岐配線が接続されるN相モジュール6と全く同一のものであるが、その端子部90bは分電盤外部からの引込配線と接続されている。
このようなプラグイン分電盤にあっては、主幹ブレーカとして4極用ブレーカを設けずとも、遮断機能を有した3極用ブレーカ80と遮断機能を有しないN相モジュール90との組み合せにより4極の主幹ブレーカとして機能するものであり、さらに、プラグイン分電盤の製造コストを安価にできる利点を有する。
なお、上記のいずれの実施形態においても、他の分電盤に三相4線式の配線を行うだけでなく、従来と同様に3極用ブレーカにより三相3線式の電源を負荷供給できると共に、2極用ブレーカとN相モジュールを一組として単相3線式の電源を負荷供給することができるプラグイン分電盤として使用できることは勿論である。
2 母線バー
3 内部レール
3a 内部レール
5 3極用ブレーカ
51 プラグ端子金具
6 N相モジュール
61 プラグ端子金具
7 ハンドル
3 内部レール
3a 内部レール
5 3極用ブレーカ
51 プラグ端子金具
6 N相モジュール
61 プラグ端子金具
7 ハンドル
Claims (4)
- 電圧極の3本の母線バーに幅方向より接続するプラグ端子金具を備えた3極用ブレーカに隣接させてN極の母線バーに接続するプラグ端子金具を備えたN相モジュールを配置して、電圧極の3本の母線バーとN極の母線バーとよりなる三相4線式の配線を行うことを特徴とするプラグイン分電盤。
- 3極用ブレーカの各プラグ端子金具とN相モジュールのプラグ端子金具をそれぞれの底面に設け、N極の母線バーを電圧極の3本の母線バーの外側に配置してこれにN相モジュールのプラグ端子金具を対応させた請求項1に記載のプラグイン分電盤。
- N相モジュールにハンドルにより操作される断路装置を設けた請求項1又は2に記載のプラグイン分電盤。
- プラグイン分電盤の内部レールに固定されるN相モジュールに、該N相モジュールのプラグ端子金具をN極の母線バーからの接続を解除した状態で保持させる弾性片を設けた請求項1又は2に記載のプラグイン分電盤。
Priority Applications (1)
| Application Number | Priority Date | Filing Date | Title |
|---|---|---|---|
| JP2006115480A JP2007288963A (ja) | 2006-04-19 | 2006-04-19 | プラグイン分電盤 |
Applications Claiming Priority (1)
| Application Number | Priority Date | Filing Date | Title |
|---|---|---|---|
| JP2006115480A JP2007288963A (ja) | 2006-04-19 | 2006-04-19 | プラグイン分電盤 |
Publications (1)
| Publication Number | Publication Date |
|---|---|
| JP2007288963A true JP2007288963A (ja) | 2007-11-01 |
Family
ID=38760225
Family Applications (1)
| Application Number | Title | Priority Date | Filing Date |
|---|---|---|---|
| JP2006115480A Withdrawn JP2007288963A (ja) | 2006-04-19 | 2006-04-19 | プラグイン分電盤 |
Country Status (1)
| Country | Link |
|---|---|
| JP (1) | JP2007288963A (ja) |
Cited By (4)
| Publication number | Priority date | Publication date | Assignee | Title |
|---|---|---|---|---|
| JP2007300707A (ja) * | 2006-04-28 | 2007-11-15 | Nitto Electric Works Ltd | 自立型分電盤 |
| JP2015208070A (ja) * | 2014-04-18 | 2015-11-19 | 日東工業株式会社 | 分電盤 |
| JP2017038465A (ja) * | 2015-08-07 | 2017-02-16 | パナソニックIpマネジメント株式会社 | 分電盤のキャビネット、分電盤、分電盤の施工方法 |
| CN120638081A (zh) * | 2025-07-08 | 2025-09-12 | 安徽华正电气有限公司 | 一种防护型户外有源滤波柜 |
-
2006
- 2006-04-19 JP JP2006115480A patent/JP2007288963A/ja not_active Withdrawn
Cited By (4)
| Publication number | Priority date | Publication date | Assignee | Title |
|---|---|---|---|---|
| JP2007300707A (ja) * | 2006-04-28 | 2007-11-15 | Nitto Electric Works Ltd | 自立型分電盤 |
| JP2015208070A (ja) * | 2014-04-18 | 2015-11-19 | 日東工業株式会社 | 分電盤 |
| JP2017038465A (ja) * | 2015-08-07 | 2017-02-16 | パナソニックIpマネジメント株式会社 | 分電盤のキャビネット、分電盤、分電盤の施工方法 |
| CN120638081A (zh) * | 2025-07-08 | 2025-09-12 | 安徽华正电气有限公司 | 一种防护型户外有源滤波柜 |
Similar Documents
| Publication | Publication Date | Title |
|---|---|---|
| KR100964068B1 (ko) | 전자기 보호 및 제어 어셈블리 | |
| US7173809B2 (en) | Multiphase busbar system | |
| CN101681744A (zh) | 室内布线开关设备 | |
| EP2400610B1 (en) | Supporting bars and an electrical distribution module comprising said bars. | |
| KR20060087344A (ko) | 배선용차단기의 모듈식 단자구조 | |
| JP5339527B2 (ja) | ブレーカユニット | |
| JP7229803B2 (ja) | 切替開閉器 | |
| CN109564841B (zh) | 用于熔断器盒基体的电压分接头系统、熔断器盒基体及结合该系统的测量模块 | |
| JP2007288963A (ja) | プラグイン分電盤 | |
| JP2000188805A (ja) | 分電盤の接続導体装置 | |
| JP3113266U (ja) | ユニット式分電盤 | |
| JP2004031354A (ja) | 電気機器の保護・制御システム及び共用電力端子台 | |
| JP4501544B2 (ja) | 分電盤 | |
| DK2889893T3 (en) | Modular electrical appliance | |
| JP2008061455A (ja) | 4極用ブレーカのプラグイン取付アダプタ | |
| JP2017224444A (ja) | 切替開閉器 | |
| JP4203552B2 (ja) | 分電盤 | |
| NO319544B1 (no) | Modulaert elektrisk apparat som plugges inn i en isolert distribusjonsblokk | |
| JP6433336B2 (ja) | 分電盤 | |
| US11538649B2 (en) | Circuit breaker housing | |
| JP2007135298A (ja) | 配電盤 | |
| KR100931842B1 (ko) | 배전반 | |
| CA2997880A1 (en) | Modular ground fault protective relay and protection module therefor | |
| JP2020182350A (ja) | 分電盤 | |
| JP6409181B2 (ja) | 分電盤 |
Legal Events
| Date | Code | Title | Description |
|---|---|---|---|
| A300 | Withdrawal of application because of no request for examination |
Free format text: JAPANESE INTERMEDIATE CODE: A300 Effective date: 20090707 |