JP2007286013A - 外乱補償機能付き圧力センサ - Google Patents
外乱補償機能付き圧力センサ Download PDFInfo
- Publication number
- JP2007286013A JP2007286013A JP2006116860A JP2006116860A JP2007286013A JP 2007286013 A JP2007286013 A JP 2007286013A JP 2006116860 A JP2006116860 A JP 2006116860A JP 2006116860 A JP2006116860 A JP 2006116860A JP 2007286013 A JP2007286013 A JP 2007286013A
- Authority
- JP
- Japan
- Prior art keywords
- piezoelectric element
- pressure sensor
- compensation function
- pressure
- disturbance compensation
- Prior art date
- Legal status (The legal status is an assumption and is not a legal conclusion. Google has not performed a legal analysis and makes no representation as to the accuracy of the status listed.)
- Pending
Links
Images
Landscapes
- Measuring Fluid Pressure (AREA)
Abstract
【課題】温度補償子と圧力検出子との温度差を極力一致させ、且つ圧力センサの振動、つまり圧電素子が加速度運動することによる電荷の発生を補償するための圧電素子を備える外乱補償機能付き圧力センサを提供することを目的とする。
【解決手段】第一の圧電素子の一側面が圧力センサの筺体4の周囲の流体に接触するように配置され、前記第一の圧電素子の下に該第一の圧電素子が撓んだ際、常に前記筺体4に接触しない程度の空間5を設け、第二の圧電素子の一部が前記流体に接触するように配置され、前記第二の圧電素子の下に前記第一の圧電素子の真下に設けられた空間5と同じ大きさの空間6を設け、第三の圧電素子が前記筺体の内部に配置され、前記第一の圧電素子と前記第二の圧電素子とは分極方向が逆になるように電気的に並列接続され、前記第一の圧電素子と前記第三の圧電素子とは分極方向が逆になるように電気的に並列接続される外乱補償機能付き圧力センサ。
【選択図】図1
【解決手段】第一の圧電素子の一側面が圧力センサの筺体4の周囲の流体に接触するように配置され、前記第一の圧電素子の下に該第一の圧電素子が撓んだ際、常に前記筺体4に接触しない程度の空間5を設け、第二の圧電素子の一部が前記流体に接触するように配置され、前記第二の圧電素子の下に前記第一の圧電素子の真下に設けられた空間5と同じ大きさの空間6を設け、第三の圧電素子が前記筺体の内部に配置され、前記第一の圧電素子と前記第二の圧電素子とは分極方向が逆になるように電気的に並列接続され、前記第一の圧電素子と前記第三の圧電素子とは分極方向が逆になるように電気的に並列接続される外乱補償機能付き圧力センサ。
【選択図】図1
Description
本発明は外乱を補償する機能を有する圧電型の圧力センサに関する。
従来、ある面に加わる圧力を測定する圧力センサとして、圧電体を構成要素とする圧電素子を用いる圧電型の圧力センサが知られている。圧電体は外から力が加わり、撓むと、その加えられた力の大きさに応じた量の電荷を発生させる。従って、その発生電荷量を測定することで圧電体、すなわち圧電素子に加わる圧力を測定することができる。
一方、圧電体は圧電体自身の温度上昇によっても電荷を発生させる性質、いわゆる焦電性を有している。
従って、内燃機関内の燃焼ガスの圧力の測定に代表されるように、非常に高温な環境下で圧力測定を行う場合、焦電性を有する圧電体自体の温度上昇によって、その表面にある一定量の電荷を誘起する。この、いわゆる焦電効果により発生した電荷が外乱として作用し、測定装置は実際に圧力センサに加わる圧力とは異なる値を測定する結果となる。
従って、内燃機関内の燃焼ガスの圧力の測定に代表されるように、非常に高温な環境下で圧力測定を行う場合、焦電性を有する圧電体自体の温度上昇によって、その表面にある一定量の電荷を誘起する。この、いわゆる焦電効果により発生した電荷が外乱として作用し、測定装置は実際に圧力センサに加わる圧力とは異なる値を測定する結果となる。
この焦電効果の問題を解決する圧力センサとして、測定対象から直接、圧力を受けて電荷を発生させるための圧電素子(以下、「圧力検出子」という。)とは別に、圧力検出子が焦電効果によって発生させる電荷を打ち消すための圧電素子(以下、「温度補償子」という。)を備える圧力センサが開発されている。
この圧力センサは温度補償子をその内部に配置させることで、温度補償子に圧力が加わらないようにし、温度補償子に焦電効果によってのみ、電荷を発生させる構造となっている。
さらに、温度補償子は圧力検出子と分極方向が逆になるように電気的に並列に接続される。高温環境下に配設された圧力センサの温度が上昇すると、圧力検出子と温度補償子と、には焦電効果により電荷が発生する。
圧力検出子と温度補償子とは、両者の分極方向が逆になるように電気的に並列に接続されているので、焦電効果によって発生した電荷は打ち消される。
従って、圧力センサに接続された測定装置は、圧力検出子が測定対象から圧力を受けたことで発生する電荷だけを検出し、正確な圧力を測定することができるのである(特許文献1参照)。
特開昭62−140038号公報
従って、圧力センサに接続された測定装置は、圧力検出子が測定対象から圧力を受けたことで発生する電荷だけを検出し、正確な圧力を測定することができるのである(特許文献1参照)。
しかし、特許文献1に記載されている圧力センサは、温度補償子に圧力を加えない構造にするために圧力伝達防止部材を用いるが、その圧力伝達防止部材が温度補償子への熱の伝達を妨げる。
その結果、圧力検出子と温度補償子との間で温度差が生じ、焦電効果により発生する電荷の大きさが両圧電素子で異なることとなる。
両圧電素子に発生する電荷量が異なるので、焦電効果による外乱を十分に除去できず、正確な圧力測定ができない欠点があった。
その結果、圧力検出子と温度補償子との間で温度差が生じ、焦電効果により発生する電荷の大きさが両圧電素子で異なることとなる。
両圧電素子に発生する電荷量が異なるので、焦電効果による外乱を十分に除去できず、正確な圧力測定ができない欠点があった。
また、圧電素子を用いた圧力センサを測定対象となる物体の表面に直接配設した場合、該物体の振動と共に圧力センサも振動する。
圧力センサが振動すると、圧力検出子に慣性力が加わり、圧力検出子が撓む。その結果、圧力検出子には電荷が発生し、この電荷が計測時に外乱として作用する。
しかし、特許文献1に記載されている圧力センサでは、この電荷の発生を防止する対策は取られていない。
圧力センサが振動すると、圧力検出子に慣性力が加わり、圧力検出子が撓む。その結果、圧力検出子には電荷が発生し、この電荷が計測時に外乱として作用する。
しかし、特許文献1に記載されている圧力センサでは、この電荷の発生を防止する対策は取られていない。
本発明は以上の課題を解決すべく開発されたものである。
すなわち、本発明は温度補償子と圧力検出子との温度差を極力一致させ、且つ圧力センサの振動、つまり圧電素子が加速度運動することによる電荷の発生を補償するための圧電素子(以下、「加速度補償子」という。)を備える外乱補償機能付き圧力センサを提供することを目的とする。
すなわち、本発明は温度補償子と圧力検出子との温度差を極力一致させ、且つ圧力センサの振動、つまり圧電素子が加速度運動することによる電荷の発生を補償するための圧電素子(以下、「加速度補償子」という。)を備える外乱補償機能付き圧力センサを提供することを目的とする。
本発明者は、以上のような課題背景をもとに鋭意研究を重ねた結果、撓み抑制部材が接合された温度補償子の一部分を圧力センサの筺体の外部に露出させ、且つ別の圧電素子である加速度補償子を新たに筺体の内部に配設させることで上記の課題を解決できることを見出し、その知見に基づいて本発明を完成させたものである。
すなわち本発明は、(1)圧電素子を用いた圧力センサであって、第一の圧電素子の一側面が圧力センサの筺体の周囲に存在する流体に接触するように配置され、前記第一の圧電素子の真下に、該第一の圧電素子が撓んだ際、常に前記筺体に接触しない程度の大きさの空間を設け、第二の圧電素子の一部が前記流体に接触するように配置され、前記第二の圧電素子の真下に前記第一の圧電素子の真下に設けられた空間と同じ大きさの空間を設け、第三の圧電素子が、前記筺体の内部に配置され、前記第一の圧電素子と前記第二の圧電素子とは分極方向が逆になるように電気的に並列接続され、前記第一の圧電素子と前記第三の圧電素子とは分極方向が逆になるように電気的に並列接続される外乱補償機能付き圧力センサに存する。
また本発明は、(2)前記第二の圧電素子が圧力を受けて撓むことを防止するための撓み防止部材が接合されている上記(1)記載の外乱補償機能付き圧力センサに存する。
また本発明は、(3)撓み抑制部材の形状が平板状である上記(2)記載の外乱補償機能付き圧力センサに存する。
また本発明は、(4)撓み抑制部材が格子状に並べられた梁材である上記(2)記載の外乱補償機能付き圧力センサに存する。
また本発明は、(5)撓み抑制部材が平行に並べられた複数本の梁材である上記(2)記載の外乱補償機能付き圧力センサに存する。
また本発明は、(6)第一の圧電素子及び第二の圧電素子の下方に冷却用の空間を設ける上記(1)記載の外乱補償機能付き圧力センサに存する。
また本発明は、(7)前記第一の圧電素子、前記第二の圧電素子及び前記第三の圧電素子に用いられる圧電体が窒化アルミニウム、ガリウム燐酸塩、水晶、ランガサイト、又はニオブ酸リチウムである上記(1)記載の外乱補償機能付き圧力センサに存する。
なお、本発明の目的に添ったものであれば上記(1)から(7)を適宜組み合わせた構成も採用可能である。
なお、本発明の目的に添ったものであれば上記(1)から(7)を適宜組み合わせた構成も採用可能である。
本発明の外乱補償機能付き圧力センサは、第一の圧電素子の一側面が圧力センサの筺体の周囲に存在する流体と接触するように配置され、前期第一の圧電素子(圧力検出子)の真下に、該圧力検出子が撓んだ際、常に前記筺体に接触しない程度の大きさの空間を設け、第二の圧電素子(温度補償子)が、前記流体に接触するように配置される。さらに、前記温度補償子の真下に前記圧力検出子の真下に設けられた空間と同じ大きさの空間を設け、第三の圧電素子(加速度補償子)が、前記筺体の内部に配置され、前記圧力検出子と前記温度補償子とは分極方向が逆になるように電気的に並列接続され、前記圧力検出子と前記加速度補償子とは分極方向が逆になるように電気的に並列接続されるので、圧力検出子と温度補償子との温度差を極力一致させることができる。その結果、焦電効果により両圧電素子に発生する電荷量を一致させることができ、圧力の測定の際に外乱となる焦電効果により圧力検出子に発生した電荷を確実に打ち消すことが可能となる
また、本発明の外乱補償機能付き圧力センサは加速度補償子を備えるので、上記外乱補償機能付き圧力センサが加速度運動をするに伴い、圧力検出子に発生する、圧力の測定の際に外乱となる電荷を打ち消すことができる。すなわち、外乱補償機能付き圧力センサが加速度運動を行ったとしても、正確な圧力を測定することが可能となる。
〔第一の実施形態〕
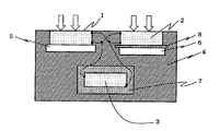
以下、本発明の一実施の形態について図面を用いて説明する。図1は本実施形態に係る外乱補償機能付き圧力センサを模式的に示す断面図である。
図1に示すように、本実施形態に係る外乱補償機能付き圧力センサAにおいて、
第一の圧電素子である圧力検出子1は、上記外乱補償機能付き圧力センサAを構成する筺体4の周囲に存在する流体に接触するように、筺体4から露出するように該筺体4の内部に配設される。
そのため、圧力検出子1の流体との接触面が筺体4から露出する際に、必ずしも圧力検出子1の上記接触面と筺体4の表面とが面一になる必要は無く、図2に示すように二つの面の間に段差があっても構わない。
以下、本発明の一実施の形態について図面を用いて説明する。図1は本実施形態に係る外乱補償機能付き圧力センサを模式的に示す断面図である。
図1に示すように、本実施形態に係る外乱補償機能付き圧力センサAにおいて、
第一の圧電素子である圧力検出子1は、上記外乱補償機能付き圧力センサAを構成する筺体4の周囲に存在する流体に接触するように、筺体4から露出するように該筺体4の内部に配設される。
そのため、圧力検出子1の流体との接触面が筺体4から露出する際に、必ずしも圧力検出子1の上記接触面と筺体4の表面とが面一になる必要は無く、図2に示すように二つの面の間に段差があっても構わない。
また、圧力検出子1の真下には空間5が設けられる。圧力検出子1の真下に空間5を設けることで、圧力検出子1に圧力が加わって撓んだ際に、その撓んだ部分を空間5に逃がすことができる。
その結果、圧力検出子1が撓む際に、圧力検出子1を筺体4に接触させることなく、撓ませることができ、圧力検出子1に加わった圧力と発生電荷量との一意性を確実に確保することができる。
上記の観点から空間5の大きさは、圧力検出子の材質や形状、また測定する圧力の大きさの範囲等を考慮して、圧力検出子1を常に筺体4に接触させない程度の大きさに設計する。
その結果、圧力検出子1が撓む際に、圧力検出子1を筺体4に接触させることなく、撓ませることができ、圧力検出子1に加わった圧力と発生電荷量との一意性を確実に確保することができる。
上記の観点から空間5の大きさは、圧力検出子の材質や形状、また測定する圧力の大きさの範囲等を考慮して、圧力検出子1を常に筺体4に接触させない程度の大きさに設計する。
上記のように配置された圧力検出子1は、図1に示す矢印の方向に圧力を受けることで撓み、その圧力の大きさに応じた大きさの電荷をその表面に発生させる。
圧力検出子1は図示しない測定装置と接続されており、測定装置が圧力検出子1に発生した電荷の大きさを測定することで、圧力検出子1に加わる圧力の大きさを測定する。
圧力検出子1は図示しない測定装置と接続されており、測定装置が圧力検出子1に発生した電荷の大きさを測定することで、圧力検出子1に加わる圧力の大きさを測定する。
第二の圧電素子である温度補償子2は、その表面の一部を筺体4から露出させ、該筺体4周囲に存在する流体に接触するように配置される。また、温度補償子2と圧力検出子1とは分極方向が逆になるように電気的に並列に接続される。
その結果、温度補償子2は、焦電効果によって圧力検出子1に発生する電荷を打ち消す機能を有する。
また、温度補償子2の真下にも空間6を設ける。空間6の大きさは空間5と同一であり、空間6を温度補償子2の真下に設けることで、温度補償子2の温度分布状態を圧力検出子1の温度分布状態に極力一致させることができる。
その結果、温度補償子2は、焦電効果によって圧力検出子1に発生する電荷を打ち消す機能を有する。
また、温度補償子2の真下にも空間6を設ける。空間6の大きさは空間5と同一であり、空間6を温度補償子2の真下に設けることで、温度補償子2の温度分布状態を圧力検出子1の温度分布状態に極力一致させることができる。
第三の圧電素子である加速度補償子3は、外から圧力が加わることで、撓んで電荷が発生しないように筺体4内に配設される。
さらに、加速度補償子3と圧力検出子1とは分極方向が逆になるように、電気的に並列に接続される。その結果、加速度補償子3は圧力検出子1が加速度運動することで発生する電荷を打ち消す効果を有する。
なお、加速度補償子3を筺体4内に配設する際に加速度補償子3の周囲をグラスウール等の断熱材7で囲むことで、加速度補償子3が圧力検出子1に発生した電荷を打ち消す能力を向上させることができる。
さらに、加速度補償子3と圧力検出子1とは分極方向が逆になるように、電気的に並列に接続される。その結果、加速度補償子3は圧力検出子1が加速度運動することで発生する電荷を打ち消す効果を有する。
なお、加速度補償子3を筺体4内に配設する際に加速度補償子3の周囲をグラスウール等の断熱材7で囲むことで、加速度補償子3が圧力検出子1に発生した電荷を打ち消す能力を向上させることができる。
温度補償子2と圧力検出子1との接続、加速度補償子3と圧力検出子1との接続には、リード線等の導線を用いた一般的な方法での接続を行えば足りる。
筺体4の材質として採用されるものは、筺体4外部の熱を内部に配設された加速度補償子3へ伝えず、加速度補償子3の温度を終始一定に保つことができる程度の断熱性を有するものであれば、その種類は限定されるものではない。例えば、アルミナ、セラミック等が採用される。
なお、圧力検出子1の焦電効果によって発生する電荷と、圧力検出子1が加速度運動することによって発生する電荷とを確実に打ち消すために、温度補償子2及び加速度補償子3の材質は圧力検出子1と同一の種類且つ同一の形状にすることが好ましい。
ところで、本実施形態に係る外乱補償機能付き圧力センサおいて、焦電効果によって圧力検出子1に発生する電荷量と、焦電効果によって温度補償子2に発生する電荷量と、を極力一致させるために、図1に示すように温度補償子2は筺体4から外部に露出するように配置される。
温度補償子2が筺体4の外部から露出するように配設されることで、温度補償子2は圧力検出子1と同様の条件で、本実施形態に係る外乱補償機能付き圧力センサAの周囲に存在する熱源に直接晒される。結果、温度補償子2と圧力検出子1との温度差は極力小さくなる。
すなわち、焦電効果により圧力検出子1及び温度補償子2に発生する電荷量はほぼ一致し、焦電効果により圧力検出子1に発生した電荷が確実に打ち消される。
そして、本実施形態に係る外乱補償機能付き圧力センサAにおいて、図1に示すように筺体4の外部に露出された温度補償子2に矢印の方向から圧力が加わり、温度補償子2が撓むことを防止するために、温度補償子2の外部に露出されている部分と対向する反対側の部分に、撓み防止部材8が接合されている。
撓み防止部材8を温度補償子2に接合することで、撓み防止部材8を含めた温度補償子2全体としての剛性が増大し、温度補償子2に圧力が加わったとしてもほとんど撓まなくなる。
すなわち、温度補償子2を筺体4の外部に露出させても、温度補償子2に電荷は発生しない。
また、本実施形態に係る外乱補償機能付き圧力センサAが加速度運動を行い、温度補償子2に慣性力が加わったとしても、該慣性力により温度補償子2は撓まず、撓みによる電荷を発生させない。
すなわち、温度補償子2を筺体4の外部に露出させても、温度補償子2に電荷は発生しない。
また、本実施形態に係る外乱補償機能付き圧力センサAが加速度運動を行い、温度補償子2に慣性力が加わったとしても、該慣性力により温度補償子2は撓まず、撓みによる電荷を発生させない。
ここで、撓み防止部材8は、温度補償子2が撓むことを防止する効果を発揮するものであれば、その材質、形状について特に限定されるものではない。
撓み防止部材として採用可能な材質の例として、金属類、プラスチック類、合成樹脂類がある。
撓み防止部材として採用可能な形状の例として、図3の(a)に示すように平板状、或いは図3の(b)に示すように格子状に並べられた梁材がある。また、図3の(c)に示すように平行に並べられた複数本の梁材を温度補償子2に接合することでも、温度補償子2が撓むことを防止することができる。
撓み防止部材として採用可能な材質の例として、金属類、プラスチック類、合成樹脂類がある。
撓み防止部材として採用可能な形状の例として、図3の(a)に示すように平板状、或いは図3の(b)に示すように格子状に並べられた梁材がある。また、図3の(c)に示すように平行に並べられた複数本の梁材を温度補償子2に接合することでも、温度補償子2が撓むことを防止することができる。
図4は温度補償子2及び加速度補償子3が圧力検出子1に発生した外乱の原因となる電荷を打ち消す過程を模式的に示す説明図である。
本実施形態に係る外乱補償機能付き圧力センサが、加速度運動する物体上に配置されて、圧力の測定を行うと、図4の(a)に示すように圧力検出子1には、圧力が加わることで発生する電荷Qp1と、焦電効果によって発生する電荷Qt1と、圧力検出子1が加速度運動し、圧力検出子1に慣性力が加わることで発生する電荷Qa1と、が発生する。
本実施形態に係る外乱補償機能付き圧力センサが、加速度運動する物体上に配置されて、圧力の測定を行うと、図4の(a)に示すように圧力検出子1には、圧力が加わることで発生する電荷Qp1と、焦電効果によって発生する電荷Qt1と、圧力検出子1が加速度運動し、圧力検出子1に慣性力が加わることで発生する電荷Qa1と、が発生する。
温度補償子2には撓み防止部材8が接合されており、圧力及び慣性力が加わって撓むことが防止されるので、焦電効果によって発生する電荷Qt2のみが発生する。
加速度補償子3は筺体内に配設されているため圧力が加わることはなく、また、加速度補償子3の周囲は断熱材等で囲まれているため、焦電効果により電荷が発生することもない。従って、加速度補償子3には加速度補償子3が加速度運動することによって発生する電荷Qa3のみが発生する。
このとき、温度補償子2及び加速度補償子3は圧力検出子1と同一の材料、且つ同一の形状であるため、Qt1=Qt2、Qa1=Qa3となる。
そして、圧力検出子1と温度補償子2とは、それぞれの分極方向が逆になるように電気的に並列に接続されているので、導線内を電荷が移動し、図4の(b)に示すようにQt1とQt2とが打ち消しあう。
また、圧力検出子1と加速度補償子3とは、それぞれの分極方向が逆になるように電気的に並列に接続されているので、導線内を電荷が移動し、図4の(b)に示すようにQa1とQa3とが打ち消しあう。
また、圧力検出子1と加速度補償子3とは、それぞれの分極方向が逆になるように電気的に並列に接続されているので、導線内を電荷が移動し、図4の(b)に示すようにQa1とQa3とが打ち消しあう。
その結果、圧力検出子1に接続された図示しない測定装置は、圧力検出子1に圧力が加わることで発生した電荷Qp1のみを検出するので、正確な圧力の検出を行うことができる。
圧力検出子1、温度補償子2及び加速度補償子3に用いられる圧電体は、外乱補償機能付き圧力センサAが使用される周囲の環境や、設置場所等を考慮して適宜自由に選択することができる。例えば、外乱補償機能付き圧力センサが高温の環境下で使用される場合には、キュリー点が高い、例えば窒化アルミニウムを用いることが好ましい。
また、電極層も同様にその使用環境等によって、用いる材質を適宜自由に選択することができる。例えば外乱補償機能付き圧力センサが高温の環境下で使用される場合には、白金、インコネル、シリコンカーバイドを用いることが好ましい。
以上、本発明を説明してきたが、本発明は実施の形態に限定されることなく種々の変形例が可能である。
例えば、本実施形態に係る外乱補償機能付き圧力センサにおいて、温度補償子2は図1に示すように筺体4の上面からその一部を露出させたが、筺体の側面から露出させることも当然可能である。
例えば、本実施形態に係る外乱補償機能付き圧力センサにおいて、温度補償子2は図1に示すように筺体4の上面からその一部を露出させたが、筺体の側面から露出させることも当然可能である。
A外乱補償機能付き圧力センサ
1圧力検出子
2温度補償子
3加速度補償子
4筺体
5空間
6空間
7断熱材
8撓み防止部材
1圧力検出子
2温度補償子
3加速度補償子
4筺体
5空間
6空間
7断熱材
8撓み防止部材
Claims (7)
- 圧電素子を用いた圧力センサであって、
第一の圧電素子の一側面が圧力センサの筺体の周囲に存在する流体に接触するように配置され、
前記第一の圧電素子の真下に、該第一の圧電素子が撓んだ際、常に前記筺体に接触しない程度の大きさの空間を設け、
第二の圧電素子の一部が前記流体に接触するように配置され、
前記第二の圧電素子の真下に前記第一の圧電素子の真下に設けられた空間と同じ大きさの空間を設け、
第三の圧電素子が、前記筺体の内部に配置され、
前記第一の圧電素子と前記第二の圧電素子とは分極方向が逆になるように電気的に並列接続され、
前記第一の圧電素子と前記第三の圧電素子とは分極方向が逆になるように電気的に並列接続されることを特徴とする外乱補償機能付き圧力センサ。 - 前記第二の圧電素子が圧力を受けて撓むことを防止するための撓み防止部材が接合されていることを特徴とする請求項1記載の外乱補償機能付き圧力センサ。
- 撓み抑制部材の形状が平板状であることを特徴とする請求項2記載の外乱補償機能付き圧力センサ。
- 撓み抑制部材が格子状に並べられた梁材であることを特徴とする請求項2記載の外乱補償機能付き圧力センサ。
- 撓み抑制部材が平行に並べられた複数本の梁材であることを特徴とする請求項2記載の外乱補償機能付き圧力センサ。
- 第一の圧電素子及び第二の圧電素子の下方に冷却用の空間を設けることを特徴とする請求項1記載の外乱補償機能付き圧力センサ。
- 前記第一の圧電素子、前記第二の圧電素子及び前記第三の圧電素子に用いられる圧電体が窒化アルミニウム、ガリウム燐酸塩、水晶、ランガサイト、又はニオブ酸リチウムであることを特徴とする請求項1記載の外乱補償機能付き圧力センサ。
Priority Applications (1)
| Application Number | Priority Date | Filing Date | Title |
|---|---|---|---|
| JP2006116860A JP2007286013A (ja) | 2006-04-20 | 2006-04-20 | 外乱補償機能付き圧力センサ |
Applications Claiming Priority (1)
| Application Number | Priority Date | Filing Date | Title |
|---|---|---|---|
| JP2006116860A JP2007286013A (ja) | 2006-04-20 | 2006-04-20 | 外乱補償機能付き圧力センサ |
Publications (1)
| Publication Number | Publication Date |
|---|---|
| JP2007286013A true JP2007286013A (ja) | 2007-11-01 |
Family
ID=38757910
Family Applications (1)
| Application Number | Title | Priority Date | Filing Date |
|---|---|---|---|
| JP2006116860A Pending JP2007286013A (ja) | 2006-04-20 | 2006-04-20 | 外乱補償機能付き圧力センサ |
Country Status (1)
| Country | Link |
|---|---|
| JP (1) | JP2007286013A (ja) |
Cited By (3)
| Publication number | Priority date | Publication date | Assignee | Title |
|---|---|---|---|---|
| RU2498251C1 (ru) * | 2012-03-05 | 2013-11-10 | Российская Федерация, от имени которой выступает Государственная корпорация по атомной энергии "Росатом" | Приемник низкочастотных колебаний давления в водной среде |
| CN110068418A (zh) * | 2019-03-21 | 2019-07-30 | 慧石(上海)测控科技有限公司 | 一种可在振动环境中工作的压力及加速度多功能传感器 |
| CN114323364A (zh) * | 2021-11-11 | 2022-04-12 | 浙江中控技术股份有限公司 | 一种带测振功能的高精度压力传感器及修正方法 |
-
2006
- 2006-04-20 JP JP2006116860A patent/JP2007286013A/ja active Pending
Cited By (4)
| Publication number | Priority date | Publication date | Assignee | Title |
|---|---|---|---|---|
| RU2498251C1 (ru) * | 2012-03-05 | 2013-11-10 | Российская Федерация, от имени которой выступает Государственная корпорация по атомной энергии "Росатом" | Приемник низкочастотных колебаний давления в водной среде |
| CN110068418A (zh) * | 2019-03-21 | 2019-07-30 | 慧石(上海)测控科技有限公司 | 一种可在振动环境中工作的压力及加速度多功能传感器 |
| CN114323364A (zh) * | 2021-11-11 | 2022-04-12 | 浙江中控技术股份有限公司 | 一种带测振功能的高精度压力传感器及修正方法 |
| CN114323364B (zh) * | 2021-11-11 | 2024-01-30 | 浙江中控技术股份有限公司 | 一种带测振功能的高精度压力传感器及修正方法 |
Similar Documents
| Publication | Publication Date | Title |
|---|---|---|
| US9927316B2 (en) | MEMS chip, measuring element and pressure sensor for measuring a pressure | |
| US8342031B2 (en) | Capacitive strain sensor | |
| JP5748257B2 (ja) | エンジン内部の圧力などを計測するための高温用圧力センサ・エレメント、その製造方法、及びエンジンの部品 | |
| CN111164401B (zh) | 微机械设备和用于制造微机械设备的方法 | |
| US6732589B2 (en) | Pressure sensor, a method for manufacturing a pressure sensor and a combustion engine having a pressure sensor | |
| US20120247216A1 (en) | Pressure sensor device | |
| CN103250057A (zh) | 微机电类型的谐振双轴加速度计结构 | |
| EP3835794B1 (en) | Resonator including one or more mechanical beams with added mass | |
| JP2012247192A (ja) | 感知基板およびそれを用いた加速度センサ | |
| JP2007286013A (ja) | 外乱補償機能付き圧力センサ | |
| CN114746733A (zh) | 压力测量传感器 | |
| JP4644282B2 (ja) | 組み込まれた燃焼室圧力センサを備えたシース形グロープラグ | |
| JP3368744B2 (ja) | 振動型加速度センサ | |
| JP2939923B2 (ja) | 加速度変換器 | |
| JP2008281351A (ja) | 電子装置 | |
| Jamshidi | Poly-crystalline silicon carbide passivated capacitive mems strain gauge for harsh environments | |
| WO2016088468A1 (ja) | 加速度センサおよび振動モニタリングシステム | |
| JP4913467B2 (ja) | 電位センサ | |
| Sohi | A multifunctional MEMS pressure and temperature sensor for harsh environment applications | |
| Azevedo | Silicon carbide micro-extensometers for harsh environments | |
| JP5299353B2 (ja) | 半導体装置 | |
| EP2866012A1 (en) | A sensor element comprising a constraining layer | |
| JP2008209102A (ja) | 燃焼圧力センサ付きグロープラグ | |
| US20050072247A1 (en) | Device for measuring a force; device for measuring a pressure; and pressure sensor | |
| JP5003161B2 (ja) | 加速度検知ユニット |