JP2007282999A - 刃物 - Google Patents

刃物 Download PDF

Info

Publication number
JP2007282999A
JP2007282999A JP2006115942A JP2006115942A JP2007282999A JP 2007282999 A JP2007282999 A JP 2007282999A JP 2006115942 A JP2006115942 A JP 2006115942A JP 2006115942 A JP2006115942 A JP 2006115942A JP 2007282999 A JP2007282999 A JP 2007282999A
Authority
JP
Japan
Prior art keywords
core
base
blade
insertion groove
handle
Prior art date
Legal status (The legal status is an assumption and is not a legal conclusion. Google has not performed a legal analysis and makes no representation as to the accuracy of the status listed.)
Granted
Application number
JP2006115942A
Other languages
English (en)
Other versions
JP4607046B2 (ja
Inventor
Takeshi Ono
武 大野
Current Assignee (The listed assignees may be inaccurate. Google has not performed a legal analysis and makes no representation or warranty as to the accuracy of the list.)
ONO KNIFE SEISAKUSHO KK
Original Assignee
ONO KNIFE SEISAKUSHO KK
Priority date (The priority date is an assumption and is not a legal conclusion. Google has not performed a legal analysis and makes no representation as to the accuracy of the date listed.)
Filing date
Publication date
Application filed by ONO KNIFE SEISAKUSHO KK filed Critical ONO KNIFE SEISAKUSHO KK
Priority to JP2006115942A priority Critical patent/JP4607046B2/ja
Publication of JP2007282999A publication Critical patent/JP2007282999A/ja
Application granted granted Critical
Publication of JP4607046B2 publication Critical patent/JP4607046B2/ja
Active legal-status Critical Current
Anticipated expiration legal-status Critical

Links

Images

Landscapes

  • Knives (AREA)

Abstract

【課題】口金部と刃部の連結を容易に行うことができるとともに、連結強度を高めることができる包丁を提供する。
【解決手段】柄部の本体13の先端部に口金部14を設け、該口金部14の先端部に挿入溝14dを形成し、該挿入溝14dに刃部12の基端部に一体形成された中子12aを挿入し、前記口金部14と中子12aを肉盛り溶接した溶接部21により連結する。この溶接部21を研削して仕上げ加工し、口金部14と刃部12を一体的に連結する。
【選択図】図7

Description

本発明は、包丁、ナイフ等の刃物に係り、詳しくは柄部の本体の先端部に設けた口金部と刃部の基端部に形成された中子の連結構造に関する。
一般に、包丁の柄部と刃部は、柄部の中心部に形成した扁平状の挿入孔に対し、刃部の基端部に一体形成された中子を挿入して、カシメピンにより柄部と中子を連結するようになっている。このため、前記挿入孔と中子との接触面の隙間に水や食品の残渣等が侵入するおそれがある。この問題を解消するため包丁の柄部の先端部に設けた金属製の口金部の先端面に対し、刃部の基端部に一体形成した中子の先端縁を突き合せて溶接する連結構造がとられている。この溶接により口金部と中子が一体的になり、外観を向上することができる。
ところが、上記従来の口金部と刃部の中子の連結構造は、口金部の幅狭の先端面に中子の幅狭の先端面を突き合せて開先溶接するので、口金部と中子の連結強度が低下するとともに、溶接作業が難しく、柄部の中心線上に位置するように刃部を連結するのも難しいという問題があった。
本発明の目的は、上記従来の問題点を解消して、口金部と刃部の連結を容易に行うことができるとともに、連結強度を高めることができる刃物を提供することにある。
上記問題点を解決するために、請求項1に記載の発明は、柄部の本体の先端部に口金部を設け、該口金部の先端部に挿入溝を形成し、該挿入溝に刃部の基端部に一体形成された中子を挿入し、前記口金部と中子を肉盛り溶接した溶接部により連結したことを要旨とする。
請求項2に記載の発明は、請求項1において、前記柄部の本体の後端部には尻金部が一体に形成されていることを要旨とする。
請求項3に記載の発明は、請求項1又は2において、前記挿入溝には中子の下端縁を位置規制する係止部が設けられていることを要旨とする。
請求項4に記載の発明は、請求項1〜3のいずれか一項において、前記柄部の本体、口金部及び尻金部は金属材料により一体に形成されていることを要旨とする。
請求項5に記載の発明は、請求項1〜4のいずれか一項において、柄部の本体の両側面には、側板が接合されていることを要旨とする。
本発明によれば、口金部と刃部の連結を容易に行うことができるとともに、連結強度を高めることができる。
以下、本発明を包丁に具体化した一実施形態を図1〜図9にしたがって説明する。
図1及び図2に示すように、この包丁は柄部11と、この柄部11の先端部に連結された刃部12とにより構成されている。前記柄部11は中心部に位置する扁平状のステンレススチール製の本体13と、該本体13の先端部に一体形成された口金部14と、本体13の後端部に一体形成された尻金部15とを備えている。又、前記柄部11は前記本体13の両側面に対し前記口金部14と尻金部15との間に位置するように接触され、かつカシメピン16によりカシメ付けられた左右一対の木製の側板17,17を備えている。
次に、上記の包丁の製造方法について説明する。
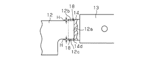
図3に示すように、前記本体13及び側板17には、前記カシメピン16を貫通する孔13a,17aが複数箇所に形成されている。前記柄部11の本体13、口金部14及び尻金部15は、粗加工された状態を示す。前記口金部14は四角ブロック状に形成され、その先端部の左右両側面には先端程幅狭となるテーパ面14a,14bが形成されている。前記口金部14の先端面14cの左右方向の中心部から口金部14の内部に向かって挿入溝14dが上下方向に貫通するように形成されている。前記刃部12の後端部に一体形成された中子12aの上下方向の幅Wは、前記挿入溝14dの上下方向の長さLよりも小さく(例えば1〜2mm)形成されている。
次に、前記口金部14に対する刃部12の連結方法について説明する。
図4及び図5に示すように、前記口金部14の挿入溝14dに刃部12の中子12aの先端部を挿入するとともに、中子12aの上下両端面12b,12cをそれぞれ挿入溝14dの内部に同じ寸法H(例えば0.5〜1.0mm)だけ没入させて、溝部18を形成し、この状態を溶接作業に先立って図示しない保持装置により保持する。
次に、図6及び図7に示すように、前記口金部14の挿入溝14dの先端開口縁及び前記溝部18を覆うように肉盛り溶接を行って溶接部21を形成する。この溶接部21によって口金部14と刃部12の中子12aが連結される。
さらに、図8及び図9に示すように、粗仕上げ状態の前記口金部14及び溶接部21を手作業により予め想定された外形状に研削加工を行い、口金部14が図9に示すように左右の両側面が滑らかな曲面になるように、かつ口金部14の横断面が図10に示すように楕円形状になるように仕上げ加工する。この仕上げ加工に際して、前記口金部14の挿入溝14dの先端開口縁及び中子12aの上下の端面12b,12cが露出して境界線が現われないようにする。
上記口金部14の手作業による仕上げ加工に続いて、手作業により尻金部15の仕上げ加工を行い、その外形状を滑らかな曲面形状にする。
最後に、図8及び図9に示す前記本体13の左右両側面に側板17を接触してカシメピン16により側板17を本体13に連結すると、図1及び図2に示す包丁を製造することができる。
上記実施形態の刃物によれば、以下のような効果を得ることができる。
(1)上記実施形態では、口金部14に挿入溝14dを形成し、この挿入溝14dに刃部12の中子12aを挿入し、肉盛溶接により溶接部21を形成した後、該溶接部21をグラインダ等を用いて手作業により仕上げ加工して、口金部14と中子12aを連結するようにした。このため、従来の口金部と中子の連結に用いられる開先溶接と比較して、溶接作業を容易に行うこができるとともに、口金部14と中子12aの連結強度を向上することができる。又、挿入溝14dに中子12aを挿入したので、本体13及び口金部14の中心線の延長上に刃部12を真っ直ぐに位置させることもできる。
(2)上記実施形態では、本体13に対し口金部14と尻金部15を一体に形成したので、部品点数を低減して、製造を容易に行い、コストを低減することができる。
(3)上記実施形態では、口金部14の挿入溝14dに刃部12の中子12aを挿入して、中子12aの上下両端面12b,12cを挿入溝14dに没入させて溝部18を形成し、この溝部18に溶接部21の肉部を進入させたので、口金部14と中子12aの連結強度を向上することができる。
なお、上記実施形態は以下のように変更してもよい。
・図11に示すように、前記口金部14の挿入溝14dの下部に中子12aの下端縁を係止する係止部14eを形成してもよい。この場合には、口金部14と中子12aの位置合わせを容易に行うことができる。
・図12に示すように、挿入溝14dをテーパ状に形成するとともに、中子12aもテーパ状に形成してもよい。この場合には、口金部14と中子12aの位置合わせを確実に行うことができる。
・図13に示すように尻金部15の形状を変更してもよい。
。図14に示すように前記口金部14及び尻金部15をそれぞれ単体で形成し、口金部14と尻金部15を連結ボルト25により連結し、連結ボルト25の外周に対し口金部14と尻金部15の間に位置する柄部本体26を装着してもよい。
・図示しないが、柄部11を金属により一体に形成してもよい。
この発明を包丁に具体化した一実施形態を示す一部省略正面図。 包丁の一部省略平面図。 包丁の柄部を構成する部品の分離斜視図。 口金部と刃部の中子の連結作業を説明する正面図。 図4の平面図。 口金部と刃部の中子の連結作業を説明する正面図。 図6の平面図。 口金部と刃部の中子の連結作業を説明する正面図。 図8の平面図。 図8の1−1線断面図。 この発明の別の実施形態を示す口金部の断面図。 この発明の別の実施形態を示す口金部の断面図。 この発明の別の実施形態を示す尻金部の正面図。 この発明の別の実施形態を示す柄部の縦断面図。
符号の説明
11…柄部、12…刃部、12a…中子、13…本体、14…口金部、14d…挿入溝、14e…係止部、15…尻金部、17…側板、21…溶接部。

Claims (5)

  1. 柄部の本体の先端部に口金部を設け、該口金部の先端部に挿入溝を形成し、該挿入溝に刃部の基端部に一体形成された中子を挿入し、前記口金部と中子を肉盛り溶接した溶接部により連結したことを特徴とする刃物。
  2. 請求項1において、前記柄部の本体の後端部には尻金部が一体に形成されていることを特徴とする刃物。
  3. 請求項1又は2において、前記挿入溝には中子の下端縁を位置規制する係止部が設けられていることを特徴とする刃物。
  4. 請求項1〜3のいずれか一項において、前記柄部の本体、口金部及び尻金部は金属材料により一体に形成されていることを特徴とする刃物。
  5. 請求項1〜4のいずれか一項において、柄部の本体の両側面には、側板が接合されていることを特徴とする刃物。
JP2006115942A 2006-04-19 2006-04-19 刃物 Active JP4607046B2 (ja)

Priority Applications (1)

Application Number Priority Date Filing Date Title
JP2006115942A JP4607046B2 (ja) 2006-04-19 2006-04-19 刃物

Applications Claiming Priority (1)

Application Number Priority Date Filing Date Title
JP2006115942A JP4607046B2 (ja) 2006-04-19 2006-04-19 刃物

Publications (2)

Publication Number Publication Date
JP2007282999A true JP2007282999A (ja) 2007-11-01
JP4607046B2 JP4607046B2 (ja) 2011-01-05

Family

ID=38755295

Family Applications (1)

Application Number Title Priority Date Filing Date
JP2006115942A Active JP4607046B2 (ja) 2006-04-19 2006-04-19 刃物

Country Status (1)

Country Link
JP (1) JP4607046B2 (ja)

Citations (10)

* Cited by examiner, † Cited by third party
Publication number Priority date Publication date Assignee Title
JPS413659Y1 (ja) * 1964-04-14 1966-02-26
JPS4925080U (ja) * 1972-06-02 1974-03-04
JPS536447U (ja) * 1976-06-30 1978-01-20
JPS5481965A (en) * 1977-12-09 1979-06-29 Hideo Tomita Method of making kitchen knife
JPH0191970A (ja) * 1987-09-30 1989-04-11 Mishima Hamono:Kk 厨房用具の柄の取付方法
JPH06154430A (ja) * 1991-06-28 1994-06-03 Ja Henckels Zwillingswerk Ag ナイフ
JPH08299617A (ja) * 1995-05-09 1996-11-19 Hiroo Choji 包 丁
JP2000176184A (ja) * 1998-12-15 2000-06-27 Fuji Corporation:Kk 包丁及び包丁製造方法並びに包丁用柄
JP2006254967A (ja) * 2005-03-15 2006-09-28 Kai R & D Center Co Ltd 柄付き刃物
JP2007152476A (ja) * 2005-12-02 2007-06-21 Tadafusa:Kk 調理用具類の柄

Patent Citations (10)

* Cited by examiner, † Cited by third party
Publication number Priority date Publication date Assignee Title
JPS413659Y1 (ja) * 1964-04-14 1966-02-26
JPS4925080U (ja) * 1972-06-02 1974-03-04
JPS536447U (ja) * 1976-06-30 1978-01-20
JPS5481965A (en) * 1977-12-09 1979-06-29 Hideo Tomita Method of making kitchen knife
JPH0191970A (ja) * 1987-09-30 1989-04-11 Mishima Hamono:Kk 厨房用具の柄の取付方法
JPH06154430A (ja) * 1991-06-28 1994-06-03 Ja Henckels Zwillingswerk Ag ナイフ
JPH08299617A (ja) * 1995-05-09 1996-11-19 Hiroo Choji 包 丁
JP2000176184A (ja) * 1998-12-15 2000-06-27 Fuji Corporation:Kk 包丁及び包丁製造方法並びに包丁用柄
JP2006254967A (ja) * 2005-03-15 2006-09-28 Kai R & D Center Co Ltd 柄付き刃物
JP2007152476A (ja) * 2005-12-02 2007-06-21 Tadafusa:Kk 調理用具類の柄

Also Published As

Publication number Publication date
JP4607046B2 (ja) 2011-01-05

Similar Documents

Publication Publication Date Title
USD1015276S1 (en) Connector for car diagnostic scan tool
JPH09253250A (ja) ゴルフクラブヘッド及びその製造方法
JP2009539041A (ja) セルフドリリングねじ
KR20130052561A (ko) 절삭 공구
JP2007282999A (ja) 刃物
KR101743993B1 (ko) 항공기 부품 분리형 고정장치, 및 이를 이용한 가공방법
WO2022030564A1 (ja) スライドファスナエレメントおよびスライドファスナストリンガ
JP4138442B2 (ja) ゴルフクラブヘッドの製造方法
JP5131011B2 (ja) フロントフォーク用ブラケットの製造方法および蓋付構造体の製造方法
DE202018101552U1 (de) Gemustertes Stahlmesser
KR20150094090A (ko) 프로파일용 스프링너트 및 그 제조방법
US9802551B2 (en) Method for manufacturing a vehicle interior trim part as well as a vehicle interior trim part
JP2010131140A (ja) アイアンゴルフクラブとその製造方法
TWM560380U (zh) 花紋鋼刀之組合構造
CN213462365U (zh) 一种结构稳定的电极片结构
JP5171651B2 (ja) 石膏ボード用のアンカー
US1533305A (en) Tool for cutting tongued boarding
JP3929816B2 (ja) ヘアライン加工方法
JP2007061944A (ja) 柄及びそれを用いた手動利器
KR101682818B1 (ko) 살균기능을 갖는 주방칼 및 그 제조방법
KR200415048Y1 (ko) 음식용구의 손잡이
JP5522581B1 (ja) ツイストドリル
JP3013819U (ja) 庖 丁
JP3002209U (ja) ゴルフクラブヘッド
JP3073736U (ja) 位 牌

Legal Events

Date Code Title Description
A977 Report on retrieval

Free format text: JAPANESE INTERMEDIATE CODE: A971007

Effective date: 20081023

A131 Notification of reasons for refusal

Free format text: JAPANESE INTERMEDIATE CODE: A131

Effective date: 20091117

A521 Request for written amendment filed

Free format text: JAPANESE INTERMEDIATE CODE: A523

Effective date: 20100115

A131 Notification of reasons for refusal

Free format text: JAPANESE INTERMEDIATE CODE: A131

Effective date: 20100525

A521 Request for written amendment filed

Free format text: JAPANESE INTERMEDIATE CODE: A523

Effective date: 20100726

TRDD Decision of grant or rejection written
A01 Written decision to grant a patent or to grant a registration (utility model)

Free format text: JAPANESE INTERMEDIATE CODE: A01

Effective date: 20100921

A01 Written decision to grant a patent or to grant a registration (utility model)

Free format text: JAPANESE INTERMEDIATE CODE: A01

A61 First payment of annual fees (during grant procedure)

Free format text: JAPANESE INTERMEDIATE CODE: A61

Effective date: 20101006

R150 Certificate of patent or registration of utility model

Free format text: JAPANESE INTERMEDIATE CODE: R150

Ref document number: 4607046

Country of ref document: JP

FPAY Renewal fee payment (event date is renewal date of database)

Free format text: PAYMENT UNTIL: 20131015

Year of fee payment: 3

R250 Receipt of annual fees

Free format text: JAPANESE INTERMEDIATE CODE: R250

R250 Receipt of annual fees

Free format text: JAPANESE INTERMEDIATE CODE: R250

R250 Receipt of annual fees

Free format text: JAPANESE INTERMEDIATE CODE: R250

R250 Receipt of annual fees

Free format text: JAPANESE INTERMEDIATE CODE: R250

R250 Receipt of annual fees

Free format text: JAPANESE INTERMEDIATE CODE: R250