JP2007267478A - 制御盤 - Google Patents

制御盤 Download PDF

Info

Publication number
JP2007267478A
JP2007267478A JP2006087166A JP2006087166A JP2007267478A JP 2007267478 A JP2007267478 A JP 2007267478A JP 2006087166 A JP2006087166 A JP 2006087166A JP 2006087166 A JP2006087166 A JP 2006087166A JP 2007267478 A JP2007267478 A JP 2007267478A
Authority
JP
Japan
Prior art keywords
duct
control panel
inverter
heat
heating element
Prior art date
Legal status (The legal status is an assumption and is not a legal conclusion. Google has not performed a legal analysis and makes no representation as to the accuracy of the status listed.)
Granted
Application number
JP2006087166A
Other languages
English (en)
Other versions
JP4543333B2 (ja
Inventor
Toshiyuki Osanawa
俊幸 長縄
Current Assignee (The listed assignees may be inaccurate. Google has not performed a legal analysis and makes no representation or warranty as to the accuracy of the list.)
Murata Machinery Ltd
Original Assignee
Murata Machinery Ltd
Priority date (The priority date is an assumption and is not a legal conclusion. Google has not performed a legal analysis and makes no representation as to the accuracy of the date listed.)
Filing date
Publication date
Application filed by Murata Machinery Ltd filed Critical Murata Machinery Ltd
Priority to JP2006087166A priority Critical patent/JP4543333B2/ja
Publication of JP2007267478A publication Critical patent/JP2007267478A/ja
Application granted granted Critical
Publication of JP4543333B2 publication Critical patent/JP4543333B2/ja
Anticipated expiration legal-status Critical
Expired - Fee Related legal-status Critical Current

Links

Images

Landscapes

  • Cooling Or The Like Of Electrical Apparatus (AREA)
  • Patch Boards (AREA)

Abstract


【構成】 制御盤2の内部を前面スペース17と背面側のダクト28とに仕切り板16で仕切り、前面スペース17の下部にインバータ10を上部に制御ユニット12を設け、その間に遮熱板18を設ける。遮熱板18の下部にスリット20を設け、インバータ10の底部側に下部吸気口24を設け、インバータ10のヒートシンク30をダクト28内に突出させる。ダクト28内の空気を排気ファン6で排気する。
【効果】 インバータ10からの熱を効果的に排熱でき、制御ユニット12の温度上昇を小さくできる。
【選択図】 図4

Description

この発明は発熱体を内蔵した制御盤からの排気に関する。
制御盤の下部にインバータなどの発熱体を配置し、その上部に制御ユニットを配置した制御盤が用いられている。そして制御盤の下方に空気取り入れ口もしくは吸気ファンを設け、上部に排気ファンを設けて、制御盤内の空気を換気している。しかしながらこの種の制御盤では、盤内の空気全体を換気するため排熱効率が低く、盤内の温度が上昇するとの問題があった。
この発明の課題は、制御盤の発熱体と制御部との過熱を効率的に防止することにある。
請求項2の発明での追加の課題は、発熱体の温度上昇をさらに抑制すると共に、発熱体の上部の制御の温度上昇を効率的に防止することにある。
請求項3の発明での追加の課題は、発熱体からの発熱を効率的にダクト内へ排熱することにある。
この発明の制御盤は、内部を前面側と背面側に仕切る仕切りを設け、前面側に制御部と発熱体とを配置し、背面側をダクトとすると共に、該ダクト内へ前記発熱体からの発熱を放熱するための放熱手段と、該ダクト内の空気を排気する排気ファンとを設けたことを特徴とする。
好ましくは、前記放熱手段は、発熱体の上部で仕切りに設けた吸気用のスリットである。
また好ましくは、前記発熱体の背面側に、前記ダクト内へ突き出すように放熱フィンを設ける。
この発明では、仕切りによって簡単にダクトを形成し、発熱体からの熱を放熱手段によりダクトへ排熱して、排気ファンで排気する。このため発熱体を集中的に冷却して、その過熱を防止できる。また制御部自体の発熱は発熱体からの発熱に比べて僅かなので、発熱体を集中的に冷却すると、制御部の過熱も防止できる。このため全体として、比較的少ない風量で発熱体と制御部双方の過熱を防止できる。
発熱体の上部にスリットを設けてスリットからダクトへ排気するようにすると、発熱体で加熱されて上昇した空気がスリットからダクトへ流れ、発熱体を冷却するだけでなく、発熱体の上部に配置された制御部などへ発熱体からの熱が伝わるのを防止できる。
発熱体の背面側にダクトへ突き出すように放熱フィンを設けると、ダクト内の気流で効率的に発熱体を冷却できる。
以下に本発明を実施するための最適実施例を示す。
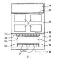
図1〜図4に、実施例の制御盤2を示す。4は正面扉で、6は排気ファンで、正面扉4の上部にあり、正面扉4の下部には吸気ファン8がある。なお吸気ファン8に代えて単なる吸気口を設けても良い。
制御盤2の内部は仕切り板16により、前面側と背面側に仕切られ、背面側がダクト28となる。なお仕切り板16は、インバータ10や制御ユニット12を配置するための取付板に兼用する。前面側の下部にはインバータ10があり、その上部に制御ユニット12が配置してある。さらに前面側の最上部にはダクト出口14があり、仕切り板15があり、ダクト出口14に達した空気は排気ファン6によって排気される。
インバータ10の上部には遮熱板18があり、その下側には、仕切り板16に設けた開口からなるスリット20が複数設けられ、スリット20の左右に例えば側壁22を設けて、インバータ10で加熱された空気をスリット20へと導く。さらに制御盤2の前面側は、遮熱板18と仕切り板15で上中下の3段階に仕切られている。インバータ10の下部には下部吸気口24があり、制御盤2の前面側からダクト28へと空気を吸気する。26は支持板で、インバータ10の底面を支持しており、特に設けなくても良い。
インバータ10の背面側にはフィン状のヒートシンク30が複数設けられ、ヒートシンク30はダクト28内に突き出して鉛直方向に延び、下部吸気口24から吸気された空気がヒートシンク30の間の流路を通って上昇する。32は背面壁で、制御盤2全体の背面の壁面である。
実施例の動作を示す。制御盤2の内部での発熱はインバータ10に集中し、制御ユニット12での発熱はわずかである。吸気ファン8から吸気された空気は、その一部が下部吸気口24を通ってダクト28に入り、ヒートシンク30に沿って上昇しながらインバータ10を冷却する。吸気された空気の一部は遮熱板18の下部を通って、側壁22にガイドされながらスリット20を介してダクト28内に入り、インバータ10の上側に溜まる加熱された空気をダクト28内へと流し込む。そしてダクト28内の空気は排気ファン6により外部に排気される。
実施例ではインバータ10からの発熱は、ヒートシンク30の周囲の気流と、遮熱板18の下側からスリット20へ入る気流とにより、ダクト28内に放熱される。制御ユニット12付近の気流は僅かであるが、気流の大部分を用いてインバータ10を冷却するので、放熱できる熱量は、気流を制御盤2の内部の全体に分散させる場合に比べて大きい。この結果、制御ユニット12側へ流れる気流は僅かであるにもかかわらず、その温度上昇を小さくすることができる。なお必要であれば、仕切り板15に小孔33を設けて、仕切り板15の下部に加熱された空気が溜まるのを防止すると良い。この場合、仕切り板15の下側の空気温度が、ダクト出口14での空気温度よりも高くなると、小孔33を介しての対流が始まって制御ユニット12を冷却し、仕切り板15の下側での空気温度がダクト出口14の空気温度よりも低い場合、小孔33を流れる気流はほとんど生じない。
インバータ10はヒートシンク30の周囲を流れる気流により冷却され、インバータ10から制御ユニット12側へ流れる熱は、遮熱板18により遮られて、スリット20を流れる気流によりダクト28側へ排熱される。この2つの気流でインバータ10を集中的に冷却し、インバータ10の過熱を防止する。
実施例では発熱体の例としてインバータ10を示したが、これに限らず各種のトランス類などの電力機器でも同様である。また制御ユニット12の種類は任意である。
実施例の制御盤の正面図 実施例の制御盤から正面扉を取り外した姿を示す図 図2のIII−III方向拡大断面図 実施例の制御盤の鉛直方向断面図
符号の説明
2 制御盤
4 正面扉
6 排気ファン
8 吸気ファン
10 インバータ
12 制御ユニット
14 ダクト出口
15,16 仕切り板
17 前面スペース
18 遮熱板
20 スリット
22 側壁
24 下部吸気口
26 支持板
28 ダクト
30 ヒートシンク
32 背面壁
33 小孔

Claims (3)

  1. 内部を前面側と背面側に仕切る仕切りを設け、前面側に制御部と発熱体とを配置し、背面側をダクトとすると共に、
    該ダクト内へ前記発熱体からの発熱を放熱するための放熱手段と、該ダクト内の空気を排気する排気ファンとを設けたことを特徴とする制御盤。
  2. 前記放熱手段は、発熱体の上部で仕切りに設けた吸気用のスリットであることを特徴とする、請求項1の制御盤。
  3. 前記発熱体の背面側に、前記ダクト内へ突き出すように放熱フィンを設けたことを特徴とする、請求項1または2の制御盤。
JP2006087166A 2006-03-28 2006-03-28 制御盤 Expired - Fee Related JP4543333B2 (ja)

Priority Applications (1)

Application Number Priority Date Filing Date Title
JP2006087166A JP4543333B2 (ja) 2006-03-28 2006-03-28 制御盤

Applications Claiming Priority (1)

Application Number Priority Date Filing Date Title
JP2006087166A JP4543333B2 (ja) 2006-03-28 2006-03-28 制御盤

Publications (2)

Publication Number Publication Date
JP2007267478A true JP2007267478A (ja) 2007-10-11
JP4543333B2 JP4543333B2 (ja) 2010-09-15

Family

ID=38639927

Family Applications (1)

Application Number Title Priority Date Filing Date
JP2006087166A Expired - Fee Related JP4543333B2 (ja) 2006-03-28 2006-03-28 制御盤

Country Status (1)

Country Link
JP (1) JP4543333B2 (ja)

Cited By (14)

* Cited by examiner, † Cited by third party
Publication number Priority date Publication date Assignee Title
WO2010122632A1 (ja) * 2009-04-20 2010-10-28 三菱電機株式会社 電子機器収容ユニット
JP2012050269A (ja) * 2010-08-27 2012-03-08 Fuji Electric Co Ltd 変圧器の冷却装置
CN102832015A (zh) * 2011-06-14 2012-12-19 富士电机株式会社 变压器的冷却装置
JP2013128334A (ja) * 2011-12-16 2013-06-27 Hitachi Industrial Equipment Systems Co Ltd インバータ制御盤
WO2014005740A1 (de) * 2012-07-03 2014-01-09 Siemens Aktiengesellschaft Vorrichtung zur kühlung von einbauten eines schaltschranks
WO2014068651A1 (ja) * 2012-10-30 2014-05-08 株式会社三社電機製作所 ファン制御装置及びパワーコンディショナー
JP2014112382A (ja) * 2008-12-04 2014-06-19 Io Data Cts Llc コンピュータリソースを提供するシステムおよび方法
CN104269758A (zh) * 2014-10-22 2015-01-07 苏州昆扬电气成套设备有限公司 一种内置冷却风道的配电柜
JP2015046952A (ja) * 2013-08-27 2015-03-12 株式会社日立産機システム 配電盤
JP2015177017A (ja) * 2014-03-14 2015-10-05 日本電気株式会社 機器の収容装置、及び、方法
US9772610B2 (en) 2008-12-04 2017-09-26 Baselayer Technology, Llc Modular data center
JP2022059617A (ja) * 2020-03-06 2022-04-13 ダイキン工業株式会社 輸送用冷凍装置および輸送用コンテナ
CN116344267A (zh) * 2023-05-29 2023-06-27 深圳三铭电气有限公司 一种带有散热机构利于运行的继电器模组
CN117458308A (zh) * 2023-10-31 2024-01-26 珠海盈源电气有限公司 一种紧凑型模块化真空开关设备

Families Citing this family (3)

* Cited by examiner, † Cited by third party
Publication number Priority date Publication date Assignee Title
CN104821494A (zh) * 2015-04-24 2015-08-05 中山弘博企业管理咨询有限公司 变电站用智能配电柜
CN104868474B (zh) * 2015-06-05 2017-08-29 南车株洲电力机车研究所有限公司 一种变频器滤波柜
CN105979755B (zh) * 2016-06-16 2018-01-16 江苏爱克赛电气制造有限公司 一种具有散热性能的电气控制柜

Citations (6)

* Cited by examiner, † Cited by third party
Publication number Priority date Publication date Assignee Title
JPS5793014U (ja) * 1980-11-28 1982-06-08
JPH03148593A (ja) * 1989-07-14 1991-06-25 Mitsubishi Electric Corp 制御盤の熱交換器
JPH0629194U (ja) * 1992-09-17 1994-04-15 株式会社安川電機 電子機器の冷却装置
JPH08289422A (ja) * 1995-04-18 1996-11-01 Toshiba Corp 閉鎖配電盤
JP2001267774A (ja) * 2000-03-23 2001-09-28 Furukawa Electric Co Ltd:The 機器収納用筐体
WO2003036772A1 (en) * 2001-10-25 2003-05-01 Mitsubishi Denki Kabushiki Kaisha Control center

Patent Citations (6)

* Cited by examiner, † Cited by third party
Publication number Priority date Publication date Assignee Title
JPS5793014U (ja) * 1980-11-28 1982-06-08
JPH03148593A (ja) * 1989-07-14 1991-06-25 Mitsubishi Electric Corp 制御盤の熱交換器
JPH0629194U (ja) * 1992-09-17 1994-04-15 株式会社安川電機 電子機器の冷却装置
JPH08289422A (ja) * 1995-04-18 1996-11-01 Toshiba Corp 閉鎖配電盤
JP2001267774A (ja) * 2000-03-23 2001-09-28 Furukawa Electric Co Ltd:The 機器収納用筐体
WO2003036772A1 (en) * 2001-10-25 2003-05-01 Mitsubishi Denki Kabushiki Kaisha Control center

Cited By (28)

* Cited by examiner, † Cited by third party
Publication number Priority date Publication date Assignee Title
US10251317B2 (en) 2008-12-04 2019-04-02 Baselayer Technology, Llc System and method of providing computer resources
US20160106009A1 (en) 2008-12-04 2016-04-14 Io Data Centers, Llc System and method of providing computer resources
US9772610B2 (en) 2008-12-04 2017-09-26 Baselayer Technology, Llc Modular data center
US9237672B2 (en) 2008-12-04 2016-01-12 Io Data Centers, Llc System and method of providing computer resources
US10039212B2 (en) 2008-12-04 2018-07-31 Baselayer Technology, Llc System and method of providing computer resources
JP2014112382A (ja) * 2008-12-04 2014-06-19 Io Data Cts Llc コンピュータリソースを提供するシステムおよび方法
JP5000013B2 (ja) * 2009-04-20 2012-08-15 三菱電機株式会社 電子機器収容ユニット
WO2010122632A1 (ja) * 2009-04-20 2010-10-28 三菱電機株式会社 電子機器収容ユニット
CN102386571A (zh) * 2010-08-27 2012-03-21 富士电机株式会社 变压器的冷却装置
JP2012050269A (ja) * 2010-08-27 2012-03-08 Fuji Electric Co Ltd 変圧器の冷却装置
JP2013004598A (ja) * 2011-06-14 2013-01-07 Fuji Electric Co Ltd 変圧器の冷却装置
CN102832015A (zh) * 2011-06-14 2012-12-19 富士电机株式会社 变压器的冷却装置
JP2013128334A (ja) * 2011-12-16 2013-06-27 Hitachi Industrial Equipment Systems Co Ltd インバータ制御盤
WO2014005740A1 (de) * 2012-07-03 2014-01-09 Siemens Aktiengesellschaft Vorrichtung zur kühlung von einbauten eines schaltschranks
CN104508925A (zh) * 2012-07-03 2015-04-08 西门子公司 用于对开关柜的内装件进行冷却的设备
US9863428B2 (en) 2012-10-30 2018-01-09 Sansha Electric Manufacturing Co., Ltd. Fan control unit and power conditioner
JP5914689B2 (ja) * 2012-10-30 2016-05-11 株式会社三社電機製作所 ファン制御装置及びパワーコンディショナー
WO2014068651A1 (ja) * 2012-10-30 2014-05-08 株式会社三社電機製作所 ファン制御装置及びパワーコンディショナー
JP2015046952A (ja) * 2013-08-27 2015-03-12 株式会社日立産機システム 配電盤
JP2015177017A (ja) * 2014-03-14 2015-10-05 日本電気株式会社 機器の収容装置、及び、方法
CN104269758A (zh) * 2014-10-22 2015-01-07 苏州昆扬电气成套设备有限公司 一种内置冷却风道的配电柜
JP2022059617A (ja) * 2020-03-06 2022-04-13 ダイキン工業株式会社 輸送用冷凍装置および輸送用コンテナ
JP7510069B2 (ja) 2020-03-06 2024-07-03 ダイキン工業株式会社 輸送用冷凍装置および輸送用コンテナ
US12215915B2 (en) 2020-03-06 2025-02-04 Daikin Industries, Ltd. Refrigeration apparatus for transport and transport container
CN116344267A (zh) * 2023-05-29 2023-06-27 深圳三铭电气有限公司 一种带有散热机构利于运行的继电器模组
CN116344267B (zh) * 2023-05-29 2023-07-21 深圳三铭电气有限公司 一种带有散热机构利于运行的继电器模组
CN117458308A (zh) * 2023-10-31 2024-01-26 珠海盈源电气有限公司 一种紧凑型模块化真空开关设备
CN117458308B (zh) * 2023-10-31 2024-04-16 珠海盈源电气有限公司 一种紧凑型模块化真空开关设备

Also Published As

Publication number Publication date
JP4543333B2 (ja) 2010-09-15

Similar Documents

Publication Publication Date Title
JP4543333B2 (ja) 制御盤
TW201212798A (en) Computer server cabinet
US7236362B2 (en) Minimization of cooling air preheat for maximum packaging density
JP5597957B2 (ja) データセンター、冷却システムおよびit機器の冷却方法
KR101479897B1 (ko) 전자기기
JP2009192728A (ja) 表示装置
JP5446786B2 (ja) 空気調和機の室外機
JP2018113406A (ja) 電子機器
JP2010016957A (ja) インバータ装置
JP6388252B2 (ja) 電気装置
JP2019057471A (ja) 光源装置
JP4175561B2 (ja) ラック用冷却ユニット
CN102385429A (zh) 服务器机箱
JP6226074B2 (ja) 電力変換装置
JP2010258263A (ja) 電子機器の放熱機構
JP2004269244A (ja) エレベータの制御装置
JP2002368473A (ja) 発熱性電子部品放熱装置、放熱構造を有する電子機器および電子装置
JP6570293B2 (ja) 盤用冷却装置
JP5865124B2 (ja) 誘導加熱調理器
JP2019165549A (ja) 電力変換装置および蓄電池システム
JP6225342B2 (ja) 盤用冷却装置および盤用冷却装置を備えた盤用キャビネット
JP5843752B2 (ja) 電子機器収容装置
CN113719907B (zh) 一种除湿装置及具有其的空调器
JP4985390B2 (ja) 電子機器の放熱装置
JP2009224416A (ja) 制御盤内の放熱構造

Legal Events

Date Code Title Description
A977 Report on retrieval

Free format text: JAPANESE INTERMEDIATE CODE: A971007

Effective date: 20090501

A131 Notification of reasons for refusal

Free format text: JAPANESE INTERMEDIATE CODE: A131

Effective date: 20090519

A521 Request for written amendment filed

Free format text: JAPANESE INTERMEDIATE CODE: A523

Effective date: 20090702

A131 Notification of reasons for refusal

Free format text: JAPANESE INTERMEDIATE CODE: A131

Effective date: 20100217

A521 Request for written amendment filed

Free format text: JAPANESE INTERMEDIATE CODE: A523

Effective date: 20100405

TRDD Decision of grant or rejection written
A01 Written decision to grant a patent or to grant a registration (utility model)

Free format text: JAPANESE INTERMEDIATE CODE: A01

Effective date: 20100603

A01 Written decision to grant a patent or to grant a registration (utility model)

Free format text: JAPANESE INTERMEDIATE CODE: A01

A61 First payment of annual fees (during grant procedure)

Free format text: JAPANESE INTERMEDIATE CODE: A61

Effective date: 20100616

FPAY Renewal fee payment (event date is renewal date of database)

Free format text: PAYMENT UNTIL: 20130709

Year of fee payment: 3

R150 Certificate of patent or registration of utility model

Ref document number: 4543333

Country of ref document: JP

Free format text: JAPANESE INTERMEDIATE CODE: R150

Free format text: JAPANESE INTERMEDIATE CODE: R150

R250 Receipt of annual fees

Free format text: JAPANESE INTERMEDIATE CODE: R250

R250 Receipt of annual fees

Free format text: JAPANESE INTERMEDIATE CODE: R250

R250 Receipt of annual fees

Free format text: JAPANESE INTERMEDIATE CODE: R250

R250 Receipt of annual fees

Free format text: JAPANESE INTERMEDIATE CODE: R250

R250 Receipt of annual fees

Free format text: JAPANESE INTERMEDIATE CODE: R250

R250 Receipt of annual fees

Free format text: JAPANESE INTERMEDIATE CODE: R250

R250 Receipt of annual fees

Free format text: JAPANESE INTERMEDIATE CODE: R250

R250 Receipt of annual fees

Free format text: JAPANESE INTERMEDIATE CODE: R250

LAPS Cancellation because of no payment of annual fees