JP2007196249A - 異形板状部材の製造方法 - Google Patents

異形板状部材の製造方法 Download PDF

Info

Publication number
JP2007196249A
JP2007196249A JP2006015888A JP2006015888A JP2007196249A JP 2007196249 A JP2007196249 A JP 2007196249A JP 2006015888 A JP2006015888 A JP 2006015888A JP 2006015888 A JP2006015888 A JP 2006015888A JP 2007196249 A JP2007196249 A JP 2007196249A
Authority
JP
Japan
Prior art keywords
plate
product
billet
manufacturing
shape
Prior art date
Legal status (The legal status is an assumption and is not a legal conclusion. Google has not performed a legal analysis and makes no representation as to the accuracy of the status listed.)
Pending
Application number
JP2006015888A
Other languages
English (en)
Inventor
眞之 西尾
Shinichi Nishio
真一 西尾
Masayuki Nishio
正之 西尾
Tatsuya Nishio
達也 西尾
Current Assignee (The listed assignees may be inaccurate. Google has not performed a legal analysis and makes no representation or warranty as to the accuracy of the list.)
Nishio Seimitsu KK
Original Assignee
Nishio Seimitsu KK
Priority date (The priority date is an assumption and is not a legal conclusion. Google has not performed a legal analysis and makes no representation as to the accuracy of the date listed.)
Filing date
Publication date
Application filed by Nishio Seimitsu KK filed Critical Nishio Seimitsu KK
Priority to JP2006015888A priority Critical patent/JP2007196249A/ja
Publication of JP2007196249A publication Critical patent/JP2007196249A/ja
Pending legal-status Critical Current

Links

Images

Landscapes

  • Forging (AREA)

Abstract

【課題】
塑性加工によって小物部品を支持するブラケット、ローラチェーンのリンク板などのように、輪郭が異形の板状部材を成形するに際して、素材として帯鋼を用いるときの歩留まりの低さを改善することにある。
【解決手段】
線材を切断して素材のビレットを作る準備工程と、ビレットをフォーマーにセットして製品の輪郭と対応する丸い捧状の半成形品を製作する中間工程と、前記半成形品を金型の平坦な面の間で挟圧して板状に押しつぶす圧造工程とを含む異形板状部材の製法である。
【選択図】 図3

Description

本発明は、小物部品を支持するブラケット、ローラチェーンのリンク板などのように、輪郭が異形の板状部材の製造方法に関するものである。
従来、この種の部材を製造する一般的な方法は、プレス機械によって帯鋼を打ち抜いて板状部材の輪郭を作り、ついで、穿孔加工を加えて形状を整え、先の工程によって生じるバリや返りを除去して製品としている。
しかし、従来のプレス機によってこの種の部材を打ち抜きする製造方法では、素材として帯鋼を用い、そこから打ち抜いて製造するので、素材の歩留まりがわるく、また、打ち抜く際にでるバリを除去する工程を必要とした。
また、線材を切断して得た小片、いわゆるビレットを素材として冷間鍛造する方法、あるいは、フォーマー、いわゆる圧造機を用いて、押し型と受け型との2個の金型の間に、ビレットを挟圧して成形する圧造法、なども考えられないではない。
しかしながら、冷間鍛造法では密閉金型を用いて行う塑性成形法であり、比較的精密な形状を必要とする部材の生産に適しているが、設備の価格および生産速度の点で、廉価な部材の大量製造には適しなかった。
また、圧造法は比較的最近になって実用性を高めた製造方法
であり、押し型と受け型との間にビレットを挟み、平板状に押しつぶす成形法である。しかし、密閉した金型を使用しないため、形状が複雑な部材に適さないとされ、形状が単純で廉価な部材の多量生産に適するとされている。
しかしながら、板状の部材を成形するとき、厚さ方向は精度よく成形できるので、外形の輪郭が精度よく成形できる何らかの手法の開発が求められている。
特開平7−100580号公報
解決しようとする問題点は、フォーマーの比較的単純な構造の金型を用いて、特殊な輪郭を持つ異形板状部材を製造する製造方法を得ることである。
本発明は、線材を切断して素材のビレットを作る準備工程と、ビレットをフォーマーにセットして製品の輪郭と対応する丸い捧状の半成形品を製作する中間工程と、前記半成形品を金型の平坦な面の間で挟圧して板状に押しつぶす圧造工程とを含むことを最も主要な特徴とする。
そこでは、前記中間工程と圧造工程との間に、金型と一体に進退する回りとめピンを半成形品の軸芯方向へ向け押込んで固定する過程を包含させるのが好ましい。また、前記半成形品を両端を球面としたテーパー棒とし、略卵形のブラケット素材を成形することもある。
本発明に係る異形板状部材の製造方法は、丸い捧状の半成形品を押し型と受け型との2面間で挟圧して成形するから、輪郭を形成する金型の壁面を用いることなく、所要の形状の板材を成形することができる。よって、金型の構造を簡単にすることができ、優れた経済性と量産性とが得られる。
また、異形板状部材は、圧造されるので輪郭をなす周縁は、厚さ方向中央が中膨らみとなる傾向があり、打ち抜いた場合のように、バリがでないから、バリ取りの工程を要せず、生産性を向上させる。
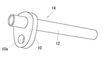
以下、本発明のもっとも好ましい実施例を、図面によって説明する。図1は本発明の実施である異形板状部材たるブラケット10の使用状態を示すものであり、ブラケット10に鋼管12をろう付けして構成した車両用燃料配管部材14を示す。ここで、10aは配管部材14を車両の枠体取付けるためのボルト孔である。
ブラケット10は、図2で示すように、大きい円弧10bと小さい円弧10cとを直線10d、10dで結んだ略卵形の輪郭をもつ板状の部材である。そして、両円弧10b、10cと同芯に、鋼管12のための大きい透孔10eと、前記ボルト孔10aとが穿孔されている。
なお、ブラケット10は後述するように、素材を2個の平面によって挟圧して板状に成形されているので、その輪郭は、板厚方向の中央部がやや外方へ膨出しており、他方、板厚の両面に近い所は金型との摩擦のため、やや後退した形状となり、成形の際にバリを生じない。この状態を図2(b)でやゝ誇張して書いてある。
次に、ブラケット10の製造方法を説明する。まず、加工用に圧造機と、素材として鋼線の巻き線を準備する。そして、巻き線を切断して図3(a)で示すように、素材のビレット20を作る。なお、この準備工程は従来、鋼線を利用する場合に慣用されているビレットの製造手段と同じであり、詳細な説明を省略する。
前記ビレット20はフォーマーにセットされ、軸方向に圧縮して、中間工程を行う。中間工程は同図(b)で示すように、当初のビレット20よりやや太い部分のある半成形品22を成形する。半成形品22は断面形状が円形をなし、その外形線22aは製品の輪郭とほぼ対応して一端がやゝ大径に、他端がやゝ小径に造られ、端部22bはそれぞれ半球形に丸めたものとなっている。
ついで圧造工程を行う。ここでは図(b)中、2点鎖線で示すように前記半成形品22の外径部を金型の平坦な面23、24の間で挟圧して板状に押しつぶす。なお、前記金型の平坦な面23には直角に伸びるピン23aが植設してあり、圧造に先立って、半成形品22へ食い込む仮工程をなし、圧造に際して半成形品22が回転して製品形状が左右非対称にならないように固定する。
25は前圧造工程によって得られた圧造製品であり、板厚と輪郭はほぼ製品と同形状となっている。25aは圧造工程においてピン23aによって生じた圧痕である。圧造製品25は、次いで、図示してない工程によって穿孔し、ボルト孔10aと大きい透孔10eを設けるが、このとき同時に前記圧痕25aも除去されて、図2で示す製品となるが、この穿孔以降の工程は従来の圧造法における穿孔工程と変わらないので、詳細な説明は省略する。
この実施例では、従来のプレス加工によって生産されたものの材料重量が21グラムであったものが、13グラムで足りるようになり、8グラムの節約になった。
この発明はブラケットやステイの製造に限定されず、伝動チェーンのリンク板など、伝動部材の製造にも適用できる。
本願発明の実施である異形板状部材を使用した部材の外観図である。 異形板状部材を示すもので、(a)は正面図、(b)はその中央横断面図である。 異形板状部材の圧造方法を示す工程図である。
符号の説明
10 ブラケット
10a ボルト孔
10b 大きい円弧
10c 小さい円弧
10d 直線
10e 大きい透孔
12 鋼管
14 車両用燃料配管部材
20 ビレット
22 半成形品
22a 外形線
22b 端部
23、24 金型の平坦な面
23a ピン
25 圧造品
25a 圧痕

Claims (3)

  1. 線材を切断して素材のビレットを作る準備工程と、ビレットをフォーマーにセットして製品の輪郭と対応する丸い捧状の半成形品を製作する中間工程と、前記半成形品を金型の平坦な面の間で挟圧して板状に押しつぶす圧造工程とを含む異形板状部材の製造方法。
  2. 請求項1において、前記中間工程と圧造工程との間に、金型と一体に進退する回りとめピンを半成形品の軸芯方向へ向け押込んで固定する過程を包含する異形板状部材の製造方法。
  3. 請求項1において、前記半成形品を両端を球面としたテーパー棒とし、略卵形のブラケット素材を成形する異形板状部材の製造方法。
JP2006015888A 2006-01-25 2006-01-25 異形板状部材の製造方法 Pending JP2007196249A (ja)

Priority Applications (1)

Application Number Priority Date Filing Date Title
JP2006015888A JP2007196249A (ja) 2006-01-25 2006-01-25 異形板状部材の製造方法

Applications Claiming Priority (1)

Application Number Priority Date Filing Date Title
JP2006015888A JP2007196249A (ja) 2006-01-25 2006-01-25 異形板状部材の製造方法

Publications (1)

Publication Number Publication Date
JP2007196249A true JP2007196249A (ja) 2007-08-09

Family

ID=38451360

Family Applications (1)

Application Number Title Priority Date Filing Date
JP2006015888A Pending JP2007196249A (ja) 2006-01-25 2006-01-25 異形板状部材の製造方法

Country Status (1)

Country Link
JP (1) JP2007196249A (ja)

Cited By (1)

* Cited by examiner, † Cited by third party
Publication number Priority date Publication date Assignee Title
CN111036813A (zh) * 2019-12-12 2020-04-21 江苏亚星锚链股份有限公司 一种高强度的水下割船环的锻造方法

Citations (4)

* Cited by examiner, † Cited by third party
Publication number Priority date Publication date Assignee Title
JPS60102246A (ja) * 1983-11-09 1985-06-06 Musashi Seimitsu Kogyo Kk 内燃機関用コネクテイングロツドの製造方法
JP2001293531A (ja) * 2000-04-12 2001-10-23 Toyota Motor Corp ワークの内径精度向上方法、カムシャフトの製造方法
JP2003285138A (ja) * 2002-01-24 2003-10-07 Nissan Motor Co Ltd 組立式カムシャフト用カムピースの製造方法
JP2004019494A (ja) * 2002-06-13 2004-01-22 Nissan Motor Co Ltd エンジン用組立式カムシャフトおよびその製造方法

Patent Citations (4)

* Cited by examiner, † Cited by third party
Publication number Priority date Publication date Assignee Title
JPS60102246A (ja) * 1983-11-09 1985-06-06 Musashi Seimitsu Kogyo Kk 内燃機関用コネクテイングロツドの製造方法
JP2001293531A (ja) * 2000-04-12 2001-10-23 Toyota Motor Corp ワークの内径精度向上方法、カムシャフトの製造方法
JP2003285138A (ja) * 2002-01-24 2003-10-07 Nissan Motor Co Ltd 組立式カムシャフト用カムピースの製造方法
JP2004019494A (ja) * 2002-06-13 2004-01-22 Nissan Motor Co Ltd エンジン用組立式カムシャフトおよびその製造方法

Cited By (1)

* Cited by examiner, † Cited by third party
Publication number Priority date Publication date Assignee Title
CN111036813A (zh) * 2019-12-12 2020-04-21 江苏亚星锚链股份有限公司 一种高强度的水下割船环的锻造方法

Similar Documents

Publication Publication Date Title
TWI537075B (zh) 扳手工具製程方法
US6842982B2 (en) Method of producing bushing
JP5446787B2 (ja) リング素材の製造方法
JP3787767B2 (ja) 鍔付き連結シャフトの製造方法
KR20060116099A (ko) 자동차용 유니버셜 조인트 및 그 제조방법
KR101473948B1 (ko) 플랜지 구조체의 제조 방법
JP3622062B2 (ja) ギヤの製造方法
JP2004330278A (ja) ピアスナットの製造方法
CN107848016A (zh) 利用冷锻的汽车用转向装置的夹紧轭制造方法
JP3331499B2 (ja) ブシュの加工方法
JP2007196249A (ja) 異形板状部材の製造方法
CN111842524A (zh) 带凹槽零部件的挤压成型模具及方法
CN107008838A (zh) 一种沉头内六角螺栓成形方法
KR19990046098A (ko) 플랜지를갖는볼트의제조방법
CN215467864U (zh) 一种锁片六角法兰面锁紧螺母的冷镦成型模具组
JP4435376B2 (ja) スチールホイールにおけるボルト穴の成形方法
JP2010042440A (ja) 溝付きボルトの製造方法
JP2009028780A (ja) 中空成形体の製造方法
KR100426334B1 (ko) 휠용 니플의 제조방법
JPH0658124B2 (ja) ユニバ−サルジヨイント用ヨ−ク
JP3513818B2 (ja) 座金付きナットの製造方法
CN114101562B (zh) 异形压铆套管的成型方法、异形压铆套管及用于成型异形压铆套管的装置
JP5008189B2 (ja) 歯車の成形方法及びその装置
JP2003343672A (ja) ベルト式無段変速機用中空シャフトプーリーの成形方法
JP2008119731A (ja) 厚肉の大きい中膨れ板部材の製造方法

Legal Events

Date Code Title Description
RD03 Notification of appointment of power of attorney

Effective date: 20070907

Free format text: JAPANESE INTERMEDIATE CODE: A7423

A621 Written request for application examination

Free format text: JAPANESE INTERMEDIATE CODE: A621

Effective date: 20081031

A977 Report on retrieval

Free format text: JAPANESE INTERMEDIATE CODE: A971007

Effective date: 20100609

A131 Notification of reasons for refusal

Effective date: 20110712

Free format text: JAPANESE INTERMEDIATE CODE: A131

A02 Decision of refusal

Effective date: 20111206

Free format text: JAPANESE INTERMEDIATE CODE: A02