JP2007190871A - 射出成形体の成形方法、並びに射出成形装置 - Google Patents

射出成形体の成形方法、並びに射出成形装置 Download PDF

Info

Publication number
JP2007190871A
JP2007190871A JP2006013211A JP2006013211A JP2007190871A JP 2007190871 A JP2007190871 A JP 2007190871A JP 2006013211 A JP2006013211 A JP 2006013211A JP 2006013211 A JP2006013211 A JP 2006013211A JP 2007190871 A JP2007190871 A JP 2007190871A
Authority
JP
Japan
Prior art keywords
mold
injection
molding
wall body
wall
Prior art date
Legal status (The legal status is an assumption and is not a legal conclusion. Google has not performed a legal analysis and makes no representation as to the accuracy of the status listed.)
Granted
Application number
JP2006013211A
Other languages
English (en)
Other versions
JP4771812B2 (ja
Inventor
Masahiro Naruse
雅洋 成瀬
Current Assignee (The listed assignees may be inaccurate. Google has not performed a legal analysis and makes no representation or warranty as to the accuracy of the list.)
Daiwa Kasei Industry Co Ltd
Original Assignee
Daiwa Kasei Industry Co Ltd
Priority date (The priority date is an assumption and is not a legal conclusion. Google has not performed a legal analysis and makes no representation as to the accuracy of the date listed.)
Filing date
Publication date
Application filed by Daiwa Kasei Industry Co Ltd filed Critical Daiwa Kasei Industry Co Ltd
Priority to JP2006013211A priority Critical patent/JP4771812B2/ja
Publication of JP2007190871A publication Critical patent/JP2007190871A/ja
Application granted granted Critical
Publication of JP4771812B2 publication Critical patent/JP4771812B2/ja
Anticipated expiration legal-status Critical
Expired - Fee Related legal-status Critical Current

Links

Images

Landscapes

  • Moulds For Moulding Plastics Or The Like (AREA)
  • Injection Moulding Of Plastics Or The Like (AREA)

Abstract

【課題】異なる種類の合成樹脂からなる部材同士が一体的に成形された射出成形体を良好かつ容易に得ることが可能な射出成形装置の提供。
【解決手段】第一成形面を有する第一金型14aと、第二形成面を有する第二金型14bと、壁体9とを備え、さらに、第一金型14aを壁体9に圧接した状態で、第一成形面及び壁体9の壁面により構成されるキャビティ内に第一の合成樹脂を射出して第一部材を成形するための第一射出ユニット42と、第一金型14aと壁体9との圧接を解除した状態で、第一金型14a側に第一部材を残しつつ、壁体9を退避させるための壁体進退手段と、第一金型14aと第二金型14bとを型締めした状態で、第一成形面及び第二成形面により構成されるキャビティ内に第二の合成樹脂を射出して、第二部材をキャビティ内の第一部材と一体的に成形するための第二射出ユニット26と、を備える。
【選択図】図1

Description

本発明は、異なる種類の合成樹脂からなる部材同士が一体的に成形された射出成形体の成形方法、並びにそれを実現する射出成形装置に関する。
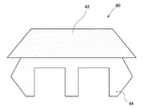
従来より、異なる種類の合成樹脂からなる部材同士が一体的に成形された射出成形体が実用に供されている。例えば、図4に示すホールプラグ60は、柔軟性のある合成樹脂からなる皿状のシール部62と、その裏面側に位置する、剛性のある合成樹脂からなる嵌合部64とを備えており、自動車等のボデーにあけられた貫通孔などを密閉する用途に供されている。
このような射出成形体を成形するには、ターンテーブル式や直線往復式(特許文献1)に代表されるように、移動機構によって2つの固定型の間を移動可能な1つの可動型を構成し、それを順次移動させて各合成樹脂の射出を行うといった方法が通常用いられている。
特開2000−94488号公報 特開2002−103376号公報
しかしながら、上記のような射出成形方法では、2つの固定型、1つの可動型及びそれを移動させる移動機構が必要となるため、それを実現する装置が粗大なものとなってしまうといった問題がある。また、可動金型の型締め/型開き動作に加えて、2つの固定金型間の移動が必要なため、一つの製品が完成するまでに要する時間が長くなるといった問題もある。
また、特許文献2では、そのような移動機構を用いずに、金型の一つのキャビティに対して多種類の合成樹脂材を順次射出する技術が開示されているが、得られる製品において樹脂材同士の界面形状が安定しない等の問題がある。
本発明は、上記課題に鑑みて為されたものであり、異なる種類の合成樹脂からなる部材同士が一体的に成形された射出成形体を良好かつ容易に得ることが可能な射出成形体の成形方法、並びにそれを実現する射出成形装置を提供することを目的とする。
課題を解決するための手段・発明の効果
上記課題を解決するため、本発明の射出成形体の成形方法は、異なる種類の合成樹脂からなる部材同士が一体的に成形された射出成形体の成形方法であって、第一成形面を有する第一金型を壁体に圧接し、該第一成形面及び該壁体の壁面により構成されるキャビティ内に第一の合成樹脂を射出して第一部材を成形する第一射出工程と、前記第一金型と前記壁体との圧接を解除し、該第一金型側に前記第一部材を残しつつ、該壁体を退避させる壁体退避工程と、前記第一金型と第二成形面を有する第二金型とを型締めし、前記第一成形面及び該第二成形面により構成されるキャビティ内に第二の合成樹脂を射出して、第二部材を該キャビティ内の前記第一部材と一体的に成形する第二射出工程と、この順に行うことを特徴とする。
また、本発明の射出成形装置は、異なる種類の合成樹脂からなる部材同士が一体的に成形された射出成形体を得ることが可能な射出成形装置であって、第一成形面を有する第一金型と、第二形成面を有する第二金型と、壁体とを備え、さらに、前記第一金型を前記壁体に圧接した状態で、前記第一成形面及び該壁体の壁面により構成されるキャビティ内に第一の合成樹脂を射出して第一部材を成形するための第一射出ユニットと、前記第一金型と前記壁体との圧接を解除した状態で、該第一金型側に前記第一部材を残しつつ、該壁体を退避させるための壁体進退手段と、前記第一金型と前記第二金型とを型締めした状態で、前記第一成形面及び前記第二成形面により構成されるキャビティ内に第二の合成樹脂を射出して、第二部材を該キャビティ内の前記第一部材と一体的に成形するための第二射出ユニットと、を備えることを特徴とする。
上記本発明によると、射出成形体の一部となる第一部材の成形を第一金型及び壁体により行い、他の一部となる第二部材の成形を該第一金型及び第二金型により行う。すなわち、金型は一対で足り、壁体のみの移動で2つの部材を一体的に成形することができるので、装置の肥大化や成形時間の短縮を図ることが可能となる。また、第一成形体と第二成形体とは個別に成形されているため、界面形状が安定しない等の問題が生じることもない。
次に、上記の射出成形体の成形方法及び射出成形装置において、第一金型の壁体への圧接は、当該壁体を挟むように第一金型と第二金型とを型締めすることにより行うことができる。このように構成することで、第一金型の壁体への圧接を安定して行うことができるとともに、第一金型と第二金型との型締め/型開きの動作を利用して第一金型の壁体への圧接を行うことができるので、装置の肥大化や成形時間の短縮を図ることが可能となる。
以下、本発明の実施の形態を説明する。図1は、射出成形装置1の構成を表した概略図である。この射出成形装置1は、大別して、金型14を開閉するための型締ユニット12と、それぞれ異なる種類の合成樹脂を射出するための第一射出ユニット42及び第二射出ユニット26、開いた状態の金型14の間に壁体を介挿することが可能な壁体進退ユニット9によって構成されている。
まず、型締ユニット12について説明する。金型14は、第一金型14aと第二金型14bとからなり、少なくとも一方が可動型とされる。本実施形態では、第一金型14aが可動型、第二金型14bが固定型とされている。第二金型14bは、フレーム10のほぼ中間位置に配置されているプラテン18に取り付けられている。第一金型14aは、ボールネジ22の回転によって往復移動する型締プレート20に取り付けられている。この型締プレート20の移動によって、第一金型14aが第二金型14bに接近して型締めされ、あるいは第二金型14bから離間して型開きされる。すなわち、第一金型14aは、型締め及び型開きを行う一軸方向にのみ可動とされている。なお、ボールネジ22は、例えば型締プレート20の対角位置において1本ずつ計2本あり、それぞれの一端部に固定されているプーリ24にモータ(図示せず)の回転が伝えられて互いに同期回転する。
次に、第一射出ユニット42及び第二射出ユニット26について説明する。本実施形態においては、後述するホールプラグ60を成形するため、第一射出ユニット42から射出される第一の合成樹脂Bとしてポリプロピレン(PP)を、第二射出ユニット26から射出される第二の合成樹脂Aとしてエラストマー樹脂を用いている。
第一射出ユニット42のバレル44は、型締プレート20に装着されており、そのプランジャ48の基端部は、ボールネジ50の回転によって往復移動する射出プレート46に固定されている。このバレル44の内部には、プランジャ形式の可塑化機構52から溶融状態のポリプロピレン樹脂材Bが供給される。この可塑化機構52に対しては、上部のホッパー54からチップ状の樹脂材料が投入される。
第二射出ユニット26のバレル28は、プラテン18に装着されており、そのプランジャ32の基端部は、ボールネジ34の回転によって往復移動する射出プレート30に固定されている。また、バレル28の内部には、スクリュー形式の定量可塑化機構38から一回につき一定量のエラストマー樹脂材Aが溶融状態で供給されるようになっている。この定量可塑化機構38に対しては、その上部のホッパー40からチップ状の樹脂材料が投入される。
なお、両射出ユニット26,42におけるボールネジ34,50についても、例えば射出プレート30,46の対角位置において1本ずつ計2本あり、これらの一端部に固定されているプーリ36,51にモータ(図示せず)の回転が伝えられる。
また、両射出ユニット26,42におけるバレル28,44のうち、少なくともそれぞれの樹脂材A,Bを受け入れる個所からノズル先端までの間は電気ヒータなどによって加熱される。これにより両射出ユニット26,42によってキャビティに充填されるまでの樹脂材A,Bを溶融状態に保っている。
次に、壁体進退ユニットについて説明する。壁体9は、エアシリンダや油圧シリンダ等のアクチュエータ95によって第一金型14aと第二金型14bとの型締め方向と直交する方向にそれぞれ進退可能に構成された複数の壁部91,92からなる。そして、壁体9は、第一金型14aと第二金型14bとの間に介挿可能で、且つ、これらの型締めによって後述のように挟まれる位置に配置されている。具体的には、壁体進退ユニットは、壁体9を構成する壁部91,92が、第二金型14bの第二形成面82を有している側に隣接する位置において開閉するように構成されている。
金型14は、図2及び3の拡大図に示すように、第一射出ユニット42におけるバレル44の先端ノズルが第一金型14aを貫通してゲート16aを通じて第一成形面81に連通しており、また同様に、第二射出ユニット26におけるバレル28の先端ノズルも第二金型14bを貫通してゲート16bを通じて第二成形面16bに連通している。すなわち、両射出ユニット26,42はそれぞれ、キャビティに対し、樹脂材A,Bを個別のゲート16a,16bを通じて直接に射出することができる。このようにキャビティに対して両射出ユニット26,42から個別のゲート16a,16bを通じて直接に樹脂材A,Bを射出することにより、従来の射出成形におけるランナーやスプルを廃止できる。結果として、これらのランナーやスプルに充填されたままで固化する樹脂材の無駄な消費を避けることができ、かつこれを型開きの度に取り除く手間が不要となる。
以上の射出成形装置1の詳細な機能を、本発明の射出成形体の成形方法の一実施態様とともに説明する。図2及び3は、図1の射出成形装置1の第一金型14a、第二金型14b及び壁体91,92の部分を拡大したものであり、成形工程を順に表す図である。
(第一射出工程)
まず、図2の工程1に示すように、第一金型14aの第一成形面81を有する側を壁体9に圧接し、第一成形面81及び壁体9の壁面によってキャビティC1を形成する。かかる第一金型14aの壁体9への圧接は、当該壁体9を挟むように第一金型14aと第二金型14bとを型締めすることにより行われる。詳しくは、図1に示す型締ユニット12の駆動制御により、型締プレート20と第一金型14aとをプラテン18に向かって移動させ、壁体9を第二金型14b側に押し付けることにより圧接を行う。なお、この型締プレート20とともに第一射出ユニット42も移動する。
そして、工程2に示すように、第一成形面81及び壁体9の壁面によって構成されたキャビティC1内にPP樹脂材Bを射出して第一部材64を成形する。第一部材64は、本実施形態では図4のホールプラグ60の嵌合部64となる。具体的には、図1に示す第一射出ユニット42により、可塑化機構52からバレル44に供給された定量のPP樹脂材Bをゲート16aからキャビティC1内に対して直接に射出する。
(壁体退避工程)
次に、所定の冷却工程を経た後、図2の工程3に示すように第一金型14aと壁体9との圧接を解除する。圧接の解除は、第一金型14aを型開きの方向に一定量移動、すなわち第一金型14aを型締プレート20とともにプラテン18から離れる方向に一定量移動させることによって行うことができる。また、型締ユニット12により印加されている型締め力を単に抜くだけでもよい。なお、かかる圧接の解除に際しては、第一部材64は、第一金型14a側に保持されて、壁体9から剥離する。
そして、図1のアクチュエータ95により壁体9を退避させる。壁体9の退避は、第一金型14aの該壁体9への圧接方向、すなわち型締め方向と直交する方向に行う。詳しくは、壁体9を構成する複数の壁部91,92は、第一金型14aと第二金型14bの間からそれぞれ離隔する向きに退避する。すなわち、複数の壁部91,92は、第一金型14aと第二金型14bの間で開閉するようにアクチュエータ95によって移動可能に構成されている。
(第二射出工程)
次に、図3の工程4に示すように、第一金型14aを移動させて第二金型14bと直接型締めさせる。これも上記と同様に、図1に示す型締ユニット12の駆動制御により、型締プレート20と第一金型14aとをプラテン18に向かって移動させることで行う。第一金型14aと第二金型14bとが型締めされることで、第一成形面81及び第二金型14bによりキャビティC2が構成される。なお、このキャビティC2内には、工程2にて成形された第一部材64が第一金型14a側に保持されている。
そして、工程5に示すように、第二射出ユニット26により、その定量可塑化機構38からバレル28に供給された定量のエラストマー樹脂材Aをゲート16aからキャビティC2内に直接に射出して、第二部材62を第一部材64と一体的に成形する。第二部材62は、本実施形態では図4のホールプラグ60のシール部62となり、これによりキャビティC2内にて射出成形体(ホールプラグ)60が形成される。
以上の射出成形が完了したら、所定の冷却工程を経た後、型締ユニット12によって金型14を型開きして、射出成形体60を図示しないエジェクタピン等によって取り出す。この型開きの場合も、型締プレート20とともに第一金型14aがプラテン18から離れる方向に移動し、かつ射出ユニット42も型締プレート20とともに移動する。
図4に、上記成形方法により得られる射出成形体60の一例の断面図を示す。これは自動車等のボデーにあけられた貫通孔などを密閉しておくためのホールプラグ60であって、皿形状をしたシール部62と、その裏面側に位置する嵌合部64を備えている。ホールプラグ60は、シール部62が柔軟性のあるエラストマー樹脂により構成され、嵌合部64が剛性のあるポリプロピレン(PP)により構成されている。そして、この嵌合部64を対象となる孔に挿入することによりホールプラグ60を保持させるとともに、シール部62をボデー表面に密着させることで当該孔を密閉するのである。
射出成形装置の構成を表わす概略図 射出成形装置を用いた製造工程を表す図 図2に続く図 射出成形装置により得られる射出成形体をあらわす図
符号の説明
1 射出成形装置
14 金型
14a 第一金型(可動型)
14b 第二金型(固定型)
81 第一成形面
82 第二成形面
42 第一射出ユニット
26 第二射出ユニット
9 壁体
12 型締ユニット

Claims (9)

  1. 異なる種類の合成樹脂からなる部材同士が一体的に成形された射出成形体の成形方法であって、
    第一成形面を有する第一金型を壁体に圧接し、該第一成形面及び該壁体の壁面により構成されるキャビティ内に第一の合成樹脂を射出して第一部材を成形する第一射出工程と、
    前記第一金型と前記壁体との圧接を解除し、該第一金型側に前記第一部材を残しつつ、該壁体を退避させる壁体退避工程と、
    前記第一金型と第二成形面を有する第二金型とを型締めし、前記第一成形面及び該第二成形面により構成されるキャビティ内に第二の合成樹脂を射出して、第二部材を該キャビティ内の前記第一部材と一体的に成形する第二射出工程と、
    をこの順に行うことを特徴とする射出成形体の成形方法。
  2. 前記第一射出工程において、前記第一金型の前記壁体への圧接は、当該壁体を挟むように前記第一金型と前記第二金型とを型締めすることにより行われることを特徴とする請求項1に記載の射出成形体の成形方法。
  3. 異なる種類の合成樹脂からなる部材同士が一体的に成形された射出成形体を得ることが可能な射出成形装置であって、
    第一成形面を有する第一金型と、第二形成面を有する第二金型と、壁体とを備え、さらに、
    前記第一金型を前記壁体に圧接した状態で、前記第一成形面及び該壁体の壁面により構成されるキャビティ内に第一の合成樹脂を射出して第一部材を成形するための第一射出ユニットと、
    前記第一金型と前記壁体との圧接を解除した状態で、該第一金型側に前記第一部材を残しつつ、該壁体を退避させるための壁体進退手段と、
    前記第一金型と前記第二金型とを型締めした状態で、前記第一成形面及び前記第二成形面により構成されるキャビティ内に第二の合成樹脂を射出して、第二部材を該キャビティ内の前記第一部材と一体的に成形するための第二射出ユニットと、
    を備えることを特徴とする射出成形装置。
  4. 前記第一金型の前記壁体への圧接は、当該壁体を挟むように前記第一金型と前記第二金型とを型締めすることにより行われることを特徴とする請求項3に記載の射出成形装置。
  5. 前記第一金型及び前記第二金型の少なくとも一方が可動型とされ、且つ、型締め及び型開きを行う一軸方向にのみ可動であることを特徴とする請求項3または4に記載の射出成形装置。
  6. 前記第一金型が可動型であり、前記第二金型が固定型であることを特徴とする請求項5に記載の射出成形装置。
  7. 前記壁体は、前記第一金型の該壁体への圧接方向と直交する方向に退避することを特徴とする請求項3ないし6のいずれか1項に記載の射出成形装置。
  8. 前記壁体は、前記第一金型と前記第二金型との型締め方向と直交する方向に退避することを特徴とする請求項3ないし7のいずれか1項に記載の射出成形装置。
  9. 前記壁体は、複数の壁部からなり、それぞれの壁部が前記第一金型と前記第二金型との間から離隔する向きに退避することを特徴とする請求項7または8に記載の射出成形装置。
JP2006013211A 2006-01-20 2006-01-20 射出成形体の成形方法、並びに射出成形装置 Expired - Fee Related JP4771812B2 (ja)

Priority Applications (1)

Application Number Priority Date Filing Date Title
JP2006013211A JP4771812B2 (ja) 2006-01-20 2006-01-20 射出成形体の成形方法、並びに射出成形装置

Applications Claiming Priority (1)

Application Number Priority Date Filing Date Title
JP2006013211A JP4771812B2 (ja) 2006-01-20 2006-01-20 射出成形体の成形方法、並びに射出成形装置

Publications (2)

Publication Number Publication Date
JP2007190871A true JP2007190871A (ja) 2007-08-02
JP4771812B2 JP4771812B2 (ja) 2011-09-14

Family

ID=38446919

Family Applications (1)

Application Number Title Priority Date Filing Date
JP2006013211A Expired - Fee Related JP4771812B2 (ja) 2006-01-20 2006-01-20 射出成形体の成形方法、並びに射出成形装置

Country Status (1)

Country Link
JP (1) JP4771812B2 (ja)

Cited By (4)

* Cited by examiner, † Cited by third party
Publication number Priority date Publication date Assignee Title
JP2009143015A (ja) * 2007-12-11 2009-07-02 Denso Corp 金型装置
JP2013086369A (ja) * 2011-10-18 2013-05-13 Inoac Corp 樹脂成形品およびその製造方法
CN105729727A (zh) * 2016-04-22 2016-07-06 佛山伊之密精密橡胶机械有限公司 双物料立式注射成型设备
CN117774243A (zh) * 2024-02-28 2024-03-29 杭州中好电子有限公司 一种汽车充电枪壳体注塑成型后自动取出设备

Cited By (5)

* Cited by examiner, † Cited by third party
Publication number Priority date Publication date Assignee Title
JP2009143015A (ja) * 2007-12-11 2009-07-02 Denso Corp 金型装置
JP2013086369A (ja) * 2011-10-18 2013-05-13 Inoac Corp 樹脂成形品およびその製造方法
CN105729727A (zh) * 2016-04-22 2016-07-06 佛山伊之密精密橡胶机械有限公司 双物料立式注射成型设备
CN117774243A (zh) * 2024-02-28 2024-03-29 杭州中好电子有限公司 一种汽车充电枪壳体注塑成型后自动取出设备
CN117774243B (zh) * 2024-02-28 2024-05-07 杭州中好电子有限公司 一种汽车充电枪壳体注塑成型后自动取出设备

Also Published As

Publication number Publication date
JP4771812B2 (ja) 2011-09-14

Similar Documents

Publication Publication Date Title
JP2006289466A (ja) 射出成形装置およびその成形制御方法
JP3185197B2 (ja) 射出成形方法
JP4771812B2 (ja) 射出成形体の成形方法、並びに射出成形装置
CN100509346C (zh) 树脂模制机
JP2002337183A (ja) 3層積層体の成形方法および成形用金型
JP2010105168A (ja) 多材射出成形装置および多材射出成形方法ならびに多材射出成形金型
JP4261473B2 (ja) 成形方法及び成形機
JP3131474B2 (ja) 樹脂モールド方法
JP2014097591A (ja) インサート成形装置
EP1768166A2 (en) Method of resin-seal molding electronic component and apparatus therefor
US7998395B2 (en) Method for injection molding of hollow articles of plastic material
JP4220799B2 (ja) 複数材成形機及び複数材成形方法
JP4827946B2 (ja) 多材質射出成形機および多材質射出成形機の制御方法
JP3615650B2 (ja) ガスアシスト射出成形法及びガスアシスト射出成形装置
JP2001334559A (ja) アンダーカット部を有する椀状物品の射出成形方法
JP3755399B2 (ja) 型内被覆成形用金型
US20010045688A1 (en) Motor controlled mold pin actuator
JP2008221656A (ja) 樹脂成形品の製造方法及び樹脂成形装置
KR100545756B1 (ko) 사출 성형기의 성형품 취출장치
US20060240142A1 (en) Clamping apparatus for injection molding machine
JP3258196B2 (ja) 射出成形機の制御装置
JP3701229B2 (ja) 射出成形装置
JP3007851B2 (ja) 樹脂成形方法及び樹脂成形装置
JP2001079911A (ja) 射出成形機における型締装置及びその作動制御方法
JP2009012253A (ja) 射出圧縮成形による平板状の成形品を成形する金型装置およびその成形方法

Legal Events

Date Code Title Description
A621 Written request for application examination

Free format text: JAPANESE INTERMEDIATE CODE: A621

Effective date: 20090116

A977 Report on retrieval

Free format text: JAPANESE INTERMEDIATE CODE: A971007

Effective date: 20110530

TRDD Decision of grant or rejection written
A01 Written decision to grant a patent or to grant a registration (utility model)

Free format text: JAPANESE INTERMEDIATE CODE: A01

Effective date: 20110603

A01 Written decision to grant a patent or to grant a registration (utility model)

Free format text: JAPANESE INTERMEDIATE CODE: A01

A61 First payment of annual fees (during grant procedure)

Free format text: JAPANESE INTERMEDIATE CODE: A61

Effective date: 20110621

FPAY Renewal fee payment (prs date is renewal date of database)

Free format text: PAYMENT UNTIL: 20140701

Year of fee payment: 3

R150 Certificate of patent (=grant) or registration of utility model

Free format text: JAPANESE INTERMEDIATE CODE: R150

LAPS Cancellation because of no payment of annual fees