JP2007176008A - 液体噴射装置及び液体噴射装置のワイピング方法 - Google Patents
液体噴射装置及び液体噴射装置のワイピング方法 Download PDFInfo
- Publication number
- JP2007176008A JP2007176008A JP2005377153A JP2005377153A JP2007176008A JP 2007176008 A JP2007176008 A JP 2007176008A JP 2005377153 A JP2005377153 A JP 2005377153A JP 2005377153 A JP2005377153 A JP 2005377153A JP 2007176008 A JP2007176008 A JP 2007176008A
- Authority
- JP
- Japan
- Prior art keywords
- unit
- restoration
- wiping
- wiper
- liquid ejecting
- Prior art date
- Legal status (The legal status is an assumption and is not a legal conclusion. Google has not performed a legal analysis and makes no representation as to the accuracy of the status listed.)
- Withdrawn
Links
- 239000007788 liquid Substances 0.000 title claims abstract description 47
- 238000000034 method Methods 0.000 title claims description 7
- 230000001629 suppression Effects 0.000 claims description 25
- 230000015572 biosynthetic process Effects 0.000 claims description 6
- 238000007599 discharging Methods 0.000 claims description 4
- 238000010586 diagram Methods 0.000 description 4
- 230000006837 decompression Effects 0.000 description 2
- 238000004519 manufacturing process Methods 0.000 description 2
- 238000000018 DNA microarray Methods 0.000 description 1
- 239000006096 absorbing agent Substances 0.000 description 1
- 239000011358 absorbing material Substances 0.000 description 1
- 238000005452 bending Methods 0.000 description 1
- 238000011109 contamination Methods 0.000 description 1
- 239000007772 electrode material Substances 0.000 description 1
- 230000002401 inhibitory effect Effects 0.000 description 1
- 239000004973 liquid crystal related substance Substances 0.000 description 1
- 239000000463 material Substances 0.000 description 1
- 239000005416 organic matter Substances 0.000 description 1
Images
Landscapes
- Ink Jet (AREA)
Abstract
【課題】ワイパ部の急激な復元を抑制する復元抑制部に液体等が蓄積することを防ぎ、ターゲットが汚れることを未然に防ぐことができる液体噴射装置等を提供すること。
【解決手段】ターゲット200に液体を吐出するノズルを有するノズル形成部111を備える液体噴射ヘッド110と、ノズル形成部に当接して変形することで、ノズル形成部を払拭するワイパ部140と、ノズル形成部の近傍に配置されると共に、ワイパ部の復元を抑制する復元抑制部150と、を有し、ワイパ部は、ノズル形成部を払拭し、復元抑制部に達した後、復元抑制部を払拭する構成である液体噴射装置100。
【選択図】図8
【解決手段】ターゲット200に液体を吐出するノズルを有するノズル形成部111を備える液体噴射ヘッド110と、ノズル形成部に当接して変形することで、ノズル形成部を払拭するワイパ部140と、ノズル形成部の近傍に配置されると共に、ワイパ部の復元を抑制する復元抑制部150と、を有し、ワイパ部は、ノズル形成部を払拭し、復元抑制部に達した後、復元抑制部を払拭する構成である液体噴射装置100。
【選択図】図8
Description
本発明は、ターゲットに対して液体を噴射する液体噴射装置及び液体噴射装置のワイピング方法に関するものである。
従来より、液体噴射装置である例えば、インクジェット式記録装置には、インクジェット式記録ヘッドが備えられている。また、このインクジェット式記録ヘッドは、近接して配置される記録用紙等にインクを吐出するためのノズルが多数形成されているノズルプレートを有している。
このようなノズルからインクが吐出されると、ノズルプレートと記録用紙等が近接しているため、記録用紙等と衝突した際にインクが飛び散り、インクがノズルプレートに付着することがある。
このようにインクがノズルプレートに付着した状態で、インクジェット式記録ヘッドが印字等を行うためノズルからインクを吐出すると、吐出されたインクが、この付着インクに当接等して、正しい位置にインクが着弾しない、いわゆる「飛行曲がり」が生じ、インクの吐出不良が生じるという問題がある。
そこで、このようにノズルプレートに付着したインクを払拭するためワイパーブレードを有するワイピング装置が用いられている。
このようなノズルからインクが吐出されると、ノズルプレートと記録用紙等が近接しているため、記録用紙等と衝突した際にインクが飛び散り、インクがノズルプレートに付着することがある。
このようにインクがノズルプレートに付着した状態で、インクジェット式記録ヘッドが印字等を行うためノズルからインクを吐出すると、吐出されたインクが、この付着インクに当接等して、正しい位置にインクが着弾しない、いわゆる「飛行曲がり」が生じ、インクの吐出不良が生じるという問題がある。
そこで、このようにノズルプレートに付着したインクを払拭するためワイパーブレードを有するワイピング装置が用いられている。
図9は、このような構成となっている従来のインクジェット式記録ヘッド10のノズルプレート11とワイパーブレード12との関係を示す概略説明図である。
図9に示すように、ワイパーブレード12は、弾性体より成るため、ノズルプレート11に当接すると、図9の左側のワイパーブレード12aのように、屈曲させられ、その際に生じる復元力で付着インク13を払拭する構成となっている。
そして、ワイパーブレード12aが図において右側に移動すると、やがてワイパーブレード12はノズルプレート11と当接が解除され図9のワイパーブレード12bの位置に配置される。
このようにワイパーブレード12がノズルプレート22から離れる際、ワイパーブレード12は、その復元力で元の状態に戻ろうとするため、急激な変形が生じ、付着インク等を飛散させ、インクジェット式記録装置内を汚すという問題があった。
図9に示すように、ワイパーブレード12は、弾性体より成るため、ノズルプレート11に当接すると、図9の左側のワイパーブレード12aのように、屈曲させられ、その際に生じる復元力で付着インク13を払拭する構成となっている。
そして、ワイパーブレード12aが図において右側に移動すると、やがてワイパーブレード12はノズルプレート11と当接が解除され図9のワイパーブレード12bの位置に配置される。
このようにワイパーブレード12がノズルプレート22から離れる際、ワイパーブレード12は、その復元力で元の状態に戻ろうとするため、急激な変形が生じ、付着インク等を飛散させ、インクジェット式記録装置内を汚すという問題があった。
そこで、このようなワイパーブレード12の急激な変形を抑えるための提案がなされている(例えば、特許文献1)。
この特許文献1では、図10に示すような緩斜面14がインクジェット式記録ヘッド10を保持するキャリッジ15に形成されている。図10は、従来の緩斜面等を示す概略説明図である。
すなわち、図10に示すように、ノズルプレート11から外れたワイパーブレード12は、緩斜面14に当接するため急激な変形が回避される構成となっている。
特開2002−160377号公報(図5等)
この特許文献1では、図10に示すような緩斜面14がインクジェット式記録ヘッド10を保持するキャリッジ15に形成されている。図10は、従来の緩斜面等を示す概略説明図である。
すなわち、図10に示すように、ノズルプレート11から外れたワイパーブレード12は、緩斜面14に当接するため急激な変形が回避される構成となっている。
しかし、特許文献1に示すような構成を採用した場合、図10の緩斜面14にワイパーブレード12を介して付着インク13が残存してしまうというおそれがあった。
このように緩斜面14に付着インクが溜まると、インクジェット式記録ヘッド10が記録用紙等に印字等をする際に、付着インクが記録用紙等に接触し、記録用紙等を汚してしまうという問題があった。
このように緩斜面14に付着インクが溜まると、インクジェット式記録ヘッド10が記録用紙等に印字等をする際に、付着インクが記録用紙等に接触し、記録用紙等を汚してしまうという問題があった。
そこで、本発明は、ワイパ部(例えば、ワイパーブレード等)の急激な復元を抑制する復元抑制部(例えば緩斜面等)に液体等が蓄積することを防ぎ、ターゲット(例えば、記録用紙等)が汚れることを未然に防ぐことができる液体噴射装置及び液体噴射装置のワイピング方法を提供することを目的とする。
前記目的は、本発明によれば、ターゲットに液体を吐出するノズルを有するノズル形成部を備える液体噴射ヘッドと、前記ノズル形成部に当接して変形することで、前記ノズル形成部を払拭するワイパ部と、前記ノズル形成部の近傍に配置されると共に、前記ワイパ部の復元を抑制する復元抑制部と、を有し、前記ワイパ部は、前記ノズル形成部を払拭し、前記復元抑制部に達した後、前記復元抑制部を払拭する構成となっていることを特徴とする液体噴射装置により達成される。
前記構成によれば、ノズル形成部に当接して変形することで、ノズル形成部を払拭するワイパ部と、ノズル形成部の近傍に配置されると共に、ワイパ部の復元を抑制する復元抑制部と、を有している。
このため、ノズル形成部を払拭したワイパ部は、ノズル形成部の次に復元抑制部に当接するため、変形したワイパ部が急激に復元することなく、徐々に復元する。したがって、ノズル形成部から拭き取った付着インク等が飛散し、液体噴射装置内が汚れることを未然に防ぐことができる。
また、前記構成によれば、ワイパ部は、ノズル形成部を払拭し、復元抑制部に達した後、復元抑制部を払拭する構成となっている。
このため、ワイパ部によって復元抑制部に付着させられた付着インク等も、ワイパ部によって払拭されるので、復元抑制部に付着インク等が蓄積することを防ぐことができ、記録用紙等のターゲットが汚れることを未然に防ぐことができる。
このため、ノズル形成部を払拭したワイパ部は、ノズル形成部の次に復元抑制部に当接するため、変形したワイパ部が急激に復元することなく、徐々に復元する。したがって、ノズル形成部から拭き取った付着インク等が飛散し、液体噴射装置内が汚れることを未然に防ぐことができる。
また、前記構成によれば、ワイパ部は、ノズル形成部を払拭し、復元抑制部に達した後、復元抑制部を払拭する構成となっている。
このため、ワイパ部によって復元抑制部に付着させられた付着インク等も、ワイパ部によって払拭されるので、復元抑制部に付着インク等が蓄積することを防ぐことができ、記録用紙等のターゲットが汚れることを未然に防ぐことができる。
好ましくは、前記ワイパ部が前記ノズル形成部を払拭する方向であるノズル払拭方向と、前記ワイパ部が前記復元抑制部を払拭する方向である復元抑制部払拭方向と、が反対方向となっていることを特徴とする液体噴射装置である。
前記構成によれば、ワイパ部がノズル形成部を払拭する方向であるノズル払拭方向と、ワイパ部が復元抑制部を払拭する方向である復元抑制部払拭方向と、が反対方向となっている。
このため、ワイパ部はノズル形成部の払拭が終わった後、その位置から逆方向に移動することで、復元抑制部を払拭することができる。
すなわち、ワイパ部はノズル形成部の払拭が終わった後、改めて復元抑制部を払拭するための位置に配置し直すことなく、その位置から逆方向に移動することで復元払拭部を払拭することができるので、効率的に復元払拭部を払拭することができる。
このため、ワイパ部はノズル形成部の払拭が終わった後、その位置から逆方向に移動することで、復元抑制部を払拭することができる。
すなわち、ワイパ部はノズル形成部の払拭が終わった後、改めて復元抑制部を払拭するための位置に配置し直すことなく、その位置から逆方向に移動することで復元払拭部を払拭することができるので、効率的に復元払拭部を払拭することができる。
好ましくは、前記ワイパ部が前記復元抑制部払拭方向に払拭する復元抑制部払拭動作が複数回行われる構成となっていることを特徴とする液体噴射装置である。
前記構成によれば、ワイパ部が復元抑制部払拭方向に払拭する復元抑制部払拭動作が複数回行われる構成となっているので、より確実に復元抑制部に付着した付着インク等を除去することができる。
好ましくは、前記複数回行われる前記復元抑制部払拭動作毎に前記復元抑制部の払拭範囲が異なる構成となっていることを特徴とする液体噴射装置である。
前記構成によれば、複数回行われる復元抑制部払拭動作毎に復元抑制部の払拭範囲が異なる構成となっている。
このため、前回の復元抑制部払拭動作で払拭しなかった部分を、次の復元抑制部払拭動作で払拭することで、より緻密且つ確実に復元抑制部に付着した付着インク等を除去することができる。
このため、前回の復元抑制部払拭動作で払拭しなかった部分を、次の復元抑制部払拭動作で払拭することで、より緻密且つ確実に復元抑制部に付着した付着インク等を除去することができる。
好ましくは、前記復元抑制部払拭動作で、前記ワイパ部が前記復元抑制部における移動を停止する構成となっていることを特徴とする液体噴射装置である。
前記構成によれば、復元抑制部払拭動作で、ワイパ部が復元抑制部における移動を停止する構成となっている。
すなわち、ワイパ部が復元抑制部の移動を停止すると、復元抑制部上の付着インク等は、ワイパ部を介して復元抑制部から移動する。このため、復元抑制部の付着インクをより効果的に除去することができる。
すなわち、ワイパ部が復元抑制部の移動を停止すると、復元抑制部上の付着インク等は、ワイパ部を介して復元抑制部から移動する。このため、復元抑制部の付着インクをより効果的に除去することができる。
好ましくは、前記液体噴射ヘッドはカバーヘッド部により位置決めされる構成となっており、前記復元抑制部払拭動作で前記ワイパ部が前記復元抑制部及び前記カバーヘッド部を払拭する構成となっていることを特徴とする液体噴射装置である。
前記構成によれば、復元抑制部払拭動作でワイパ部が復元抑制部及びカバーヘッド部を払拭する構成となっている。
このため、カバーヘッド部に付着している付着インク等も払拭し除去することができる。
このため、カバーヘッド部に付着している付着インク等も払拭し除去することができる。
前記課題は、本発明によれば、ターゲットに液体を吐出するノズルを有するノズル形成部を備える液体噴射ヘッドと、前記ノズル形成部に当接して変形することで、前記ノズル形成部を払拭するワイパ部と、前記ノズル形成部の近傍に配置されると共に、前記ワイパ部の復元を抑制する復元抑制部と、を有する液体噴射装置のワイピング方法であって、前記ワイパ部が、前記ノズル形成部を払拭し、前記復元抑制部に達した後、前記復元抑制部を払拭することを特徴とする液体噴射装置のワイピング方法により達成される。
以下、この発明の好適な実施の形態を添付図面等を参照しながら、詳細に説明する。
尚、以下に述べる実施の形態は、本発明の好適な具体例であるから、技術的に好ましい種々の限定が付されているが、本発明の範囲は、以下の説明において特に本発明を限定する旨の記載がない限り、これらの態様に限られるものではない。
尚、以下に述べる実施の形態は、本発明の好適な具体例であるから、技術的に好ましい種々の限定が付されているが、本発明の範囲は、以下の説明において特に本発明を限定する旨の記載がない限り、これらの態様に限られるものではない。
図1は本発明の液体噴射装置の実施の形態にかかるインクジェット式記録装置(以下「記録装置」という)100を示す概略斜視図である。
図1に示すように、記録装置100は、キャリッジ101を有し、このキャリッジ101はキャリッジモータ102により駆動されるタイミングベルト103を介し、ガイド部材104に案内されてプラテン105の軸方向に往復移動されるように構成されている。
図1に示すように、記録装置100は、キャリッジ101を有し、このキャリッジ101はキャリッジモータ102により駆動されるタイミングベルト103を介し、ガイド部材104に案内されてプラテン105の軸方向に往復移動されるように構成されている。
図1のキャリッジ101の記録用紙200に対向する側には、後述する液体噴射ヘッドである例えば、インクジェット式記録ヘッド(以下「記録ヘッド」という)110が搭載され、その上部には、記録ヘッド110に液体である例えば、インクを供給するブラックインクカートリッジ106及びカラー用インクカートリッジ107が着脱可能に装填されている。
そして、この記録用紙200は、インクの吐出で印字等されるため、図1の印字領域Pに配置される。
また、図1に示すように、ターゲットである例えば、記録用紙200が配置されないホームポジションH(非印字領域)には、キャッピング手段120、吸引ポンプ130そして、ワイパ部である例えば、ワイピング部140が配置されている。
そして、この記録用紙200は、インクの吐出で印字等されるため、図1の印字領域Pに配置される。
また、図1に示すように、ターゲットである例えば、記録用紙200が配置されないホームポジションH(非印字領域)には、キャッピング手段120、吸引ポンプ130そして、ワイパ部である例えば、ワイピング部140が配置されている。
図2は、ワイピング部140を示す概略図である。図2に示すように、ワイピング部140は、相互に貼り合わされているゴム板等の弾性板41とインク吸収材142とを有すると共に、これらを取り付けるためのレバー143を有している。
また、キャリッジ102と共に記録ヘッド110が、ワイピング部140上を移動する際に、ワイピング部140は記録ヘッド110のノズル形成面である例えば、ノズルプレート111に当接するように、図3の矢印Z方向に上昇する構成となっている。
また、ワイピング部140は、記録用紙200の送り方向である図1及び図2の矢印Y方向に水平移動可能な構成となっている。
このように、ノズルプレート111は、記録ヘッド110にインクを吐出するノズルを有するノズル形成部の一例となっている。
また、キャリッジ102と共に記録ヘッド110が、ワイピング部140上を移動する際に、ワイピング部140は記録ヘッド110のノズル形成面である例えば、ノズルプレート111に当接するように、図3の矢印Z方向に上昇する構成となっている。
また、ワイピング部140は、記録用紙200の送り方向である図1及び図2の矢印Y方向に水平移動可能な構成となっている。
このように、ノズルプレート111は、記録ヘッド110にインクを吐出するノズルを有するノズル形成部の一例となっている。
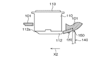
図3は、図1のキャリッジ101に搭載される記録ヘッド110を示す概略図である。図3に示すように記録ヘッド110の図の下面であるノズルプレート111側には、ノズルプレート111を固定するカバーヘッド部であるカバーヘッド112が配置されている。
また、このカバーヘッド112の図の左側端部にはカバーヘッド傾斜面112aが形成されている、記録ヘッド110の上部には、駆動振動を発生する回路基板113が形成されている。
また、このカバーヘッド112の図の左側端部にはカバーヘッド傾斜面112aが形成されている、記録ヘッド110の上部には、駆動振動を発生する回路基板113が形成されている。
図4は、カバーヘッド112を示す概略斜視図である。図4に示すように、カバーヘッド112は、上面に開放する浅箱状で、図3のノズルプレート111に対応する底面にノズルを露呈させる窓部112bが形成されている。
すなわち、記録ヘッド110はカバーヘッド112により位置決めされる構成となっている。
すなわち、記録ヘッド110はカバーヘッド112により位置決めされる構成となっている。
図5及び図6は、キャリッジ101に搭載された記録ヘッド110とワイピング部140等との関係を示す概略図である。
すなわち、図5及び図6は、キャリッジ101及び記録ヘッド110の図における左方向への移動に伴い、図の矢印X1方向にワイピング部140が移動する際の様子を示すものである。
図5に示すように、ワイピング部140は、先ず、記録ヘッド110のカバーヘッド112のカバーヘッド傾斜面112aに当接し、その後、図の右側へ相対的に移動するにつれてカバーヘッド112の窓部112bから露出しているノズルプレート111に当接し、屈曲変形することで、ノズルプレート111を払拭する構成となっている。
このため、ノズルプレート111に付着した付着インク等は、ワイピング部140によりノズルプレート111から除去される。
すなわち、図5及び図6は、キャリッジ101及び記録ヘッド110の図における左方向への移動に伴い、図の矢印X1方向にワイピング部140が移動する際の様子を示すものである。
図5に示すように、ワイピング部140は、先ず、記録ヘッド110のカバーヘッド112のカバーヘッド傾斜面112aに当接し、その後、図の右側へ相対的に移動するにつれてカバーヘッド112の窓部112bから露出しているノズルプレート111に当接し、屈曲変形することで、ノズルプレート111を払拭する構成となっている。
このため、ノズルプレート111に付着した付着インク等は、ワイピング部140によりノズルプレート111から除去される。
また、本実施の形態では、図5等に示すように、カバーヘッド112の近傍、図において右側には緩斜面150が形成されている。この緩斜面150は、キャリッジ101に設けられている。
すなわち、ノズルプレート111及びカバーヘッド112を払拭した後、ワイピング部140は、この緩斜面150に当接することになる。
つまり、ノズルプレート111等を払拭しているときのワイピング部140は、図5等に示すように大きく変形しているが、ノズルプレート111及びカバーヘッド112の払拭が終了し、ワイピング部140がカバーヘッド112の端部から離れると、ワイピング部140は変形状態から元の状態に復元しようとする。
このとき、ワイピング部140は図6に示すように、緩斜面150に当接するため、急激な復元を行わず、徐々に復元する構成となっている。
すなわち、ノズルプレート111及びカバーヘッド112を払拭した後、ワイピング部140は、この緩斜面150に当接することになる。
つまり、ノズルプレート111等を払拭しているときのワイピング部140は、図5等に示すように大きく変形しているが、ノズルプレート111及びカバーヘッド112の払拭が終了し、ワイピング部140がカバーヘッド112の端部から離れると、ワイピング部140は変形状態から元の状態に復元しようとする。
このとき、ワイピング部140は図6に示すように、緩斜面150に当接するため、急激な復元を行わず、徐々に復元する構成となっている。
すなわち、緩斜面150は、ノズルプレート111の近傍に配置されると共に、ワイピング部140の復元を抑制する復元抑制部の一例となっている。
このように、ノズルプレート111を払拭したワイピング部140は、ノズルプレート111等の次に緩斜面150に当接するため、変形したワイピング部140が急激に復元することはなく、徐々に復元する。
したがって、ノズルプレート111からワイピング部140が拭き取った付着インク等が飛散し、記録装置100内が汚れることを未然に防ぐことができる。
このように、ノズルプレート111を払拭したワイピング部140は、ノズルプレート111等の次に緩斜面150に当接するため、変形したワイピング部140が急激に復元することはなく、徐々に復元する。
したがって、ノズルプレート111からワイピング部140が拭き取った付着インク等が飛散し、記録装置100内が汚れることを未然に防ぐことができる。
ところで、緩斜面150があることで、付着インク等の飛散は防ぐことができるが、緩斜面150にワイピング部140が当接することで、緩斜面150上に付着インク等が再び付着し蓄積するおそれがある。
図7は、緩斜面150にインクIが付着した状態を示す概略図である。
本実施の形態では、緩斜面150上の付着インクIを除去するため、図7のワイピング部140を図において左方向、すなわち矢印X2方向に移動させる構成となっている。
すなわち、記録ヘッド110を図において右方向に移動させることで、ワイピング部140を矢印X2方向に相対的に移動させ、その際、ワイピング部140で緩斜面150の表面を払拭させる構成となっている。
つまり、本実施の形態では、ワイピング部140は、図5及び図6に示すように矢印X1方向に相対的に移動して、緩斜面150に達すると、次は、図7に示すようにX1の逆方向である図7の矢印X2方向に相対的に移動して、緩斜面150の付着インク等を払拭する構成となっている。
したがって、ワイピング部140によって緩斜面150に付着させられた付着インクIは、ワイピング部140によって払拭され、除去されるので、緩斜面150に付着インクIが蓄積することを防ぐことができ、記録用紙200が印字の際、汚れることを未然に防ぐことができる。
図7は、緩斜面150にインクIが付着した状態を示す概略図である。
本実施の形態では、緩斜面150上の付着インクIを除去するため、図7のワイピング部140を図において左方向、すなわち矢印X2方向に移動させる構成となっている。
すなわち、記録ヘッド110を図において右方向に移動させることで、ワイピング部140を矢印X2方向に相対的に移動させ、その際、ワイピング部140で緩斜面150の表面を払拭させる構成となっている。
つまり、本実施の形態では、ワイピング部140は、図5及び図6に示すように矢印X1方向に相対的に移動して、緩斜面150に達すると、次は、図7に示すようにX1の逆方向である図7の矢印X2方向に相対的に移動して、緩斜面150の付着インク等を払拭する構成となっている。
したがって、ワイピング部140によって緩斜面150に付着させられた付着インクIは、ワイピング部140によって払拭され、除去されるので、緩斜面150に付着インクIが蓄積することを防ぐことができ、記録用紙200が印字の際、汚れることを未然に防ぐことができる。
また、上述のように本実施の形態では、ワイピング部140がノズルプレート111等を払拭する方向(ノズル払拭方向の一例)である図5の矢印X1と、ワイピング部140が緩斜面150を払拭する方向(復元抑制部払拭方向の一例)とが反対方向となっている。
このため、上述のように、ワイピング部140は、ノズルプレート111等の払拭が終わった後、その終了位置から逆方向(X2方向)に相対的に移動し、緩斜面150を払拭することができる。
すなわち、ワイピング部140は、ノズルプレート111の払拭が終わった後、改めて緩斜面150を払拭するための位置に配置し直すことなく、その位置から逆方向に相対移動することで緩斜面150を払拭することができるので、効率的に緩斜面150を払拭することができる。
このため、上述のように、ワイピング部140は、ノズルプレート111等の払拭が終わった後、その終了位置から逆方向(X2方向)に相対的に移動し、緩斜面150を払拭することができる。
すなわち、ワイピング部140は、ノズルプレート111の払拭が終わった後、改めて緩斜面150を払拭するための位置に配置し直すことなく、その位置から逆方向に相対移動することで緩斜面150を払拭することができるので、効率的に緩斜面150を払拭することができる。
図8は、ワイピング部140による緩斜面150の払拭状態を示す概略図である。
以下、図8等を用いてワイピング部140による緩斜面150の払拭動作等を詳細に説明する。
本実施の形態では、ワイピング部140による図7の矢印X2方向の緩斜面150の払拭動作は複数回、例えば3回行われ、各緩斜面150の払拭動作において、払拭する払拭範囲が異なるように構成されている。
これを、図8等を用いて説明する。図8に示すワイピング部140は線Dの位置に配置されているが、これは第1回目の緩斜面150の払拭動作の移動が終了した状態を示している。
すなわち、ワイピング部140は、図7の位置から線Dの位置までの払拭範囲を払拭したことになる。このとき付着インクIは緩斜面150の端部に寄せられるように集められる。
この段階で、ワイピング部140は、緩斜面150における移動を停止すると共にその状態で暫く、例えば、3秒乃至4秒間停止する(ウエイト)。
すると、図8のように集められた緩斜面150上の付着インクIは、ワイピング部150に沿って図8の下方に移動し、付着インクが流れ落ちることになる。このため、緩斜面150の付着インクIを効果的に除去することができることになる。
以下、図8等を用いてワイピング部140による緩斜面150の払拭動作等を詳細に説明する。
本実施の形態では、ワイピング部140による図7の矢印X2方向の緩斜面150の払拭動作は複数回、例えば3回行われ、各緩斜面150の払拭動作において、払拭する払拭範囲が異なるように構成されている。
これを、図8等を用いて説明する。図8に示すワイピング部140は線Dの位置に配置されているが、これは第1回目の緩斜面150の払拭動作の移動が終了した状態を示している。
すなわち、ワイピング部140は、図7の位置から線Dの位置までの払拭範囲を払拭したことになる。このとき付着インクIは緩斜面150の端部に寄せられるように集められる。
この段階で、ワイピング部140は、緩斜面150における移動を停止すると共にその状態で暫く、例えば、3秒乃至4秒間停止する(ウエイト)。
すると、図8のように集められた緩斜面150上の付着インクIは、ワイピング部150に沿って図8の下方に移動し、付着インクが流れ落ちることになる。このため、緩斜面150の付着インクIを効果的に除去することができることになる。
次に、ワイピング部140は図2の矢印Y方向の例えば、奥側方向に移動する。すると、ワイピング部140は、緩斜面150から外れる。
その後、ワイピング部140を緩斜面150から外した状態で、記録ヘッド110と相対的に移動させ、図7のワイピング部150に位置に配置する。
そこで、ワイピング部140は図2の矢印Y方向の手前側に移動させる。すると、ワイピング部140は、再び緩斜面150に当接する。その後、図7の矢印X2方向にワイピング部140を相対的に移動させ、今度は、図8の線Cの位置まで移動させる。
すると、今回は、前回払拭できなかった緩斜面150の左側端部までワイピング部140で払拭することができる(2回目)。
したがって、前回の払拭(線Dまでの払拭)では払拭しきれなかった緩斜面150の端部まで払拭することができるので、より緻密且つ確実に緩斜面150の付着インクIを除去することができる。
その後、ワイピング部140を緩斜面150から外した状態で、記録ヘッド110と相対的に移動させ、図7のワイピング部150に位置に配置する。
そこで、ワイピング部140は図2の矢印Y方向の手前側に移動させる。すると、ワイピング部140は、再び緩斜面150に当接する。その後、図7の矢印X2方向にワイピング部140を相対的に移動させ、今度は、図8の線Cの位置まで移動させる。
すると、今回は、前回払拭できなかった緩斜面150の左側端部までワイピング部140で払拭することができる(2回目)。
したがって、前回の払拭(線Dまでの払拭)では払拭しきれなかった緩斜面150の端部まで払拭することができるので、より緻密且つ確実に緩斜面150の付着インクIを除去することができる。
続いて、2回目の払拭動作が終了した位置、すなわち、線Cの位置にあるワイピング部140は、図2の矢印Y方向の奥側に移動し、緩斜面150から外れ、記録ヘッド110と相対的に移動させられ、図7のワイピング部140の位置で再び、図2の矢印Y方向の手前側に移動し、緩斜面150と当接する。
そこで、今度は、ワイピング部140を図8の線Bの位置まで移動させる。すると、ワイピング部140は、緩斜面150のみならずカバーヘッド112の一部まで払拭する(3回目)。
したがって、3回目の払拭では、カバーヘッド112に残っている付着インクまで除去することができるので、印字の際に記録用紙200を汚すおそれをより確実に防止することができる。
そこで、今度は、ワイピング部140を図8の線Bの位置まで移動させる。すると、ワイピング部140は、緩斜面150のみならずカバーヘッド112の一部まで払拭する(3回目)。
したがって、3回目の払拭では、カバーヘッド112に残っている付着インクまで除去することができるので、印字の際に記録用紙200を汚すおそれをより確実に防止することができる。
本発明は、上述の実施の形態に限定されない。また、本発明は、インクジェット式記録装置に限らず、プリンタ等の画像記録装置に用いられる記録ヘッド、液晶ディスプレイ等のカラーフィルタの製造に用いられる色材噴射ヘッド、有機ELディスプレー、FED(面発光ディスプレー)等の電極形成に用いられる電極材噴射ヘッド、バイオチップ製造に用いられる生体有機物噴射ヘッド等の液体を吐出する液体噴射ヘッドを用いた液体噴射装置、精密ピペットとしての試料噴射装置等にも適用できる。
100・・・インクジェット式記録装置、101・・・キャリッジ、102・・・キャリッジモータ、103・・・タイミングベルト、104・・・ガイド部材、105・・・プラテン、106・・・ブラックインクカートリッジ、107・・・カラー用インクカートリッジ、110・・・インクジェット式記録ヘッド、111・・・ノズルプレート、112・・・カバーヘッド、112a・・・カバーヘッド傾斜面、112b・・・窓部、113・・・回路基板、120・・・キャッピング手段、130・・・吸引ポンプ、140・・・ワイピング部、141・・・弾性板、142・・・インク吸収材、143・・・レバー、150・・・緩斜面、200・・・記録用紙、P・・・印字領域、H・・・ホームポジション
Claims (7)
- ターゲットに液体を吐出するノズルを有するノズル形成部を備える液体噴射ヘッドと、
前記ノズル形成部に当接して変形することで、前記ノズル形成部を払拭するワイパ部と、
前記ノズル形成部の近傍に配置されると共に、前記ワイパ部の復元を抑制する復元抑制部と、を有し、
前記ワイパ部は、前記ノズル形成部を払拭し、前記復元抑制部に達した後、前記復元抑制部を払拭する構成となっていることを特徴とする液体噴射装置。 - 前記ワイパ部が前記ノズル形成部を払拭する方向であるノズル払拭方向と、
前記ワイパ部が前記復元抑制部を払拭する方向である復元抑制部払拭方向と、が反対方向となっていることを特徴とする請求項1に記載の液体噴射装置。 - 前記ワイパ部が前記復元抑制部払拭方向に払拭する復元抑制部払拭動作が複数回行われる構成となっていることを特徴とする請求項2に記載の液体噴射装置。
- 前記複数回行われる前記復元抑制部払拭動作毎に前記復元抑制部の払拭範囲が異なる構成となっていることを特徴とする請求項3に記載の液体噴射装置。
- 前記復元抑制部払拭動作で、前記ワイパ部が前記復元抑制部における移動を停止する構成となっていることを特徴とする請求項3又は請求項4のいずれかに記載の液体噴射装置。
- 前記液体噴射ヘッドはカバーヘッド部により位置決めされる構成となっており、
前記復元抑制部払拭動作で前記ワイパ部が前記復元抑制部及び前記カバーヘッド部を払拭する構成となっていることを特徴とする請求項3乃至請求項5のいずれかに記載の液体噴射装置。 - ターゲットに液体を吐出するノズルを有するノズル形成部を備える液体噴射ヘッドと、
前記ノズル形成部に当接して変形することで、前記ノズル形成部を払拭するワイパ部と、
前記ノズル形成部の近傍に配置されると共に、前記ワイパ部の復元を抑制する復元抑制部と、を有する液体噴射装置のワイピング方法であって、
前記ワイパ部が、前記ノズル形成部を払拭し、前記復元抑制部に達した後、前記復元抑制部を払拭することを特徴とする液体噴射装置のワイピング方法。
Priority Applications (1)
| Application Number | Priority Date | Filing Date | Title |
|---|---|---|---|
| JP2005377153A JP2007176008A (ja) | 2005-12-28 | 2005-12-28 | 液体噴射装置及び液体噴射装置のワイピング方法 |
Applications Claiming Priority (1)
| Application Number | Priority Date | Filing Date | Title |
|---|---|---|---|
| JP2005377153A JP2007176008A (ja) | 2005-12-28 | 2005-12-28 | 液体噴射装置及び液体噴射装置のワイピング方法 |
Publications (1)
| Publication Number | Publication Date |
|---|---|
| JP2007176008A true JP2007176008A (ja) | 2007-07-12 |
Family
ID=38301669
Family Applications (1)
| Application Number | Title | Priority Date | Filing Date |
|---|---|---|---|
| JP2005377153A Withdrawn JP2007176008A (ja) | 2005-12-28 | 2005-12-28 | 液体噴射装置及び液体噴射装置のワイピング方法 |
Country Status (1)
| Country | Link |
|---|---|
| JP (1) | JP2007176008A (ja) |
Cited By (5)
| Publication number | Priority date | Publication date | Assignee | Title |
|---|---|---|---|---|
| JP2011212902A (ja) * | 2010-03-31 | 2011-10-27 | Brother Industries Ltd | 液体噴射装置 |
| JP2018149746A (ja) * | 2017-03-13 | 2018-09-27 | セイコーエプソン株式会社 | 液体噴射ヘッド、液体噴射装置及び液体噴射ヘッドのワイピング方法 |
| JP2018149756A (ja) * | 2017-03-14 | 2018-09-27 | 京セラドキュメントソリューションズ株式会社 | ヘッドクリーニング機構およびそれを備えたインクジェット記録装置 |
| JP2018153956A (ja) * | 2017-03-16 | 2018-10-04 | 京セラドキュメントソリューションズ株式会社 | ヘッドクリーニング機構およびそれを備えたインクジェット記録装置 |
| JP2019162824A (ja) * | 2018-03-20 | 2019-09-26 | 京セラドキュメントソリューションズ株式会社 | インクジェット記録装置 |
-
2005
- 2005-12-28 JP JP2005377153A patent/JP2007176008A/ja not_active Withdrawn
Cited By (7)
| Publication number | Priority date | Publication date | Assignee | Title |
|---|---|---|---|---|
| JP2011212902A (ja) * | 2010-03-31 | 2011-10-27 | Brother Industries Ltd | 液体噴射装置 |
| US8465122B2 (en) | 2010-03-31 | 2013-06-18 | Brother Kogyo Kabushiki Kaisha | Liquid jetting apparatus |
| JP2018149746A (ja) * | 2017-03-13 | 2018-09-27 | セイコーエプソン株式会社 | 液体噴射ヘッド、液体噴射装置及び液体噴射ヘッドのワイピング方法 |
| JP2018149756A (ja) * | 2017-03-14 | 2018-09-27 | 京セラドキュメントソリューションズ株式会社 | ヘッドクリーニング機構およびそれを備えたインクジェット記録装置 |
| JP2018153956A (ja) * | 2017-03-16 | 2018-10-04 | 京セラドキュメントソリューションズ株式会社 | ヘッドクリーニング機構およびそれを備えたインクジェット記録装置 |
| JP2019162824A (ja) * | 2018-03-20 | 2019-09-26 | 京セラドキュメントソリューションズ株式会社 | インクジェット記録装置 |
| JP7119466B2 (ja) | 2018-03-20 | 2022-08-17 | 京セラドキュメントソリューションズ株式会社 | インクジェット記録装置 |
Similar Documents
| Publication | Publication Date | Title |
|---|---|---|
| JP5259458B2 (ja) | インクジェット記録装置及び記録ヘッドのメンテナンス方法 | |
| US20080007591A1 (en) | Liquid ejecting apparatus and method for cleaning the same | |
| US8746839B2 (en) | Fluid ejection apparatus | |
| JP2010188544A (ja) | 液体噴射装置 | |
| CN100999157B (zh) | 擦拭装置以及液体喷射装置 | |
| JP7628672B2 (ja) | インクジェットプリンタ | |
| JP3791405B2 (ja) | インクジェット記録装置 | |
| JP6299330B2 (ja) | 液体吐出装置 | |
| JP2007136991A (ja) | 画像形成装置 | |
| JP2007176008A (ja) | 液体噴射装置及び液体噴射装置のワイピング方法 | |
| JP5892099B2 (ja) | 液体吐出装置 | |
| JPH1120187A (ja) | インクジェット記録装置 | |
| JP2005040975A (ja) | 液体噴射ヘッドのワイピング装置および液体噴射装置 | |
| JP2013184470A (ja) | 液体噴射ヘッドユニット及び液体噴射装置 | |
| JP2010264696A (ja) | 液体噴射装置及び液体噴射装置のメンテナンス方法 | |
| JP5571417B2 (ja) | ワイパーブレード、同ワイパーブレードを備えたインクジェット式画像形成装置、および同インクジェット式画像形成装置に用いられる付着物の除去方法 | |
| JP6163717B2 (ja) | 液体噴射装置および払拭方法 | |
| JP6379948B2 (ja) | 液体吐出装置 | |
| JP6451188B2 (ja) | 液体吐出装置 | |
| JP2004074774A (ja) | 液体噴射装置及びクリーニング方法 | |
| JP6379949B2 (ja) | 液体吐出装置 | |
| JP2005342991A (ja) | 液体噴射装置および液体噴射ヘッドの液体吸収装置 | |
| JP4411578B2 (ja) | 液体噴射装置 | |
| JP2008183853A (ja) | ワイピング装置及び流体噴射装置 | |
| JP2005335127A (ja) | 液体噴射装置 |
Legal Events
| Date | Code | Title | Description |
|---|---|---|---|
| RD04 | Notification of resignation of power of attorney |
Free format text: JAPANESE INTERMEDIATE CODE: A7424 Effective date: 20070405 |
|
| A300 | Withdrawal of application because of no request for examination |
Free format text: JAPANESE INTERMEDIATE CODE: A300 Effective date: 20090303 |