JP2007175751A - プレス金型 - Google Patents

プレス金型 Download PDF

Info

Publication number
JP2007175751A
JP2007175751A JP2005379450A JP2005379450A JP2007175751A JP 2007175751 A JP2007175751 A JP 2007175751A JP 2005379450 A JP2005379450 A JP 2005379450A JP 2005379450 A JP2005379450 A JP 2005379450A JP 2007175751 A JP2007175751 A JP 2007175751A
Authority
JP
Japan
Prior art keywords
punch
die
refrigerant
stripper plate
cooling
Prior art date
Legal status (The legal status is an assumption and is not a legal conclusion. Google has not performed a legal analysis and makes no representation as to the accuracy of the status listed.)
Withdrawn
Application number
JP2005379450A
Other languages
English (en)
Inventor
Mitsutaka Uchida
光▲隆▼ 内田
Current Assignee (The listed assignees may be inaccurate. Google has not performed a legal analysis and makes no representation or warranty as to the accuracy of the list.)
Aisin Corp
Original Assignee
Aisin Seiki Co Ltd
Priority date (The priority date is an assumption and is not a legal conclusion. Google has not performed a legal analysis and makes no representation as to the accuracy of the date listed.)
Filing date
Publication date
Application filed by Aisin Seiki Co Ltd filed Critical Aisin Seiki Co Ltd
Priority to JP2005379450A priority Critical patent/JP2007175751A/ja
Publication of JP2007175751A publication Critical patent/JP2007175751A/ja
Withdrawn legal-status Critical Current

Links

Images

Landscapes

  • Mounting, Exchange, And Manufacturing Of Dies (AREA)
  • Punching Or Piercing (AREA)

Abstract

【課題】本発明は、パンチの温度による寸法変化を抑制し、安定した寸法の製品を効率よくプレス加工することのできるプレス金型を提供することを課題とする。
【解決手段】本発明のプレス金型10は、パンチ18とダイス28と、このパンチとダイスとの間に配置さたストリッパプレート20とを有し、前記ストリッパプレート20にパンチ18の先端近傍を冷却する冷媒Pの冷媒通路34を備える。冷媒通路は複数でもよい。
【選択図】図1

Description

本発明はプレス金型に関する。
複数のステージを直列に配置して連続的にプレスするプレス加工において、成型品の寸法が時間の経過とともに変化して問題となることがある。例えば、図6に示すような部品の場合に、冷間鍛造のつぶし加工によって形成されるフランジFの板厚tは、プレスを行う場合の生産個数の増大とともに図7のように変化する。図7は、横軸をプレス生産個数とし、縦軸をフランジFの板厚tとして、連続プレス加工における板厚tの変化を概念的に示したものである。一般的に、プレス金型は、常温でフランジFの板厚tが許容板厚範囲の上限tU近傍のt0となるように調整されている。そして、プレス個数が増大するにつれて形成される部品のフランジFの板厚tは、曲線Q1に沿って許容板厚範囲の下限tLに向かって薄くなる。そこで、下限tL近傍のt1となったらプレスのダイハイトなどを手動又は自動で調整することにより、フランジFの板厚tをt0に復帰させる。このような動作を繰り返して、全ての部品のフランジ板厚tがtL〜tUの許容範囲に収まるようにしていた。
以上のような寸法変化の主な要因は、フランジFの加圧成形時に発生する加工熱である。パンチが加工熱により温められると、パンチは熱膨張して主に長さが変化する。冷間鍛造におけるつぶし成形などでパンチ長さが変化すると、製品寸法、例えば、製品板厚も変化してしまう。具体的には、熱膨張量は、熱膨張量=温度差×線膨張率×パンチ寸法で表すことができるので、長さ100mmのパンチで温度上昇が10℃とすると、鋼の熱膨張率は12.1×10-6であるから、パンチは熱膨張して約0.01mm長くなり、フランジ部Fの厚さtが約0.01mm薄くなるわけである。
金型の温度上昇による諸問題を解決するためにいくつかの提案がなされている。
例えば、リードフレームなどの被加工物をプレス加工するプレス金型において、冷媒を移送するための冷却用ダクトを金型に形成したものが提案されている(特許文献1参照)。このプレス金型は、上型バッキングプレートに冷媒を移送するための冷却用ダクトを形成したものである。しかし、熱が発生しているのは加工点、つまりパンチとダイスであり、効果的な冷却を行うにはパンチとダイスを直接冷却した方がよい。しかし、上記の金型プレスはバッキングプレートを冷却するという間接的なものであり、効果的な方法とはいえない。
また、粉末成型プレスにおけるパンチ及びアダプタについて、パンチの中間位置を冷却する冷却手段が開示されている(特許文献2参照)。しかし、この従来技術もパンチの中間位置を冷却しているので、熱が発生しているパンチの加工点となる位置まで冷却するには、伝熱に時間がかかり生産性が悪化するという問題を有している。
特開2001−269728号公報 特開平08−010994号公報
本発明は、上記のようにパンチの温度による寸法変化を抑制し、安定した寸法の製品を効率よくプレス加工することのできるプレス金型を提供することを課題とする。
本発明のプレス金型は、パンチとダイスと、このパンチとダイスとの間に配置さたストリッパプレートとを有するプレス金型において、前記ストリッパプレートにパンチの先端近傍を冷却する冷媒の冷媒通路を備えることを特徴とする。
本発明のプレス金型において、冷媒通路は、ストリッパプレートの外周端面からこのストリッパプレートを貫通し、ストリッパプレートに形成されている上パンチが挿通する挿通穴の内周面に開口するように形成されていることが望ましく、また、冷媒は加圧空気を好適に用いることができる。
本発明のプレス金型は、パンチの先端近傍に向かって冷媒を噴出する複数の冷媒通路を備えることができる。
本発明のプレス金型は、ストリッパプレートを貫通してパンチの挿通穴に開口する冷媒通路を備えているので、外部からこの冷媒通路に冷媒を送給することで加工点であるパンチの先端部近傍を直接冷却することができる。直接冷却により効率よくパンチを冷却できるので、熱膨張によるパンチの寸法変化を効果的に抑制して製品寸法を安定させることができる。
また、本発明のプレス金型では、冷媒として加圧空気を用いることができるので、プレス周辺を汚したり、かす上がりや油たまりによる製品の品質低下を招くことがない。
また、本発明のプレス金型は、複数の冷媒通路を備えることができるので、加圧空気など噴射される冷媒によってパンチ先端部に不均一な力が加わることがない。すなわち、冷媒の噴射によりパンチの先端に作用する水平方向の力を互いに相殺することでパンチの傾斜を抑制することができる。このため、パンチとストリッパプレートとの接触を防ぐことができ、パンチの焼き付きや破損を回避することができる。
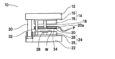
図1〜図3は本発明の実施形態に係るプレス金型の説明図である。図1は、プレス金型の全体構成を示す側面概要図、図2はプレス前のパンチとストリッパプレートとの位置関係を断面で示す部分概略図であり、図3は、プレス中のパンチ及びダイスとストリッパプレートとの位置関係を断面で示す部分概略図である。
本発明のプレス金型10は、アッパプレート12の下面側にパンチホルダ14のバッキングプレート15が取り付けられ、更にバッキングプレート15の下面側にパンチプレート16が取り付けられ、このパンチプレート16にパンチ18が固着されている。また、このパンチプレート16の下方にはアッパプレート12に弾性支持されたストリッパプレート20がパンチ18を挿通するように配置されている。
プレス金型10の下部にはアッパプレート12に対向してロアプレート22が配置されており、そのロアプレート22の上面側にはダイホルダ24のバッキングプレート25が取り付けられ、更にバッキングプレート25の上面側にダイプレート26が取り付けられている。そして、ダイプレート26の上面側にパンチ18に対応するダイ28が取り付けられている。
このようなプレス金型10においては、アッパプレート12がガイドポスト30により案内されて下降すると、まず、ストリッパプレート20がダイプレート26の上面側に配置されている被加工材料Wを押圧する。そしてパンチプレート16が下降してパンチ18とダイ28により被加工材料Wに所定のプレス加工が施される。なお、32はストリッパプレート20の上下動を案内するサブガイドポストである。この時、被加工材料Wは、各ステージに対応して上流側から下流側に送り出されて順次形成される。
上記は、従来のプレスの金型であるが、本実施の形態に係るプレス金型10の特徴を以下に説明する。
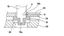
図1および図2に示されるように、本実施形態においては、ストリッパプレート20に、このストリッパプレート20の外周端面20aからストリッパプレート20を貫通してパンチ18を挿通する挿通穴20bの内周面20cに開口する冷媒通路34が形成されている。
本発明のプレス金型10は上記のような冷媒通路34を備えているので、冷媒Pを冷媒通路34を介してパンチ18に吹き付けることにより加工点(パンチ18の先端近傍)を直接冷却することができる。図2に示すように被加工材料Wを成形していないときはパンチ18の先端18aはストリッパプレート20の挿通穴20b内で停止するように配置されているので、先端18aは直接冷媒Pによって冷却される。また、被加工材料Wの成形時には、図3のようにパンチ18の先端近傍18bを直接冷却することができる。
冷媒Pとしては、空気や油などを用いることができる。油は空気に比べて熱伝導率が高いので、効率的にパンチ先端部を冷却できるが、パンチ冷却後の廃油処理や設備周辺の汚れなどの環境問題、あるいは、かす上がりや油たまりによる形状不良といった品質問題などの発生を考慮すると空気冷却とすることが望ましい。
空気冷却による冷却能を水冷と比較して図5に示す。本実施形態のプレス金型では、パンチの初期温度が20℃の場合、パンチを強制冷却することなく連続生産することで80℃まで(つまり60℃)上昇する。いま、鉄の線膨張率を12.1×10-6/K(0〜100℃)とすると、長さが100mmのパンチでは、上記のようにその温度が60℃温度上昇することで0.072mm熱膨張する計算となる。図6に示すヨークソレノイドリアの場合、そのフランジ部Fの板厚公差は3.0±0.025mmと規定されているので、パンチを強制冷却することなく連続生産すると、板厚公差を満足できないおそれがある。
まず、3個のパンチA、B、Cを80℃の恒温槽中に10分間保持して均一に加熱する。次に、パンチA、B、Cを冷却方法を変えて冷却し、各パンチの先端18aが室温(20℃)に到達するのに要する時間を測定する。なお、温度測定は、先端部18aの側面からパンチ18の軸芯部に到達する測定孔を穿設し、この測定孔に熱電対を挿入して先端18aの軸心部の温度変化を測定した。
パンチAは放冷、パンチBは水冷、パンチCは強制空冷とした。すなわち、パンチAは加熱後恒温槽から取り出して室温中にそのまま放置した。また、パンチBは、加熱後恒温槽から取り出してすぐに容器に満たした22℃の水中にパンチの先端18aを浸漬して、温度降下を測定した。パンチCは、加熱後恒温槽から取り出し、適宜の方法で鉛直に支持したパンチの先端18aに、圧力P=4MPa、流量L=100・/min、18℃の圧縮空気を噴射距離d=0.1mmでノズル径φ=2mmのノズルから噴射して、パンチ18の先端部18aの温度降下を測定した。結果を図5に示す。図5で縦軸は先端部18aの温度であり、横軸は加熱開始からの経過時間である。
パンチA(破線で示す)は放冷なので、パンチは徐々に冷却され冷却開始後約25分で室温に到達した。また、パンチB(鎖線で示す)の水冷では、パンチ先端を水中へ浸漬後(冷却開始後)約2分で水温(22℃)と一致した。また、パンチC(実線で示す)の強制空冷では、冷却開始後約50秒で20℃にまで冷却することができた。
ここで、金型の昇温速度は製品の昇温速度にほぼ等しいと仮定すれば、製品温度は180秒で20℃上昇したので、金型の昇温速度は0.11℃/秒であると推定できる。上記のように、強制空冷では50秒で60℃降温することができたので、平均の冷却速度は1.2℃/秒となり、昇温速度(0.11℃/秒)<冷却速度(1.2℃/秒)であるから、空気吹きつけによる強制冷却は十分な冷却能力を有することが分かる。
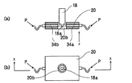
以上のように、パンチの先端近傍を空気で強制冷却することにより、パンチの熱膨張を抑制できることが分かった。しかし、例えば、外径=10mmで長さ100mmといったように、径が細くて全長が長いパンチの先端に片側からのみ高圧の空気を吹き付けると、パンチに不均一な力が加わるのでパンチが傾きやすくなり、パンチがストリッパプレートと摺接して焼き付きが発生することがある。そこで、長さと直径の比(長さ/直径)の値が2以上のパンチの場合には、ストリッパプレートに複数の冷媒通路を設けてパンチの先端部を複数の方向から冷却するようにするとよい。つまり、複数方向から空気を吹きつけることでパンチ先端に加わる横方向の力を相殺してパンチの傾きの発生を抑制しようとするものである。
図4は、2箇所の冷媒通路34aと34bとをパンチの軸線を挟んで対向するように配置したストリッパプレート20を模式的に示したものである。このように対向する2箇所の冷媒通路から噴出する空気の圧力や流量を等しくすることで、パンチ先端部に付加される水平方向の力を相殺することが可能である。そしてパンチとストリッパプレートとの接触を回避してパンチの焼き付きを防止することができる。
図4の冷媒通路34aと34bとに、圧力P=4MPa、流量L=100・/min、20℃の圧縮空気を送給してパンチ先端を冷却することで、図6に示す断面形状の全てのヨークソレノイドリアについて、そのフランジ部Fの板厚を途中で寸法調整することなく3.0±0.01mmの範囲に収めることができ、安定して連続生産可能なことが確認できた。
なお、本発明のプレス金型は、上記の実施の形態に限定されることなく、本発明の主旨を逸脱しない範囲で変更できることはいうまでもない。例えば、上記の実施の形態では、パンチを冷却する冷媒として空気を用いたが、温度管理された窒素やアルゴンなどの不活性ガス、さらに水などをミスト状に含む冷却ガスを冷媒として用いてもよい。
本発明のプレス金型は、厚さの変化が直接性能の変化に繋がるような電磁弁に使用されるヨークソレノイドなどの絞り加工や、あるいは、比較的板厚の薄いつぶし加工を伴う精密冷間鍛造に好適に用いることができる。
本実施の形態のプレス金型の構成概要を示す説明図である。 材料成形以外の工程における空気吹きつけによるパンチの強制冷却を示す部分断面模式図である。 被加工材料Wの成形工程における空気吹きつけによるパンチの強制冷却を示す部分断面模式図である。 対向して冷媒通路を設けパンチの両側から空気吹きつけするようにした態様を模式的に示す説明図であり、(a)は(b)のx−x断面図、(b)は(a)のy視平面図である。 パンチごとの冷却方法による冷却速度の違いを説明するグラフである。Aは放冷、Bは水冷、Cは強制空冷である。 ヨークソレノイドリアの断面を示す概略図である。 連続プレス加工における板厚tの変化を示す概念図である。
符号の説明
12:アッパプレート 16:パンチホルダ 18:パンチ 20:ストリッパプレート 22:ロアプレート 26:ダイプレート 28:ダイ 34:冷媒通路 F:フランジ P:冷媒(空気) W:被加工材料

Claims (4)

  1. 金型を構成するパンチとダイスと、該パンチと該ダイスとの間に配置さたストリッパプレートとを有するプレス金型において、
    前記ストリッパプレートに前記パンチの先端近傍を冷却する冷媒の冷媒通路を備えることを特徴とするプレス金型。
  2. 前記冷媒通路は、前記ストリッパプレートの外周端面から該ストリッパプレートを貫通し、前記ストリッパプレートに形成されている前記パンチが挿通する挿通穴の内周面に開口するように形成されている請求項1に記載のプレス金型。
  3. 前記冷媒は加圧空気である請求項1又は2に記載のプレス金型。
  4. 前記パンチの先端近傍に向かって前記冷媒を噴出する複数の前記冷媒通路を備える請求項1〜3のいずれかに記載のプレス金型。
JP2005379450A 2005-12-28 2005-12-28 プレス金型 Withdrawn JP2007175751A (ja)

Priority Applications (1)

Application Number Priority Date Filing Date Title
JP2005379450A JP2007175751A (ja) 2005-12-28 2005-12-28 プレス金型

Applications Claiming Priority (1)

Application Number Priority Date Filing Date Title
JP2005379450A JP2007175751A (ja) 2005-12-28 2005-12-28 プレス金型

Publications (1)

Publication Number Publication Date
JP2007175751A true JP2007175751A (ja) 2007-07-12

Family

ID=38301458

Family Applications (1)

Application Number Title Priority Date Filing Date
JP2005379450A Withdrawn JP2007175751A (ja) 2005-12-28 2005-12-28 プレス金型

Country Status (1)

Country Link
JP (1) JP2007175751A (ja)

Cited By (11)

* Cited by examiner, † Cited by third party
Publication number Priority date Publication date Assignee Title
CN103801618A (zh) * 2014-02-21 2014-05-21 集瑞联合重工有限公司 一种钢板连续冲孔设备
CN107363146A (zh) * 2017-08-31 2017-11-21 芜湖凝鑫机械有限公司 带冷却装置的防滑凸起冲压模具
CN108246895A (zh) * 2018-02-14 2018-07-06 普利仕科技(苏州工业园区)有限公司 一种冲压模具的冷却装置及冲压模具
CN108515109A (zh) * 2018-03-30 2018-09-11 宁波高新区新柯保汽车科技有限公司 汽车钢板冲孔装置
JP2019177417A (ja) * 2018-03-30 2019-10-17 大阪瓦斯株式会社 パンチ孔形成方法及びパンチ孔形成装置
CN110614313A (zh) * 2018-06-19 2019-12-27 台山市万力达金属制品科技有限公司 一种具有控温功能的模具
CN110614317A (zh) * 2018-06-19 2019-12-27 台山市万力达金属制品科技有限公司 一种具有控温功能的模具
CN111203474A (zh) * 2020-02-20 2020-05-29 郝玲 一种减少冲压时间的数控冲床用增力装置
KR102131185B1 (ko) * 2019-02-19 2020-07-07 아사히 세이키 고교 가부시키가이샤 프레스기, 프레스기 구성 부품의 제조 방법, 및 용기의 제조 방법
CN113231516A (zh) * 2021-05-20 2021-08-10 江苏宝亨新电气有限公司 一种高环境适应性的弧形母线槽加工装置及其使用方法
CN113617947A (zh) * 2021-07-22 2021-11-09 厦门飞德利照明科技有限公司 一种照明灯具生产加工用冲压装置

Cited By (16)

* Cited by examiner, † Cited by third party
Publication number Priority date Publication date Assignee Title
CN103801618A (zh) * 2014-02-21 2014-05-21 集瑞联合重工有限公司 一种钢板连续冲孔设备
CN107363146A (zh) * 2017-08-31 2017-11-21 芜湖凝鑫机械有限公司 带冷却装置的防滑凸起冲压模具
CN108246895A (zh) * 2018-02-14 2018-07-06 普利仕科技(苏州工业园区)有限公司 一种冲压模具的冷却装置及冲压模具
CN108246895B (zh) * 2018-02-14 2024-03-29 普利仕科技(苏州工业园区)有限公司 一种冲压模具的冷却装置及冲压模具
JP7129807B2 (ja) 2018-03-30 2022-09-02 大阪瓦斯株式会社 パンチ孔形成方法及びパンチ孔形成装置
CN108515109A (zh) * 2018-03-30 2018-09-11 宁波高新区新柯保汽车科技有限公司 汽车钢板冲孔装置
JP2019177417A (ja) * 2018-03-30 2019-10-17 大阪瓦斯株式会社 パンチ孔形成方法及びパンチ孔形成装置
KR102689964B1 (ko) * 2018-03-30 2024-07-29 오사까 가스 가부시키가이샤 펀치 홀 형성 방법 및 펀치 홀 형성 장치
KR20200134303A (ko) * 2018-03-30 2020-12-01 오사까 가스 가부시키가이샤 펀치 홀 형성 방법 및 펀치 홀 형성 장치
CN110614313A (zh) * 2018-06-19 2019-12-27 台山市万力达金属制品科技有限公司 一种具有控温功能的模具
CN110614317A (zh) * 2018-06-19 2019-12-27 台山市万力达金属制品科技有限公司 一种具有控温功能的模具
KR102131185B1 (ko) * 2019-02-19 2020-07-07 아사히 세이키 고교 가부시키가이샤 프레스기, 프레스기 구성 부품의 제조 방법, 및 용기의 제조 방법
JP2020131233A (ja) * 2019-02-19 2020-08-31 旭精機工業株式会社 プレス機、プレス機構成部品の製造方法、及び、容器の製造方法
CN111203474A (zh) * 2020-02-20 2020-05-29 郝玲 一种减少冲压时间的数控冲床用增力装置
CN113231516A (zh) * 2021-05-20 2021-08-10 江苏宝亨新电气有限公司 一种高环境适应性的弧形母线槽加工装置及其使用方法
CN113617947A (zh) * 2021-07-22 2021-11-09 厦门飞德利照明科技有限公司 一种照明灯具生产加工用冲压装置

Similar Documents

Publication Publication Date Title
EP2716378B1 (en) Hot press molding method and hot press molding die
US11499202B2 (en) Cooling method for workpiece
JP2007175751A (ja) プレス金型
US20080295563A1 (en) Method for Delaying of Cooling and Hardening of Desired Zones of a Sheet During a Hot Metal Stamping Process
JP4968208B2 (ja) 金属板の熱間プレス成形方法
KR101032535B1 (ko) 열간 프레스 성형장치
JP2017070973A (ja) 熱間プレス用金型及びそれを用いた熱間プレス成形品の製造方法
RU2710401C1 (ru) Способ горячей штамповки и система горячей штамповки
JP2011000617A (ja) 金属管の熱間プレス成形装置およびその方法
JPH08155558A (ja) アルミニウム又はアルミニウム合金素材のプレス成形加工方法及び装置
JP4210856B2 (ja) 金型
JP2011173150A (ja) 鋼材加工方法
US20180009018A1 (en) Collapsible spacer and spacing method for forming
KR101505272B1 (ko) 국부 연화가 가능한 핫 스탬핑 성형장치 및 성형방법
WO2020071333A1 (en) Rack bar manufacturing apparatus
KR101066571B1 (ko) 열간 슬래브의 폭 단조 프레스 금형장치
JP4849858B2 (ja) モールドプレス成形装置および光学素子の製造方法
JP4332017B2 (ja) 連続焼鈍炉の鋼帯の冷却装置
JP7800206B2 (ja) 角型缶の製造方法
JP2009285913A (ja) 射出圧縮成形金型、射出圧縮成形金型の調整方法、および射出圧縮成形システム
EP1941959B1 (en) Thixocasting process
JP4811010B2 (ja) コンロッドの製造方法および製造装置
KR20250102318A (ko) 고속 스트립캐스팅 장치 및 이를 통해 제조되는 알루미늄 합금 판재
JP2001138000A (ja) 溝成形方法と温度調整装置と溝成形装置
JP6037332B2 (ja) 金属板の鋳造方法及び金属板鋳造装置

Legal Events

Date Code Title Description
A621 Written request for application examination

Free format text: JAPANESE INTERMEDIATE CODE: A621

Effective date: 20081114

A761 Written withdrawal of application

Free format text: JAPANESE INTERMEDIATE CODE: A761

Effective date: 20100420