JP2007123796A - プラズマ処理室用構造物、プラズマ処理室、及びプラズマ処理装置 - Google Patents
プラズマ処理室用構造物、プラズマ処理室、及びプラズマ処理装置 Download PDFInfo
- Publication number
- JP2007123796A JP2007123796A JP2006028982A JP2006028982A JP2007123796A JP 2007123796 A JP2007123796 A JP 2007123796A JP 2006028982 A JP2006028982 A JP 2006028982A JP 2006028982 A JP2006028982 A JP 2006028982A JP 2007123796 A JP2007123796 A JP 2007123796A
- Authority
- JP
- Japan
- Prior art keywords
- plasma processing
- processing chamber
- space
- container
- insulating
- Prior art date
- Legal status (The legal status is an assumption and is not a legal conclusion. Google has not performed a legal analysis and makes no representation as to the accuracy of the status listed.)
- Granted
Links
- 238000009832 plasma treatment Methods 0.000 title abstract description 12
- 239000000758 substrate Substances 0.000 claims description 35
- 239000000463 material Substances 0.000 claims description 21
- 230000007423 decrease Effects 0.000 claims description 12
- 229910052751 metal Inorganic materials 0.000 claims description 9
- 239000002184 metal Substances 0.000 claims description 9
- 229910044991 metal oxide Inorganic materials 0.000 claims description 9
- 150000004706 metal oxides Chemical class 0.000 claims description 9
- 150000004767 nitrides Chemical class 0.000 claims description 9
- 150000003961 organosilicon compounds Chemical class 0.000 claims description 3
- 239000000126 substance Substances 0.000 claims description 3
- 238000001816 cooling Methods 0.000 abstract description 35
- 239000011248 coating agent Substances 0.000 abstract description 4
- 238000000576 coating method Methods 0.000 abstract description 4
- 239000007789 gas Substances 0.000 description 127
- 229920000642 polymer Polymers 0.000 description 79
- 238000000034 method Methods 0.000 description 18
- 150000001768 cations Chemical class 0.000 description 17
- RUDFQVOCFDJEEF-UHFFFAOYSA-N yttrium(III) oxide Inorganic materials [O-2].[O-2].[O-2].[Y+3].[Y+3] RUDFQVOCFDJEEF-UHFFFAOYSA-N 0.000 description 14
- VYPSYNLAJGMNEJ-UHFFFAOYSA-N Silicium dioxide Chemical compound O=[Si]=O VYPSYNLAJGMNEJ-UHFFFAOYSA-N 0.000 description 13
- 238000001020 plasma etching Methods 0.000 description 9
- 229920001721 polyimide Polymers 0.000 description 9
- 239000004065 semiconductor Substances 0.000 description 9
- 239000004642 Polyimide Substances 0.000 description 8
- 238000004380 ashing Methods 0.000 description 8
- 239000004020 conductor Substances 0.000 description 7
- 239000011810 insulating material Substances 0.000 description 7
- 238000009413 insulation Methods 0.000 description 6
- 239000007788 liquid Substances 0.000 description 6
- 229910052782 aluminium Inorganic materials 0.000 description 5
- XAGFODPZIPBFFR-UHFFFAOYSA-N aluminium Chemical compound [Al] XAGFODPZIPBFFR-UHFFFAOYSA-N 0.000 description 5
- PNEYBMLMFCGWSK-UHFFFAOYSA-N aluminium oxide Inorganic materials [O-2].[O-2].[O-2].[Al+3].[Al+3] PNEYBMLMFCGWSK-UHFFFAOYSA-N 0.000 description 5
- 239000003990 capacitor Substances 0.000 description 5
- 238000010586 diagram Methods 0.000 description 5
- 239000003507 refrigerant Substances 0.000 description 5
- PMHQVHHXPFUNSP-UHFFFAOYSA-M copper(1+);methylsulfanylmethane;bromide Chemical compound Br[Cu].CSC PMHQVHHXPFUNSP-UHFFFAOYSA-M 0.000 description 4
- 150000002500 ions Chemical class 0.000 description 4
- 239000010453 quartz Substances 0.000 description 4
- 239000000377 silicon dioxide Substances 0.000 description 4
- XUIMIQQOPSSXEZ-UHFFFAOYSA-N Silicon Chemical compound [Si] XUIMIQQOPSSXEZ-UHFFFAOYSA-N 0.000 description 3
- 150000001875 compounds Chemical class 0.000 description 3
- 238000005137 deposition process Methods 0.000 description 3
- -1 silica (SiO 2 ) Chemical class 0.000 description 3
- 229910052710 silicon Inorganic materials 0.000 description 3
- 239000010703 silicon Substances 0.000 description 3
- 150000003377 silicon compounds Chemical class 0.000 description 3
- 239000007921 spray Substances 0.000 description 3
- XKRFYHLGVUSROY-UHFFFAOYSA-N Argon Chemical compound [Ar] XKRFYHLGVUSROY-UHFFFAOYSA-N 0.000 description 2
- 230000003247 decreasing effect Effects 0.000 description 2
- 230000000694 effects Effects 0.000 description 2
- 238000005530 etching Methods 0.000 description 2
- 229920001973 fluoroelastomer Polymers 0.000 description 2
- 125000002496 methyl group Chemical group [H]C([H])([H])* 0.000 description 2
- 239000011368 organic material Substances 0.000 description 2
- RVZRBWKZFJCCIB-UHFFFAOYSA-N perfluorotributylamine Chemical compound FC(F)(F)C(F)(F)C(F)(F)C(F)(F)N(C(F)(F)C(F)(F)C(F)(F)C(F)(F)F)C(F)(F)C(F)(F)C(F)(F)C(F)(F)F RVZRBWKZFJCCIB-UHFFFAOYSA-N 0.000 description 2
- 239000004810 polytetrafluoroethylene Substances 0.000 description 2
- 229920001343 polytetrafluoroethylene Polymers 0.000 description 2
- 238000001179 sorption measurement Methods 0.000 description 2
- 229910018072 Al 2 O 3 Inorganic materials 0.000 description 1
- PIGFYZPCRLYGLF-UHFFFAOYSA-N Aluminum nitride Chemical compound [Al]#N PIGFYZPCRLYGLF-UHFFFAOYSA-N 0.000 description 1
- 229910052786 argon Inorganic materials 0.000 description 1
- 239000000498 cooling water Substances 0.000 description 1
- 238000007599 discharging Methods 0.000 description 1
- 238000005516 engineering process Methods 0.000 description 1
- 239000011521 glass Substances 0.000 description 1
- 239000001307 helium Substances 0.000 description 1
- 229910052734 helium Inorganic materials 0.000 description 1
- SWQJXJOGLNCZEY-UHFFFAOYSA-N helium atom Chemical compound [He] SWQJXJOGLNCZEY-UHFFFAOYSA-N 0.000 description 1
- 239000012212 insulator Substances 0.000 description 1
- 239000004973 liquid crystal related substance Substances 0.000 description 1
- 238000004519 manufacturing process Methods 0.000 description 1
- 230000004048 modification Effects 0.000 description 1
- 238000012986 modification Methods 0.000 description 1
- 239000003921 oil Substances 0.000 description 1
- 230000002093 peripheral effect Effects 0.000 description 1
- 239000011347 resin Substances 0.000 description 1
- 229920005989 resin Polymers 0.000 description 1
- 230000003068 static effect Effects 0.000 description 1
Images
Landscapes
- Drying Of Semiconductors (AREA)
- Cleaning Or Drying Semiconductors (AREA)
Abstract
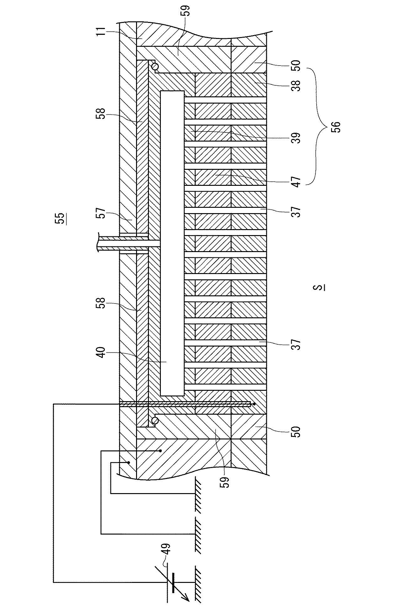
【解決手段】プラズマ処理室用構造物としてのガス導入シャワーヘッド34は、処理空間Sに露出する面を有する円板状の天井電極板38と、該天井電極板38を着脱可能に支持する電極支持体39と、天井電極板38及び電極支持体39の間に介在し、プラズマ処理中において天井電極板38を所定の温度に冷却する冷却板47と、該冷却板47及び天井電極板38の間に介在する絶縁膜48と、冷却板47の処理空間S側表面に形成されたアルマイト被膜51とを有し、天井電極板38、冷却板47及び電極支持体39はいずれも導電性部材からなり、天井電極板38は電気的に浮遊し、さらに、天井電極板38にはCEL直流電源49が電気的に接続されている。
【選択図】図2
Description
器の中央部へ向けて大きくなることを特徴とする。
みが引き込まれて電子が引き込まれない条件を維持できるので、容器内の空間において電子が減少することが無い条件を実現可能である。したがって、プラズマ処理室の構造をより簡素化することができると共に、プラズマ処理の効率を向上することができる。
材と、該第1の導電性部材及び空間の間に介在して空間に露出する面を有し、且つ電気的に浮遊する第2の導電性部材と、第1の導電性部材及び第2の導電性部材の間に介在する真空層とを備える。2つの導電性部材と該2つの導電性部材の間に介在する真空層とを有する構造物は所定の電気的容量を有する。この構造物では第1の導電性部材の電位は接地電位に固定される。また、容器の空間に高周波電力を印加してプラズマを発生させると、当該構造物の近傍では電子の非常に少ない領域であるシースが発生する。また、構造物はその電気的容量の大きさに見合った大きさのインピーダンス((容量)リアクタンス)を有する。高周波電力に対応する交流電流がシース及び構造物を通過する際、空間から接地電位への電圧降下が生じるが、該電圧降下はシース及び構造物のそれぞれによって分担される。シース及び構造物の電圧降下分担比率は構造物の(容量)リアクタンスの大きさに応じて変化する。また、第2の導電性部材の空間に露出する面には構造物が分担する電圧降下に見合った電位が生じる。したがって、構造物の電気的容量の大きさを制御することによって電位制御回路を用いずに電位を制御することができる。その結果、電位を制御することができると共に、プラズマ処理室の構造を簡素化することができる。
続されており、該高周波電源20は、比較的高い周波数、例えば、40MHzの高周波電力をサセプタ12に供給する。これにより、サセプタ12は下部電極として機能する。また、整合器22は、サセプタ12からの高周波電力の反射を低減して高周波電力のサセプタ12への供給効率を最大にする。サセプタ12は高周波電源20から供給された40MHzの高周波電力を処理空間Sに印加する。このとき、処理空間Sには印加された高周波電力に起因する電位(ポテンシャル)が発生する。
C=ε×S/d ‥‥‥ (1)
ここで、Cは電気的容量、εは比誘電率、Sは絶縁性部材の表面積、dは絶縁性部材の厚さを示す。
Xc=1/(2π×f×C) ‥‥‥ (2)
ここで、Xcは(容量)リアクタンス、fは高周波電位の周波数を示す。
ポリイミドで構成する。
ーヘッド34のそれぞれによって分担される。シース及びガス導入シャワーヘッド34の電圧降下分担比率はガス導入シャワーヘッド34の(容量)リアクタンスの大きさに応じて変化する。また、天井電極板38にはガス導入シャワーヘッド34が分担する電圧降下に見合った電位が生じる。したがって、ガス導入シャワーヘッド34の電気的容量の大きさを制御することによって電位制御回路を用いずに天井電極板38の電位(処理空間S側表面の電位)を制御することができる。その結果、処理空間S側表面の電位を制御することができると共に、プラズマ処理室の構造を簡素化することができる。また、処理空間S側表面の電位を制御することにより、デポプロセスでは天井電極板38に付着するポリマーの除去量を適切に制御することができると共に、デポレスプロセスでは天井電極板38が削られるのを防止できる。
れていればよい。
S 処理空間
10 プラズマ処理室
11 容器
12 サセプタ
20 高周波電源
34,52,56 ガス導入シャワーヘッド
38,53 天井電極板
39 電極支持体
46 他の高周波電源
47 冷却板
48,54,58 絶縁膜
49 CEL直流電源
51 アルマイト被膜
55 プラズマ処理室用構造物
57 チャンバ蓋
60 サセプタ側面被覆部材
61 プラズマ処理室用部品
62 基部
63 溶射膜
63a 表面
64 シース
Claims (20)
- 基板を収容する空間を有する容器と、該容器内に配置され且つ前記収容された基板を載置する載置台とを有するプラズマ処理室であって、前記載置台は少なくとも1つの高周波電源に接続されるプラズマ処理室に配置されるプラズマ処理室用構造物において、
電気的に接地する第1の導電性部材と、
該第1の導電性部材及び前記空間の間に介在して前記空間に露出する面を有し、且つ電気的に浮遊する第2の導電性部材と、
前記第1の導電性部材及び前記第2の導電性部材の間に配置される、誘電体からなる少なくとも1つの絶縁性部材とを備えることを特徴とするプラズマ処理室用構造物。 - 前記第2の導電性部材は直流電源と接続されることを特徴とする請求項1記載のプラズマ処理室用構造物。
- 電気的容量が1000pF以上であることを特徴とする請求項1又は2記載のプラズマ処理室用構造物。
- 前記電気的容量が50000pF以上であることを特徴とする請求項3記載のプラズマ処理室用構造物。
- 前記少なくとも1つの絶縁性部材は金属酸化物及び金属窒化物からなる群から選択された少なくとも1つの材料からなることを特徴とする請求項1乃至4のいずれか1項に記載のプラズマ処理室用構造物。
- 前記少なくとも1つの絶縁性部材は有機珪素化合物からなることを特徴とする請求項1乃至4のいずれか1項に記載のプラズマ処理室用構造物。
- 前記少なくとも1つの絶縁性部材は有機物からなることを特徴とする請求項1乃至4のいずれか1項に記載のプラズマ処理室用構造物。
- 前記少なくとも1つの絶縁性部材の厚さは部位に応じて変化することを特徴とする請求項1乃至7のいずれか1項に記載のプラズマ処理室用構造物。
- 前記少なくとも1つの絶縁性部材の厚さが前記容器の中央部へ向けて小さくなることを特徴とする請求項8記載のプラズマ処理室用構造物。
- 前記少なくとも1つの絶縁性部材が部位に応じて異なる材料で形成されることを特徴とする請求項1乃至7のいずれか1項に記載のプラズマ処理室用構造物。
- 前記少なくとも1つの絶縁性部材において配される材料の比誘電率が前記容器の中央部へ向けて大きくなることを特徴とする請求項10記載のプラズマ処理室用構造物。
- 基板を収容する空間を有する容器と、該容器内に配置され且つ前記収容された基板を載置する載置台とを有するプラズマ処理室であって、前記載置台は少なくとも1つの高周波電源に接続されるプラズマ処理室に配置されるプラズマ処理室用構造物において、
電気的に接地する第1の導電性部材と、
該第1の導電性部材及び前記空間の間に介在して前記空間に露出する面を有し、且つ電気的に浮遊する第2の導電性部材と、
前記第1の導電性部材及び前記第2の導電性部材の間に介在する真空層とを備えることを特徴とするプラズマ処理室用構造物。 - 基板を収容する空間を有する容器と、該容器内に配置され且つ前記収容された基板を載置する載置台とを有するプラズマ処理室であって、前記載置台は少なくとも1つの高周波電源に接続されるプラズマ処理室において、
電気的に接地する第1の導電性部材と、該第1の導電性部材及び前記空間の間に介在して前記空間に露出する面を有し、且つ電気的に浮遊する第2の導電性部材と、前記第1の導電性部材及び前記第2の導電性部材の間に配置される、誘電体からなる少なくとも1つの絶縁性部材とを有するプラズマ処理室用構造物を備えることを特徴とするプラズマ処理室。 - 基板を収容する空間を有する容器と、該容器内に配置され且つ前記収容された基板を載置する載置台とを有するプラズマ処理室であって、前記載置台は少なくとも1つの高周波電源に接続されるプラズマ処理室を備えるプラズマ処理装置において、
前記プラズマ処理室は、電気的に接地する第1の導電性部材と、該第1の導電性部材及び前記空間の間に介在して前記空間に露出する面を有し、且つ電気的に浮遊する第2の導電性部材と、前記第1の導電性部材及び前記第2の導電性部材の間に配置される、誘電体からなる少なくとも1つの絶縁性部材とを有するプラズマ処理室用構造物を備えることを特徴とするプラズマ処理装置。 - 基板を収容する空間を有する容器と、該容器内に配置され且つ前記収容された基板を載置する載置台とを有するプラズマ処理室であって、前記載置台は少なくとも1つの高周波電源に接続されるプラズマ処理室に配置されるプラズマ処理室用部品において、
電気的に接地する導電部と、
該導電部を覆い且つ前記空間に面する絶縁部とを備え、
前記絶縁部の厚さは該絶縁部の前記空間に面する表面に付着する付着物の量に応じて設定されることを特徴とするプラズマ処理室用部品。 - 前記付着物の量が多い絶縁部の厚さは前記付着物の量が少ない絶縁部の厚さより小さいことを特徴とする請求項15記載のプラズマ処理室用部品。
- 前記絶縁部は溶射された金属酸化物膜又は金属窒化物膜からなることを特徴とする請求項15又は16記載のプラズマ処理室用部品。
- 前記絶縁部は絶縁性の板状部材からなることを特徴とする請求項15又は16記載のプラズマ処理室用部品。
- 基板を収容する空間を有する容器と、該容器内に配置され且つ前記収容された基板を載置する載置台とを有するプラズマ処理室であって、前記載置台は少なくとも1つの高周波電源に接続されるプラズマ処理室において、
電気的に接地する導電部と、該導電部を覆い且つ前記空間に面する絶縁部とを有し、前記絶縁部の厚さは該絶縁部の前記空間に面する表面に付着する付着物の量に応じて設定されるプラズマ処理室用部品を備えることを特徴とするプラズマ処理室。 - 基板を収容する空間を有する容器と、該容器内に配置され且つ前記収容された基板を載置する載置台とを有するプラズマ処理室であって、前記載置台は少なくとも1つの高周波電源に接続されるプラズマ処理室を備えるプラズマ処理装置において、
前記プラズマ処理室は、電気的に接地する導電部と、該導電部を覆い且つ前記空間に面する絶縁部とを有し、前記絶縁部の厚さは該絶縁部の前記空間に面する表面に付着する付着物の量に応じて設定されるプラズマ処理室用部品を備えることを特徴とするプラズマ処理装置。
Priority Applications (2)
| Application Number | Priority Date | Filing Date | Title |
|---|---|---|---|
| JP2006028982A JP4777790B2 (ja) | 2005-09-29 | 2006-02-06 | プラズマ処理室用構造物、プラズマ処理室、及びプラズマ処理装置 |
| US11/529,372 US7895970B2 (en) | 2005-09-29 | 2006-09-29 | Structure for plasma processing chamber, plasma processing chamber, plasma processing apparatus, and plasma processing chamber component |
Applications Claiming Priority (3)
| Application Number | Priority Date | Filing Date | Title |
|---|---|---|---|
| JP2005285247 | 2005-09-29 | ||
| JP2005285247 | 2005-09-29 | ||
| JP2006028982A JP4777790B2 (ja) | 2005-09-29 | 2006-02-06 | プラズマ処理室用構造物、プラズマ処理室、及びプラズマ処理装置 |
Publications (2)
| Publication Number | Publication Date |
|---|---|
| JP2007123796A true JP2007123796A (ja) | 2007-05-17 |
| JP4777790B2 JP4777790B2 (ja) | 2011-09-21 |
Family
ID=38147263
Family Applications (1)
| Application Number | Title | Priority Date | Filing Date |
|---|---|---|---|
| JP2006028982A Expired - Fee Related JP4777790B2 (ja) | 2005-09-29 | 2006-02-06 | プラズマ処理室用構造物、プラズマ処理室、及びプラズマ処理装置 |
Country Status (1)
| Country | Link |
|---|---|
| JP (1) | JP4777790B2 (ja) |
Cited By (12)
| Publication number | Priority date | Publication date | Assignee | Title |
|---|---|---|---|---|
| WO2009117181A1 (en) * | 2008-03-18 | 2009-09-24 | Lam Research Corporation | Electrode assembly and plasma processing chamber utilizing thermally conductive gasket |
| US8152954B2 (en) | 2007-10-12 | 2012-04-10 | Lam Research Corporation | Showerhead electrode assemblies and plasma processing chambers incorporating the same |
| US8187414B2 (en) | 2007-10-12 | 2012-05-29 | Lam Research Corporation | Anchoring inserts, electrode assemblies, and plasma processing chambers |
| US8216418B2 (en) | 2007-06-13 | 2012-07-10 | Lam Research Corporation | Electrode assembly and plasma processing chamber utilizing thermally conductive gasket and o-rings |
| KR20120112218A (ko) * | 2011-03-31 | 2012-10-11 | 도쿄엘렉트론가부시키가이샤 | 천정 전극판 및 기판 처리 장치 |
| JP2015230988A (ja) * | 2014-06-05 | 2015-12-21 | 東京エレクトロン株式会社 | プラズマ処理装置およびクリーニング方法 |
| JP2016063083A (ja) * | 2014-09-18 | 2016-04-25 | 東京エレクトロン株式会社 | プラズマ処理装置 |
| JP2016129176A (ja) * | 2015-01-09 | 2016-07-14 | 東京エレクトロン株式会社 | 冷却構造及び平行平板エッチング装置 |
| KR20200075750A (ko) | 2018-12-18 | 2020-06-26 | 도쿄엘렉트론가부시키가이샤 | 기판 처리 장치용 구조물 및 기판 처리 장치 |
| JP2020119962A (ja) * | 2019-01-22 | 2020-08-06 | 東京エレクトロン株式会社 | プラズマ処理装置 |
| WO2024009903A1 (ja) * | 2022-07-04 | 2024-01-11 | 三菱マテリアル株式会社 | プラズマ処理装置用の電極板と電極構造 |
| WO2025004818A1 (ja) * | 2023-06-27 | 2025-01-02 | 東京エレクトロン株式会社 | 上部天板及び基板処理装置 |
Citations (5)
| Publication number | Priority date | Publication date | Assignee | Title |
|---|---|---|---|---|
| JPH0547709A (ja) * | 1991-08-07 | 1993-02-26 | Seiko Epson Corp | プラズマエツチング方法および装置 |
| JP2003243373A (ja) * | 2002-02-20 | 2003-08-29 | Hitachi High-Technologies Corp | プラズマ処理装置とプラズマ処理装置用保護膜及びその取付け方法 |
| JP2004158247A (ja) * | 2002-11-05 | 2004-06-03 | Sharp Corp | プラズマ処理装置およびプラズマ処理方法 |
| JP2005072347A (ja) * | 2003-08-26 | 2005-03-17 | Toshio Goto | 処理装置 |
| JP2005183833A (ja) * | 2003-12-22 | 2005-07-07 | Hitachi Ltd | プラズマ処理装置および処理方法 |
-
2006
- 2006-02-06 JP JP2006028982A patent/JP4777790B2/ja not_active Expired - Fee Related
Patent Citations (5)
| Publication number | Priority date | Publication date | Assignee | Title |
|---|---|---|---|---|
| JPH0547709A (ja) * | 1991-08-07 | 1993-02-26 | Seiko Epson Corp | プラズマエツチング方法および装置 |
| JP2003243373A (ja) * | 2002-02-20 | 2003-08-29 | Hitachi High-Technologies Corp | プラズマ処理装置とプラズマ処理装置用保護膜及びその取付け方法 |
| JP2004158247A (ja) * | 2002-11-05 | 2004-06-03 | Sharp Corp | プラズマ処理装置およびプラズマ処理方法 |
| JP2005072347A (ja) * | 2003-08-26 | 2005-03-17 | Toshio Goto | 処理装置 |
| JP2005183833A (ja) * | 2003-12-22 | 2005-07-07 | Hitachi Ltd | プラズマ処理装置および処理方法 |
Cited By (20)
| Publication number | Priority date | Publication date | Assignee | Title |
|---|---|---|---|---|
| US8216418B2 (en) | 2007-06-13 | 2012-07-10 | Lam Research Corporation | Electrode assembly and plasma processing chamber utilizing thermally conductive gasket and o-rings |
| US8152954B2 (en) | 2007-10-12 | 2012-04-10 | Lam Research Corporation | Showerhead electrode assemblies and plasma processing chambers incorporating the same |
| US8187414B2 (en) | 2007-10-12 | 2012-05-29 | Lam Research Corporation | Anchoring inserts, electrode assemblies, and plasma processing chambers |
| US8268117B2 (en) | 2007-10-12 | 2012-09-18 | Lam Research Corporation | Showerhead electrodes |
| US8187413B2 (en) | 2008-03-18 | 2012-05-29 | Lam Research Corporation | Electrode assembly and plasma processing chamber utilizing thermally conductive gasket |
| WO2009117181A1 (en) * | 2008-03-18 | 2009-09-24 | Lam Research Corporation | Electrode assembly and plasma processing chamber utilizing thermally conductive gasket |
| US9023177B2 (en) | 2008-10-15 | 2015-05-05 | Lam Research Corporation | Anchoring inserts, electrode assemblies, and plasma processing chambers |
| KR101889806B1 (ko) * | 2011-03-31 | 2018-08-20 | 도쿄엘렉트론가부시키가이샤 | 천정 전극판 및 기판 처리 장치 |
| KR20120112218A (ko) * | 2011-03-31 | 2012-10-11 | 도쿄엘렉트론가부시키가이샤 | 천정 전극판 및 기판 처리 장치 |
| US11430636B2 (en) | 2014-06-05 | 2022-08-30 | Tokyo Electron Limited | Plasma processing apparatus and cleaning method |
| US10497545B2 (en) | 2014-06-05 | 2019-12-03 | Tokyo Electron Limited | Plasma processing apparatus and cleaning method |
| JP2015230988A (ja) * | 2014-06-05 | 2015-12-21 | 東京エレクトロン株式会社 | プラズマ処理装置およびクリーニング方法 |
| JP2016063083A (ja) * | 2014-09-18 | 2016-04-25 | 東京エレクトロン株式会社 | プラズマ処理装置 |
| JP2016129176A (ja) * | 2015-01-09 | 2016-07-14 | 東京エレクトロン株式会社 | 冷却構造及び平行平板エッチング装置 |
| KR20200075750A (ko) | 2018-12-18 | 2020-06-26 | 도쿄엘렉트론가부시키가이샤 | 기판 처리 장치용 구조물 및 기판 처리 장치 |
| KR102712692B1 (ko) | 2018-12-18 | 2024-10-02 | 도쿄엘렉트론가부시키가이샤 | 기판 처리 장치용 구조물 및 기판 처리 장치 |
| JP2020119962A (ja) * | 2019-01-22 | 2020-08-06 | 東京エレクトロン株式会社 | プラズマ処理装置 |
| JP7224192B2 (ja) | 2019-01-22 | 2023-02-17 | 東京エレクトロン株式会社 | プラズマ処理装置 |
| WO2024009903A1 (ja) * | 2022-07-04 | 2024-01-11 | 三菱マテリアル株式会社 | プラズマ処理装置用の電極板と電極構造 |
| WO2025004818A1 (ja) * | 2023-06-27 | 2025-01-02 | 東京エレクトロン株式会社 | 上部天板及び基板処理装置 |
Also Published As
| Publication number | Publication date |
|---|---|
| JP4777790B2 (ja) | 2011-09-21 |
Similar Documents
| Publication | Publication Date | Title |
|---|---|---|
| US7895970B2 (en) | Structure for plasma processing chamber, plasma processing chamber, plasma processing apparatus, and plasma processing chamber component | |
| JP5317424B2 (ja) | プラズマ処理装置 | |
| CN108987233B (zh) | 等离子体处理装置和静电吸附方法 | |
| TWI821482B (zh) | 電漿處理裝置及電漿處理方法 | |
| KR102569911B1 (ko) | 포커스 링 및 기판 처리 장치 | |
| JP6556046B2 (ja) | プラズマ処理方法およびプラズマ処理装置 | |
| JP5710318B2 (ja) | プラズマ処理装置 | |
| CN100517563C (zh) | 等离子体处理装置和等离子体处理方法 | |
| US20100122774A1 (en) | Substrate mounting table and substrate processing apparatus having same | |
| KR102332028B1 (ko) | 기판 처리 방법 및 기판 처리 장치 | |
| KR101898079B1 (ko) | 플라즈마 처리 장치 | |
| US11430636B2 (en) | Plasma processing apparatus and cleaning method | |
| KR20160078917A (ko) | 정전 흡착 방법 및 기판 처리 장치 | |
| JP2008177493A (ja) | 基板処理装置及びフォーカスリング | |
| US20120037314A1 (en) | Substrate processing apparatus and side wall component | |
| KR20190005798A (ko) | 정전 척의 제조 방법 및 정전 척 | |
| CN113793794A (zh) | 等离子体处理装置 | |
| US20150228458A1 (en) | Plasma processing method and plasma processing apparatus | |
| JP4777790B2 (ja) | プラズマ処理室用構造物、プラズマ処理室、及びプラズマ処理装置 | |
| JP2011035052A (ja) | プラズマ処理装置用電極及びプラズマ処理装置 | |
| CN100570818C (zh) | 等离子体处理装置 | |
| JP2007250860A (ja) | プラズマ処理装置用電極アッセンブリ及びプラズマ処理装置 | |
| JP6298293B2 (ja) | 基板処理装置、シャッタ機構およびプラズマ処理装置 | |
| KR102616554B1 (ko) | 기판 이탈 방법 및 플라즈마 처리 장치 | |
| US20110024040A1 (en) | Deposit protection cover and plasma processing apparatus |
Legal Events
| Date | Code | Title | Description |
|---|---|---|---|
| A621 | Written request for application examination |
Free format text: JAPANESE INTERMEDIATE CODE: A621 Effective date: 20090107 |
|
| A977 | Report on retrieval |
Free format text: JAPANESE INTERMEDIATE CODE: A971007 Effective date: 20100917 |
|
| A131 | Notification of reasons for refusal |
Free format text: JAPANESE INTERMEDIATE CODE: A131 Effective date: 20100928 |
|
| A521 | Request for written amendment filed |
Free format text: JAPANESE INTERMEDIATE CODE: A523 Effective date: 20101125 |
|
| TRDD | Decision of grant or rejection written | ||
| A01 | Written decision to grant a patent or to grant a registration (utility model) |
Free format text: JAPANESE INTERMEDIATE CODE: A01 Effective date: 20110628 |
|
| A01 | Written decision to grant a patent or to grant a registration (utility model) |
Free format text: JAPANESE INTERMEDIATE CODE: A01 |
|
| A61 | First payment of annual fees (during grant procedure) |
Free format text: JAPANESE INTERMEDIATE CODE: A61 Effective date: 20110630 |
|
| R150 | Certificate of patent or registration of utility model |
Free format text: JAPANESE INTERMEDIATE CODE: R150 Ref document number: 4777790 Country of ref document: JP Free format text: JAPANESE INTERMEDIATE CODE: R150 |
|
| FPAY | Renewal fee payment (event date is renewal date of database) |
Free format text: PAYMENT UNTIL: 20140708 Year of fee payment: 3 |
|
| R250 | Receipt of annual fees |
Free format text: JAPANESE INTERMEDIATE CODE: R250 |
|
| R250 | Receipt of annual fees |
Free format text: JAPANESE INTERMEDIATE CODE: R250 |
|
| R250 | Receipt of annual fees |
Free format text: JAPANESE INTERMEDIATE CODE: R250 |
|
| R250 | Receipt of annual fees |
Free format text: JAPANESE INTERMEDIATE CODE: R250 |
|
| R250 | Receipt of annual fees |
Free format text: JAPANESE INTERMEDIATE CODE: R250 |
|
| LAPS | Cancellation because of no payment of annual fees |
