JP2005332015A - ブースター付きカードケース - Google Patents

ブースター付きカードケース Download PDF

Info

Publication number
JP2005332015A
JP2005332015A JP2004147345A JP2004147345A JP2005332015A JP 2005332015 A JP2005332015 A JP 2005332015A JP 2004147345 A JP2004147345 A JP 2004147345A JP 2004147345 A JP2004147345 A JP 2004147345A JP 2005332015 A JP2005332015 A JP 2005332015A
Authority
JP
Japan
Prior art keywords
card
antenna
booster
communication antenna
case
Prior art date
Legal status (The legal status is an assumption and is not a legal conclusion. Google has not performed a legal analysis and makes no representation as to the accuracy of the status listed.)
Pending
Application number
JP2004147345A
Other languages
English (en)
Inventor
Takeshi Muto
健 武藤
Current Assignee (The listed assignees may be inaccurate. Google has not performed a legal analysis and makes no representation or warranty as to the accuracy of the list.)
Toppan Inc
Original Assignee
Toppan Printing Co Ltd
Priority date (The priority date is an assumption and is not a legal conclusion. Google has not performed a legal analysis and makes no representation as to the accuracy of the date listed.)
Filing date
Publication date
Application filed by Toppan Printing Co Ltd filed Critical Toppan Printing Co Ltd
Priority to JP2004147345A priority Critical patent/JP2005332015A/ja
Publication of JP2005332015A publication Critical patent/JP2005332015A/ja
Pending legal-status Critical Current

Links

Images

Classifications

    • GPHYSICS
    • G06COMPUTING OR CALCULATING; COUNTING
    • G06KGRAPHICAL DATA READING; PRESENTATION OF DATA; RECORD CARRIERS; HANDLING RECORD CARRIERS
    • G06K7/00Methods or arrangements for sensing record carriers, e.g. for reading patterns
    • G06K7/10Methods or arrangements for sensing record carriers, e.g. for reading patterns by electromagnetic radiation, e.g. optical sensing; by corpuscular radiation
    • G06K7/10009Methods or arrangements for sensing record carriers, e.g. for reading patterns by electromagnetic radiation, e.g. optical sensing; by corpuscular radiation sensing by radiation using wavelengths larger than 0.1 mm, e.g. radio-waves or microwaves
    • G06K7/10158Methods or arrangements for sensing record carriers, e.g. for reading patterns by electromagnetic radiation, e.g. optical sensing; by corpuscular radiation sensing by radiation using wavelengths larger than 0.1 mm, e.g. radio-waves or microwaves methods and means used by the interrogation device for reliably powering the wireless record carriers using an electromagnetic interrogation field
    • G06K7/10178Methods or arrangements for sensing record carriers, e.g. for reading patterns by electromagnetic radiation, e.g. optical sensing; by corpuscular radiation sensing by radiation using wavelengths larger than 0.1 mm, e.g. radio-waves or microwaves methods and means used by the interrogation device for reliably powering the wireless record carriers using an electromagnetic interrogation field including auxiliary means for focusing, repeating or boosting the electromagnetic interrogation field
    • GPHYSICS
    • G06COMPUTING OR CALCULATING; COUNTING
    • G06KGRAPHICAL DATA READING; PRESENTATION OF DATA; RECORD CARRIERS; HANDLING RECORD CARRIERS
    • G06K19/00Record carriers for use with machines and with at least a part designed to carry digital markings
    • G06K19/005Record carriers for use with machines and with at least a part designed to carry digital markings the record carrier comprising an arrangement to facilitate insertion into a holding device, e.g. an arrangement that makes the record carrier fit into an etui or a casing

Landscapes

  • Physics & Mathematics (AREA)
  • Engineering & Computer Science (AREA)
  • Electromagnetism (AREA)
  • General Physics & Mathematics (AREA)
  • Theoretical Computer Science (AREA)
  • Health & Medical Sciences (AREA)
  • Toxicology (AREA)
  • Computer Networks & Wireless Communication (AREA)
  • General Health & Medical Sciences (AREA)
  • Artificial Intelligence (AREA)
  • Computer Vision & Pattern Recognition (AREA)
  • Purses, Travelling Bags, Baskets, Or Suitcases (AREA)

Abstract

【課題】非接触ICカード用のカードケースにアンテナを内蔵し、カード内のアンテナとの電磁結合により通信電波の補強を行い、ブースターとして機能させることにより、通信距離等を伸長させることができるカードケースを提供する。
【課題手段】ICチップ2と通信アンテナ3とが内蔵された非接触式ICカードAの表面側又は裏面側に相当するカードケース本体21のカードケース構造体に、該ICカードA面に対してパラレルに重ね合わせられ、且つ、少なくとも該ICカードAの通信アンテナ3よりも大きいサイズのブースター用通信アンテナ22が内蔵されている。
【選択図】図1

Description

本発明は、非接触式ICカードを収納するカードケースに関する。
一般に、非接触式ICカードは、通常のプリペイドカードやクレジットカード、あるいは定期券等の磁気カードと同様に専用のカードケース等に収納して使用される。
図4に示すように、非接触式ICカードAは、キャッシュカードやクレジットカードなど各種ビジネスサービス用のカードや、乗車用定期カード、社員証、学生証等として多用されており、磁気カードと同様に磁気記録層を備えるとともに、プラスチック製のカード基材1にICチップ2と通信アンテナ3とが内蔵されており、電子データを書き込み記録したり、記録した電子データを読み出し可能な端末機Bとの間で、通信用アンテナを介して、記録、交信でき、ICチップのメモリに磁気記録層に記録する記録データ以外の多くの電子データを記憶できるようになっている。
非接触式ICカードと端末機との通信可能距離は、アンテナのサイズ、即ち、カード面へのアンテナ搭載領域サイズに依存するものであるが、ICカード内に内蔵できるアンテナのサイズには制限があり、例えば、ICカードより大きいサイズのアンテナは内蔵が困難であるし、アンテナの搭載コストは、そのアンテナのサイズに依存するため、可能な限り大きいサイズのアンテナを搭載しようとすると、搭載コストが増大する。また、ICカードの表面にエンボス等の凹凸加工を施す場合には、搭載すべきアンテナを、そのカードのエンボス加工領域に掛からないように小さいサイズにしなければならない。
そこで、非接触式ICカードと端末機との間に、通信電波を補強するための電波補強用のブースターを介在させることによって、非接触式ICカードと端末機との通信可能距離を伸ばすことが可能であるが、そのような技術としては、特開2001−307039号公報などがある。
以下に、公知の特許文献を記載する。
特開2001−307039号公報
本発明は、外部機器との非接触による通信が可能なICカードを収納可能なICカード用のカードケースにアンテナを内蔵して、ICカード内のアンテナのブースターとして機能させることにより、通信距離等を伸長させることができるカードケースを提供することにある。
本発明の請求項1に係る発明は、カード類を収納可能なカードケースにおいて、ICチップと該ICチップと外部機器との間で非接触にて通信を行うための通信アンテナとが内蔵されたICカードを収納可能であって、ICカードを収納可能した際に該ICカードの表面側又は裏面側に相当するカードケース本体内に該ICカード面に対して略パラレルに配置され、、且つ少なくとも該ICカードの通信アンテナよりも大きいアンテナコイル開口面積又はアンテナコイル巻数又はアンテナ搭載領域サイズを有するブースター用通信アンテナが内蔵されていることを特徴とするブースター付きカードケースである。
本発明のブースター付きカードケースは、キャッシュカードやクレジットカードなど各種ビジネスサービス用のカードや、乗車用定期券、社員証、学生証等の磁気カードや非接触式ICカード等のカード類を収納可能なカードケースであって、非接触式ICカードの表面側又は裏面側に相当するカードケース構造体に、該ICカード面に対してパラレルに重ね合わせられ、且つ、少なくとも該ICカードに搭載した通信アンテナよりも大きいアンテナ開口面積又はアンテナコイル巻数又はアンテナ搭載領域サイズを有するブースター用アンテナが内蔵されているカードケースである。
本発明のブースター付きカードケースのカードケース構造体に内蔵するブースター用通信アンテナは、非接触式ICカードに搭載した通信用アンテナの搭載領域サイズよりも大きい搭載領域サイズに亘って搭載されており、非接触式ICカードをブースター付きカードケース内に収納した際に、非接触式ICカードに搭載した通信アンテナは、カードケース構造体に内蔵するブースター用通信アンテナに対して、略パラレルに間接的に重ね合わせられる。
そのために、本発明のブースター付きカードケースに収納した状態の非接触式ICカードと、電子データを書き込み記録し、記録した電子データを読み出し可能な非接触方式の書き込み読み出し用端末機(又は非接触方式の読み出し専用端末機)との間で、互いの通信アンテナを介して交信した際に、端末機の通信アンテナから発信され、カードケース側のブースター用通信アンテナに入力した書き込み読み出し指令制御用電波(信号)は、ICカード側の通信アンテナとカードケース側のブースター用通信アンテナとの間で共振して電磁結合が発生して電波補強され、非接触式ICカード側の通信アンテナに入力して、該ICカードのICチップ(IC回路、メモリ回路)を起動させることができ、比較的に遠距離に離れた状態にある前記非接触方式の書き込み読み出し用端末機(又は非接触方式の読み出し専用端末機)から非接触式ICカードの通信アンテナに良好に入力し、十分な通信可能距離が確保でき、操作性を向上させることができる。
そして、非接触方式ICカード側のICチップ(IC回路、メモリ回路)の起動によりメモリ回路に記録されている所定の記録データが読み出され、読み出された記録データはICカード側の通信アンテナから電波(信号)として発信される。
その際に、ICカード側の通信アンテナから発信された記録データの電波(信号)は、該ICカード側の通信アンテナとカードケース側のブースター用通信アンテナとの間で共振して電磁結合が発生して電波補強されて、比較的に遠距離に離れた状態にある前記非接触方式の書き込み読み出し用端末機(又は非接触方式の読み出し専用端末機)側の通信アンテナに良好に入力し、該端末機は記録データを確実に読み取ることができ、十分な通信可能距離が確保でき、操作性を向上させることができる。
また、本発明のブースター付きカードケースは、非接触式ICカードに内蔵する通信アンテナのサイズをより縮小したとしても、該ICカード側の通信アンテナとカードケース側のブースター用通信アンテナとの間で、交信電波は共振して電磁結合が発生し、電波補強されて交信が可能であるため、アンテナを用いない接点式の接触式ICカードのカード面に接点が露呈するように埋め込み配置したICモジュールのブロック内に、通信アンテナをコンパクトに内蔵させ、本発明のブースター付きカードケースと併用することによって、接触式ICカードを非接触式と接触式の両方式を併せ持つICカードとすることが可能になる。
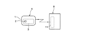
本発明のブースター付きカードケースの実施の形態を、図1(a)の平面図、及び図1(b)の平面図に基づいて以下に詳細に説明する。
本発明のブースター付きカードケースは、図1(a)に示すように、カード類を収納可能なカードケースCであって、そのカードケースCのケース本体のサイズ、形状、構造はカード類を互いに重ね合わせるようにしてコンパクトに収納可能なサイズ、形状、構造であれば特に限定されるものではない。
本発明のカードケースCに使用するカードケース本体の形状、構造としては、公知の偏平矩形状の専用のカード収納ケースや、定期券収納ケース、あるいは公知の偏平矩形状の紙幣収納用財布類などがある。
例えば、本発明のカードケースCに使用するカードケース本体として、図1(a)に示すように、公知のカード収納ケースや定期券収納ケースなど、偏平矩形状のケース本体21が使用され、ケース本体21の四辺のうち三辺は閉塞し、他の一辺は開口する開口部23を備えていて、該開口部23からケース本体21内に、図1(b)に示すカード類Aを収納するようになっている。
図1(a)に示すように、本発明のカードケースCには、ブースター用通信アンテナ22が搭載(又は内蔵)されている。
カードケースCに搭載するブースター用通信アンテナ22は、前記カードケース本体21のカードケース構造体面に内蔵されていて、そのケース本体21内にカード類Aを収納した際には、カード類Aのカード面に対して、カードケース構造体面に内蔵したブースター用通信アンテナ22の形成面が互いにパラレルに重ね合わせられるように設けられている。
また、カードケースCに搭載するブースター用通信アンテナ22は、ケース本体21内にカード類Aとして、図1(b)に示す非接触式ICカードAを収納した際に、該ICカードAの通信アンテナ3の直線部分に対して、カードケースCのブースター用通信アンテナ22の直線部分が、互いにパラレルに配置されるように設けられている。
また、前記ブースター用通信アンテナ22は、図1(b)に示すカード類Aとしての非接触式ICカードAの通信アンテナ3よりも、より大きいアンテナコイル開口面積か、又はより大きいアンテナコイル巻数か、又はより大きいアンテナ搭載領域サイズに設定されて搭載されているものである。
前記非接触式ICカードAの通信アンテナ3と、カードケースCのブースター用通信アンテナ22は、それぞれコイル状アンテナ、あるいはリニアー状アンテナのいずれでもよい。また、例えば、通信アンテナ3の1つの直線部分(又は1つの略直線部分)のアンテナ長さは、交信に使用する電波の最小振幅以上の長さが適当である。また、ブースター用通信アンテナ22の1つの直線部分(又は1つの略直線部分)のアンテナ長さは、前記通信アンテナ3のアンテナ長さよりも長くなるように設けられていることが適当であり、例えば、前記通信アンテナ3のアンテナ長さに対して、整数倍の長さであることが適当である。
非接触式ICカードAは、図1(b)に示すように、プラスチック製のカード基板1にICチップ2とアンテナ部3が内蔵されているものである。
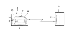
図2に示すように、本発明のカードケースCは、上記ケース本体21内に、非接触式I
CカードAを収納した際には、そのカードAの表面又は裏面に相当する部分、及びそのカードAに内蔵したアンテナ部3が、そのケース本体21の構造体(天然皮革、合成皮革、合成樹脂シート)に内蔵したブースター用通信アンテナ22に対して、略パラレルに重ね合わせられる。
そのために、同図2に示すように、非接触方式の書き込み読み出し用端末機Bの通信アンテナ11からカードケースC内の非接触式ICカードAに向かって発信される書き込み又は読み出し指令制御用の電波信号は、略パラレルに重ね合わせられたカードAのアンテナ部3と、カードケースCに搭載した、それより大きいサイズのブースター用通信アンテナ22とによって共振して、電磁結合が発生し、電波が補強されて、補強された電波信号が、ブースター用通信アンテナ22から非接触式ICカードAのアンテナ部3に入力して、前記ICカードAのICチップを起動させて、データを書き込み記録したり、記録されているデータを読み出すことができる。
また、同図2に示すように、非接触式ICカードAのICチップの起動によって、該ICチップから読み出された記録データは、該ICカードAのアンテナ部3から電波信号として発信されて、その電波信号は、略パラレルに重ね合わせられたカードAの前記アンテナ部3と、カードケースCに搭載した、それより大きいサイズのブースター用通信アンテナ22とによって共振して、電磁結合が発生し、電波が補強されて、補強された電波信号は、ブースター用通信アンテナ22から非接触方式の書き込み読み出し用端末機Bの通信アンテナ11に入力して、該端末機Bは、非接触式ICカードAのICチップに記録された記録データを読み取ることができる。
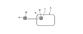
また、本発明のブースター付きカードケースCは、非接触式ICカードAに内蔵する通信アンテナ3のサイズをより縮小したとしても、該ICカードA側の通信アンテナ3とカードケースC側のブースター用通信アンテナ22との間で交信電波は共振して、電磁結合が発生し、電波補強されるため、非接触式ICカードAと上記端末機Bとは、上記のような交信が可能である。
そのため、図3に示すように、通信アンテナを用いない接点式の接触式ICカードAのプラスチック製カード基材1面に、モジュール通電接点が表面に露呈するように埋め込み配置したICモジュールMのモジュールブロック内に、該ICモジュールMを起動させるために通信アンテナ4をコンパクトに内蔵させて、本発明のブースター付きカードケースCと併用することによって、図3に示す接触式ICカードAを非接触式と接触式の両方式を併せ持つICカードとすることができる。
(a)は本発明のブースター付きカードケースの概略平面図、(b)は非接触式ICカードの概要平面図。 本発明のブースター付きカードケース内に収納した非接触式ICカードと書き込み読み出し端末機との交信を説明する平面図。 本発明のブースター付きカードケースを用いて非接触式と接触式の両方を併用するための接触式ICカードの概要平面図。 一般的な非接触式ICカードと書き込み読み出し端末機との交信を説明する平面図。
符号の説明
A…非接触式ICカード(又は接触式ICカード) B…端末機
C…ブースター付きカードケース M…ICモジュール
1…カード基材 2…ICチップ 3…通信アンテナ
4…ICモジュール内装通信アンテナ
11…通信アンテナ
21…カードケース本体 22…ブースター用通信アンテナ 23…開口部

Claims (1)

  1. カード類を収納可能なカードケースにおいて、ICチップと該ICチップと外部機器との間で非接触にて通信を行うための通信アンテナとが内蔵されたICカードを収納可能であって、ICカードを収納可能した際に該ICカードの表面側又は裏面側に相当するカードケース本体内に該ICカード面に対して略パラレルに配置され、、且つ少なくとも該ICカードの通信アンテナよりも大きいアンテナコイル開口面積又はアンテナコイル巻数又はアンテナ搭載領域サイズを有するブースター用通信アンテナが内蔵されていることを特徴とするブースター付きカードケース。
JP2004147345A 2004-05-18 2004-05-18 ブースター付きカードケース Pending JP2005332015A (ja)

Priority Applications (1)

Application Number Priority Date Filing Date Title
JP2004147345A JP2005332015A (ja) 2004-05-18 2004-05-18 ブースター付きカードケース

Applications Claiming Priority (1)

Application Number Priority Date Filing Date Title
JP2004147345A JP2005332015A (ja) 2004-05-18 2004-05-18 ブースター付きカードケース

Publications (1)

Publication Number Publication Date
JP2005332015A true JP2005332015A (ja) 2005-12-02

Family

ID=35486661

Family Applications (1)

Application Number Title Priority Date Filing Date
JP2004147345A Pending JP2005332015A (ja) 2004-05-18 2004-05-18 ブースター付きカードケース

Country Status (1)

Country Link
JP (1) JP2005332015A (ja)

Cited By (10)

* Cited by examiner, † Cited by third party
Publication number Priority date Publication date Assignee Title
JP2007174582A (ja) * 2005-12-26 2007-07-05 Toshiba It & Control Systems Corp 近接アンテナ
JP2007213299A (ja) * 2006-02-09 2007-08-23 Toppan Printing Co Ltd Rfidタグ用ホルダー、rfidタグ及びrfid装置
JP2008040583A (ja) * 2006-08-02 2008-02-21 Toppan Printing Co Ltd Rfidタグ用ホルダー
JP2008097332A (ja) * 2006-10-12 2008-04-24 Toppan Printing Co Ltd Rfidタグ用ホルダー、rfidタグ及びrfid装置
EP1956526A1 (en) * 2007-01-30 2008-08-13 Sony Corporation Optical disc case, optical disc tray, card member, and manufacturing method
JP2011018319A (ja) * 2009-06-19 2011-01-27 Korea Minting Security Printing & Id Card Operating Corp コンビカード及びそれを用いたコンビカード通信装置
EP2257917A4 (en) * 2008-04-03 2011-06-08 Upm Raflatac Oy TRANSPONDER WITH A REINFORCING ANTENNA
KR101111181B1 (ko) 2009-12-28 2012-02-16 케이아이씨시스템즈 (주) Rfid 태그 리피터
CN105051759A (zh) * 2013-03-15 2015-11-11 株式会社日立系统 具备层叠线圈天线的小型ic标签及其制法
DE102020114528B3 (de) 2020-05-29 2022-01-20 Infineon Technologies Ag Chipkarten-Hülle, Verfahren zum Verwenden einer Chipkarten-Hülle, Chip-Kartenhülle und Chipkartensystem

Cited By (13)

* Cited by examiner, † Cited by third party
Publication number Priority date Publication date Assignee Title
JP2007174582A (ja) * 2005-12-26 2007-07-05 Toshiba It & Control Systems Corp 近接アンテナ
JP2007213299A (ja) * 2006-02-09 2007-08-23 Toppan Printing Co Ltd Rfidタグ用ホルダー、rfidタグ及びrfid装置
JP2008040583A (ja) * 2006-08-02 2008-02-21 Toppan Printing Co Ltd Rfidタグ用ホルダー
JP2008097332A (ja) * 2006-10-12 2008-04-24 Toppan Printing Co Ltd Rfidタグ用ホルダー、rfidタグ及びrfid装置
US7886315B2 (en) 2007-01-30 2011-02-08 Sony Corporation Optical disc case, optical disc tray, card member, and manufacturing method
EP1956526A1 (en) * 2007-01-30 2008-08-13 Sony Corporation Optical disc case, optical disc tray, card member, and manufacturing method
EP2257917A4 (en) * 2008-04-03 2011-06-08 Upm Raflatac Oy TRANSPONDER WITH A REINFORCING ANTENNA
JP2011018319A (ja) * 2009-06-19 2011-01-27 Korea Minting Security Printing & Id Card Operating Corp コンビカード及びそれを用いたコンビカード通信装置
US8286873B2 (en) 2009-06-19 2012-10-16 Korea Mining, Security Printing & ID Card Operating Corp. Combi card and communication system using thereof
KR101111181B1 (ko) 2009-12-28 2012-02-16 케이아이씨시스템즈 (주) Rfid 태그 리피터
CN105051759A (zh) * 2013-03-15 2015-11-11 株式会社日立系统 具备层叠线圈天线的小型ic标签及其制法
CN105051759B (zh) * 2013-03-15 2018-06-12 株式会社日立系统 具备层叠线圈天线的小型ic标签及其制法
DE102020114528B3 (de) 2020-05-29 2022-01-20 Infineon Technologies Ag Chipkarten-Hülle, Verfahren zum Verwenden einer Chipkarten-Hülle, Chip-Kartenhülle und Chipkartensystem

Similar Documents

Publication Publication Date Title
CA2684625C (en) Anti-interrogation for portable device
US9767331B2 (en) Methods and apparatus for preserving privacy in an RFID system
US8328106B1 (en) Convertible transaction card
US7900843B2 (en) Proximity payment card with user-actuated switch and methods of making the card
US7533826B2 (en) Electronic wallet
US6367701B1 (en) Portable data transmission device, and fixing element
JP5102558B2 (ja) 複合rfidデータキャリア
JP2005332015A (ja) ブースター付きカードケース
US20080001844A1 (en) Masking device for contactless portable object in the form of a secure document equipped with a radiofrequency device
JP2001028037A (ja) 非接触情報媒体およびこれを用いた通信システム
JP2021524624A (ja) 無許可の読取りに対してセキュア化された電子パスポート
JP4256293B2 (ja) Icカード保持具
JP4370841B2 (ja) カードホルダー
JP3776310B2 (ja) Icカード
JP3148331U (ja) 冊子
JP3113192U (ja) カード用防護体
JP3115239U (ja) 非接触icカードの通信性能向上カード
KR102733313B1 (ko) 양방향 비접촉식 결제 기능을 가지는 rf안테나 구조와 이를 포함하는 메탈 소재의 rf 디바이스
KR20100118379A (ko) 보석 또는 귀금속바를 내장한 접촉식 전자카드 및 그 제조방법
KR20100033571A (ko) Rf기능제어가 가능한 스마트 카드
JP3111033U (ja) Icカード用カバー
JP2003132329A (ja) 非接触式icカード
JP2011175549A (ja) Icモジュール、及びこのicモジュールを有するicカード
JP2007249399A (ja) 捺印システム
JP3121259U (ja) 非接触型icカードに対しての不正アクセスを防止する機能を有したシート。