JP2005299938A - 循環流動炉 - Google Patents

循環流動炉 Download PDF

Info

Publication number
JP2005299938A
JP2005299938A JP2004112130A JP2004112130A JP2005299938A JP 2005299938 A JP2005299938 A JP 2005299938A JP 2004112130 A JP2004112130 A JP 2004112130A JP 2004112130 A JP2004112130 A JP 2004112130A JP 2005299938 A JP2005299938 A JP 2005299938A
Authority
JP
Japan
Prior art keywords
furnace
secondary air
fluidized
riser
diameter
Prior art date
Legal status (The legal status is an assumption and is not a legal conclusion. Google has not performed a legal analysis and makes no representation as to the accuracy of the status listed.)
Pending
Application number
JP2004112130A
Other languages
English (en)
Inventor
Tsuneki Yamauchi
恒樹 山内
Sueo Yoshida
季男 吉田
Shiro Sasaya
史郎 笹谷
Kazuhiro Kuroyama
和宏 黒山
Current Assignee (The listed assignees may be inaccurate. Google has not performed a legal analysis and makes no representation or warranty as to the accuracy of the list.)
Mitsubishi Heavy Industries Ltd
Original Assignee
Mitsubishi Heavy Industries Ltd
Priority date (The priority date is an assumption and is not a legal conclusion. Google has not performed a legal analysis and makes no representation as to the accuracy of the date listed.)
Filing date
Publication date
Application filed by Mitsubishi Heavy Industries Ltd filed Critical Mitsubishi Heavy Industries Ltd
Priority to JP2004112130A priority Critical patent/JP2005299938A/ja
Publication of JP2005299938A publication Critical patent/JP2005299938A/ja
Pending legal-status Critical Current

Links

Images

Landscapes

  • Fluidized-Bed Combustion And Resonant Combustion (AREA)
  • Crucibles And Fluidized-Bed Furnaces (AREA)

Abstract

【課題】 二次空気の適正な吹き込みにより炉内ガスに含まれる未燃分を低減するとともに脱硫率を向上させ、さらに流動媒体の円滑な循環を図り、炉の安定運転を可能とする循環流動炉を提供する。
【解決手段】 ライザ11の底部から導入される一次空気31により汚泥32を流動媒体と混合流動しながら燃焼する流動層17が炉底に形成され、該流動層17の上方に、二次空気噴出ノズル20から導入される二次空気31により流動媒体を循環させるフリーボード18が形成された循環流動炉10において、前記二次空気噴出ノズル20の上方位置から下方へ向けて縮径するテーパ状の絞り部25を設け、前記二次空気噴出ノズル20の高さ位置のライザ径D0を絞り部25より上部のライザ径Dより小とするとともに、ライザ下方空間をライザ上方空間より小とし、ライザ下方の空塔速度を上昇させる構成とする。
【選択図】 図1

Description

本発明は、炉本体内に高温の流動媒体を循環させながら被処理物を燃焼させる循環流動炉に関し、特に炉本体の壁面に設置した二次空気噴出ノズルから導入する二次空気により炉内ガス中の未燃分を完全燃焼する構成とした循環流動炉に関する。
従来より、産業廃棄物、都市ゴミ、下水汚泥等を燃焼する設備として、循環流動炉が広く用いられている。循環流動炉は被処理物の性状の変動にも安定して燃焼可能で、流動砂等の流動媒体が炉内を循環、流動し、被処理物と接触して燃焼させることにより、局所高温による不具合が発生せず、均一な燃焼処理が可能であるため、例えば下水汚泥等の含水率が高い被処理物に適している。
一般的な循環流動炉の構成を図5に示す。該循環流動炉50は、汚泥62等の被処理物を受け入れて燃焼させる縦置円筒状のライザ51と、炉内ガスから流動媒体を分離するサイクロン53と、該サイクロン53で捕集した流動媒体を落下させるダウンカマー54と、該流動媒体を堆積させて炉内未燃ガスのサイクロン53への吹き抜けを防止するシールポット55と、該シールポット55の流動媒体を前記ライザ51に返送する流動媒体戻し管56とから構成される。
ライザ51内に投入された被処理物は、ライザ下部より導入される一次空気60により流動しながら流動媒体と混合されて流動層57を形成し、該流動層57にて乾燥、燃焼してガス化する。ガス化により発生した炉内ガスはフリーボード58に導かれ、二次空気61の導入により炉内ガス中の未燃分を完全燃焼し、サイクロン53にて流動媒体と分離され排出される。一方、前記流動媒体はシールポット55を介して前記ライザ51に返送される。かかる構成は例えば特許文献1(特開2001−235128号公報)等に開示されている。
循環流動炉において、炉の安定運転を行なうには流動媒体の炉内循環が円滑に行なわれることが重要である。小型の循環流動炉の場合には流動媒体の制御が容易であるが、炉のスケールアップが求められる場合、ライザが大きくなるにつれてライザ内の速度差が増加し、ライザ内の撹拌効果の減少を招く惧れがある。また、ライザが大きくなるにつれ、炉壁より噴出する二次空気がライザ中心部まで到達し難くなり、ライザ中心部の酸素不足、及び撹拌不足によるガス混合性の悪化を招く惧れもある。
そこで、特許文献2(特開2001−235129号公報)では、二次空気噴出ノズルの上方に、耐熱部材で構成された多孔状筒体ノズルを少なくとも炉中心域まで挿設し、該多孔状筒体ノズルから前記フリーボード内に加熱された高速ガスを噴出することによりフリーボード内の排ガスを撹拌混合させる技術を提案している。
これにより、フリーボード内の排ガスの撹拌混合が促進され、CO等の未燃分を減少させ、流動媒体の円滑な循環を可能としている。
しかし、フリーボード内は、二次空気及び増大する炉内ガスにより空塔速度が約4〜6m/sと非常に高速で排ガスが循環しており、かつこの排ガス中には流動媒体、飛灰等の粒子が多く含まれるため、炉内に突出させて設けた多孔状筒体ノズルは摩耗が激しく、長期使用が困難であり、メンテナンスの手間やランニングコストの高騰化が懸念される。
一方、流動層及びフリーボードでの燃焼効率の向上を図った循環流動炉が特許文献3(特開2000−154911号公報)に開示されている。図6に示すように、この循環流動炉50’は、ライザ51の炉底部に形成された流動層とフリーボードの境界部に絞り部64を形成し、絞り部付近に二次空気噴出ノズル59を設け、斜め上方に二次空気60が噴出する構成としている。これにより、流動層の流動媒体がフリーボードに吹き上げられることがなく燃焼時間を長く確保することができ、かつ絞り部でガス流速が速められることにより流動媒体の循環を円滑に行なうことができる。
特開2001−235128号公報 特開2001−235129号公報 特開2000−154911号公報
しかしながら、循環流動炉は飛灰、流動媒体等の粒体を含む炉内ガスが、空塔速度約4〜6m/sの高速で循環しているため、前記特許文献3のように炉内側に突出した絞り部を形成すると、該絞り部が摩耗してしまい炉の耐久性に問題が残る。また、一般に流動層の温度はフリーボードよりも低いため、炉内ガスの膨張差により流動層側の方が空塔速度が低いが、絞り部より下方を拡径しているためさらに流動層付近の空塔速度が低下し、ライザ底部に溜まった流動媒体がフリーボードに飛散し難くなる。これによりフリーボードとサイクロンとの間で流動媒体が循環してしまう惧れがあり、高温の流動媒体が流動層に到達せず流動層の温度が低下してしまうという問題を有している。
従って、本発明は上記従来技術の問題点に鑑み、二次空気の適正な吹き込みにより炉内ガスに含まれる未燃分を低減するとともに脱硫効率を向上させ、さらに流動媒体の円滑な循環を図り、炉の安定運転を可能とする循環流動炉を提供することを目的とする。
そこで、本発明はかかる課題を解決するために、
炉本体底部から導入される一次空気により被処理物を流動媒体と混合流動させながら燃焼する流動層が炉底に形成されるとともに、該流動層の上方に位置する二次空気導入口から導入される二次空気により、前記流動媒体を循環させながら炉内ガス中の未燃分を燃焼するフリーボードが前記流動層の上方に形成された循環流動炉において、
前記二次空気導入口の上方位置から下方へ向けて縮径するテーパ状の絞り部を設け、前記二次空気導入口高さの炉径を前記絞り部上方の炉径より小とするとともに、炉本体下方空間を炉本体上方空間より小とし、炉本体下方の空塔速度を上昇させることを特徴とする。
本発明では、炉本体下部に絞り部を設け、該絞り部で縮径された位置に二次空気導入口を設けているため、二次空気を炉本体の中心部に近い位置から供給することができる。その結果、絞りを設けない場合に比べて二次空気は炉本体中心部、若しくは該中心部近くまで到達することができ、炉をスケールアップした場合にも炉の中心に酸素欠乏域が形成されることが殆どなく、未燃ガスの燃焼が促進される。また、炉内ガスの撹拌効果が増大されるため、燃焼、脱硫が促進され、CO等の未燃分の低減や脱硫率増加が可能となり、またフリーボードでの燃焼効率が向上するためダイオキシン類等の発生抑制にもつながる。
また本発明では、絞り部より下方空間をその上方空間より小としているため、炉本体下方の空塔速度を上昇させることができ、流動層の流動媒体及び脱硫剤を活発に流動させることができる。その結果、循環量増加による炉内温度均一化、炉内撹拌活発化によるCO等未燃分の低減、脱硫率の増加が達成できる。
さらに、汚泥等のように含水率が高い被処理物が処理対象である場合、供給量変動で多量の被処理物が供給された際に、従来の循環流動炉では流動層の温度が低下し、助燃料増加等の対処が遅れた場合には運転停止に陥っていたが、本発明では炉下部で水分蒸発が生じて空塔速度が増加し、循環量が増加する結果、高温の流動媒体が流動層に供給されるため安定した運転を続行することができる。特に本発明のように絞り部を設けた場合には空塔速度がより増加するため、運転安定性が向上する。
また、本発明では絞り部をテーパ状にしているため、炉内ガスの影響による摩耗を最小限に抑えることができ、炉の耐久性向上を図ることができる。
また、前記流動層底部を基準とした炉高をHとした場合、前記絞り部の縮径始端高さHがH/6<H<H/3の範囲内となり、かつ前記絞り部上方の炉本体断面積をAとした場合、炉本体底部断面積AがA/4<A<3A/4となるように前記絞り部を形成したことを特徴とする。
これにより、炉高及び炉径に応じて最適な絞り部を形成することができる。即ち、絞り部の高さは流動媒体を吹き飛ばす助走区間の役割を有するため、炉高が大きいほど長い区間が必要と考えられる。従って、上記したように炉高を基準とし、前記範囲内に設定することにより、炉本体がスケールアップした場合においても絞り部を適正化することができる。
同様に、炉本体上部断面積を基準として炉本体底部断面積を前記範囲内に設定することにより、安定した空塔速度を維持でき、円滑な炉の運転が可能となる。尚、炉本体底部面積は小さくするほど空塔速度が増加して流動媒体は飛びやすくなるが、小さすぎると流動媒体が滞留する容積を確保できず燃焼が不十分となるため、上記範囲内とすることが好ましく、さらに好適には前記炉本体底部面積A=A/2程度が良い。
また、前記二次空気の噴出し流速が、約30m/s〜80m/sとなるように設定したことを特徴とする。前記二次空気の噴出し流速を前記範囲内に設定することにより、より効果的に二次空気の貫通距離を長くすることができる。二次空気貫通距離は空気の運動量に関係しており、さらに循環流動炉に供給する二次空気量は決まっているため、二次空気口径が大きすぎると噴出し流速が不足し、噴出し流速を大きくし過ぎると二次空気口径が小さくなり、ともに運動量が低下して二次空気貫通距離が短くなるためである。さらに、噴出し流速の上限を80m/sとすることで、二次空気導入口の圧力損失が減少し、ランニングコスト低減につながる。
さらに、前記二次空気導入口が同水平面上に複数設置された一段配置とすることが好ましく、これにより二次空気導入口数が減少し、その結果、二次空気の貫通距離が増加し、炉本体の中心又は中心近くまで空気を送ることができる。また、前記絞り部の縮径終端高さが前記炉本体の壁面に設置された助燃バーナより上方であることが好適である。
以上記載のごとく本発明によれば、絞り部で縮径された位置に設けた二次空気導入口より二次空気を噴出させる構成としているため、二次空気を炉本体中心部、若しくは該中心部近くまで到達させることができ、炉をスケールアップした場合にも炉の中心に酸素欠乏域が形成されることが殆どなく、未燃ガスの燃焼が促進される。また、炉内ガスの撹拌効果が増大されるため、燃焼、脱硫が促進され、CO等の未燃分の低減や脱硫率増加が可能となり、またフリーボードでの燃焼効率が向上するためダイオキシン類等の発生抑制にもつながる。さらに本発明では絞り部をテーパ状にしているため、炉内ガスの影響による摩耗を最小限に抑えることができ、炉の耐久性を向上させることができる。
また本発明では、絞り部より下方空間をその上方空間より小としているため、流動媒体の循環量増加による炉内温度均一化、炉内撹拌活発化によるCO等未燃分の低減、脱硫率の増加が達成できる。
さらに、前記絞り部始端高さ、炉本体底部断面積を、夫々炉高、炉本体断面積を基準として設定しているため、炉本体をスケールアップした際にも常に適正化された絞り部を形成することが可能である。
以下、図面を参照して本発明の好適な実施例を例示的に詳しく説明する。但しこの実施例に記載されている構成部品の寸法、材質、形状、その相対的配置等は特に特定的な記載がない限りは、この発明の範囲をそれに限定する趣旨ではなく、単なる説明例に過ぎない。
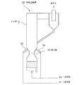
図1は本発明の実施例1に係る循環流動炉の概略断面図、図2は図1の循環流動炉の絞り部を説明する図、図3は本発明の実施例2に係る循環流動炉の概略断面図、図4は二次空気噴出し流速と貫通距離の関係を示すグラフである。
本実施例における循環流動炉10は、図1に示されるように、縦置円筒形状を有し、汚泥投入口21より投入された汚泥32を乾燥、燃焼、ガス化するライザ11と、該ライザ11の上部に接続される排ガス通路12と、該排ガス通路12を介して導入された排ガスを遠心分離により固気分離するサイクロン13と、該サイクロン13の下方に位置する流動媒体の通路であるダウンカマー14と、炉内未燃ガスのサイクロン13への吹き抜けを防止するシールポット15と、流動媒体戻し管16と、を主要構成とする。
前記ライザ11の下方には一次空気導入口から導入される一次空気30により流動媒体が流動、飛散する流動層17が形成され、該流動層17の上方にはフリーボード18が形成されている。
前記流動層17には、前記汚泥投入口21より投入された汚泥32が落下し、ここで汚泥32の乾燥、熱分解が行なわれる。また、該流動層17上方のライザ11壁面には二次空気噴出ノズル20が設けられ、該二次空気噴出ノズル20から噴出する二次空気31により形成された上昇気流に搬送されて、飛散した流動媒体、飛灰、未燃ガスを含む炉内ガスが前記フリーボード18に運ばれる。
該フリーボード18では、炉内ガス中の未燃ガスが前記二次空気20の導入により完全燃焼される。飛灰及び流動媒体を含む炉内ガスは、排ガス通路12を経てサイクロン13に導入され、該サイクロン13にて排ガス中の流動媒体を捕集し、ダウンカマー14を介してシールポット15に送給される。一方、前記流動媒体が分離された排ガスは、排ガス排出口14より後段に設けられた熱回収・排ガス処理設備(不図示)に送給される。
さらに本実施例1では、前記ライザ11の下部に絞り部25を設けた構成としている。該絞り部25は、前記二次空気噴出ノズル20の上方から下方に向けて縮径するテーパ状とする。該絞り部25の縮径始端高さHは、二次空気噴出ノズル20より上方に位置させ、縮径終端高さは炉底部から二次空気噴出ノズル20の下方位置の何れかの位置とする。
前記絞り部25は、前記二次空気噴出ノズル20の高さ位置の炉径が、該絞り部25より上方のライザ径Dより小となり、かつ絞り部25より下方の空間がこれより上方の空間より小となるように設定する。
このように、前記絞り部25を設け、二次空気噴出ノズル20の高さ位置のライザ径を短縮することにより、二次空気31をライザ中心に近い位置から供給することができ、炉をスケールアップした場合にも炉の中心に酸素欠乏域が形成されることがなく、未燃ガスの燃焼が促進される。また、炉内ガスの撹拌効果が増大されるため、燃焼、脱硫が促進され、CO等の未燃分の低減や脱硫率増加が可能となり、さらにフリーボード18での燃焼効率が向上するためダイオキシン類等の発生抑制にもつながる。
また、本実施例では絞り部25をテーパ状に形成しているため、炉内ガスによる摩耗を防止でき、炉の耐久性を向上させることができる。
さらに本実施例では、絞り部25より下方空間を、該絞り部25の上方空間より小としているため、ライザ下方の空塔速度を上昇させることができ、流動層17の流動媒体及び脱硫剤を活発に流動させることができる。その結果、循環量増加による炉内温度均一化、炉内撹拌活発化によるCO等未燃分の低減、脱硫率の増加が達成できる。また、処理対象が含水率の高い汚泥である場合には、さらにライザ下部の空塔速度を上昇させることができ、運転の安定性が向上する。
また、本実施例において、前記流動層17の底部を基準とした炉高をHとした場合、前記絞り部25の縮径始端高さHがH/6<H<H/3の範囲内となり、かつ前記絞り部25より上方のライザ断面積をAとした場合、該ライザ底部断面積AがA/4<A<3A/4、好適にはA=A/2程度となるように前記絞り部25を形成することが好ましい。
これは、前記絞り部高さHは流動媒体の砂を飛ばす助走区間の役割を有するため、炉高が高いほど長い区間が必要とされる。従って、絞り部高さHを炉高Hを基準として設定することにより、絞り部25の適正化が図れる。
また、ライザ径Dを基準として絞り部25の縮径角度を設定することにより、ライザの大きさに応じて絞り部25を最適化することができる。
即ち、図2(a)に示すライザ径Dからスケールアップを行い、(b)に示すライザ径Dとした場合、ライザ径に比例して二次空気噴出ノズル20の炉径差dはdより大きくなる。このように、ライザ径Dを基準とすることにより、空塔速度を好適に保持しながら、かつ流動層17での滞留時間を十分にとることができる構成とすることができ、炉の大きさに対応した絞り部の適正化が図れる。
また、本実施例では前記二次空気31の噴出し流速を、約30m/s〜80m/sとなるように設定する。これは、図4に示される二次空気噴出し流速と貫通距離の関係からも明らかなように、噴出し流速が30m/s以下であると、ノズル径が大きくなり二次空気31の到達距離が短くなってしまい、一方噴出し流速が80m/s以上では二次空気31の到達距離は殆ど変化がないにも関わらず、圧力損失が増大し、ブロワ等の機器に高機能性が求められ、コストが増大してしまうためである。
従って、前記二次空気31の噴出し流速を前記範囲内とすることで、効率良い二次空気の供給が達成できる。
さらに、前記二次空気噴出ノズル20の配置を、同水平面上に複数設置された一段配置とすることが好ましい。これにより、二次空気噴出ノズル数を低減することができ、二次空気噴出ノズル1本当りの供給空気量が増加する。その結果、二次空気噴出し流速を増大でき、二次空気31の到達距離が伸び、ライザ11の中心若しくは中心付近まで二次空気を送ることができる。
また、図3に示した実施例2のように、前記絞り部25の縮径終端高さを、前記ライザ11の壁面に設置した助燃バーナ22より上方とし、縮径終端より下方を円筒形状としても良い。これにより、含水率が高い汚泥等のように、流動層17内での滞留時間が長い場合においても実施例1よりライザ下方空間を大にすることができるため、汚泥の滞留時間を十分に確保できる。
本実施例において、ライザ高さ方向の温度分布に基づき絞り部を形成し、炉内ガスの空塔速度がほぼ一定となるように構成しても良い。これにより、流動媒体の循環が円滑に行なわれ、より一層安定した炉の運転が可能となる。
本発明の実施例1に係る循環流動炉の概略断面図である。 図1の循環流動炉の絞り部を説明する図である。 本発明の実施例2に係る循環流動炉の概略断面図である。 二次空気噴出し流速と貫通距離の関係を示すグラフである。 従来の循環流動炉の概略断面図である。 従来の循環流動炉の概略断面図である。
符号の説明
10 循環流動炉
11 ライザ
13 サイクロン
20 二次空気噴出ノズル
21 汚泥投入口
22 助燃バーナ
25 絞り部
30 一次空気
31 二次空気

Claims (5)

  1. 炉本体底部から導入される一次空気により被処理物を流動媒体と混合流動させながら燃焼する流動層が炉底に形成されるとともに、該流動層の上方に位置する二次空気導入口から導入される二次空気により、前記流動媒体を循環させながら炉内ガス中の未燃分を燃焼するフリーボードが前記流動層の上方に形成された循環流動炉において、
    前記二次空気導入口の上方位置から下方へ向けて縮径するテーパ状の絞り部を設け、前記二次空気導入口高さの炉径を前記絞り部上方の炉径より小とするとともに、炉本体下方空間を炉本体上方空間より小とし、炉本体下方の空塔速度を上昇させることを特徴とする循環流動炉。
  2. 前記流動層底部を基準とした炉高をHとした場合、前記絞り部の縮径始端高さHがH/6<H<H/3の範囲内となり、かつ前記絞り部上方の炉本体断面積をAとした場合、炉本体底部断面積AがA/4<A<3A/4となるように前記絞り部を形成したことを特徴とする請求項1記載の循環流動炉。
  3. 前記二次空気の噴出し流速が、約30m/s〜80m/sとなるように設定したことを特徴とする請求項1記載の循環流動炉。
  4. 前記二次空気導入口が同水平面上に複数設置された一段配置であることを特徴とする請求項1記載の循環流動炉。
  5. 前記絞り部の縮径終端高さが前記炉本体の壁面に設置された助燃バーナより上方であることを特徴とする請求項1記載の循環流動炉。
JP2004112130A 2004-04-06 2004-04-06 循環流動炉 Pending JP2005299938A (ja)

Priority Applications (1)

Application Number Priority Date Filing Date Title
JP2004112130A JP2005299938A (ja) 2004-04-06 2004-04-06 循環流動炉

Applications Claiming Priority (1)

Application Number Priority Date Filing Date Title
JP2004112130A JP2005299938A (ja) 2004-04-06 2004-04-06 循環流動炉

Publications (1)

Publication Number Publication Date
JP2005299938A true JP2005299938A (ja) 2005-10-27

Family

ID=35331688

Family Applications (1)

Application Number Title Priority Date Filing Date
JP2004112130A Pending JP2005299938A (ja) 2004-04-06 2004-04-06 循環流動炉

Country Status (1)

Country Link
JP (1) JP2005299938A (ja)

Cited By (7)

* Cited by examiner, † Cited by third party
Publication number Priority date Publication date Assignee Title
CN100458282C (zh) * 2005-11-03 2009-02-04 中国石油大学(北京) 燃烧石油焦或气化余焦的内混式燃烧装置
JP2012037212A (ja) * 2010-08-12 2012-02-23 Ihi Corp 循環流動層システムにおける酸素流動燃焼装置
JP2013532268A (ja) * 2010-06-02 2013-08-15 イエフペ エネルジ ヌヴェル ケミカルルーピング燃焼のループのための粒子分離装置
CN105617953A (zh) * 2016-01-08 2016-06-01 浙江大学 一种半锥形下降段循环流化床
CN109647158A (zh) * 2019-02-28 2019-04-19 兖矿集团有限公司 一种循环流化床锅炉烟气脱硫脱硝系统及其处理方法
JP2019105415A (ja) * 2017-12-13 2019-06-27 住友金属鉱山株式会社 流動焙焼炉および流動焙焼炉の運転方法
EP2634484B1 (en) 2010-10-29 2022-01-26 Institute Of Engineering Thermophysics, Chinese Academy Of Sciences Circulating fluidized bed boiler

Cited By (7)

* Cited by examiner, † Cited by third party
Publication number Priority date Publication date Assignee Title
CN100458282C (zh) * 2005-11-03 2009-02-04 中国石油大学(北京) 燃烧石油焦或气化余焦的内混式燃烧装置
JP2013532268A (ja) * 2010-06-02 2013-08-15 イエフペ エネルジ ヌヴェル ケミカルルーピング燃焼のループのための粒子分離装置
JP2012037212A (ja) * 2010-08-12 2012-02-23 Ihi Corp 循環流動層システムにおける酸素流動燃焼装置
EP2634484B1 (en) 2010-10-29 2022-01-26 Institute Of Engineering Thermophysics, Chinese Academy Of Sciences Circulating fluidized bed boiler
CN105617953A (zh) * 2016-01-08 2016-06-01 浙江大学 一种半锥形下降段循环流化床
JP2019105415A (ja) * 2017-12-13 2019-06-27 住友金属鉱山株式会社 流動焙焼炉および流動焙焼炉の運転方法
CN109647158A (zh) * 2019-02-28 2019-04-19 兖矿集团有限公司 一种循环流化床锅炉烟气脱硫脱硝系统及其处理方法

Similar Documents

Publication Publication Date Title
WO1999066264A1 (fr) Technique d'exploitation d'incinerateur a lit fluidise et incinerateur
US6709636B1 (en) Method and apparatus for gasifying fluidized bed
CA2364400C (en) Fluidized bed incinerator and combustion method in which generation of nox, co and dioxine are suppressed
JP2005299938A (ja) 循環流動炉
JP5898217B2 (ja) 流動床炉及び流動床炉を用いた廃棄物の処理方法
JP3913229B2 (ja) 循環流動炉
FI125314B (fi) Menetelmä typenoksidipäästöjen ja korroosion vähentämiseksi kerrosleijukattilassa ja kerrosleijukattila
JP2007024492A (ja) 流動床ガス化炉および熱分解ガス化方法
KR101200531B1 (ko) 순환 유동층 보일러
US5915309A (en) Fluidized bed incinerator
EP3054214B1 (en) Method for feeding air to a fluidized bed boiler, a fluidized bed boiler and fuel feeding means for a fluidized bed boiler
JP2005308372A (ja) 流動床炉
KR100763775B1 (ko) Rdf를 위한 내부순환 유동층 연소로
JP3790418B2 (ja) 下水汚泥等の高含水率・高揮発性の廃棄物焼却炉に用いる外部循環流動層炉の運転方法
JP3973919B2 (ja) 高温ガス化炉
TWI848285B (zh) 燃燒裝置、鍋爐、燃燒方法
JP2003294217A (ja) 有機物を含有する処理物の焼却処理装置および焼却処理方法
JP2007163132A (ja) 流動層ガス化方法及び装置
JP2941785B1 (ja) 流動層焼却炉の運転方法とその焼却炉
KR102794248B1 (ko) 유동층 열회수 장치
JP2005121342A (ja) 循環流動層炉の運転方法
JP2003042424A (ja) 流動層炉および流動層炉への低比重固形焼却物の供給方法
SK48798A3 (en) Method and apparatus for controlling the temperature of the bed of a bubbling bed boiler
JP3387989B2 (ja) 流動層炉
JP2001235129A (ja) 循環流動層炉

Legal Events

Date Code Title Description
A977 Report on retrieval

Free format text: JAPANESE INTERMEDIATE CODE: A971007

Effective date: 20060824

A131 Notification of reasons for refusal

Effective date: 20060908

Free format text: JAPANESE INTERMEDIATE CODE: A131

A521 Written amendment

Free format text: JAPANESE INTERMEDIATE CODE: A523

Effective date: 20061107

A131 Notification of reasons for refusal

Effective date: 20070109

Free format text: JAPANESE INTERMEDIATE CODE: A131

A521 Written amendment

Effective date: 20070312

Free format text: JAPANESE INTERMEDIATE CODE: A523

A02 Decision of refusal

Free format text: JAPANESE INTERMEDIATE CODE: A02

Effective date: 20070427

A521 Written amendment

Effective date: 20070627

Free format text: JAPANESE INTERMEDIATE CODE: A523

A911 Transfer of reconsideration by examiner before appeal (zenchi)

Free format text: JAPANESE INTERMEDIATE CODE: A911

Effective date: 20070703

A912 Removal of reconsideration by examiner before appeal (zenchi)

Effective date: 20070817

Free format text: JAPANESE INTERMEDIATE CODE: A912

A711 Notification of change in applicant

Effective date: 20080602

Free format text: JAPANESE INTERMEDIATE CODE: A712

A521 Written amendment

Free format text: JAPANESE INTERMEDIATE CODE: A523

Effective date: 20080716

A521 Written amendment

Effective date: 20091201

Free format text: JAPANESE INTERMEDIATE CODE: A523